LT7024B

ŠILUMINĖ SAULĖS ELEKTRINĖ

THERMAL SOLAR POWER PLANT

Referatas

[LT] Išradimas iš energetikos srities. Surenkama ir panaudojama ne tik tiesioginė saulės spindulių energija, o ir aplinkoje esanti išsklaidyta šiluma. Papildoma energija gaunama šiluminių mašinų pagalba, atšaldant talpas ir kontrasto būdu surenkant didesnius šilumos kiekius. Naudojami pasyvūs ir aktyvūs įvairūs šilumos surinkimo moduliai. Surinkta šiluma konvertuojama į kitas energijos rūšis: sukamąjį ir slenkamąjį judesį; šaltį, šilumą, vėsą, karštą vandenį, elektrą. Įvairių energetinių modulių visuma leidžia kurti norimo dydžio, galios, pritaikytų prie konkrečių aplinkos sąlygų ir vartotojų poreikių derinius ir kompozicijas.

[EN] Invention in the field of energy. Not only direct solar energy is collected and used, but also the dissipated heat in the environment. Additional energy is obtained with the help of thermal machines, cooling the tanks and collecting larger amounts of heat by contrast. Passive and active various heat collection modules are used. The collected heat is converted into other types of energy: rotational and sliding motion; cold, heat, cool, hot water, electricity. The totality of various energy modules allows to create combinations and compositions of the desired size, power, adapted to specific environmental conditions and consumer needs.

Aprašymas

[0001] TECHNIKOS SRITIS

[0002] Išradimas iš energetikos srities.

[0003] Šiuo metu pasaulyje esanti šilumos surinkimo iš aplinkos forma gana gremėzdiška, sudėtinga, brangi ir neracionali. Pavyzdžiui: Afrikoje: Maroke, Saudo Arabijoje, Pietų Afrikos respublikoje yra pastatytos ir veikia milžiniškos šiluminės saulės elektrinės, kuriose daugybės veidrodžių pagalba atspindėta saulės šiluma surenkama ir nukreipiama į indus su druska šilumai kaupti, o vėliau šiluminė energija panaudojama vandeniui garinti. Įkaitę vandens garai suka elektros turbinas.

[0004] Siūlome paprastesnę, universalesnę, nepalyginamai pigesnę, galinčią būti įvairaus dydžio ir galios šiluminę saulės elektrinę, sugebančią veiksmingai dirbti ne tik silpno apšviestumo sąlygomis, o ir sėkmingai veikiančią visą parą įvairiuose klimato zonose. Naujai šiluminei saulės elektrinei nereikia didelio lygaus ploto, ji gali būti pastatyta kalnų šlaituose, plaukioti ant vandens, gali būti įrengta ant namų stogų ir sienų, dirbti nedidelių temperatūrų, pvz. 20° - 50° C diapazone. Galima ir tikslinga naudoti mažas vietines, aptarnaujančias lokalius energijos vartotojus elektrines. Mini elektrinėmis gali tapti įvairaus dydžio, paskirties ir konstrukcijos pastatai, laivai.

[0005] Šiluminė energija turi savo ypatumus ir subtilybes. Šiluma - viena iš labiausiai paplitusių energijos formų mūsų Visatoje, tiek mikro - tiek makro lygmenyse. Didesnę energijos dalį Žemė gauna iš kosmoso, iš Saulės ir dalį iš pačios Žemės gelmėse vykstančių dalelių skylimo procesų.

[0006] Pagrindiniai prieštaravimai:

[0007] ● Šiluma aplinkoje yra išsklaidyta, sunkai paimama forma, todėl reikalingi įvairūs įrengimai ir priemonės šiai energijai paimti, kaupti, perduoti, įvairiai naudoti. Paprastų, lengvų ir nebrangių priemonių šilumai kaupti ir ją panaudoti visose klimato zonose dabar nėra.

[0008] ● Žmonijos energetiniai poreikiai įvairiose klimato zonose skirtingi: kur saulėta ir karšta - norima vėsumos, kur šalta - deginamas kuras.

[0009] ● Sprendimai naudotis tik aplinkoje easnčiais energijos ištekliais reti.

[0010] ● Senas energijos apibrėžimas yra klaidinantis ir stabdo progresą.

[0011] ● Reikalinga nauja technika, dirbanti visai kitais principais.

[0012] ● Naujos šiluminės saulės elektrinės veikimas pagrįstas pažangesniais sprendimais ir nauja energijos suvokimo samprata.

[0013] ● Energija yra kontrasto būdu judančių dalelių srautas: iš šilto į šaltą, iš didesnio aukščio į žemesnį lygmenį, didesnio slėgio srautas juda mažesnio slėgio ar didesnės tuštumos link. Šių procesų sustabdyti negalima, belieka juos greitinti ar lėtinti, tinkamai valdyti, tiesiaeigį judesį pakeisti sukamuoju, vienų dalelių judėjimo impulsą perduoti kitoms dalelių rūšims, t.y. energijos dideliais kiekiais kaupti negalima ir netikslinga, belieka ją tik kažkokiu būdu greitai transformuoti į tinkamas vartojimui formas. Perduoti energiją dideliais kiekiais ir atstumais brangu, sudėtinga. Reikalingi subtilesni, universalūs ir paprastesni šilumos surinkimo, jos konvertavimo į kitas energijos rūšis ir našesnio panaudojimo vietoje techniniai sprendimai.

[0014] Aukščiau minėta šiluminės saulės elektrinė veikia su perkaitintais vandens garais (įkaitusių garų temperatūra siekia apie 175°-200° C). Zonose su mažesniu saulės šilumos kiekiu siūlome naudoti dujas, garuojančias žemų temperatūrų zonoje, pvz. 0°-10° C, t.y. tokiu būdu iš aplinkos surenkant, kaupiant ir koncentruojant aplinkoje esančią šilumą. panaudoti generuoti didesnį dujų slėgį ir jų galimybes veikti su kompresoriumi varikliu ir generuoti elektros energiją,

[0015] Šilumai kaupti tinka ne tik paprastos žinomos priemonės, o ir kiti išradimai, sukuriantys didesnį paimamos energijos potencialą: papildomai atšaldoma aplinka; naudojami įvairūs šilumos kaupikliai; techniniai sprendimai, leidžiantys dirbti su žemos temperatūros, net ir šalčio srautais; pritaikomos šiluminės mašinos.

[0016] TECHNIKOS LYGIS

[0017] Naujai naudojamos jau išbandytos technologijos ir konstrukcijos: Modulinis šilumos kaupiklis LT 5636; Pakopinis šilumos kolektorius LT 5665; Universali šiluminė talpa LT 5739; Didelio tūrio šiluminių talpų sistema LT 5836; Kompresorius variklis LT 6660; Šiluminiai vamzdeliai; Šiluminė mašina LT5917 ir kt.

[0018] IŠRADIMO ESMĖ

[0019] Šiluminės saulės elektrinės pagrindinis energijos kaupimo, jos konvertavimo ir perdavimo vartotojams modulis - šiluminė mašina (Lietuvos patentas LT5917) papildytas šiais energetiniais moduliais:

[0020] ● Įvairiais horizontaliais, pasvirusiais ir vertikaliais šilumos surinkimo moduliais

[0021] ● Naudojami pasyvūs šilumos surinkimo vamzdeliai ir šilumos kaupikliai

[0022] ● Naudojami aktyvūs šilumos surinkimo vamzdeliai, jų moduliai

[0023] ● Šiluminių mašinų moduliai

[0024] ● Dujiniai varikliai

[0025] ● Energijos konvertavimo moduliai

[0026] Tai visai nauji moduliai, kurių nėra įprastose šiluminėse elektrinėse. Naujas išradimas sprendžia visą eilę sudėtingų problemų:

[0027] ● Kaip maksimaliai surinkti, laikinai sukaupti kuo daugiau aplinkoje esamos šilumos, kaip veiksmingai panaudoti ne tik saulės energiją, o ir aplinkoje esančią šilumą.

[0028] ● Dirbti su lengvesnės, mažesnės, našesnės, paprastesnės ir įvairiai pritaikomos įrangos moduliais ir sistemomis.

[0029] ● Atskirus naujos šiluminės saulės elektrinės modulius galima įvairiai kombinuoti ir derinti su kitomis energetinėmis sistemomis, pvz. šilumos panaudojimu generuoti ne tik elektrą, o vartotojams tiekti karštą ir šaltą vandenį.

[0030] ● Dujoms garinti reikia gerokai mažiau energijos nei vandeniui garinti, todėl šiluminė saulės elektrinė gali veikti visose platumose, net ir šiauriniuose klimato zonose. Be to, jos veikia visą parą: dieną akumuliuoja saulės ir aplinkos šilumą, naktį naudoją aplinkoje esančią išsklaidytą šilumą. Panaudojant šiluminius kaupiklius greitam šilumos perdavimui, šiluminė saulės elektrinė dirba nuolatiniu nenutrūkstamu režimu visą parą.

[0031] Sukaupta šiluma panaudojama: suslėgtam orui gauti ir kompresoriams varikliams (Lietuvos patentas LT 6660) su elektros generatoriais sukti; suslėgto oro talpoms + pneumo varikliai + elektros generatoriai veikti; naudoti šiluminius ir slėgio vamzdelius; nuo suslėgtų dujų veikiančias mašinas ir pneumo rotorius; naudoti žemų temperatūrų (pvz.0°-10° C) dujinius variklius. Vartotojai sukauptą šilumos energiją gali naudoti įvairioms reikmėms, ne tik elektrai gaminti. Tai praplečia tokių šiluminės saulės elektrinės galimybes ir pritaikymo būdus.

[0032] Esminiai naujos šiluminės saulės elektrinės skirtumai nuo įprastų saulės šiluminių elektrinių:

[0033] ● Surenkama ir panaudojama ne tik veidrodžiais atspindėta tiesioginė saulės spindulių energija, o ir aplinkoje esanti išsklaidyta šiluma. Energijos šilumos pavidalu ir energijos saulės spindulių forma kartu surenkama gerokai daugiau nei vien tik įprastu būdu. Elektrinė gali veikti dieną ir naktį nuolatiniu režimu be perstojo visą parą.

[0034] ● Papildoma energija gaunama šiluminių mašinų pagalba, atšaldant talpas ir kontrasto būdu surenkant didesnius šilumos kiekius. Šiluminė saulės elektrinė gali būti naudojama įvairiose platumose. Elektrinė gali veikti mažesnių temperatūrų diapazone, tai ir saugiau, gerokai pigiau, nes gali būti naudojamos lengvesnių konstrukcijų sistemos.

[0035] ● Naudojami pasyvūs (įvairūs šiluminiai vamzdeliai ir šilumos kaupikliai) ir aktyvūs (prateka šalti, šilti ir karšti šilumnešiklių srautai), esantys horizontaliose ir vertikaliose plokštumose įvairūs šilumos surinkimo moduliai. Optimalius konstrukcinius sprendimus galima priimti pagal esamos aplinkos sąlygas, t.y. šiluminė saulės elektrinė gali būti lengvai transformuojama ir pritaikoma net unikaliomis sąlygomis.

[0036] ● Surinkta šiluma konvertuojama į kitas energijos rūšis: sukamąjį ir slenkamąjį judesį; šaltį, šilumą, vėsą, karštą vandenį, elektrą. Plačiai naudojami: kompresoriai varikliai su elektros generatoriais; pneumo varikliai + elektros generatoriai; šiluminiai vamzdeliai ir t.t.

[0037] ● Įvairių energetinių modulių visuma leidžia kurti norimo dydžio, galios, pritaikytų prie konkrečių aplinkos sąlygų ir vartotojų poreikių derinius ir kompozicijas.

[0038] Kai kurios išskirtinės naujos šiluminės saulės elektrinės savybės:

[0039] ● Kadangi šiltas oras savaime juda šaltesnių zonų link, aplink naują šiluminę saulės elektrinę susidarys šilto oro siurbimo į elektrinę zona. Jei saulės spindulius reikia dirbtinai koncentruoti, tai šiuo atveju šiltas oras juda elektrinės link pats.

[0040] ● Jei šiluminė saulės elektrinė plūduriuoja ant vandens, įšilęs vandens telkinys atiduos sukauptą šilumą ir nakties metu. Papildomai galima panardinti į vandenį šiluminius vamzdelius, kurie dar geriau ir greičiau perduotų šilumą.

[0041] ● Visi plaukiojantys šiltuose kraštuose laivai gali papildomai naudoti aplinkoje esančią šilumą.

[0042] ● Kadangi šiltame ore yra išgaravusio vandens garų, atšaldant orą vanduo kondensuosis vandens lašais, kuriuos galima surinkti ir naudoti vartotojų reikmėms. Tai ypač aktualu šiltuose sausringuose rajonuose.

[0043] ● Atsižvelgus į vartotojų poreikius, aplinkos sąlygas, išteklių kokybę, kiekį ir kainą galima ir tikslinga kurti įvairios galios elektrinės kompleksus su vienodu ar skirtingų dominuojančių energetinių modelių rinkiniu. Esant poreikiui nesudėtinga plėsti esamą elektrinę naujais modulių papildymais. Laike ir erdvėje šiluminės saulės elektrinė gali būti įvairiai transformuojama. Esami sprendimai leidžia dinamiškai ir kompleksiškai keisti elektrinę optimalių sprendimų link.

[0044] KAIP VEIKIA NAUJA ŠILUMINĖ SAULĖS ELEKTRINĖ

[0045] Viena iš labiausiai paplitusių energijos formų gamtoje yra šiluma. Nuo saulės spindulių įšyla žemė, vanduo, oras, aplinka, įvairūs objektai, daiktai. Atspindėjusi šiluma išsisklaido erdvėje ir įprastu būdu ją surinkti sudėtinga. Žinant, kad šiltas oras lengvesnis už šaltą ir pats savaiminiu būdu kyla į viršų, šią savybę galima sėkmingai išnaudoti valdomiems šilumos srautams rinkti.

[0046] Išradimas iliustruotas brėžiniais

[0047] Pav.1 Šiluma aplinkoje:

[0048] (1) Įtraukiamas oras, (2) pasvirę vamzdžiai, (3) vamzdžių pasvirimo kampas α,(4) Išeinantis šiltas oras.

[0049] Pav.2 Atspindinčios duobės konstrukcija:

[0050] (5) Žemės paviršius, (6) pagilintas griovelis, (7) termoizoliacinė medžiaga, (8) atspindinti šilumą plėvelė, (9) dengiantis apsauginis paviršius.

[0051] Pav.3 Šilumos surinkimo šlaitu kompozicija:

[0052] (10) kūgio formos dengianti vamzdžių konstrukcija, (11) atspindintis griovys, (12) įtraukiami šilti oro srautai, (13) Žemės paviršius.

[0053] Pav.4 Atspindintis parabolės veidrodis:

[0054] (14) atspindintis parabolės veidrodis, (15) krentantys saulės spinduliai, (16) karštas šiluminis vamzdelis, (17) šaltas šiluminis vamzdelis.

[0055] Pav.5 Atspindinčią šilumą surenkantis modulis:

[0056] (14) atspindintis parabolės veidrodis, (16) karštas šiluminis vamzdelis, (17) šaltas šiluminis vamzdelis, (18) dengiantis skydelis, (19) atspindinčią šilumą surenkantis modulis, (20) įtekantis šaltas vandens srautas, (21) ištekantis šiltas srautas, (22) ištekantis karštas srautas.

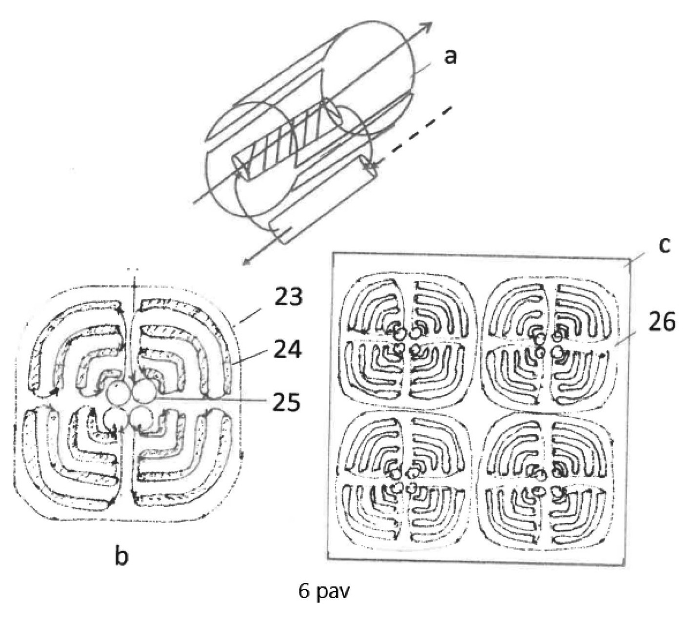
[0057] Pav. 6 Atspindinčių šilumą surenkančių modulių išdėstymas erdvėje:

[0058] a) atspindinčią šilumą surenkantis modulis;

[0059] b) (23) keturių segmentų šilumos surinkimo modulis, (24) šilumą pernešantys vamzdynai, (25) karšto vandens talpos;

[0060] c) (26) Keturių kompleksų plokštumoje derinys.

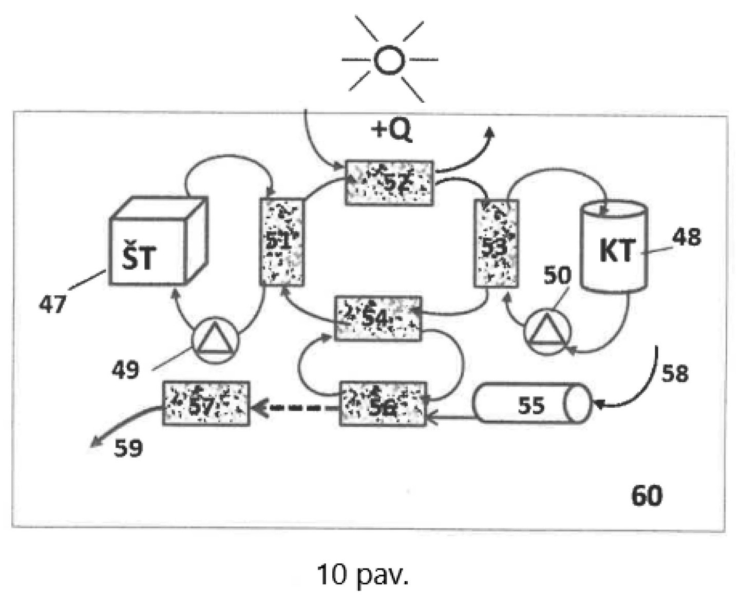
[0061] Pav. 7 Vertikalus šilumos surinkimo modulis:

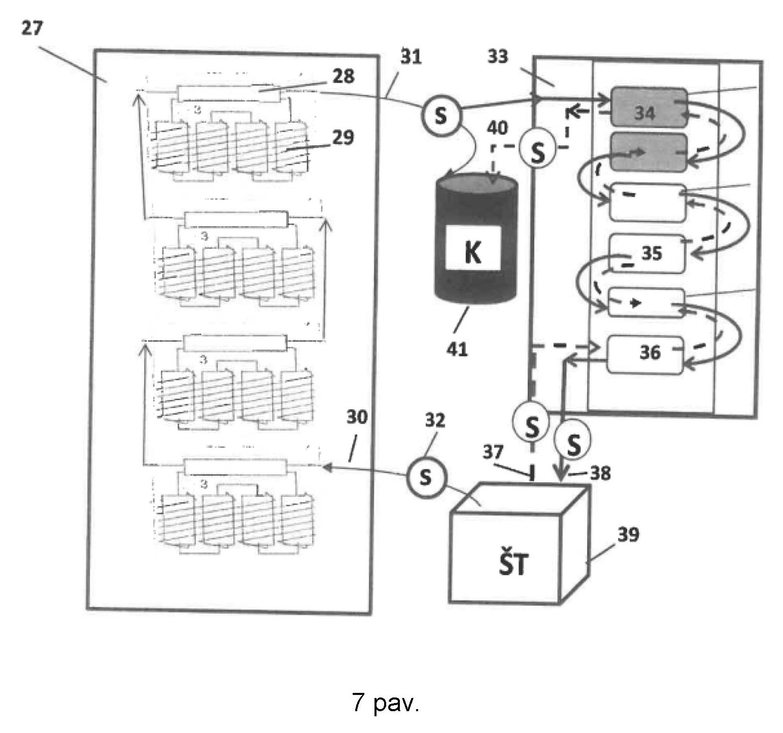
[0062] (27) vertikalus šilumos surinkimo modulis, (28) šiluminių mainų vamzdelis, (29) šilumą surenkantys kaupikliai, (30) įtekantis šaltas srautas, (31) ištekantis karštas srautas, (32) siurblys, (33) pakopinis šiluminių mainų modulis, (34) karštieji kaupikliai, (35) šiltieji kaupikliai, (36) šaltieji kaupikliai, (37) paduodamas šaltas srautas, (38) grįžtantis srautas, (39) šaldoma talpa, (40) karštas srautas, (41) karštoji talpa.

[0063] Pav. 8 Šiluminis vamzdelis

[0064] Greitiems šilumos mainams naudojami šiluminiai vamzdeliai (42), kuriais prateka skirtingomis kryptimis šilumą atnešantys ir priešingai tekantys šilumą išnešantys šalti šilumnešiklio srautai (43).

[0065] Pav.9 Dujų srautų greitintuvai

[0066] Šiluminėje saulės elektrinėje greitinami ne tik šiluminiai mainai, o ir kiti technologiniai procesai. Pvz. naudojami siaurėjančio kūgio ežektoriai (44) su įtekančiais dujų srautais (45) ir išeinančiais pagreitėjusiais dujų srautais (46). Didesnio slėgio ir greitesni dujų srautai kelia kitų mašinų našumą.

[0067] Pav.10 Šilumos surinkimo sistema:

[0068] (47) šaldoma talpa, (48) karštoji talpa, (49) siurblys, (50) siurblys, (51) šiluminių mainų vamzdelis, (52) šiluminių mainų vamzdelis, (53) šiluminių mainų vamzdelis, (54) šiluminių mainų vamzdelis, (55) priimanti talpa, (56) šiluminių mainų vamzdelis, (57) šiluminis mainų vamzdelis, (58) paduodamos šilumos srautas, (59) likutinė šiluma, (60) šilumos surinkimo sistema.

[0069] Pav.11 Šilumos konvertavimo į suslėgtą orą modulis:

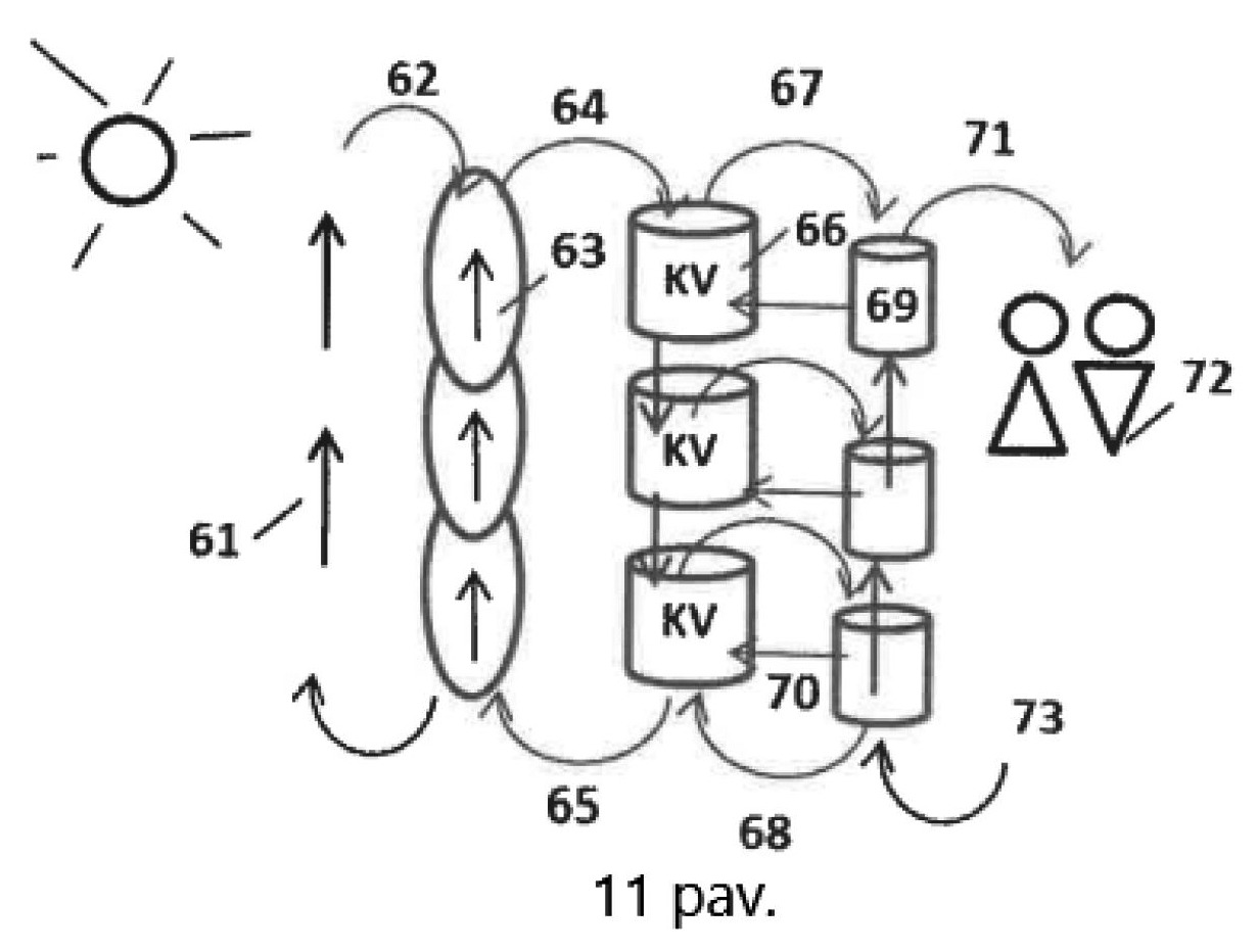
[0070] (61) šiluminiai vamzdeliai, (62) šiluminiai srautai, (63) šiluminiai slėgio stiprintuvai, (64) suslėgto oro srautai, (65) išeinančio oro srautai, (66) kompresoriai varikliai, (67) suslėgto oro srautai, (68) grįžtančio oro srautai, (69) suslėgto oro talpos, (70) paduodamo slėgimui oro srautai, (71) suslėgto oro srautai, (72) vartotojai, (73) paduodamas oras.

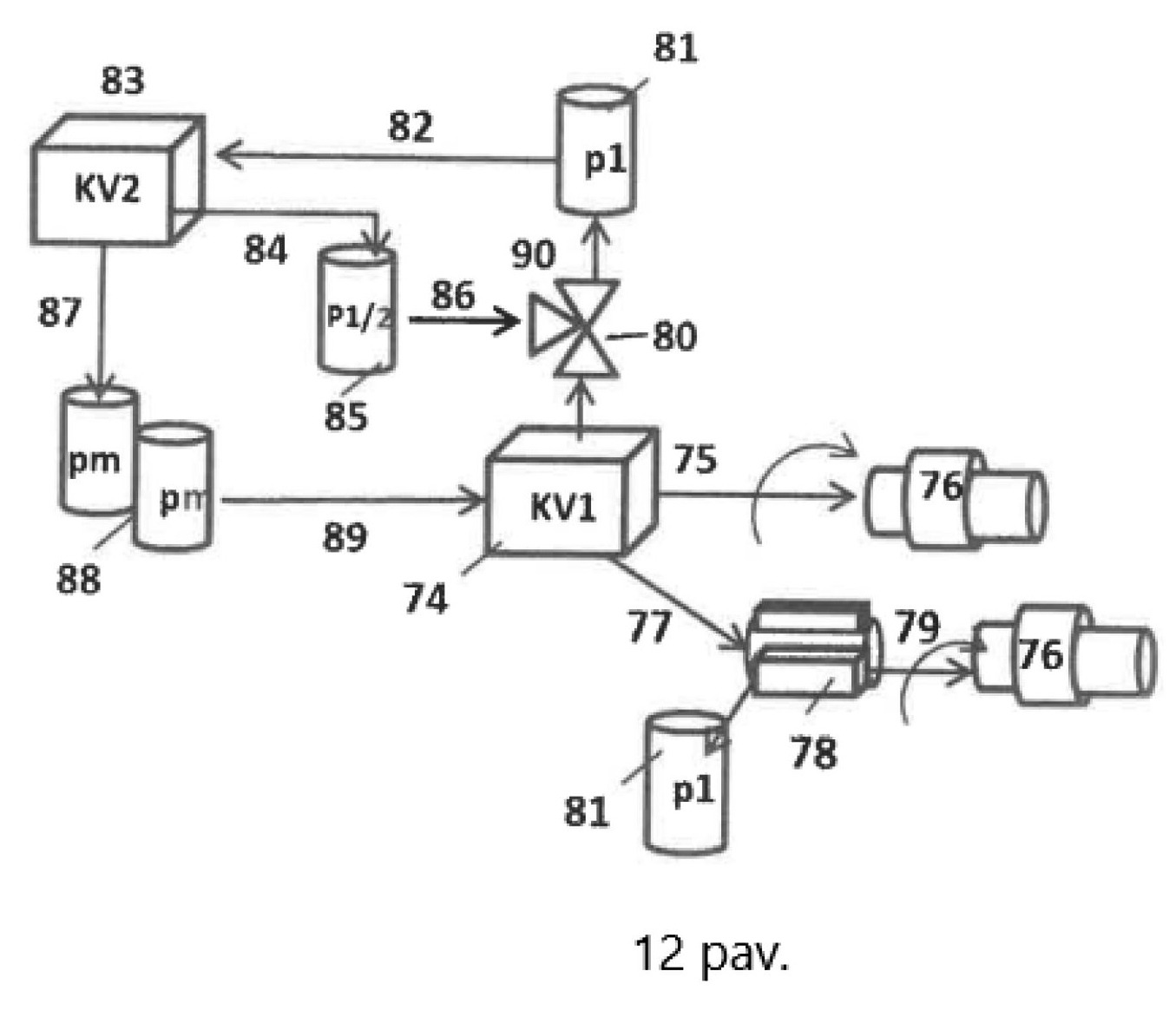
[0071] Pav. 12 Suslėgto oro konvertavimas į elektrą modulis:

[0072] (74) kompresorius variklis, (75) jungtis perduodanti sukimosi momentą elektros generatoriui, (76) elektros generatorius, (77) paduodamo suslėgto oro vamzdynai, (78) pneumo variklis, (79) jungtis, perduodanti sukimosi momentą elektros generatoriui, (80) ežektorius, (81) suslėgto oro talpa, (82) oro vamzdynai, (83) kompresorius variklis, (84) suslėgto oro vamzdynai, (85) sumažinto slėgimo oro talpa, (86) mažesnio slėgio oro srautas, (87) suslėgto oro vamzdynai, (88) suslėgto oro talpos, (89) suslėgto oro vamzdynai, (90) ištraukiama likutis oro srautas.

[0073] Pav.1 Šiluma aplinkoje

[0074] Pateikta principinė šiluminės energijos surinkimo aplinkoje schema. Taikant šiuos principus galima konstruoti tiek labai paprastas, tiek sudėtingesnes šiluminės elektrinės konstrukcijas. Šiluma aplinkoje: šaltas oras sunkesnis ir leidžiasi žemyn, šiltas oro srautas lengvesnis ir kyla aukštyn. Jei palaikysime šaltesnėmis atskiras šaltas zonas aplinkinė šiluma judės šalčio link. Kadangi šiltesnis oras lengvesnis už šaltą jis savaiminiu būdu kils į viršų (1), t.y. vamzdžiais (2) galima nukreipti kylantį šiltą srautą (4) mums norimą linkme. Reguliuojant vamzdžių pakrypimo kampą α (3) galima lėtinti ar greitinti oro srauto kylimą.

[0075] Pav.2 Atspindinčios duobės konstrukcija

[0076] Ilgai šildant saulės spinduliams žemės paviršius (5) įkaista. Pagerinti šilumos surinkimą padėtų tinkamai iškasta duobė (6) su termoizoliacine (7) ir atspindinčia spindulius ( 8) ir saugančia šilumą skaidria (9) danga.

[0077] Pav.3 Šilumos surinkimo šlaitu kompozicija

[0078] Panaudojant natūralų ar dirbtinai sukurtą šlaitą su atspindinčiu grioviu (11) įtraukiami šilti oro srautai (12) kūginiais pasvirusiais vamzdžiais kils (10) į viršų, kur surenkama ir perduodama toliau sukaupta šiluma. Toks pasyvus šilumos surinkimo būdas ganėtinai paprastas ir pigus. Panašių surenkančių šilumą konstrukcijų gali būti gana daug ir jos gali veikti savarankiškai, lokaliai generuodami reikiamą energiją.

[0079] Pav.4 Atspindintis parabolės veidrodis

[0080] Krentantys saulės spinduliai (15) atspindinčios parabolės (14) dėka koncentruoja ir nukreipia šilumą į parabolės židinyje esantį karštą šilumos vamzdelį kaupiklį (16). Bandymai realiomis sąlygomis parodė, kad šiame židinio taške temperatūra gali siekti net 300° C T. Todėl dalį šilumos išneša pratekantis šilumnešiklio srautas (22), o kitą šilumos srautas (20-21) pratekantis pro šaltą šiluminį vamzdelį (17). Tokiu būdu centre esantis karštas šiluminis vamzdelis kaupiklis nuolat sugeria atspindėtą šilumą ir greitai ją perduoda išnešimui, nes pratekėjus šaltam srautui vėlei greitai atšąla ir pasiruošęs naujai šilumos dozei. Tai aktyvus šilumos pernešimo būdas.

[0081] Pav. 6 Atspindinčių šilumą surenkančių modulių išdėstymas erdvėje

[0082] Atspindinčių šilumą surenkančių modulių (19), sujungtų šilumą pernešančiais vamzdynais (25) ir šilumą kaupiančiomis karštomis talpomis (24) deriniai gali būti įvairiai išdėstyti plokštumoje atskirais segmentais (23) ar jų derinių kompozicijomis (26). Toks modulinis surenkančių šilumą modulių pasirinkimas įgalina tinkamai optimaliu būdu uždengti turimą plotą.

[0083] Pav. 7 Vertikalus šilumos surinkimo modulis

[0084] Vertikalus šilumos surinkimo modulis (27) su šiluminių mainų vamzdeliais (28), šilumą surenkančiais kaupikliais (29) pratekančiais šalto šilumnešiklio srautais (30) ir ištekančiais karšto šilumnešiklio srautais (31) yra aktyvūs ir gana veiksmingi. Palyginus su atitinkamo ploto saulės kolektoriais jie veikia kelis kartus greičiau ir surenka apie 25 kartus daugiau šilumos. Tai išbandyta praktiškai realiomis šaltos žiemos sąlygomis. Šiluminiams mainams pagreitinti šiltas šilumnešiklio srautas (31) siurblio pagalba prateka pro pakopinį šiluminių mainų modulį (33) nuosekliai pro karštus kaupiklius (34), šiltus kaupiklius (35), šaltus kaupiklius (36) ir grįžta šaltu srautu (38) į šaldomą talpą (39). Iš pastarosios šaltu srautu (37) priešinga kryptimi pratekantis srautas pro (36,35,34) kaupiklius išneša karštą srautą (40) į karštą talpą (41). Turime erdvėje atskirtas šaltas talpas (39) ir karštas talpas (41), t.y. paimta iš aplinkos šiluma yra tinkamos būklės ją toliau panaudoti kituose energijos konvertavimo procesuose.

[0085] Pav. 8 Šiluminis vamzdelis

[0086] Labai greitiems šilumos mainams naudojami šiluminiai vamzdeliai (42), kuriais prateka skirtingomis kryptimis šilumą atnešantys ir priešingai tekantys šilumą išnešantys šalti šilumnešiklio srautai(43).

[0087] Pav. 10 Šilumos surinkimo sistema

[0088] Šiame brėžinyje glaustai atspindėta, kokie energijos pernešimo procesai vyksta erdvėje ir laike. Yra kelios šilumos pernešimo uždaru besikartojančių ciklų grandinės:

[0089] (47) šaldoma talpa -(52) šiluminių mainų vamzdelis- (49) siurblys;

[0090] (51) šiluminių mainų vamzdelis -(52) šiluminių mainų vamzdelis - (53) šiluminių mainų vamzdelis - (54) šiluminių mainų vamzdelis;

[0091] (53) šiluminių mainų vamzdelis - (48) karštoji talpa - (50) siurblys

[0092] (54) šiluminių mainų vamzdelis -(56) šiluminių mainų vamzdelis

[0093] Ir mainų su aplinka srautai:

[0094] išorinė aplinka -(52) šiluminių mainų vamzdelis (šilumos paėmimo iš aplinkos dalis);

[0095] (58) paduodamos šilumos srautas -(55) priimanti talpa -(56) šiluminių mainų vamzdelis-(57) šiluminis mainų vamzdelis -(59) likutinė šiluma ( surinktos šilumos atidavimo dalis).

[0096] Pav. 11 Šilumos konvertavimo į suslėgtą orą modulis

[0097] (61) Šiluminiai vamzdeliai perduoda (62) šiluminius srautus (63) šiluminiams slėgio stiprintuvams, o šie (64) suslėgto oro srautus (66) kompresoriams varikliams iš kurių išeina (65) silpnesnio slėgio oro srautai; (67) suslėgto oro srautai paduodami į (69) suslėgto oro talpas iš kurių (70) paduodamo slėgimui (71) suslėgto oro srautai patenka (72) vartotojams; (68) grįžtančio oro srautai grąžinami kompresoriams varikliams (66) į sistemą (73) paduodamas oras.

[0098] Pav. 12 Suslėgto oro konvertavimas į elektrą modulis

[0099] (74) kompresorius variklis per (80) ežektorių grąžina (90) ištraukiamą likutinį oro srautą kartu iš (85) sumažinto slėgimo oro talpos su (86) mažesnio slėgio oro srautu p 1/2 į (81) suslėgto oro talpą su slėgiu p1. Iš pastarosios (82) oro vamzdynais oro srautas patenka į (83) kompresorius variklį ir (87) suslėgto oro vamzdynais patenka (88) suslėgto oro talpas su maksimaliu slėgiu pm iš kurių (89) suslėgto oro vamzdynais paduodamas į (74) kompresorius variklį. Uždaras žiedinis oro ciklas užsidaro, grįžome į pradinį tašką nuo kurio pradėjome. (74) Kompresorius variklis per (75) jungtį perduoda sukimosi momentą (76) elektros generatoriui. Iš (74) kompresoriaus variklio per (77) paduodamo suslėgto oro vamzdynus suslėgtas oras p1 patenka į (78) pneumo variklį ir per (79) jungtį, perduodančią sukimosi momentą (76) elektros generatoriui. Tokiu būdu suslėgto oro energija verčiame elektrine energija.

Apibrėžtis

1. Šiluminė saulės elektrinė su daugybe veidrodžių surenkančia saulės šilumą sistema, su šilumą kaupiančiomis druskos tirpalų talpomis, su vandens garų elektros turbinomis elektrai generuoti, b e s i s k i r i a n t i tuo, kad papildyta naujais moduliais įvairiai surenkančiais ir kaupiančiais šilumą, ir sudaro vientisą, tarpusavyje suderintą energetinę sistemą iš šių pagrindinių modulių:

• Iš Įvairių horizontalių, pasvirusių ir vertikalių šilumos surinkimo modulių

• Iš pasyvių ir aktyvių šilumos surinkimo vamzdelių, šilumos kaupiklių ir jų modulių

• Iš šiluminių mašinų, šaltų ir karštų talpų šilumos kaupimo modulių

• Iš šilumos surinkimo ir mainų modulių

• Iš šilumos konvertavimo į suslėgtą orą modulių

• Iš suslėgto oro konvertavimo į elektrą modulių

• Iš atskirų modulių ir visumos valdymo modulių

• Iš šilumos ir energijos perdavimo vartotojams modulių

• Iš kondensuoto vandens surinkimo modulių

Surinkta saulės spindulių ir aplinkoje esanti šiluma trumpai kaupiama šiluminiuose kaupikliuose ir nuolat šiluminių mašinų pagalba ir šilumos surinkimo ir mainų modulių dėka perkeliama į karštąsias talpas, o iš jų nuosekliai į šilumos konvertavimo į suslėgtą orą modulius, iš suslėgto oro energijos konvertavimo į elektrą modulius, iš jų į šilumos ir energijos perdavimo vartotojams modulius ir galiausiai energija šilumos, suslėgto oro, elektros forma perduodama vartotojams, visus šiuos procesus valdo atskiri ir visumos valdymo moduliai, papildomai energijos proceso metu iš atšaldyto oro vandens surinkimo moduliuose surenkamas kondensuotas vanduo.

2. Šiluminė saulės elektrinė pagal 1-ą punktą, b e s i s k i r i a n t i tuo, kad panaudojant natūralų ar dirbtinai sukurtą šlaitą su atspindinčiu grioviu, įtraukiami šilti oro srautai kūginiais pasvirusiais vamzdžiais kyla į viršų, kur surenkama ir šiluminiams mainų vamzdelių moduliams perduodama toliau sukaupta šiluma.

3. Šiluminė saulės elektrinė pagal 1--2ą punktą, b e s i s k i r i a n t i tuo, kad krentantys saulės spinduliai atspindinčios parabolės dėka koncentruoja ir nukreipia šilumą į parabolės židinyje esantį karštą šilumos vamzdelį kaupiklį, iš kurio dalį šilumos išneša pratekantis šiltas šilumnešiklio srautas o kitą šilumos srautas pratekantis pro šaltą šiluminį vamzdelį.

4. Šiluminė saulės elektrinė pagal 1-3-ą punktą, b e s i s k i r i a n t i tuo, kad esančių plokštumoje atspindinčių šilumą surenkančių modulių, sujungtų šilumą pernešančiais vamzdynais ir šilumą kaupiančiomis karštomis talpomis deriniai gali būti įvairiai išdėstyti plokštumoje atskirais segmentais ar jų derinių kompozicijomis ir tokie modulių rinkiniai įgalina tinkamai optimaliu būdu uždengti turimą plotą.

5. Šiluminė saulės elektrinė pagal 1-4-ą punktą, b e s i s k i r i a n t i tuo, kad vertikalus šilumos surinkimo modulis su šiluminių mainų vamzdeliais, šilumą surenkančiais kaupikliais, pro juos pratekančiu šalto šilumnešiklio srautu ir ištekančiu karšto šilumnešiklio srautu šiluminiams mainams pagreitinti šiltas šilumnešiklio srautas siurblio pagalba prateka pro pakopinį šiluminių mainų modulį nuosekliai pro karštus kaupiklius, šiltus kaupiklius, šaltus kaupiklius ir grįžta šaltu srautu į šaldomą talpą, o Iš pastarosios šaltu srautu priešinga kryptimi pratekantis srautas pro kaupiklius išneša karštą srautą į karštą talpą, taip erdvėje atskiria šaltas talpas ir karštas talpas, o paimta iš aplinkos šiluma yra tinkamos būklės ją toliau panaudoti kituose energijos konvertavimo procesuose.

6. Šiluminė saulės elektrinė pagal 1-5-ą punktą, b e s i s k i r i a n t i tuo, kad labai greitiems šilumos mainams naudojami šiluminiai vamzdeliai, kuriais prateka skirtingomis kryptimis šilumą atnešantys ir priešingai tekantys šilumą išnešantys šalti šilumnešiklio srautai.

7. Šiluminė saulės elektrinė pagal 1-6-ą punktą, b e s i s k i r i a n t i tuo, kad naudojami šilumos surinkimo moduliai su šilumos pernešimo uždaru besikartojančių ciklų grandinėmis:

• Šaldoma talpa - šiluminių mainų vamzdelis - siurblys

• Šiluminių mainų vamzdelis - šiluminių mainų vamzdelis - šiluminių mainų vamzdelis - šiluminių mainų vamzdelis

• Šiluminių mainų vamzdelis - karštoji talpa – siurblys

• Šiluminių mainų vamzdelis - šiluminių mainų vamzdelis

ir mainų su aplinka srautai:

• Išorinė aplinka -- šiluminių mainų vamzdelis (Šilumos paėmimo iš aplinkos dalis)

• Paduodamos šilumos srautas - priimanti talpa -- šiluminių mainų vamzdelis - šiluminis mainų vamzdelis - likutinė šiluma (Surinktos šilumos atidavimo dalis)

8. Šiluminė saulės elektrinė pagal 1-7-ą punktą, b e s i s k i r i a n t i tuo, kad šilumos konvertavimo į suslėgtą orą modulyje: šiluminiai vamzdeliai perduoda šiluminius srautus šiluminiams slėgio stiprintuvams, o šie suslėgto oro srautus kompresoriams varikliams, iš kurių išeina silpnesnio slėgio oro srautai ir suslėgto oro srautai paduodami į suslėgto oro talpas, iš kurių paduodamo slėgimui suslėgto oro srautai patenka vartotojams, o grįžtančio oro srautai grąžinami kompresoriams varikliams.

9. Šiluminė saulės elektrinė pagal 1-8-ą punktą, b e s i s k i r i a n t i tuo, kad suslėgto oro konvertavimo į elektrą modulis kompresoriumi varikliu per ežektorių grąžina ištraukiamą likutinį oro srautą kartu iš sumažinto slėgimo oro talpos su mažesnio slėgio oro srautu p 1/2 į suslėgto oro talpą su slėgiu p1, o iš pastarosios oro vamzdynais oro srautas patenka į kompresorius variklį ir suslėgto oro vamzdynais patenka suslėgto oro talpas su maksimaliu slėgiu pm, iš kurių suslėgto oro vamzdynais paduodamas į kompresorių variklį, taip uždaras žiedinis oro ciklas užsidaro, grįžome į pradinį tašką nuo kurio pradėjome, kompresorius variklis per jungtį perduoda sukimosi momentą elektros generatoriui., iš kompresoriaus variklio per paduodamo suslėgto oro vamzdynus suslėgtas oras p1 patenka į pneumo variklį ir per jungtį, perduodančią sukimosi momentą elektros generatoriui ir tokiu būdu suslėgto oro energija verčiama elektrine energija.

10. Šiluminė saulės elektrinė pagal 1-9-ą punktą, b e s i s k i r i a n t i tuo, kad jei šiluminė saulės elektrinė plūduriuoja ant vandens, papildomai galima panardinti į vandenį šiluminius vamzdelius, kurie dar papildomai, geriau ir greičiau perduotų šilumą.

11. Šiluminė saulės elektrinė pagal 1-10-ą punktą, b e s i s k i r i a n t i tuo, kad atsižvelgus į vartotojų poreikius, aplinkos sąlygas, išteklių kokybę, kiekį ir kainą galima kurti įvairios galios elektrinės kompleksus su vienodu ar skirtingų dominuojančių energetinių modelių rinkiniu, o esant poreikiui nesudėtinga plėsti esamą elektrinę naujais modulių papildymais, laike ir erdvėje šiluminės saulės elektrinė gali būti įvairiai transformuojama, dinamiškai ir kompleksiškai keičiant elektrinę optimalių sprendimų link.

12. Šiluminė saulės elektrinė pagal 1-11-ą punktą, b e s i s k i r i a n t i tuo, kad atšaldant šiluminius vamzdelius iš aplinkos šilto oro iškrentantys vandens lašai suteka į kondensuoto vandens surinkimo modulių atskiras gėlo vandens talpas.

Brėžiniai