LT6967B

DIRBTINĖS PLAUČIŲ VENTILIACIJOS APARATO DALINTUVAS

DISTRIBUTOR OF ARTIFICIAL LUNG VENTILATION APPARATUS

Referatas

[LT] Dirbtinės plaučių ventiliacijos aparato dalintuvas, jungiamas prie dirbtinės plaučių ventiliacijos aparato, kuris atlieka tūriu ar slėgiu kontroliuojamą plaučių ventiliaciją. Dalintuvas turi daugiau nei vieną dirbtinės plaučių ventiliacijos kontūrą, reguliavimo cilindrą, įkvėpimo vožtuvą, iškvėpimo vožtuvą, PEEPV vožtuvą ir avarinį perteklinio slėgio vožtuvą. Atskiru atveju vietoje minėtų trijų vožtuvų dalintuvas turi vieną dvikryptį vožtuvą. Reguliavimo cilindrą sudaro membrana, stūmoklis ir stūmoklio reguliatorius. Taip pat aprašomas dirbtinės plaučių ventiliacijos metodas, skirtas vienu dirbtinės plaučių ventiliacijos aparatu ventiliuoti daugiau nei vieno paciento plaučius. Dalintuvas pasižymi šiomis savybėmis: vienu dirbtinės plaučių ventiliacijos aparatu galima ventiliuoti daugiau nei vieną pacientą; pacientų iškvėptas dujų mišinys nesimaišo su dirbtinės plaučių ventiliacijos aparato dujų mišiniu ir nesimaišo tarp pacientų kontūrų; kiekvienam pacientui galima individualiai parinkti kvėpavimo tūrį, todėl galima ventiliuoti skirtingo plaučių tąsumo pacientus. Atsitiktinai atsijungus vienam iš dirbtinės plaučių ventiliacijos kontūrui, likusiuose kontūruose dirbtinė plaučių ventiliacija išlieka nepakitusi, todėl panaikinama slėgio traumos galimybė.

[EN] Ventilator manifold, connected to a ventilator that provides volume or pressure controlled ventilation. The distributor has more than one ventilator circuit, a control cylinder, an inspiratory valve, an expiratory valve, a PEEPV valve and an emergency relief valve. In a separate case, instead of the aforementioned three valves, the distributor has one two-way valve. The regulating cylinder consists of a membrane, a piston and a piston regulator. Also described is a method of artificial lung ventilation for ventilating more than one patient's lungs with a single artificial lung ventilation machine. The distributor has the following features: more than one patient can be ventilated with one ventilator; the gas mixture exhaled by the patients does not mix with the gas mixture of the ventilator and does not mix between the patient circuits; the breathing volume can be selected individually for each patient, so it is possible to ventilate patients with different lung continuity. In the event of accidental disconnection of one ventilator circuit, the ventilator remains intact in the remaining circuits, eliminating the possibility of pressure injury.Artificial lung ventilator divider, connected to an positive pressure lung ventilator that provides volume or pressure controlled ventilation. The distributor has more than one ventilator circuit, a control cylinder, an inspiratory valve, an expiratory valve, a PEEP valve and an emergency relief valve. In a separate case, instead of the aforementioned three valves, the distributor has one two-way valve. The regulating cylinder consists of a membrane, a piston and a piston regulator. Also described is a method of artificial lung ventilation for ventilating more than one patient's lungs with a single artificial lung ventilation machine. The distributor has the following features: more than one patient can be ventilated with one ventilator; the gas mixture exhaled by the patients does not mix with the gas mixture of the ventilator and does not mix between the patient circuits; the breathing volume can be selected individually for each patient, so it is possible to ventilate patients with different lung continuity. In the event of accidental disconnection of one ventilator circuit, the ventilator remains intact in the remaining circuits, eliminating the possibility of volume or pressure injury.Artificial lung ventilator divider, connected to an positive pressure lung ventilator that provides volume or pressure controlled ventilation. The distributor has more than one ventilator circuit, a control cylinder, an inspiratory valve, an expiratory valve, a PEEP valve and an emergency relief valve. In a separate case, instead of the aforementioned three valves, the distributor has one two-way valve. The regulating cylinder consists of a membrane, a piston and a piston regulator. Also described is a method of artificial lung ventilation for ventilating more than one patient's lungs with a single artificial lung ventilation machine. The distributor has the following features: more than one patient can be ventilated with one ventilator; the gas mixture exhaled by the patients does not mix with the gas mixture of the ventilator and does not mix between the patient circuits; the breathing volume can be selected individually for each patient, so it is possible to ventilate patients with different lung continuity. In the event of accidental disconnection of one ventilator circuit, the ventilator remains intact in the remaining circuits, eliminating the possibility of volume or pressure injury.

Aprašymas

[0001] TECHNIKOS SRITIS

[0002] Išradimas priklauso medicinos aparatų sričiai, o konkrečiai – tai dirbtinės plaučių ventiliacijos aparato dalintuvas.

[0003] TECHNIKOS LYGIS

[0004] Įprastai taikant dirbtinę plaučių ventiliaciją, ventiliaciniai parametrai parenkami pagal konkretų pacientą, tačiau nutarus dirbtinės plaučių ventiliacijos aparatą padalinti keliems pacientams, iškyla parametrų individualizavimo problema. Elementariai padalinus įkvėpimo ir iškvėpimo kontūrus, pradeda galioti susisiekiančių indų principas ir tai sąlygoja dvi fundamentalias problemas:

[0005] a) Skirtingo plaučių tąsumo problema. Įvairių autorių duomenimis, įkvepiamas tūris skirtingo tąsumo plaučiuose skiriasi ženkliai - žemo tąsumo plautyje (0,02 cmH2O/l)- 510 ml, normalaus tąsumo plautyje (0,04 cmH2O/l)- 980ml;

[0006] b) Kontūro kontaminacijos, užkrėtimo problema. Esant tam tikro paciento spontaninio kvėpavimo ar kosulio pastangoms, atsiranda galimybė infekcinių patogenų išplitimui bei automatiškai iškyla trukdžiai kitų pacientų ventiliacijai.

[0007] Dirbtinės plaučių ventiliacijos aparatai gali būti kontroliuojami tūriu ir slėgiu. Dirbtinės plaučių ventiliacijos aparatą padalinus keliems pacientams, tūriu kontroliuojami ventiliaciniai režimai praranda prasmę. Jie ne tik negarantuoja, kad tam tikras pacientas bus ventiliuojamas pasirinktu tūriu, tačiau mažiausią plaučių pasipriešinimą turinčiam pacientui sąlygos plaučių pertempimą bei slėgio traumą, atsiranda užkrėtimo problema.

[0008] Dėl aukšto pradinio įkvėpimo srauto bei pastovaus slėgio kontūre dirbtinė plaučių ventiliacija slėgiu kontroliuojamais režimais sąlygoja keletą neabejotinų privalumų – ženkliai sumažinama slėgio traumos tikimybė, skirtingų plaučių tąsumo pacientų įkvėpimas pradedamas panašiu laiku, ženkliai išaugus pasipriešinimui viename iš kontūrų (intubacinio vamzdelio obstrukcija) netraumuojami likę pacientai, t.y. neišauga ventiliacijos tūriai neobtūruotose kontūruose, ventiliaciniai tūriai adaptuojami pagal pacientų antropologinius duomenis – vidutinis įkvėpimo slėgis sveikų pacientų populiacijoje yra pastovesnis parametras negu kvėpuojamasis tūris.

[0009] Adaptaciniai ventiliacijos režimai (režimai, kurie suteikia galimybę pacientui kvėpuoti šalia taikomos dirbtinės plaučių ventiliacijos) yra nesuderinami su kelių pacientų ventiliacija vienu dirbtinės plaučių ventiliacijos aparatu.

[0010] Daugiausia bandymų atlikta elementariai įkvėpimo ir iškvėpimo kontūrus padalinus į keletą atskirų kontūrų, tačiau lieka neaišku, ar įmanoma užtikrinti adekvatų ventiliacinį tūrį skirtingo plaučių tąsumo pacientams. Skirtingų plaučių tąsumo problemą didžioji dalis autorių siūlo spręsti didinant pasipriešinimą mažesnio plaučio rezistentiškumo šakoje, naudojant Hoffmano spaustuką. Užspaudus normalaus plaučio tąsumo kontūrą ir sumažinus pikinį įkvėpimo slėgį iki 17,8 cmH2O, padidėja pikinis įkvėpimo slėgis mažo tąsumo plautyje iki 33,2 cmH2O, ir pasiekiama adekvati skirtingų plaučių (0,02 cmH2O/l ir 0,04 cmH2O/l) ventiliacija (495 ml ir 499 ml). Tačiau Hoffmano spaustuko panaudojimas dinamiškoje realioje aplinkoje yra nepraktiškas, nestabilus, neužtikrina saugumo, todėl yra netinkamas.

[0011] Kiti autoriai siūlo šią problemą spręsti pasitelkiant solenoidinį elektroninį oro tėkmės vožtuvą. Šie vožtuvai grupuojami į dvi grupes: dviejų padėčių vožtuvai ir kintamo pralaidumo didelės raiškos vožtuvai. Naudojant dviejų padėčių vožtuvą, gaunamas artimas rezultatas portatyviniam dirbtinės plaučių ventiliacijos aparatui. Tačiau trūkumas yra toks, kad galimos tik dvi vožtuvo padėtys (on/off), todėl tokie vožtuvai netinka skirtingo tąsumo plaučiams. Naudojant kintamo pralaidumo didelės raiškos vožtuvus, yra naudojami kompiuterizuoti algoritmai, todėl galima kontroliuoti oro srautą viso įkvėpimo metu (Bi-level rezultatas), tai priartina sistemą prie stacionaraus dirbtinės plaučių ventiliacijos aparato. Šiuo atveju, nors skirtingų plaučių tąsumo problema ir sprendžiama, išlieka kiti metodo trūkumai: kvėpuojamas dujų mišinys maišosi tarp skirtingų pacientų kontūrų, išlieka užkrėtimo galimybė tarp skirtingų pacientų, įvykus atsitiktiniam vieno iš kontūrų atsijungimui, dirbtinė plaučių ventiliacija likusiuose kontūruose iškart pasikeičia.

[0012] Patento dokumentas US2020398015A1 (publikuotas 2020-12-24) aprašo dirbtinės plaučių ventiliacijos dalintuvą- priedą, pritaikomą prie esamo mechaninio ventiliatoriaus. Tačiau toks dalintuvas gali būti pritaikomas tik dviem pacientams, be to, tokie du pacientai turi būti panašaus plaučių tąsumo. Jei plaučių tąsumas yra skirtingas, ar tuo labiau nežinomas, tokio plaučių ventiliacijos dalintuvo skirtingiems pacientams pritaikyti negalima.

[0013] Rasti išvardinti technikos lygio analogai, palyginus su šiame aprašyme pateikiamu sprendimu, turi trūkumų. Šiame aprašyme pateikiamas techninis sprendimas neturi minėtų trūkumų, ir sprendžia minėtas problemas.

[0014] IŠRADIMO ESMĖ

[0015] Aprašomas dirbtinės plaučių ventiliacijos aparato dalintuvas, jungiamas prie dirbtinės plaučių ventiliacijos aparato, ir skirtas stacionariniam dirbtinės plaučių ventiliacijos aparatui, turinčiam tūriu ar slėgiu kontroliuojamą plaučių ventiliaciją bei deguonies tiekimo galimybę spontaniškai kvėpuojamiems pacientams. Dalintuvas turi daugiau nei vieną dirbtinės plaučių ventiliacijos kontūrą, reguliavimo cilindrą, įkvėpimo vožtuvą, iškvėpimo vožtuvą, PEEPV vožtuvą ir avarinį perteklinio slėgio vožtuvą. Atskiru atveju vietoje minėtų trijų vožtuvų dalintuvas turi vieną dvikryptį vožtuvą. Reguliavimo cilindrą sudaro membrana, stūmoklis ir stūmoklio reguliatorius. Taip pat aprašomas dirbtinės plaučių ventiliacijos metodas, skirtas vienu dirbtinės plaučių ventiliacijos aparatu ventiliuoti daugiau nei vieno paciento plaučius. Šiame aprašyme pateiktas dirbtinės plaučių ventiliacijos aparato dalintuvas pasižymi šiomis naujomis savybėmis:

[0016] 1) anestezijos ar intensyviosios terapijos metu vienu dirbtinės plaučių ventiliacijos aparatu galima ventiliuoti daugiau nei vieną pacientą;

[0017] 2) pacientų iškvėptas dujų mišinys nesimaišo su dirbtinės plaučių ventiliacijos aparato tiekiamu kvėpuojamų dujų mišiniu ir nesimaišo tarp pacientų kontūrų;

[0018] 3) kiekvienam pacientui galima individualiai parinkti kvėpavimo tūrį ir individualų teigiamą slėgį iškvėpimo pabaigoje, todėl galima ventiliuoti skirtingo plaučių tąsumo pacientus;

[0019] 4) atsitiktinai atsijungus vienam iš dirbtinės plaučių ventiliacijos kontūrui, likusiuose kontūruose dirbtinę plaučių ventiliacija išlieka nepakitusi, todėl panaikinama slėgio traumos galimybė.

[0020] TRUMPAS BRĖŽINIŲ APRAŠYMAS

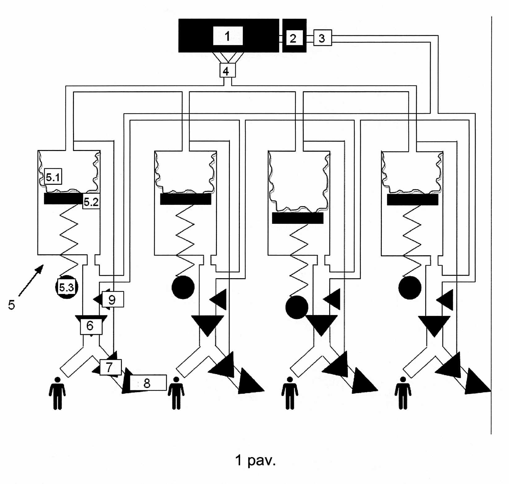
[0021] 1 pav. vaizduoja dirbtinės plaučių ventiliacijos aparato (1) dalintuvą, kuris turi kvėpuojamų dujų mišinio srauto reguliatorių (2), dujų mišinio tiekimo liniją (3), dirbtinės plaučių ventiliacijos kontūrą (4), reguliavimo cilindrą (5), įkvėpimo vožtuvą (6), iškvėpimo vožtuvą (7), PEEPV vožtuvą (8) ir avarinį perteklinio slėgio vožtuvą (9).

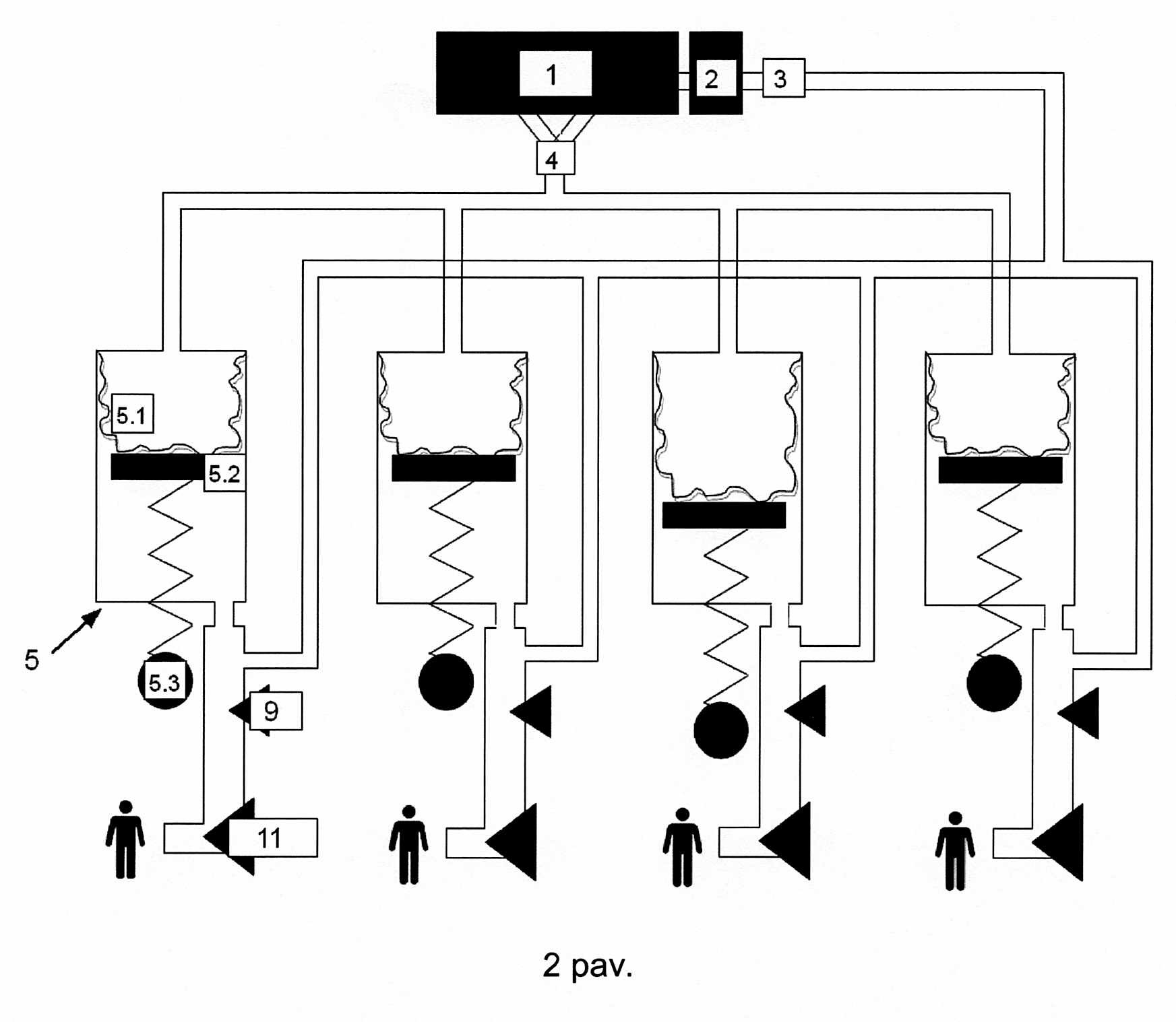
[0022] 2 pav. vaizduoja dirbtinės plaučių ventiliacijos aparato (1) dalintuvą, kuris turi kvėpuojamų dujų mišinio srauto reguliatorių (2), dujų mišinio tiekimo liniją (3), dirbtinės plaučių ventiliacijos kontūrą (4), reguliavimo cilindrą (5), dvikryptį vožtuvą (11) ir avarinį perteklinio slėgio vožtuvą (9).

[0023] TINKAMIAUSI ĮGYVENDINIMO VARIANTAI

[0024] Aprašoma daugiau nei vieno paciento dirbtinis plaučių ventiliacijos aparato (1) dalintuvas, kuris leidžia dirbtinę plaučių ventiliaciją kontroliuoti slėgiu. Dirbtinės plaučių ventiliacijos aparato (1) dalintuvas yra jungiamas prie dirbtinės plaučių ventiliacijos aparato (1) ir dirbtinės plaučių ventiliacijos aparatą (1) padalina į daugiau nei vieną dirbtinės plaučių ventiliacijos kontūrą (4), todėl anestezijos ar intensyviosios terapijos metu vienu dirbtinės plaučių ventiliacijos aparatu (1) galima ventiliuoti daugiau nei vieną pacientą. Įprastai dirbtinės plaučių ventiliacijos aparatas (1) turi kvėpuojamų dujų mišinio srauto reguliatorių (2), vieną dujų mišinio tiekimo liniją (3) ir vieną dirbtinės plaučių ventiliacijos kontūrą (4). Dujų mišinio tiekimo linija (3) į dirbtinės plaučių ventiliacijos kontūrą (4) patenka reikiamos koncentracijos dujų mišinys, skirtas pacientų plaučių ventiliacijai, o pacientų iškvėptas dujų mišinys yra pašalinamas į aplinką.

[0025] Šio išradimo atveju dirbtinės plaučių ventiliacijos aparato (1) dalintuvas turi šias papildomas sudedamąsias dalis:

[0026] daugiau nei vieną dirbtinės plaučių ventiliacijos kontūrą (4);

[0027] reguliavimo cilindrą (5);

[0028] įkvėpimo vožtuvą (6);

[0029] iškvėpimo vožtuvą (7);

[0030] PEEPV vožtuvą (8);

[0031] avarinį perteklinio slėgio vožtuvą (9).

[0032] 1 pav. vaizduoja dirbtinės plaučių ventiliacijos aparato (1) dalintuvą, turintį keturias dujų mišinio tiekimo linijas (3) ir keturis dirbtinės plaučių ventiliacijos kontūrus (4). Aprašomu atveju yra keturi dirbtinės plaučių ventiliacijos kontūrai (4), tačiau jų gali būti vienas, du, trys, keturi ar daugiau. Kadangi aprašomu atveju dirbtinės plaučių ventiliacijos aparato (1) dalintuvas turi keturis dirbtinės plaučių ventiliacijos kontūrus (4), dujų mišinio tiekimo linijos (3) taip pat yra keturios. Dujų mišinio tiekimo linijos (3) yra medicinoje naudojamų vamzdelių sistema, kuria deguonis patenka į dirbtinį plaučių ventiliacijos kontūrą (4). Dujų mišinio tiekimo linijos (3) yra prijungtos prie paciento kvėpavimo vamzdelių, pvz., prie endotrachėjinių vamzdelių. Dažniausiai dujų mišinio tiekimo linija (3) tiekia 100% deguonies koncentracijos dujas, tačiau atskiru atveju deguonies koncentracija gali būti ir mažesnė. Panaudojus Venturi mechanizmą (10), į dujų mišinio tiekimo liniją (3) patenka aplinkos dujų mišinys (oras), ir taip deguonies koncentracija dujų mišinio tiekimo linijoje (3) sumažėja. Dirbtinės plaučių ventiliacijos kontūras (4) yra aukšto slėgio kontūras, skirtas neinvaziniam kvėpuojamų dujų mišinio pristatymui į paciento plaučius ir paciento iškvėpto dujų mišinio pašalinimui iš plaučių į aplinką.

[0033] Dirbtinės plaučių ventiliacijos aparato kontūre (4) yra reguliavimo cilindras (5), kurį sudaro:

[0034] membrana (5.1), stūmoklis (5.2) ir stūmoklio reguliatorius (5.3). Aprašomu atveju yra keturi reguliavimo cilindrai (5), po vieną reguliavimo cilindrą (5) kiekvienam dirbtinės plaučių ventiliacijos aparato kontūrui (4). Membrana (5.1) naudojama atskirti pacientams kvėpuojamų dujų mišinį atskirame dirbtinės plaučių ventiliacijos kontūre (4) nuo skirtingų pacientų dirbtinės plaučių ventiliacijos kontūrų (4). Taip eliminuojama kryžminio užkrėtimo galimybė, apsaugoma nuo užkrėtimų, virusų ar bakterijų. Idealiu atveju, reguliavimo cilindras (5) yra pagamintas iš permatomos medžiagos, todėl galima stebėti membraną (5.1) ir vizualiai įvertinti atskirų pacientų kvėpuojamų dujų mišinio tūrį. Reguliavimo cilindre (5) įmontuoti stūmoklis (5.2) ir stūmoklio reguliatorius (5.3) suteikia galimybę individualizuoti įkvepiamą kvėpuojamų dujų mišinio tūrį kiekvienam pacientui atskirai.

[0035] Pacientų iškvėptas dujų mišinys yra pašalinamas į aplinką per iškvėpimo vožtuvą (7) ir PEEPV vožtuvą (8), kurie yra dirbtinės plaučių ventiliacijos aparato kontūre (4). Iškvėpimo vožtuvas (7) yra vienos krypties, todėl pacientų iškvėptas dujų mišinys negali patekti atgal į reguliavimo cilindrą (5), taip išvengiamas pakartotinas jau iškvėptų dujų įkvėpimas. Iškvėpimo vožtuvas (7) neutralioje padėtyje yra atviras, todėl pro jį lengvai pasišalina pacientų iškvėptas dujų mišinys. Įkvėpimo metu iškvėpimo vožtuvas (7) yra uždaromas dėl dirbtinio plaučių ventiliacijos aparato sukuriamo teigiamo slėgio pre-membraninėje dalyje. Iškvėpimo vožtuvas (7) yra sujungtas su reguliavimo cilindru (5), kuris yra užpildomas kvėpuojamų dujų mišiniu iškvėpimo metu. Pacientų iškvėptas dujų mišinys praeina pro iškvėpimo vožtuvas (7) iki PEEPV vožtuvo (8). PEEPV vožtuvo (8) vienas galas kontaktuoja su dirbtinės plaučių ventiliacijos aparato kontūru (4), o kitas galas- su aplinka. PEEPV vožtuvas (8) taip pat yra vienos krypties, jis pašalina pacientų iškvėptą dujų mišinį iš dirbtinės plaučių ventiliacijos aparato kontūro (4) į aplinką. Iškvėpimo pabaigoje yra pasiekiamas individualus teigiamas slėgis, dažniausiai 0-20 cmH2O, kuris pirmiausia atidaro PEEPV vožtuvą (8), o paskui aktyvina įkvėpimo vožtuvą (6). Įkvėpimo vožtuvas (6) yra dirbtinės plaučių ventiliacijos kontūre (4) tarp paciento ir reguliavimo cilindro (5). Iškvėpimo pabaigoje sukurtas teigiamas slėgis aktyvina įkvėpimo vožtuvą (6), kuris atsidaro, ir atsidarius įkvėpimo vožtuvui (6) kvėpuojamų dujų mišinys iš reguliavimo cilindro (5) patenka į paciento plaučius. Atsidaręs įkvėpimo vožtuvas (6) uždaro iškvėpimo vožtuvą (7), todėl įkvėpimo metu iškvėpimo vožtuvas (7) būna uždarytas, ir neleidžia kvėpuojamam dujų mišiniui pasišalinti į aplinką.

[0036] Dirbtinės plaučių ventiliacijos aparato (1) dalintuvas turi avarinį perteklinio slėgio vožtuvą (9) (1 pav.). Avarinis perteklinio slėgio vožtuvas (9) yra tarp reguliavimo cilindro (5) ir įkvėpimo vožtuvo (6). Tai vienkryptis vožtuvas, galintis praleisti kvėpuojamų dujų mišinį iš dirbtinės plaučių ventiliacijos kontūro (4) į aplinką. Esant įprastam ventiliacijos režimui, avarinis perteklinio slėgio vožtuvas (9) yra uždarytas, o atsiradus nenumatytam, avariniam slėgio padidėjimui dirbtinės plaučių ventiliacijos kontūre (4)- automatiškai aktyvinamas ir perteklinį slėgį išleidžia į aplinką. Avarinis perteklinio slėgio vožtuvas (9) leidžia išvengti nenumatyto slėgio padidėjimo kontūre, ir taip apsaugo paciento plaučius nuo slėgio traumos.

[0037] Dirbtinės plaučių ventiliacijos aparato (1) dalintuvas gali turėti Venturi mechanizmą (10) (1 pav.). Venturi mechanizmas (10) yra dujų mišinio tiekimo linijoje (3). Tai yra mechanizmas, kuris aplinkoje, patalpoje esantį dujų mišinį perneša į dujų mišinio tiekimo liniją (3). Venturi mechanizmo (10) pagalba galima keisti deguonies koncentraciją kvėpuojamų dujų mišinyje, tačiau oras yra imama iš aplinkos, kuri nebūtinai yra sterili.

[0038] Papildomai, dirbtinės plaučių ventiliacijos aparato (1) dalintuvas turi valdymo įrenginį (12).

[0039] Valdymo įrenginys (12) yra kompiuteris, planšetė, mobilus telefonas ar kita kompiuterinė priemonė, leidžianti valdyti, stebėti ar registruoti dirbtinės plaučių ventiliacijos aparato (1) dalintuvo veikimą ir su tuo susijusius parametrus. Valdymo įrenginys (12) turi įvestas standartines stebimų signalų vertes bei standartines pavojaus signalų vertes. Valdymo įrenginio (12) pagalba taip pat galima nustatyti norimus signalų parametrus bei slenkstines vertes, kada generuojami pavojaus signalai, ir kokio tipo. Dirbtinės plaučių ventiliacijos aparato (1) dalintuvo signalai gali būti pateikiami valdymo įrenginio (12) ekrane, gali būti generuojami garsiniai pranešimai, signalai gali būti siunčiami į nutolusį mobilų įrenginį, kompiuterinių debesų sistemą ar kitas kompiuterines priemones.

[0040] Aprašomo išradimo vienu iš įgyvendinimo variantu, įkvėpimo vožtuvas (6), iškvėpimo vožtuvas (7) ir PEEPV vožtuvas (8) yra apjungti į vieną dvikryptį vožtuvą (11). Šiuo atveju dirbtinės plaučių ventiliacijos aparato (1) dalintuvas turi šias esmines sudedamąsias dalis, kurios yra pavaizduotos 2 pav.:

[0041] daugiau nei vieną dirbtinės plaučių ventiliacijos kontūrą (4);

[0042] reguliavimo cilindrą (5);

[0043] dvikryptis vožtuvą (11).

[0044] avarinį perteklinio slėgio vožtuvą (9).

[0045] Dirbtinės plaučių ventiliacijos aparato (1) dalintuvas yra analogiškas aprašytam aukščiau, tik vietoje trijų atskirų vožtuvų yra vienas dvikryptis vožtuvas (11). Aprašomu atveju dvikryptis vožtuvas (11) yra dirbtinės plaučių ventiliacijos kontūre (4) tarp paciento ir reguliavimo cilindro (5). Dvikryptis vožtuvas (11) yra dvejomis kryptimis dujų srautą prakleidžiantis vožtuvas, plačiai naudojamas anestezijos ar intensyviosios terapijos metu savaime prisipildančiuose maišuose (Ambu tipo maišai) bei portatyviniuose dirbtinės plaučių ventiliacijos aparatuose. Dvikryptis vožtuvas (11) reguliuoja liekamąjį teigiamą slėgį (0-20 cmH2O) iškvėpimo pabaigoje, tokiu būdu pasiekiamas kiekvienam pacientui individualus teigiamas slėgis iškvėpimo pabaigoje. Dvikryptis vožtuvas (11) kontroliuoja iškvėpimą priklausomai nuo slėgio dirbtinės plaučių ventiliacijos kontūre (4): kai slėgis yra teigiamas, dvikrypčio vožtuvo (11) iškvėpimo dalis yra uždaroma, o įkvėpimo dalis- atidaroma. Slėgiui nukritus - uždaroma įkvėpimo dalis bei atidaroma iškvėpimo dalis. Iškvėpimo metu pacientų iškvėptas dujų mišinys iš dirbtinės plaučių ventiliacijos kontūro (4) yra pašalinamas į aplinką, o kadangi įkvėpimo dalis yra uždaryta, tai pacientų iškvėptas dujų mišinys nepatenka atgal į dirbtinės plaučių ventiliacijos kontūrą (4). Įkvėpimo metu tiekiamas dujų mišinys iš dirbtinės plaučių ventiliacijos kontūro (4) patenka į paciento plaučius.

[0046] Dirbtinės plaučių ventiliacijos metodas remiasi aukščiau aprašytu dirbtinės plaučių ventiliacijos aparatu (1) (1 pav., 2 pav.), ir turi šiuos žingsnius:

[0047] - kvėpuojamų dujų mišinio patekimas į dujų mišinio tiekimo liniją (3)

[0048] Dirbtinės plaučių ventiliacijos aparatas (1) tiekia kvėpuojamų dujų mišinį į dujų mišinio tiekimo liniją (3), kvėpuojamų dujų mišinio tūris yra reguliuojamas dujų mišinio srauto reguliatoriumi (2).

[0049] - pacientų iškvėpto dujų mišinio pašalinimas į aplinką

[0050] Tuo atveju (1 pav.), kai dirbtinės plaučių ventiliacijos aparato (1) dalintuvas turi įkvėpimo vožtuvą (6), iškvėpimo vožtuvą (7) ir PEEPV vožtuvą (8), pacientų iškvėptas dujų mišinys laisvai praeina pro iškvėpimo vožtuvą (7) ir pasiekia PEEPV vožtuvą (8). Iškvėpimo pabaigoje yra pasiekiamas individualus teigiamas slėgis, kuris atidaro PEEPV vožtuvą (8), ir pacientų iškvėptas dujų mišinys iš dirbtinės plaučių ventiliacijos aparato kontūro (4) yra pašalinamas į aplinką.

[0051] Kai dirbtinės plaučių ventiliacijos aparato (1) dalintuvas turi dvikryptį vožtuvą (11) (2 pav.), dvikrypčio vožtuvo (11) iškvėpimo dalis yra atidaroma nukritus slėgiui dirbtinės plaučių ventiliacijos kontūre (4). Iškvėpimo metu pacientų iškvėptas dujų mišinys yra pašalinamas į aplinką.

[0052] - reguliavimo cilindro (5) užpildymas kvėpuojamų dujų mišiniu

[0053] Reguliavimo cilindras (5) yra užpildomas kvėpuojamų dujų mišiniu iškvėpimo metu. Tuo atveju (1 pav.), kai dirbtinės plaučių ventiliacijos aparato (1) dalintuvas turi įkvėpimo vožtuvą (6), iškvėpimo vožtuvą (7) ir PEEPV vožtuvą (8), iškvėpimo vožtuvas (7) yra sujungtas su reguliavimo cilindru (5), iškvėpimo metu yra sukuriamas teigiamas slėgis, kuris atidaro reguliavimo cilindrą (5) ir užpildo kvėpuojamų dujų mišiniu.

[0054] Kai dirbtinės plaučių ventiliacijos aparato (1) dalintuvas turi dvikryptį vožtuvą (11) (2 pav.), dvikryptis vožtuvas (11) iškvėpimo metu aktyvina reguliavimo cilindrą (5), kuris iškvėpimo metu yra užpildomas kvėpuojamų dujų mišiniu.

[0055] Tokiu būdu iškvėpimo metu reguliavimo cilindras (5) yra užpildomas kvėpuojamų dujų mišiniu. Skirtingo tąsumo plaučiai sukuria skirtingą teigiamą slėgį, taigi į reguliavimo cilindrą (5) patenka skirtingas tūris kvėpuojamų dujų mišinio, ir taip kiekvienam pacientui yra individualiai parenkamas kvėpuojamų dujų mišinio tūris. Skirtingas kvėpuojamų dujų mišinio tūris į reguliavimo cilindrą (5) kiekvienam pacientui patenka automatiškai, pagal tai, koks buvo paciento iškvėpto dujų mišinio tūris. Naudojant dirbtinės plaučių ventiliacijos aparato (1) dalintuvą galima vienu dirbtinės plaučių ventiliacijos aparatu (1) ventiliuoti daugiau nei vieną pacientą. Pacientų kvėpuojamas dujų mišinys nesimaišo su dirbtinės plaučių ventiliacijos aparato bendru kvėpuojamų dujų mišiniu ir nesimaišo tarp skirtingų pacientų kontūrų. Kiekvienam pacientui galima individualiai parinkti kvėpavimo tūrį ir individualų teigiamą slėgį iškvėpimo pabaigoje, taip reguliavimo cilindras (5) automatiškai sprendžia skirtingų plaučių tąsumo problemą.

[0056] - kvėpuojamų dujų mišinio įkvėpimas iš reguliavimo cilindro (5)

[0057] Tuo atveju (1 pav.), kai dirbtinės plaučių ventiliacijos aparato (1) dalintuvas turi įkvėpimo vožtuvą (6), iškvėpimo vožtuvą (7) ir PEEPV vožtuvą (8), įkvėpimas vyksta pasitelkiant dirbtinės plaučių ventiliacijos aparato (1) generuojamą ciklinį teigiamą slėgį iškvėpimo metu. Iškvėpimo pabaigoje sukurtas teigiamas slėgis aktyvina įkvėpimo vožtuvą (6). Atsidarius įkvėpimo vožtuvui (6), kvėpuojamų dujų mišinys iš reguliavimo cilindro (5) patenka į paciento plaučius. Įkvėpimo vožtuvas (6) uždaro iškvėpimo vožtuvą (7), todėl įkvėpimo metu iškvėpimo vožtuvas (7) būna uždarytas ir neleidžia kvėpuojamų dujų mišiniui pasišalinti į aplinką.

[0058] Kai dirbtinės plaučių ventiliacijos aparato (1) dalintuvas turi dvikryptį vožtuvą (11) (2 pav.), dvikrypčio vožtuvo (11) įkvėpimo dalis yra atidaroma esant teigiamam slėgiui dirbtinės plaučių ventiliacijos kontūre (4). Tada, kai dvikrypčio vožtuvo (11) įkvėpimo dalis yra atidaryta, pacientas įkvepia kvėpuojamų dujų mišinį iš reguliavimo cilindro (5).

[0059] Parinkus maksimalų plaučius tausojančios ventiliacijos slėgį 30 cmH2O, pasiekiamas aukščiausias įmanomas pradinis įkvėpimo srautas - taip sumažinamas latentiškumas skirtinguose pacientų dirbtinės plaučių ventiliacijos kontūruose (4), ir dėl to sumažinama slėgio traumos tikimybė maksimalaus įkvėpimo dirbtinės plaučių ventiliacijos kontūre (4), kuris šiuo atveju neviršija 30 cmH2O.

[0060] - perteklinio slėgio pašalinimas iš dirbtinės plaučių ventiliacijos kontūro (4) į aplinką avarijos atveju

[0061] Atsiradus nenumatytam, avariniam slėgio padidėjimui virš numatytos normos dirbtinės plaučių ventiliacijos kontūre (4), automatiškai aktyvinamas avarinis perteklinio slėgio vožtuvas (9), kuris perteklinį slėgį pašalina iš dirbtinės plaučių ventiliacijos kontūro (4) į aplinką. Avarinis perteklinio slėgio vožtuvas (9) yra vienkryptis, todėl dujų mišinys iš aplinkos į dirbtinės plaučių ventiliacijos kontūrą (4) nepatenka, dirbtinės plaučių ventiliacijos kontūre (4) išlieka sterilios sąlygos.

[0062] Jei dirbtinės plaučių ventiliacijos aparato (1) dalintuvas turi Venturi mechanizmą (10) (1 pav., 2 pav.), jis yra naudojamas keičiant deguonies koncentraciją kvėpuojamų dujų mišinyje. Tokiu atveju metodas turi papildomą žingsnį:

[0063] - deguonies koncentracijos keitimas dujų mišinio tiekimo linijoje (3)

[0064] Venturi mechanizmas (10) leidžia keisti deguonies koncentraciją kvėpuojamų dujų mišinyje, nes Venturi mechanizmas (10) dujų mišinį iš aplinkos, patalpos perneša į dujų mišinio tiekimo liniją (3) ir taip reguliuoja deguonies kiekį kvėpuojamų dujų mišinyje.

[0065] Metodas taip pat turi šį papildomą žingsnį:

[0066] - dirbtinės plaučių ventiliacijos aparato (1) dalintuvo signalų stebėjimas ir generavimas

[0067] Dirbtinės plaučių ventiliacijos aparato (1) dalintuvas generuoja signalus apie dalintuvo atliekamą funkciją ir kiekvieno dirbtinės plaučių ventiliacijos kontūro (4) parametrus. Parodomas kiekvieno paciento kvėpuojamų dujų mišinio tūris, vidutinė ar momentinė plaučių ventiliacija, deguonies kiekis kvėpuojamų dujų mišinyje, kvėpavimo dažnis ar kiti parametrai. Jei signalai nukrypsta nuo normos, generuojamas pavojaus signalas. Pavojaus signalas gali būti per didelis kvėpuojamų dujų mišinio tūris, per didelė momentinė plaučių ventiliacija ar kt. Dirbtinės plaučių ventiliacijos aparato (1) dalintuvo signalai gali būti pateikiami valdymo įrenginio (12) ekrane, gali būti generuojami garsiniai pranešimai, signalai gali būti siunčiami į nutolusį mobilų įrenginį, kompiuterinių debesų sistemą ar kitas kompiuterines priemones.

[0068] Viename iš išradimo įgyvendinimo variantų, dirbtinės plaučių ventiliacijos aparato (1) kvėpuojamų dujų mišinio bendras tūris yra 2000 ml. Tokiu būdu įmanoma saugiai ventiliuoti keturis pacientus po 500 ml kvėpuojamų dujų mišinio tūriu. Esant didesniam kvėpavimo tūrio poreikiui, būtina sumažinti kito/ų pacientų kvėpavimo tūrius. Kvėpuojamų dujų mišinio tūrių suma yra ribojama dirbtinės plaučių ventiliacijos aparato (1) momentiniu kvėpavimo turiu, kuris dažniausiai yra 2000 ml. Standartiniai dujų srauto tėkmės matavimo prietaisai (Flow-meter) neinvaziniam dujų srauto tiekimui yra sugraduoti iki 15 l/min. Šiuo atveju, norint ventiliuoti keturių pacientų plaučius 100% deguonimi, būtina 40 l/min dujų srauto tėkmė. Tai pasiekiama papildomai atsukant adatinį tiekiamo dujų mišinio srauto reguliatorių (2). Ventiliuojant pacientus mažesne deguonies frakcija, kvėpuojamų dujų srautas gali būti pasiekiamas pasinaudojus Venturi mechanizmu (10).

[0069] Siekiant iliustruoti ir aprašyti šį išradimą, aukščiau pateiktas tinkamiausių įgyvendinimo variantų aprašymas yra bendro pobūdžio- aprašyme pateikti dirbtinės plaučių ventiliacijos aparato (1) dalintuvą sudarančių dalių išmatavimai, medžiagos, sujungimo būdas, pačių dalių kiekis ir kiti parametrai bei prietaiso panaudojimo būdas ir paskirtis gali skirtis - į aprašymą reikia žiūrėti kaip į iliustraciją, o ne kaip į apribojimą. Tai nėra išsamus arba ribojantis aprašymas, siekiantis nustatyti tikslią formą arba įgyvendinimo variantą. Įgyvendinimo variantuose, aprašytuose tos srities specialistų, gali būti sukurti pakeitimai, nenukrypstantys nuo šio išradimo apimties, kaip tai nurodyta toliau pateiktoje apibrėžtyje.

Apibrėžtis

1. Dirbtinės plaučių ventiliacijos aparato (1) dalintuvas, jungiamas prie dirbtinės plaučių ventiliacijos aparato (1) ir turintis tiekiamo dujų mišinio srauto reguliatorių (2), dujų mišinio tiekimo liniją (3) ir dirbtinės plaučių ventiliacijos kontūrą (4), b e s i s k i r i a n t i s tuo, kad dirbtinės plaučių ventiliacijos aparato (1) dalintuvas turi:

- daugiau nei vieną dirbtinės plaučių ventiliacijos kontūrą (4);

- reguliavimo cilindrą (5);

- įkvėpimo vožtuvą (6);

- iškvėpimo vožtuvą (7);

- PEEPV vožtuvą (8);

- avarinį perteklinio slėgio vožtuvą (9);

ir dirbtinės plaučių ventiliacijos aparato (1) dalintuvas vienu dirbtinės plaučių ventiliacijos aparatu (1) ventiliuoja daugiau nei vieną pacientą.

2. Dirbtinės plaučių ventiliacijos aparato (1) dalintuvas pagal 1 punktą, b e s i s k i r i a n t i s tuo, kad vienu iš įgyvendinimo variantų dirbtinės plaučių ventiliacijos aparato (1) dalintuvas turi:

- daugiau nei vieną dirbtinės plaučių ventiliacijos kontūrą (4);

- reguliavimo cilindrą (5);

- dvikryptį vožtuvą (11);

- avarinį perteklinio slėgio vožtuvą (9).

3. Dirbtinės plaučių ventiliacijos aparato (1) dalintuvas pagal 1–2 punktus, b e s i s k i r i a n t i s tuo, kad reguliavimo cilindras (5) turi:

- membraną (5.1);

- stūmoklį (5.2);

- stūmoklio reguliatorių (5.3).

4. Dirbtinės plaučių ventiliacijos aparato (1) dalintuvas pagal 3 punktą, b e s i s k i r i a n t i s tuo, kad reguliavimo cilindras (5) yra pagamintas iš permatomos medžiagos, todėl galima stebėti membraną (5.1) ir vizualiai įvertinti atskirų pacientų kvėpuojamų dujų mišinio tūrį.

5. Dirbtinės plaučių ventiliacijos aparato (1) dalintuvas pagal 1–4 punktus, b e s i s k i r i a n t i s tuo, kad dirbtinės plaučių ventiliacijos aparato (1) dalintuvas papildomai turi Venturi mechanizmą (10), kuris dujų mišinį iš aplinkos perneša į dujų mišinio tiekimo liniją (3) ir taip reguliuoja deguonies kiekį kvėpuojamų dujų mišinyje.

6. Dirbtinės plaučių ventiliacijos aparato dalintuvas pagal 1–5 punktus, b e s i s k i r i a n t i s tuo, kad dalintuvas turi valdymo įrenginį (12), kurio dėka galima valdyti, stebėti ar registruoti dalintuvo veikimą ir su tuo susijusius parametrus.

7. Dirbtinės plaučių ventiliacijos aparato (1) dalintuvas pagal 1–6 punktus, b e s i s k i r i a n t i s tuo, kad dirbtinės plaučių ventiliacijos aparato (1) dalintuvas turi keturis dirbtinės plaučių ventiliacijos kontūrus (4).

8. Dirbtinės plaučių ventiliacijos metodas, skirtas su vienu dirbtinės plaučių ventiliacijos aparatu (1) ventiliuoti daugiau nei vieno paciento plaučius, b e s i s k i r i a n t i s tuo, kad metodas turi šiuos žingsnius:

- kvėpuojamų dujų mišinio patekimas į dujų mišinio tiekimo liniją (3);

- pacientų iškvėpto dujų mišinio pašalinimas į aplinką;

- reguliavimo cilindro (5) užpildymas kvėpuojamų dujų mišiniu;

- kvėpuojamų dujų mišinio įkvėpimas iš reguliavimo cilindro (5);

- perteklinio slėgio pašalinimas iš dirbtinės plaučių ventiliacijos kontūro (4) į aplinką avarijos atveju.

9. Dirbtinės plaučių ventiliacijos metodas pagal 8 punktą, b e s i s k i r i a n t i s tuo, kad metodas papildomai turi šį žingsnį:

- deguonies koncentracijos keitimas dujų mišinio tiekimo linijoje (3), kurio metu Venturi mechanizmas (10) perneša aplinkos dujų mišinį į dujų mišinio tiekimo liniją (3) ir taip keičia deguonies koncentraciją.

10. Dirbtinės plaučių ventiliacijos metodas pagal 8–9 punktus, b e s i s k i r i a n t i s tuo, kad metodas papildomai turi šį žingsnį:

- dirbtinės plaučių ventiliacijos aparato (1) dalintuvo signalų stebėjimas ir generavimas, kurio metu dirbtinės plaučių ventiliacijos aparato (1) dalintuvo signalai gali būti pateikiami valdymo įrenginio (12) ekrane, gali būti generuojami garsiniai pranešimai, signalai gali būti siunčiami į nutolusį mobilų įrenginį, kompiuterinių debesų sistemą ar kitas kompiuterines priemones.

11. Dirbtinės plaučių ventiliacijos metodas pagal 8–10 punktus, b e s i s k i r i a n t i s tuo, kad dirbtinės plaučių ventiliacijos aparatu galima ventiliuoti keturių pacientų plaučius.

12. Dirbtinės plaučių ventiliacijos metodas pagal 8–11 punktus, b e s i s k i r i a n t i s tuo, kad kiekviename dirbtinės plaučių ventiliacijos kontūre (4) galima parinkti individualų kvėpavimo tūrį.

Brėžiniai