LT7022B

HIBRIDINĖ ELEKTRINĖ

HYBRID POWER PLANT

Referatas

[LT] Hibridinės elektrinės sistema susidedanti iš šių modulių: A – vandens sistemų modulio, B – šiluminių sistemų modulio, C- atskirų variklių – keitiklių modulio, D - įvairių talpų sistemų modulių, E – hibridinės elektrinės sisteminio visumos valdymo modulio, o energija juose generuojama įvairiausiais būdais: ją galima kaupti ar iškart perduoti vartotojams, kaupiama pakelto vandens, suslėgto oro ar dujų, šalčio, šilumos, karšto vandens pavidalu tam tikrose talpose, iš kurių gali būti greitai panaudojama tiesiogiai tiekiant vartotojams ar keitiklių – valdiklių pagalba vienos energijos rūšis paverčiant kitomis ir priklausomai nuo aplinkos sąlygų ir esamų išteklių gali dominuoti viena ar kita energijos generavimo sistema. Hibridinės elektrinės panaudojimas pasižymi tuo, kad srauto pernešimui pritaikomas natūralus aukščio kontrastas ir (arba) naudojant proceso metu visų ar atskirų modulių sukuriamus srautų slėgio, tankio, greičio, temperatūrų skirtumus, kurie bendros sistemos valdymo modulio pagalba nukreipiami srauto judėjimo impulsui generuoti.

[EN] The hybrid power plant system consists of the following modules: A - water systems module, B - thermal systems module, C - individual engines - converters module, D - various capacity system modules, E - hybrid power plant system control module, and energy is generated in them in various ways: it can be stored or immediately transmitted to consumers, it is stored in the form of elevated water, compressed air or gas, cold, heat, hot water in certain capacities, from which it can be quickly used by direct supply to consumers or with the help of converters - controllers, one type of energy converting into others, and depending on environmental conditions and available resources, one or another energy generation system may dominate. The hybrid use of the power plant is characterized by the fact that a natural height contrast is applied to flow transfer and/or by using the flow pressure, density, speed, and temperature differences created by all or individual modules during the process, which are directed with the help of the overall system control module to generate the flow movement impulse.

Aprašymas

[0001] TECHNIKOS SRITIS

[0002] Išradimas iš energetikos srities.

[0003] Technikos skyrius

[0004] Išradimo analogu pasirinkta Vandens elektrinė patentas LT6751.

[0005] Kartu panaudoti patentai: Kompresorius variklis LT6660, Giluminis variklis LT6786, Geoterminė elektrinė LT6891 ir kt.

[0006] Vandens elektrinėje tekant vandeniui iš viršutinio telkinio į apatinį generuojama elektros energija, kompresoriaus variklio, kuris yra vandens elektrinės konstrukcijoje, pagalba sukuriamas sukamasis ir slenkamasis judesys, kaupiamas suslėgtas oras, sukami elektros generatoriai. Pagrindinis šios vandens elektrinės trūkumas: ištekėjusį žemyn vandenį būtina grąžinti atgal į viršutinį vandens rezervuarą, tam naudojami suslėgto oro ir elektros ištekliai. Siekiant didesnės energijos generacijos, norint sumažinti sąnaudas ir padidinti išeigą, panaudojant įvairią aplinkoje esančią energiją, pasiūlytas naujos hibridinės elektrinės sprendimas.

[0007] Vandens elektrinėje įprastas elektros energijos generavimo būdas - dėl aukščio skirtumo žemyn tekantis vanduo suka hidroturbinas, t. y. potenciali aukščio kontrasto energija verčiama sukamuoju judesiu. Siūlomame išradime papildomai energijai generuoti naudojami: aukščio, slėgio, šilumos kontrastai; sistemoje panaudojamos tuščios talpos ir oro bei dujų talpos su skirtingu slėgiu; vandens pilnos, dalinai užpildytos ir tuščios talpos, esančios skirtingame aukštyje; talpos su šaltu, šiltu ir karštu vandeniu; naudojant Ranka (Vortex) vamzdelius – suslėgto oro srautas skeliamas į šiltus ir šaltus oro srautus; naudojant šiluminius vamzdelius generuojamas padidintas slėgis dujiniuose hidroforuose (dujoforuose) vandeniui kelti; panaudojama kompresoriaus variklio savybė sukamąjį judesį paversti slenkamuoju, o slenkamąjį sukamuoju; naudojant giluminį variklį į viršų keliamas vandens ir oro mišinys.

[0008] Iš ko sudaryta hibridinė elektrinė

[0009] Vandens elektrinė papildyta Giluminio variklio ir Dujinio hidroforo (dujoforo) moduliais.

[0010] Giluminio variklio (patentas LT6786) konstrukcijoje pratekantis vanduo, kuris suka sparnuotes ir spaudžia orą, iškeliamas virš vandens telkinio paviršiaus suslėgto oro su vandens mišiniu, t. y. turime techninį sprendimą - vanduo pats pakyla į viršų ir gali būti naudojamas papildomai energijai generuoti grįžtančio žemyn vandens srauto pagalba. Tokia konstrukcijos savybė leidžia ženkliai sumažinti naudojamo vandens kiekį - vanduo uždaru ratu gali tekėti iš vienos talpos į kitą, t. y. didelį vandens telkinį galime pakeisti ribotos talpos indais.

[0011] Vandens pakėlimui iš apatinio rezervuaro į viršutinį rezervuarą gali būti panaudojamas ir dujinio hidroforo (dujoforo) modulis. Jo pagrindinė paskirtis mažesnėmis sąnaudomis ir greičiau grąžinti ištekėjusį vandenį iš apatinės vandens į viršutinę vandens talpą. Kelių dujinių hidroforų (dujoforų) derinys dirba nuolatiniu nenutrūkstamu režimu, t. y. praktiškai ištekėjęs vanduo čia pat grįžta į viršų. Naudojant dujinį hidroforą (dujoforą) pastatuose galima įrengti lokalias nedidelės galios elektrines, be to, ši sistema gali tarnauti ir vandens pakėlimui į aukštesnius aukštus. Energijai generuoti pakanka labai nedidelės šiluminės talpos su šiltu vandeniu (T=30 °C). Dujiniame hidrofore (dujofore) išsiplėtus šildomam šiluminiam vamzdeliui, slegiamas oras ar azoto dujos išstumia vandenį į viršų, šaldant šiluminius vamzdelius jie susitraukia, slėgis inde krenta ir į jį gali įbėgti vanduo. Hidroforo (dufoforo) veikimo principas leidžia gerokai greičiau ir mažesnėmis sąnaudomis pumpuoti ir kelti vandenį į viršų. Kelių modifikuotų dujinių hidroforų (dujoforų) derinys, įgalinantis užtikrinti nuolatinį, be pauzių ir stabdymo, vandens pakėlimo procesą.

[0012] Vandens elektrinė kartu su Giluminio variklio moduliu ir Dujinio hidroforo (dujoforo) moduliu yra hibridinės elektrinės pratekančio vandens energijos panaudojimo posistemės.

[0013] Pagrindine sistema pasirinkta vandens elektrinė:

[0014] 1. Naujos kartos hibridinės vandens elektrinės veiklai užtikrinti tinka bet kokie natūralūs vandens telkiniai - jūros, upės, ežerai, tvenkiniai, atskiros duobės su vandeniu, atskiri indai, talpos, statinės, vamzdžiai su vandeniu ir kita, galima susikurti nedidelius, mažo kiekio lokalius vandens išteklius. Vanduo neišeikvojamas, nes nuolat sukasi uždaru ratu, todėl užtenka nedidelio vandens kiekio nuolatinei energijai generuoti, ištekėjusiam vandeniui grąžinti naudojami paprastesni ir pigesni moduliai, (pvz. dujinis hidroforas (dujoforas)) su ženkliai pigesne eksploatacija.

[0015] 2. Naujos kartos hibridinė elektrinė, kurioje vyrauja vandens ir šilumos technologija, gali būti įvairaus dydžio, galios ir skirtingo mastelio bei išpildymo: nuo labai mažų kelių KW/h iki MW/h ar GW/h galios.

[0016] 3. Įvairių modulių deriniai tinka parinkti hibridines elektrines pagal aplinkoje esamas sąlygas ir vartotojų poreikius. Nauja hibridinė elektrinė labai dinamiška - jos konstrukciją visuomet galima papildyti ar sumažinti įvairiais moduliais.

[0017] Papildomai naudojama ir šiluminė technologija

[0018] Energijos išsklaidyta šilumos forma aplinkoje gausu, ją kaupia vanduo, oras, žemė, augalai, pastatai ir kt. 20–40 °C laipsnių temperatūros oro ar vandens šiltuoju metų laikotarpiu praktiškai yra beveik visur. Naujoje hibridinės elektrinės technologijoje to pakanka tiesiogiai panaudoti šią šilumą naudojami ištekliai, kurie jau yra aplinkoje, o ne įtraukiami nauji nuolat eikvojami ištekliai.

[0019] Hibridinės elektrinės technologija leidžia vienas energijos rūšis konvertuoti į kitas ir tai daryti ne vieną kartą. Tokios elektrinės galimybės gerokai išsiplečia, energijos vartotojai vienu metu gali naudoti įvairias energijos rūšis.

[0020] TECHNIKOS LYGIS

[0021] Pratekančio vandens energijos panaudojimo sprendimai

[0022] Išradimo analogu pasirinktas išradimas Vandens elektrinė LT6751. Naujoje hibridinėje elektrinėje praplėstas energijų generavimų spektras ir išnaudotos galimybės naudoti įvairioms energijoms generuoti: vandens elektrinę, naujas šilumines saulės, geotermines elektrines, atskiruose induose esančius giluminius variklius, kompresorių variklį, absorbcinį variklį ir kt. Įvairius energetinius modulius galima tarpusavyje kombinuoti įvairiausiais būdais. Pasiūlyti sprendimai, kaip greičiau ir su mažesnėmis sąnaudomis grąžinti ištekėjusį vandenį pakartotiniam energijos nuėmimui. Minimos elektrinės, varikliai, keitikliai hibridinėje elektrinėje naudojami kaip naujos sistemos moduliai.

[0023] Minimos vandens elektrinės (patentas LT 6751) veikimo esmė: išnaudoti ne tik pratekančio, krentančio vandens energiją, o ir judančių vandens srautų galimybes slėgti orą bei panaudoti skirtingas vandens, oro ir jų mišinių savybes. Maksimaliai, pakopomis ir lygiagrečiai nuimant pratekančio vandens kinetinę ir smūgio energiją, sukimosi energiją konvertuojant į elektros energiją, o perteklinius suslėgto oro srautus, panaudojant papildomos energijos generavimui ir ištekančio vandens grąžinimui. Keičiant vandens techninius fizinius parametrus (greitį, tankį, pakėlimo aukštį ir kt.) formuojami uždaru ciklu judantys energijos srautais. Perteklinė energija (suslėgto oro ir elektros forma) naudojama kitiems tikslams (pvz. šilumai gauti). Ištekėjusio vandens grąžinimui į ankstesnį lygį panaudota dujinio hidroforo (dujoforo) autonominė vandens kėlimo sistema, kuri dirba naudodama nedidelius pratekančios šilumos kiekius.

[0024] Vandens elektrinės giluminio variklio modulio - kompresoriaus variklio (patentas LT 6660) elementai sukasi nuo pratekančių pakopomis ir išskaidytų lygiagrečiai vandens srautų, kurie perduoda energiją sukimosi moduliams, o šie judesį per perdavimo jungtis, giluminiams varikliams, o pastarieji per jungtis kompresoriams varikliams, kurie slegia orą, o šis perduodamas kaupti į suslėgto oro talpas, kurios sujungtos tarpusavyje vamzdžiais į bendrą vandens elektrinės oro slėgimo sistemą ir kuriose oras kaupiamas ir toliau panaudojamas elektrai generuoti. Sukant pneumo rotorius ir elektros generatorius, kurie generuojamą elektrą elektros laidais perduoda vartotojams. Vandens elektrinėje suslėgtas oras paduodamas iš oro slėgimo talpų. Suslėgtas oras vamzdžiais patenka į pneumo siurblį ir sukimosi modulį, pastarasis suka ir pumpuoja vandenį vamzdynais į viršų - kelia sumažėjusio tankio vandens - oro mišinius, kurie prieš grąžinant vandenį į viršutinį vandens telkinį, atskiriami nuo jame esančio oro.

[0025] Šiluminės energijos panaudojimo sprendimai

[0026] Šiluma iš žemės gelmių - Geoterminė elektrinė (patentas LT 6891)

[0027] Geoterminės elektrinės veikimo principais - iš žemės gelmės keliamas uždaru ratu cirkuliuojančio šilumnešiklio pagalba (gėlas vanduo, spiritas, vandens ir spirito mišiniai) pernešama šiluma (T= 30–35 °C). Vartotojui tiekiamas karštas vanduo (T= 60–70 °C), šiluminės mašinos pagalba gaunamas šiltas vanduo (T= 30–35 °C), pernešama šiluma iš šiltų talpų (T= 30–40 °C) į karštas talpas (T= 60–70 °C) – t.y. papildomam šildymui nedeginamas joks kuras. Naudojant giluminius variklius generuojama elektra tiekiama vartotojams. Visa geoterminė elektrinė kaip visuma surenkama iš modulių.

[0028] Šiluma iš aplinkos - Šiluminė saulės elektrinė

[0029] Šiluminė saulės elektrinė sudaro vientisą, tarpusavyje suderintą energetinę sistemą iš šių pagrindinių modulių:

[0030] iš horizontalių, pasvirusių ir vertikalių šilumos surinkimo modulių,

[0031] iš pasyvių ir aktyvių šilumos surinkimo vamzdelių, šilumos kaupiklių ir jų modulių,

[0032] iš šiluminių mašinų, šaltų ir karštų talpų šilumos kaupimo modulių,

[0033] iš šilumos surinkimo ir mainų modulių,

[0034] iš šilumos konvertavimo į suslėgtą orą modulių,

[0035] iš suslėgto oro konvertavimo į elektrą modulių,

[0036] iš atskirų modulių ir visumos valdymo modulių,

[0037] iš šilumos ir energijos perdavimo vartotojams modulių,

[0038] iš kondensuoto vandens surinkimo modulių.

[0039] Surinkta saulės spindulių ir aplinkoje esanti šiluma trumpai kaupiama tūriniuose šiluminiuose kaupikliuose ir nuolat šiluminių mašinų pagalba ir šilumos surinkimo ir mainų modulių dėka perkeliama į karštąsias talpas, o iš jų nuosekliai į šilumos konvertavimo į suslėgtą orą modulius; iš suslėgto oro energijos konvertavimo į elektrą modulius, iš jų į šilumos ir energijos perdavimo vartotojams modulius ir galiausiai energija šilumos, suslėgto oro, elektros forma perduodama vartotojams, visus šiuos procesus valdo atskiri ir visumos valdymo moduliai, papildomai energijos proceso metu iš atšaldyto oro vandens surinkimo moduliuose surenkamas kondensuotas vanduo.

[0040] Kinetinė ir papildomo slėgio energija iš vandens gelmių - Giluminis variklis (patentas LT6786).

[0041] Giluminis variklis - tai bendra kelių uždarų kontūrų modulių sistema, apimanti:

[0042] a) apatinę (sukamojo judesio modulio), veikiančią giluminio variklio dalį, kurioje pratekančio vandens energija panaudojama velenui su sparnuotėmis sukti ir orui slėgti;

[0043] b) kūginį vandens iškėlimo vamzdį ir padavimo vamzdžius (kūginio vandens pakėlimo vamzdžio modulis), dalį, kuria teka vanduo, vanduo ir oras, oras;

[0044] c) viršutinę (viršutinis energijos nuėmimo modulis), veikiančią virš vandens paviršiaus daugiapakopę energijos nuėmimo sistemą, sudarytą iš vienodų ar skirtingų ištekančio, krentančio srauto energijos konvertavimo mechanizmų; autonominio kompresoriaus, suslėgto oro talpų, vamzdynų, ežektorių, šiluminių vamzdelių, oro srautų greitintuvų, vožtuvų, valdymo sistemos ir kt., kurių visuma pakartotinai nuima ištekančio vandens energiją ir grąžina suslėgtą orą į sukamojo judesio modulį, tokiu būdu sukurdama uždarus, besikartojančio ciklo vandens, vandens ir oro, oro srautus, pernešančius energiją iš gelmės į paviršių.

[0045] Energija generuojama autonominių variklių pagalba - Kompresorius variklis (patentas LT6660).

[0046] Tai pagrindinis naujos energetikos be kuro bazinis variklis, kuris veikia naudodamas įvairią energiją ir konvertuoja vieną energijos rūšį į kitas.

[0047] Kompresorius variklis: generuoja sukamąjį ir slenkamąjį judesį, slegia orą ar dujas, generuoja elektrą ir šilumą.

[0048] Šiame išradime akcentuojamas tekantis ir stovintis vanduo; šaltas, šiltas, karštas vanduo; slegiamas oras ir dujos; vandens gelmės slėgis; saulės, aplinkos, žemės šiluma ir kt. Siūloma hibridinė elektrinė šias energijas gali išnaudoti tiek atskirai, tiek įvairiuose deriniuose.

[0049] IŠRADIMO ESMĖ

[0050] Hibridinės elektrinės sistema apimanti vandens elektrinės energetinių sistemų modulius papildyta šiais energetiniais moduliais:

[0051] A - vandens sistemų moduliu, kuris apima

[0052] vandens elektrinės modulį su atskirų talpų su giluminiais varikliais moduliu,

[0053] kur giluminis variklis talpose įtvirtintas talpos vienodame lygyje arba skirtingame aukštyje,

[0054] ir (arba) su Giluminio variklio su kūginiu iškėlimo vamzdžiu moduliu,

[0055] ir (arba) Dujinio hidroforo (dujoforo) moduliu;

[0056] B- šiluminių sistemų moduliu, kuris apima

[0057] ir (arba) Šiluminės saulės elektrinės modulį,

[0058] Geoterminės elektrinės modulį;

[0059] C- variklių - keitiklių moduliu, kuris apima kompresoriaus variklio modulį,

[0060] Šiluminių srautų nuėmimo nuo kompresoriaus variklio modulį,

[0061] Absorbcinio variklio modulį,

[0062] Ranka (Vortex) vamzdelių modulį;

[0063] D - talpų sistemų moduliu, apimančiu:

[0064] talpas, sandariai vamzdžiu sujungtas per siurblį ir kompresorių, tuščias, dalinai ar maksimaliai užpildytas vandeniu ar dujomis;

[0065] E - hibridinės elektrinės valdymo moduliu, apimančiu valdymo mechanizmą moduliui ir bendros sistemos valdymo modulius.

[0066] Siūloma elektrinė dar papildyta dujinio hidroforo (dujoforo) moduliu, kur šiluminio vamzdelio parametrai keičiasi dėl keičiamos šilumnešiklio temperatūros ir dėl to, šiluminiu vamzdeliu grąžinamas vanduo iš apatinės vandens talpos į viršutinę talpą, o kelių dujinių hidroforų (dujoforų) sistema dirba nuolatiniu nenutrūkstamu režimu.

[0067] Siūloma elektrinė dar apima geoterminės elektrinės sisteminį modulį, sudarytą iš:

[0068] a) šilumos paėmimo zondo, skirto šilumos paėmimui iš aplinkos,

[0069] b) šiluminės mašinos, kuri atskiria šaltus (T=-10-0 °C), šiltus (T= 30-40 °C) ir karštus (T= 60-70 °C) srautus,

[0070] c) energijos kaupimo talpų, skirtų vandens, šilumos, suslėgto oro kaupimui, kurios sudaro vandens ir šilumos atidavimo vartotojams sistemą.

[0071] Siūloma elektrinė dar apima šiluminės saulės elektrinės sisteminį modulį, apimantį

[0072] šilumos surinkimo, pasvirusias ir vertikalias konstrukcijas su šilumos kaupikliais arba be jų,

[0073] šilumos surinkimo pasyvių ir aktyvių vamzdelių sistemą,

[0074] energijos surinkimo, kaupimo, mainų konvertavimo talpas,

[0075] valdymo modulį,

[0076] energijos perdavimo vartotojams sistemą,

[0077] kondensuoto vandens kondensato surinkimo modulį.

[0078] Siūloma elektrinė dar apima giluminio variklio sisteminį modulį su:

[0079] a) apatine (sukamojo judesio modulio), veikiančia giluminio variklio dalimi, kurioje pratekančio vandens energija panaudojama velenui su sparnuotėmis sukti ir orui slėgti;

[0080] b) kūginiu vandens iškėlimo vamzdžiu, kuriuo prateka vanduo, vanduo ir oras, oras;

[0081] c) viršutine (viršutinis energijos nuėmimo modulis), veikiančia virš vandens paviršiaus daugiapakope energijos nuėmimo sistema, sudaryta iš vienodų ar skirtingų ištekančio, krentančio srauto energijos konvertavimo mechanizmų; autonominio kompresoriaus, suslėgto oro talpų, vamzdynų, ežektorių, šiluminių vamzdelių, oro srautų greitintuvų, vožtuvų, valdymo sistemos, kurių visuma pakartotinai nuima ištekančio vandens energiją ir grąžina suslėgtą orą į sukamojo judesio modulį, tokiu būdu sukurdama uždarus, besikartojančio ciklo vandens, vandens ir oro, oro srautus, pernešančius energiją iš gelmės į paviršių.

[0082] Siūloma elektrinė apima kompresoriaus variklį su ant stūmoklinius cilindrus apjuosiančia šiluminių vamzdelių spirale.

[0083] Elektrinėje srauto pernešimui pritaikomas natūralus aukščio kontrastas ir (arba) proceso metu sukuriamas srauto slėgio, tankio, greičio, temperatūrų skirtumas, kuris bendros sistemos valdymo modulio pagalba nukreipiamas srauto judėjimo impulsui generuoti:

[0084] A - vandens sistemų modulyje panaudotas vandens aukščio skirtumas:

[0085] talpų sistemoje pilnai ar dalinai užpildytoje oru / dujomis palaikomas slėgio skirtumas,

[0086] talpų sistema sumontuota skirtingame aukštyje, pilnai ar dalinai užpildyta vandeniu,

[0087] dujiniuose hidroforuose (dujoforuose) naudojant šiluminius vamzdelius generuojamas padidintas slėgis vandeniui kelti,

[0088] kompresorius variklis sukamąjį judesį paverčia slenkamuoju, o slenkamąjį - sukamuoju;

[0089] giluminis variklis naudojamas vandens ir oro mišiniui kelti į viršų,

[0090] B - šiluminių sistemų modulyje panaudotas temperatūrų skirtumas:

[0091] geoterminės elektrinės ir (arba) šiluminės saulės elektrinės moduliu (-iais) energija surenkama, saugoma ir perduodama į energetines talpas, kuriose palaikoma atitinkama temperatūra, bei slėgis ir konvertuota energija energijos perdavimo sistema (šilumos, suslėgto oro, vandens kondensato, elektros forma) atiduodama vartotojams,

[0092] C- variklių - keitiklių modulis jungtimi sujungtas su D - talpų sistemų moduliu, naudojamas temperatūrinis ir slėgio skirtumas,

[0093] kur talpose, pilnai ar dalinai užpildytose vandeniu ir (ar) dujomis, palaikomas atitinkamas temperatūrinis ir (ar) slėgio skirtumas, ir

[0094] D - talpų sistemų modulyje panaudojama talpų sistema, papildomai energijai generuoti ir kaupti, taikant aukščio, slėgio, temperatūrinį skirtumus;

[0095] ir Ranka (Vortex) vamzdelių modulis naudojamas suslėgto oro srauto paskirstymui į šiltus ir šaltus oro srautus;

[0096] sistemoje:

[0097] skirtingame aukštyje sumontuotose talpose, pilnai ar dalinai užpildytas vandeniu, panaudojant modulius, valdymo būdu, taikant srauto aukščio, temperatūrinį, slėgio skirtumus, palaikomas grįžtamasis srauto ciklas ir konvertuojama energija energijos perdavimo sistema perduodama vartotojams.

[0098] TRUMPAS BRĖŽINIŲ PAVEIKSLŲ APRAŠYMAS

[0099] Pav. 1 Kompresoriaus variklio schema

[0100] a) Kompresorius variklis

[0101] 1. Alkūninis velenas

[0102] 2. Cilindrai su viduje esančiais dvigubo veikimo stūmokliais

[0103] 3. Paduodamas suslėgtas oras ar dujos

[0104] 4. Išleidžiamas oras ar dujos

[0105] b) Šiluma nuimama nuo kompresoriaus variklio stūmoklių

[0106] 5. Įeinantis atšaldytas šilumnešiklis

[0107] 6. Šaldoma talpa - kaupiklis

[0108] 7. Šiluminių vamzdelių spiralė šilumai nuimti

[0109] 8. Karšta talpa-kaupiklis išnešamai šilumai kaupti

[0110] 9. Išeinantis šiltas šilumnešiklio srautas

[0111] c) Absorbcinio variklio fragmentas

[0112] 10. Talpos su padidinto slėgio +Δp dujomis

[0113] 11. Talpos su sumažinto slėgio -Δp dujomis

[0114] 12. Padidinto slėgio dujų talpos +Δp tiesiogiai aptarnaujančios kompresoriaus variklio cilindrus su stūmokliais

[0115] 13. Jungtys sujungiančios į bendrą sistemą visus indus su padidintu dujų slėgiu +Δp

[0116] 14. Jungtys sujungiančios į bendrą sistemą visus indus su sumažintu dujų slėgiu -Δp

[0117] Kompresorius variklis: generuoja sukamąjį ir slenkamąjį judesį, slegia orą ar dujas, generuoja elektrą ir šilumą.

[0118] Pav. 1 b) parodyta, kad ant kompresoriaus variklio stūmoklių uždėjus šiluminių vamzdelių spirales ir jas aušinant (paduodamas šaltas šilumnešiklis 5 patenka į šaldomą talpą 6, iš kurios, pratekėjęs pro šiluminius spirale susuktus vamzdelius 7, perneša šilumą į šiltą talpą 8 ir toliau perduoda šilumą į bendrą sistemą šiltu srautu 9).

[0119] Pav. 1 c) schematiškai pavaizduota variklio konstrukcija: iš tarpusavyje sujungtų (per jungtis 13) suslėgtų dujų talpų 10, suslėgtos dujos patenka į suslėgtų dujų talpas 12, iš kurių vamzdžiais paduodamos į kompresoriaus variklio stūmoklius. Mažesnio slėgio išeinančios dujos surenkamos mažesnio slėgio talpose 11, kurios sujungtos į bendrą sistemą per jungtis 14.

[0120] Pav. 2 Suspausto oro pagalba veikiantis pneumo variklis ir elektros generatorius, schema

[0121] 15. Kompresorius variklis

[0122] 16. Vamzdynai suslėgtam orui tiekti

[0123] 17. Suslėgto oro talpos +Δ p

[0124] 18. Suslėgtą orą tiekiantys vamzdžiai

[0125] 19. Pneumo variklis

[0126] 20. Sukimosi momentą elektros generatoriui perduodanti jungtis

[0127] 21. Elektros generatorius

[0128] 22. Tiekiam elektra laidais

[0129] 23. Vartotojai

[0130] Kompresorius variklis 15 vamzdžiais l6 perduoda suslėgtą orą slėgimo talpoms 17, iš kurių vamzdžiais 18 suslėgtas oras paduodamas į pneumo variklį 19, per sukimosi momentą perduodančią jungtį 20 sukamas elektros generatorius 21, iš kurio laidais 22 tiekiama elektra vartotojams 23.

[0131] Pav. 3 Suslėgto oro panaudojimas ir jo grąžinimas į uždarą besikartojantį ciklą

[0132] 24. Pirmas kompresorius variklis KV1

[0133] 25. Oro srauto ežektorius

[0134] 26. Suslėgto oro talpa su slėgiu p1

[0135] 27. Suslėgto oro vamzdynai

[0136] 28. Kompresorius variklis KV2

[0137] 29. Suslėgto oro vamzdynai

[0138] 30. Maksimaliai suslėgto oro talpos pm

[0139] 31. Suslėgto oro vamzdynai

[0140] 32. Silpnai suslėgto oro talpa p2/2

[0141] 33. Suslėgto oro vamzdynai, kuriais nuolat papildoma talpa p2/2

[0142] 34. Suslėgto oro srautas ežektoriaus link

[0143] 35. Sukimosi momentą perduodanti jungtis

[0144] 36. Elektros generatorius

[0145] 37. Suslėgto oro vamzdynai pneumo varikliui

[0146] 38. Suslėgto oro talpa p1

[0147] 39. Pneumo variklis

[0148] 40. Elektros generatorius

[0149] Pirmas kompresorius variklis KV1 24 per sukimosi momentą perduodančią jungtį 35 suka elektros generatorių 36, o per suslėgto oro vamzdynus 37 perduoda suslėgtą orą slėgio talpai p1 38 bei pneumo varikliui 39, pastarasis per sukimąsi perduodančią jungtį suka elektros generatorių 40. Iš kompresoriaus variklio 24 per oro srauto ežektorių 25 ir srauto 34, kuris paduodamas iš slėgio talpos p2/2 (sumažintas slėgis) 32, patenka į slėgio talpą p1 26, iš jos suslėgto oro vamzdynais 27 paduodamas į kompresorių variklį KV2 28, pastarasis slegia orą iki maksimumo ir vamzdynais 29 perduoda maksimalaus slėgio talpoms pm 30, iš kurių vamzdynais suslėgtas oras paduodamas į kompresorių variklį KV1 24. Iš kompresoriaus variklio KV2 28 vamzdynais 33 į slėgio talpą p1/2 32 paduodamas sumažinto slėgio oro srautas p2/2, jo paskirtis ištraukti silpną oro srautą iš kompresoriaus variklio KV1, t. y. grąžinti į sistemą susilpnėjusio slėgio oro srautą.

[0150] Pav. 4 Geoterminė elektrinė, schema

[0151] 41. Geoterminės elektrinės modulis

[0152] 42. Šiluminė mašina

[0153] 43. Geoterminės elektrinės valdymo modulis

[0154] 44. Į geoterminį gręžinį nuleistas šilumos paėmimo zondas

[0155] 45. Šiltas druskingas vandens klodas T 38–40 °C

[0156] Pav. 5 Šiluminė saulės elektrinė, schema

[0157] a) 46. Parabolės formos saulės spindulius atspindintis modulis

[0158] 47. Tūrinis karštas šiluminis vamzdelis

[0159] 48.Tūrinis šaltas šiluminis vamzdelis

[0160] 49. Įeinantis šaltas šilumnešiklio srautas

[0161] 50. Išeinantis karštas šilumnešiklio srautas

[0162] b) 51. Šiluminės saulės elektrinės modulis horizontalioje plokštumoje,

[0163] 52. Parabolės formos atspindintys moduliai

[0164] 53. Šiluminės talpos

[0165] c) 54. Keli saulės šiluminiai moduliai plokštumoje,

[0166] Pav. 6 Vandens elektrinė, schema

[0167] a) 55. Vandens elektrinė su aukštutiniu vandens telkiniu

[0168] 56. Apatinis vandens telkinys

[0169] 57. Hidrosmūgio suslėgto oro talpos

[0170] 58. Nuo pratekančių srautų įvairiai generuoto suslėgto oro talpos

[0171] b) 57. Hidrosmūgio suslėgto oro talpos

[0172] 58. Nuo pratekančių srautų įvairiai generuoto suslėgto oro talpos

[0173] 59. Suslėgto oro talpos skirtos siurbliams sukti ir vandenį į viršų kelti

[0174] 60. Vandens siurbliai

[0175] 61. Į viršų kylantis vandens srautas

[0176] 62. Iš viršaus tekantis vandens srautas

[0177] 63. Elektros generatorius

[0178] 64. Giluminis variklis ar kiti varikliai, kurie perduoda sukimosi momentą elektros generatoriui

[0179] 65. Giluminis variklis

[0180] 66. Sukimosi momentą perduodantis variklis

[0181] 67. Ištekantis vandens srautas

[0182] Vertikaliomis rodyklėmis tarp talpų ir horizontaliomis tarp talpų ir variklių pažymėti suslėgto oro vamzdynai

[0183] Pav. 7 Panardinto giluminio variklio su vandens - oro mišiniu iškėlimo vamzdžiu, schema

[0184] 68. Giluminis variklis

[0185] 69. Vandens ir oro mišinio iškėlimo vamzdys

[0186] 70. Vandens telkinys

[0187] 71. Pakopomis išdėstyti giluminiai varikliai pakartotinai nuimantys pratekančio vandens energiją.

[0188] Pav. 8 Atskirų vandens talpų su giluminiais varikliais kompozicijos, schema

[0189] a) Dvi talpos su priešpriešiniais vandens srautais

[0190] b) Keturios talpos su priešpriešiniais vandens srautais ir bendru suspausto oro resiveriu

[0191] c) Trys vandens talpos sujungtos ratu tekančiais srautais

[0192] 72. Vandens talpos su panardintais giluminiais varikliais

[0193] 73. Giluminis variklis

[0194] 74. Tekančio vandens vamzdynai, sujungiantys gretimas vandens talpas

[0195] 75. Suspausto oro talpos resiveriai

[0196] 76. Kompresoriai varikliai suslėgtam orui generuoti

[0197] 77. Suslėgto oro vamzdynai

[0198] 78. Keturios vandens talpos ratu sujungtos vandens vamzdynais tarpusavyje

[0199] Pav. 9 Modulinis šiluminis kaupiklis-valdiklis, schema

[0200] a) Vienas modulinis šiluminis kaupiklis - valdiklis 79

[0201] b) Keturių erdvėje modulinių šiluminių kaupiklių - valdiklių kompozicija 80

[0202] Pav. 10 Šiluminė mašina, schema

[0203] a) Šiluminės mašinos konstrukcija, schema

[0204] b) Schematiškas šiluminės mašinos žymėjimas

[0205] 81. Šiluminė mašina

[0206] 82. Šaldomas modulinis šilumos kaupiklis-valdiklis

[0207] 83. Šiltas modulinis šilumos kaupiklis-valdiklis

[0208] 84. Karštas modulinis šilumos kaupiklis -valdiklis

[0209] 85, 86 Kompresoriai varikliai

[0210] 87. Vandens siurbliai

[0211] 88. Šaldoma talpa

[0212] 89. Šaltas srautas

[0213] 90. Vartotojai

[0214] 91. Vamzdynai, jungiantys šaldomą talpą su šaldomu moduliniu kaupikliu - valdikliu

[0215] 92. Vamzdynai, jungiantys karštą modulinį kaupiklį-valdiklį su karšta talpa

[0216] 93. karšto vandens talpa

[0217] 94. Iš išorės ateinantis šaltas vandens srautas

[0218] 95. Vartotojai, gaunantys karštą vandens srautą

[0219] Pav. 11 Trijų talpų su vandeniu ir suslėgtu oru ar dujomis kompozicijos, schema

[0220] a) Talpų išdėstymas vertikaliai

[0221] b) Talpų išdėstymas horizontaliai

[0222] a) vandens talpos b) šiluminės talpos, dar gali būti įvairaus slėgio talpos, kurios brėžiniuose neparodytos.

[0223] 96. Viršutinė vandens talpa su maksimaliu užpildymu T max

[0224] 97. Vidurinė vandens talpa su daliniu užpildymu T min

[0225] 98. Apatinė tuščia vandens talpa To

[0226] 99. Vanduo savaiminiu būdu teka iš viršaus žemyn: talpos Tmax - Tmin – To

[0227] 100. Priverstinė vandens tekėjimo kryptis: To - .Tmin - Tmax

[0228] b) Oro ar suslėgtų dujų talpos

[0229] 101. Talpa su maksimaliu slėgiu Tmax

[0230] 102. Talpa su daliniu ar minimaliu slėgiu Tmin

[0231] 103. Tuščia talpa To

[0232] 104. Savaiminis oro ar dujų srautų tekėjimas iš didesnio slėgio talpų į mažesnio slėgio: Tmax -Tmin - To

[0233] 105. Priverstinis oro ar dujų srautų tekėjimas prieš slėgio gradientą: To - Tmin - Tmax

[0234] Pav. 12 Pakopinis šilumos mainų keitiklis - valdiklis

[0235] 106. Išorinis šiluminis vamzdelis

[0236] 107. Vidinis šiluminis vamzdelis

[0237] 108. Priešpriešiniai skirtingų temperatūrų srautai - šaltas

[0238] 109. Priešpriešiniai skirtingų temperatūrų srautai - šiltas

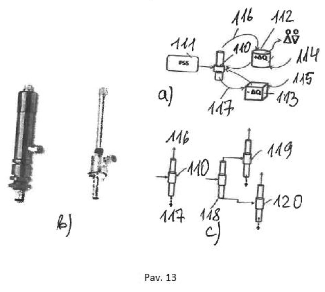
[0239] Pav. 13 Ranka (Vortex) vamzdeliai, kurie paduodamą suslėgtą orą išskaido erdvėje į šiltus ir šaltus srautus. Tai suslėgto oro ar dujų srauto keitiklis- valdiklis.

[0240] a) 110. Ranka vamzdelis

[0241] 111. Paduodamas padidinto slėgio oro srautas

[0242] 112. Karštoji talpa kaupiklis +ΔQ

[0243] 113. Šaltoji talpa kaupiklis -ΔQ

[0244] 114. Paduodamas šaltas šilumnešiklio srautas

[0245] 115. Paduodamas atšaldytas šilumnešiklio srautas

[0246] 116. Išeinantis šiltas oro srautas

[0247] 117. Išeinantis šaltas oro srautas

[0248] b) Ranka (Vortex) vamzdeliai

[0249] c) Parodytas Ranka (Vortex) vamzdelis 110, su išskaidytais oro srautais 116 - šiltu ir 117 - šaltu. Šalia parodytas vienas iš galimų kelių Ranka (Vortex) vamzdelių tarpusavyje jungimo būdas: tarpusavyje sujungti vamzdeliai 118, 119, 120: šiltas srautas iš vieno vamzdelio 118 paduodamas į kitą Ranką (Vortex) vamzdelį 119, iš jo į viršų išeina dar šiltesnis oro ar dujų srautas nei buvo paduodamas į 119 Ranką (Vortex) vamzdelį. Ir priešingai - paduodamas iš 118 vamzdelio išėjęs šaltas srautas praėjęs pro kitą Ranką (Vortex) vamzdelį 120 išeina dar labiau atšalusiu srautu žemyn.

[0250] Pav. 14 Dujinio hidroforo (dujoforo) veikimo principas, schema

[0251] a, b) pripildytame oro ar azoto dujomis inde 121 yra elastinga pūslė, kuri susitraukia vandeniui ištekėjus ir išsiplečia 122, kai į jį pumpuojamas vanduo. Pritekant vandeniui, esantis inde oras ar azoto dujos spaudžiamos, įgyja slėgį, kuris vėliau leidžia išstumti vandenį į viršų.

[0252] c) Dujiniame hidrofore (dujofore) 123 išsiplėtus šildomam šiluminiam vamzdeliui, slegiamas oras ar azoto dujos išstums vandenį į viršų, šaldant šiluminius vamzdelius dujos susitraukia, jų slėgis inde 124 krenta ir į atsilaisvinusią talpos dalį papildomai gali įtekėti vanduo.

[0253] Pav. 15 Vanduo grąžinamas iš apatinės talpos į viršutinę dujinio hidroforo (dujoforo) pagalba, schema

[0254] Vanduo iš viršutinės vandens talpos 125 tekėdamas žemyn ir sukdamas giluminius variklius 127 patenka į apatinę vandens talpą 126. Vandens srautas iš apatinės vandens talpos 126 vamzdžiais 129 paduodamas į dujinį hidroforą (dujoforą) 128, iš kurio vamzdžiais 130 pumpuojamas į viršutinę vandens talpą 125.

[0255] Aštuonių dujinių hidroforų (dujoforų) modulis 128, užtikrina nuolatinį vandens pakėlimo iš apatinės į viršutinę vandens talpą ciklą. Šiluma ir/ar šaltis pakaitomis iš šiluminės mašinos 81, ar atitinkamų šaltų 88 ir 93 karštų talpų vamzdžiais 131 paduodami į dujinį hidroforą (dujoforą) 128.

[0256] Pav. 16 Bendra hibridinė elektrinės schema su skirtingų sistemų moduliais

[0257] Hibridinės elektrinė sudėtis iš šių modulių:

[0258] A - vandens sistemų modulio, B - šiluminių sistemų modulio, C- atskirų variklių - keitiklių modulio, D- įvairių talpų sistemų modulių, E - Hibridinės elektrinės sisteminio visumos valdymo modulio.

[0259] A - vandens sistemų modulis, sudarytas iš

[0260] a) Vandens elektrinės modulio

[0261] b) Atskirų talpų su giluminiais varikliai modulio

[0262] c) Giluminio variklio su kūginiu iškėlimo vamzdžiu moduliu

[0263] d) Dujinio hidroforo (dujoforo) modulio

[0264] B - šiluminių sistemų modulio

[0265] a) Šiluminės saulės elektrinės modulio

[0266] b) Geoterminės elektrinės modulio

[0267] C- atskirų variklių - keitiklių sistemų modulio

[0268] a) Kompresoriaus variklio modulio

[0269] b) Šiluminių srautų nuėmimo nuo kompresoriaus variklio modulio

[0270] c) Absorbcinio variklio modulio

[0271] d) Ranka (Vortex) vamzdelių modulio

[0272] D- įvairių talpų sistemų modulių: maksimaliai užpildytų; dalinai užpildytų; tuščių

[0273] a) Vandens talpų

[0274] b) Šaltų, šiltų, karštų talpų

[0275] c) Oro ar dujų talpų

[0276] d) Gali būti ar vyrauti vienas ar kitas talpų modulis

[0277] e) Gali būti įvairių talpų ir jų tarpusavio derinių modulių

[0278] E - Hibridinės elektrinės sisteminis visumos valdymo modulis

[0279] Atskirų sistemų A,B,C,D valdymo moduliai priklauso hibridinės elektrinės posistemėms.

[0280] Šiame išradime akcentuojamas tekantis ir stovintis vanduo; šaltas, šiltas, karštas vanduo; slegiamas oras ir dujos; vandens gelmės slėgis; saulės, aplinkos, žemės šiluma ir kt. Siūloma hibridinė elektrinė šias energijas gali naudoti tiek atskirai, tiek deriniuose.

[0281] Hibridinė elektrinė – sudaryta iš sisteminių modulių:

[0282] A - vandens sistemų modulis,

[0283] B - šiluminių sistemų modulis,

[0284] C- atskirų variklių - keitiklių sistemų modulis,

[0285] D- įvairių talpų sistemų modulis,

[0286] E - Hibridinės elektrinės sisteminis visumos valdymo modulis

[0287] Atskirų sistemų A,B,C,D valdymo moduliai priklauso hibridinės elektrinės posistemėms. Tarpusavyje hibridinės elektrinės moduliai apjungti energiją perduodančiais vamzdynais, šalto, šilto, karšto vandens talpomis, suslėgto oro ar dujų talpomis, valdymo signalus perduodančiais ryšiais. Galimos įvairios sisteminių modulių tarpusavio kombinacijos ir deriniai: su viena ar keliomis dominuojančiomis struktūromis, su vienodos galios ar galimybėmis struktūromis. Galima atjungi norimus sisteminius modulius pagal poreikius ar pagal optimalias energijos gavimo galimybes. Bendras hibridinės elektrinės kompleksas gali būti prijungtas prie bendro šalies tinklo, o gali būti autonominis, lokaliai aptarnauti vietinius vartotojų poreikius. Atskiri hibridinės elektrinės sisteminiai moduliai gali būti įrengti laivuose, baržose, traukiniuose, mašinose.

[0288] Keletas hibridinės elektrinės privalumų:

[0289] a) technologinio proceso metu gauta energija papildomai panaudojama proceso grįžtamam ciklui palaikyti;

[0290] b) hibridinėje elektrinėje yra papildomas būdas gauti energiją suslėgto oro pavidalu ir ją perduoti ir saugoti suslėgto oro talpose, ir/arba panaudoti kitoje vietoje įrenginiams elektrai generuoti,

[0291] Kaip veikla hibridinės elektrinės atskiros posistemės ir bendra sistema kaip visuma parodyta 16 paveikslėlyje:

[0292] A - vandens sistemų modulis jungtimi (pažymėta rodykle) sujungtas su D - įvairių talpų sistemų moduliu (vandens talpomis - pilnomis viršuje-tuščiomis apačioje; vamzdynais);

[0293] B - šiluminių sistemų modulis jungtimi (pažymėta rodykle) sujungtas su D - įvairių talpų sistemų moduliu (šilumą kaupiančiomis talpomis: šaltos, šiltos, karštos talpos; vamzdynais);

[0294] C- atskirų variklių - keitiklių sistemų modulis jungtimi (pažymėta rodykle) sujungtas su D - įvairių talpų sistemų moduliu;

[0295] D - įvairių talpų sistemų modulis jungtimi (pažymėta rodykle) sujungtas su E - Hibridinės elektrinės sisteminis visumos valdymo modulis (sujungti valdymo ryšiais, atskirų posistemių valdymas yra autonominis).

[0296] Vandens sistemų modulyje A:

[0297] • Vanduo iš aukštesnės vietos (pvz. užtvankos) teka žemyn sukdamas variklius ir generuodamas energiją;

[0298] • Vanduo iš vienos talpos į kita grąžinamas kompresorių variklių pagalba;

[0299] • Vanduo iš gilumos pakeliamas giluminio variklio iškėlimo kūginiu vamzdžiu, tekėdamas žemyn suka vandens variklius ir generuoja energiją;

[0300] • Iš viršutinės talpos ištekėjęs į žemutinę talpą vanduo grąžinamas dujinio hidroforo (dujoforo) pagalba, o pats dujoforas dirba nuo šiluminių talpų, kurios sujungtos su šilumine mašina.

[0301] B - šiluminių sistemų modulis, kaupia šilumą iš aplinkos (šiluminė saulės elektrinė) - parodytas fragmentas- parabolės šilumos surinkimo modulis ir iš gelmių (geoterminė elektrinė), šiluma ir šaltis kaupiami šiluminėse talpose.

[0302] C- atskirų variklių - keitiklių sistemų modulis jungtimi sujungtas su D - įvairių talpų sistemų moduliu įvairiuose talpose kaupia šiltą ir šaltą vandenį, didesnio slėgio oro ar dujų talpas. Šiame modulyje kaupiama energija, kuri generuojama hibridinės elektrinės technologiniame veiklos cikluose. Bendroje visumoje mes turime:

[0303] aukštai pakeltas talpas su vandeniu ir žemai tuščias talpas, iš kurių nuolat grąžinamas ištekėjęs vanduo - jis nuolat keliamas (grąžinamas) į aukštai iškeltas talpas;

[0304] karštas, šiltas ir šaltas talpas (į jas nuolat atnešamas šiltas vanduo ir išnešamas karštas vanduo, tiekiams šaltas vanduo);

[0305] didesnio ir mažesnio slėgio talpas (kompresoriai varikliai nuolat užpildo talpas su mažesniu slėgiu didesnio slėgio dujų ar oro srautais);

[0306] generuotos elektros perdavimo linijas.

[0307] Visos šios energijos cirkuliuoja hibridinės elektrinės sistemoje.

[0308] Bendroje visumoje hibridinėje elektrinėje nuolat vyksta įvairūs uždaro ciklo besisukantys vandens, oro, dujų, šilumos mainų, elektros srautai. Nuosekliai dalis cirkuliuojančios perteklinės vidinės energijos išnešama į išorinį tinklą vartotojų reikmėms.

Apibrėžtis

1. Hibridinė elektrinė, apimanti vandens elektrinės energetinių sistemų modulius, kurie tarpusavyje erdvėje sudaro lygiagrečias linijines kompozicijas: liniją su oro slėgimo talpomis, kuriose kaupiamas iš kitų linijų generuotas suslėgtas oras; liniją su hidrosmūgio ir giluminių variklių modulių deriniais, naudojančius pratekančius vandens srautus, slegiančiais orą ir generuojančiais sukamąjį judesį; liniją su variklių kompresorių rinkiniu, spaudžiančiu orą ir giluminiais varikliais, kurie per jungtis pratekančio vandens srauto energiją konvertuoja į sukamąjį judesį; liniją su oro slėgimo talpomis, kurios suspaustą orą gauna iš kompresorių variklių ir perduoda jį vandens siurbliams; liniją su siurbliais ir vandens talpomis, kuri vamzdžiais grąžina ištekėjusį vandenį atgal pakelti į viršų p a s i ž y m i n t i tuo, kad hibridinės elektrinės sistema papildyta šiais energetiniais moduliais:

A - vandens sistemų moduliu, kuris apima

vandens elektrinės modulį su

atskirų talpų su giluminiais varikliais moduliu,

kur giluminis variklis talpose įtvirtintas talpos vienodame lygyje arba skirtingame aukštyje,

ir (arba) su Giluminio variklio su kūginiu iškėlimo vamzdžiu moduliu,

ir (arba) Dujinio hidroforo (dujoforo) moduliu;

B- šiluminių sistemų moduliu, kuris apima

ir (arba) Šiluminės saulės elektrinės modulį,

Geoterminės elektrinės modulį;

C- variklių - keitiklių moduliu, kuris apima

Kompresoriaus variklio modulį,

Šiluminių srautų nuėmimo nuo kompresoriaus variklio modulį,

Absorbcinio variklio modulį,

Ranka (Vortex) vamzdelių modulį;

D - talpų sistemų moduliu, apimančiu:

talpas, sandariai vamzdžiu sujungtas per siurblį ir kompresorių, tuščias, dalinai ar maksimaliai užpildytas vandeniu ar dujomis;

E - hibridinės elektrinės valdymo moduliu, apimančiu valdymo mechanizmą moduliui ir bendros sistemos valdymo modulius.

2. Hibridinė elektrinė pagal 1 punktą p a s i ž y m i n t i tuo, kad papildyta dujinio hidroforo (dujoforo) moduliu, kur šiluminio vamzdelio parametrai keičiasi dėl keičiamos šilumnešiklio temperatūros ir dėl to, šiluminiu vamzdeliu grąžinamas vanduo iš apatinės vandens talpos į viršutinę talpą, o kelių dujinių hidroforų (dujoforų) sistema dirba nuolatiniu nenutrūkstamu režimu.

3. Hibridinė elektrinė pagal 1–2 punktus p a s i ž y m i n t i tuo, kad apima geoterminės elektrinės sisteminį modulį, sudarytą iš:

a) šilumos paėmimo zondo, skirto šilumos paėmimui iš aplinkos,

b) šiluminės mašinos, kuri atskiria šaltus (T=-10-0 °C), šiltus (T= 30-40 °C) ir karštus (T= 60-70 °C) srautus,

c) energijos kaupimo talpų, skirtų vandens, šilumos, suslėgto oro kaupimui, kurios sudaro vandens ir šilumos atidavimo vartotojams sistemą.

4. Hibridinė elektrinė pagal 1–3 punktą, p a s i ž y m i n t i tuo, kad dar apima šiluminės saulės elektrinės sisteminį modulį, apimantį

šilumos surinkimo, pasvirusias ir vertikalias konstrukcijas su šilumos kaupikliais arba be jų,

šilumos surinkimo pasyvių ir aktyvių vamzdelių sistemą,

energijos surinkimo, kaupimo, mainų konvertavimo talpas,

valdymo modulį,

energijos perdavimo vartotojams sistemą,

kondensuoto vandens kondensato surinkimo modulį.

5. Hibridinė elektrinė pagal 1–4 punktus, p a s i ž y m i n t i tuo, kad apima giluminio variklio sisteminį modulį su:

a) apatine (sukamojo judesio modulio), veikiančia giluminio variklio dalimi, kurioje pratekančio vandens energija panaudojama velenui su sparnuotėmis sukti ir orui slėgti;

b) kūginiu vandens iškėlimo vamzdžiu, kuriuo prateka vanduo, vanduo ir oras, oras;

c) viršutine (viršutinis energijos nuėmimo modulis), veikiančia virš vandens paviršiaus daugiapakope energijos nuėmimo sistema, sudarytą iš vienodų ar skirtingų ištekančio, krentančio srauto energijos konvertavimo mechanizmų; autonominio kompresoriaus, suslėgto oro talpų, vamzdynų, ežektorių, šiluminių vamzdelių, oro srautų greitintuvų, vožtuvų, valdymo sistemos, kurių visuma pakartotinai nuima ištekančio vandens energiją ir grąžina suslėgtą orą į sukamojo judesio modulį, tokiu būdu sukurdama uždarus, besikartojančio ciklo vandens, vandens ir oro, oro srautus, pernešančius energiją iš gelmės į paviršių.

6. Hibridinė elektrinė pagal 1–5 punktus, p a s i ž y m i n t i tuo, kad apima kompresoriaus variklį su ant stūmoklinius cilindrus apjuosiančia šiluminių vamzdelių spirale.

7. Hibridinės elektrinės panaudojimas, pagal 1–5 punktus p a s i ž y m i tuo, kad srauto pernešimui pritaikomas natūralus aukščio kontrastas ir (arba) proceso metu modulių pagal 1–5 punktus naudojimą sukuriamas srauto slėgio, tankio, greičio, temperatūrų skirtumas, kuris bendros sistemos valdymo modulio pagalba nukreipiamas srauto judėjimo impulsui generuoti:

A - vandens sistemų modulyje panaudotas vandens aukščio skirtumas:

talpų sistemoje pilnai ar dalinai užpildytoje oru / dujomis palaikomas slėgio skirtumas,

talpų sistema sumontuota skirtingame aukštyje, pilnai ar dalinai užpildyta vandeniu,

dujiniuose hidroforuose (dujoforuose) naudojant šiluminius vamzdelius generuojamas padidintas slėgis vandeniui kelti,

kompresorius variklis sukamąjį judesį paverčia slenkamuoju, o slenkamąjį - sukamuoju;

giluminis variklis naudojamas vandens ir oro mišiniui kelti į viršų,

B - šiluminių sistemų modulyje panaudotas temperatūrų skirtumas:

geoterminės elektrinės ir (arba) šiluminės saulės elektrinės moduliu (-iais) energija surenkama, saugoma ir perduodama į energetines talpas, kuriose palaikoma atitinkama temperatūra, bei slėgis ir konvertuota energija energijos perdavimo sistema (šilumos, suslėgto oro, vandens kondensato, elektros forma) atiduodama vartotojams,

C- variklių - keitiklių modulis jungtimi sujungtas su D - talpų sistemų moduliu, naudojamas temperatūrinis ir slėgio skirtumas,

kur talpose, pilnai ar dalinai užpildytose vandeniu ir (ar) dujomis, palaikomas atitinkamas temperatūrinis ir (ar) slėgio skirtumas, ir

D - talpų sistemų modulyje panaudojama talpų sistema, papildomai energijai generuoti ir kaupti, taikant aukščio, slėgio, temperatūrinį skirtumus;

ir Ranka (Vortex) vamzdelių modulis naudojamas suslėgto oro srauto paskirstymui į šiltus ir šaltus oro srautus;

sistemoje:

•skirtingame aukštyje sumontuotose talpose, pilnai ar dalinai užpildytas vandeniu, panaudojant modulius, pagal 1–5 punktus ir valdymo būdu taikant srauto aukščio, temperatūrinį, slėgio skirtumus, palaikomas grįžtamasis srauto ciklas ir konvertuojama energija energijos perdavimo sistema perduodama vartotojams.

Brėžiniai