LT7038B

SKUBIOS PAGALBOS TURNIKETAS

EMERGENCY TOURNIQUET

Referatas

[LT] Šis išradimas priklauso turniketų sričiai. Dabartiniai turniketai naudoja ploną veržiamąją juostelę ir todėl galūnės veržimas yra skausmingas, prasčiau stabdo kraujavimą bei gali pažeisti minkštuosius audinius. Šiame dokumente aprašomas skubios pagalbos turniketas naudoja patobulintą turniketo diržo veržimo mechanizmą. Šio turniketo vidinė-sukamoji tekstilinė juosta (4) tęsiasi per platformos ilgį (5, 6, 13), o ne per visą pagrindinio turniketo diržo (11) ilgį palikdama pakankamą kiekį vidinės-sukamosios tekstilinės juostos (4) galutiniam užveržimui. Platformos krašte esantis vidinės-sukamosios tekstilinės juostos (4) galas yra sujungtas su pagrindiniu turniketo diržu (11) ties platformos pabaiga taip, kad leistų turniketu apjuosti pažeistą galūnę ir suveržti ją naudojant didesnį paviršiaus plotą turinčiu pagrindiniu turniketo diržu (11). Naudojant šį veržimo mechanizmą kraujavimas yra stabdomas efektyviau ir yra sumažinama žala minkštiesiems audiniams bei procesas tampa mažiau skausmingas. Be to, šiame dokumente aprašomas tvirtinamasis trikampis (3) yra pagamintas su rageliais iš abiejų tvirtinamojo trikampio pusių, kas leidžia greitai ir efektyviai kontroliuoti turniketo pagrindinio diržo (11) perteklių po turniketo aplikavimo.

[EN] This invention belongs to the field of turnstiles. Current tourniquets use a thin tourniquet, and as a result, tightening the limb is painful, stops bleeding less well, and can damage soft tissues. The emergency tourniquet described in this document uses an improved tourniquet belt tightening mechanism. The inner-rotary textile band (4) of this tourniquet extends the length of the platform (5, 6, 13) instead of the full length of the main tourniquet strap (11) leaving sufficient amount of the inner-rotary textile band (4) for final tightening. The end of the inner-rotating textile band (4) at the edge of the platform is connected to the main tourniquet strap (11) at the end of the platform in such a way as to allow the tourniquet to wrap around the affected limb and tighten it using the main tourniquet strap (11) with a larger surface area. Using this tightening mechanism, bleeding is stopped more effectively and damage to soft tissue is minimized and the process is less painful. In addition, the anchoring triangle (3) described in this document is manufactured with bells on both sides of the anchoring triangle, which allows for quick and efficient control of excess tourniquet main strap (11) after tourniquet application.

Aprašymas

[0001] TECHNIKOS SRITIS

[0002] Šis išradimas priklauso kraujo tekėjimą stabdančių įrenginių sričiai, tiksliau – turniketams (IPC– A61B17/132).

[0003] TECHNIKOS LYGIS

[0004] Pakankamas suveržimas dabartinių skubios pagalbos turniketų yra labai skausmingas ir dažnai kūno minkštuosius audinius pažeidžiantis procesas. Viena iš pagrindinių to priežasčių yra ta, kad turniketuose naudojama siaura veržiamoji juosta arba, jei naudojama plati veržiamoji juosta, ji yra tiesiogiai sujungta su užveržimo strypu, kurį sukant veržiamoji juosta susigarankščiuoja ir to pasekoje sumažėja veržiamosios juostos plotas ir žmogaus galūnė yra vis tiek veržiama mažo paviršiaus ploto juostele.

[0005] Combat Medical sukurtas turniketas (https://combatmedical.com/product/tmt-tourniquet/) naudoja viso diržo plotą užveržti galūnes ir stabdyti kraujavimą. Tačiau sukant šio turniketo užveržimo strypą, plati veržiamoji juosta susigarankščiuoja ir to pasekoje sumažėja veržiamosios juostos plotas ir žmogaus galūnė yra vis tiek veržiama mažo paviršiaus ploto juostele. Dėl to, turniketo užveržimas tampa labai skausmingas bei kelia didelę riziką pažeisti kūno minkštuosius audinius. Be to, plati veržiamoji juosta yra tiesiogiai veržiama naudojant turniketo užveržimo strypą ir todėl susidaro didelis mazgas, dėl kurio užveržimas tampa sunkesnis bei mažiau tikslus. Taip pat, Combat Medical turniketo užveržimo strypas yra tvirtinamas naudojant tarpusavyje sulimpančią juostą, kas nereikalingai užima daugiau kritiškai svarbaus laiko negu reikėtų.

[0006] Artimiausias šioje patento paraiškoje aprašomo išradimo analogas yra įmonės SICH sukurtas turniketas (https://sicheurope.com/turniket/). Šis turniketas galūnę užveržia naudodamas siaurą ir per visą pagrindinės tekstilinės juostos ilgį einančią vidinę sukamąją tekstilinę juostą. Dėl to žmogaus galūnė yra veržiama mažo paviršiaus ploto juostele, kas yra labai skausmingas ir dažnai kūno minkštuosius audinius pažeidžiantis procesas.

[0007] IŠRADIMO ESMĖ

[0008] Šiame dokumente aprašomas turniketas kaip ir artimiausias analogas SICH įmonės turniketas turi pagrindinį turniketo diržą (11), skirtą apjuosti sužeistą galūnę, vidinę-sukamąją tekstilinę juostą (4), esančią pagrindinio turniketo diržo (11) bei platformos, sudarytos iš platformos tekstilinės juostos (5, 6), platformos tvirtinamojo plastiko (13), viduje, kurią užveržiant, turniketo aplikavimo proceso pabaigoje pasiekiamas pakankamai stiprus galūnės suspaudimas kraujavimui sustabdyti. Prie artimiausio analogo platformos, sudarytos iš platformos tekstilinės juostos (5, 6) ir platformos tvirtinamojo plastiko (13), taip pat yra pritvirtintas tvirtinamasis trikampis. Tačiau šiame dokumente aprašomas turniketas turi patobulintą turniketo diržo veržimo mechanizmą. Šio turniketo vidinė-sukamoji tekstilinė juosta (4) tęsiasi per platformos ilgį (5, 6, 13), o ne per visą pagrindinio turniketo diržo (11) ilgį, palikdama pakankamą kiekį vidinės-sukamosios tekstilinės juostos (4) galutiniam užveržimui. Platformos krašte esantis vidinės-sukamosios tekstilinės juostos (4) galas yra sujungtas su pagrindiniu turniketo diržu (11) ties platformos pabaiga taip, kad leistų turniketu apjuosti pažeistą galūnę ir suveržti ją naudojant didesnį paviršiaus plotą turinčiu pagrindiniu turniketo diržu (11). Naudojant šį veržimo mechanizmą kraujavimas yra stabdomas efektyviau ir yra sumažinama žala minkštiesiems audiniams bei procesas tampa mažiau skausmingas. Taip pat, šiame išradime, priešingai nei Combat Medical, kurių turniketas užveržimo strypą (2) tvirtina naudodami tarpusavyje sukimbančią tekstilinę juostą bei artimiausias šiame dokumente aprašomo išradimo analogas SICH turniketas, yra naudojamas unikalus tvirtinamasis trikampis (3), skirtas įtvirtinti turniketo užveržimo strypą (2). Tvirtinamasis trikampis (3) yra pagamintas su rageliais iš abiejų tvirtinamojo trikampio pusių, kas leidžia greitai ir efektyviai kontroliuoti turniketo pagrindinio diržo (11) perteklių po turniketo aplikavimo.

[0009] TRUMPAS BRĖŽINIŲ APRAŠYMAS

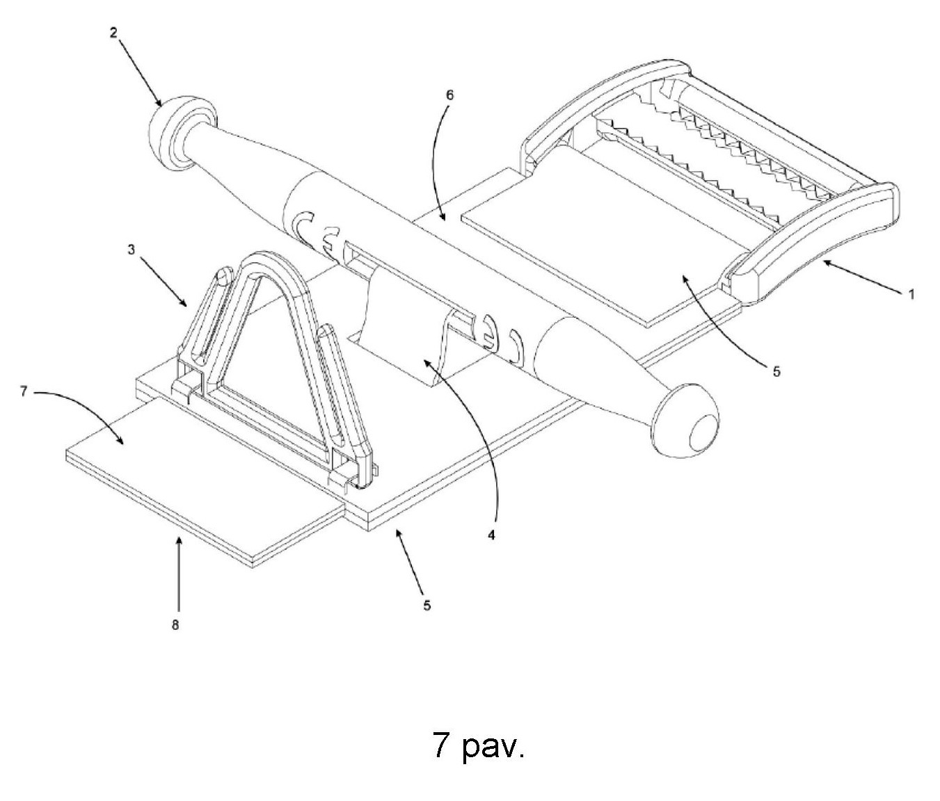
[0010] 1 pav. izometrinis išskleisto turniketo išorinis vaizdas;

[0011] 2 pav. vaizduoja turniketo išorinį vaizdą iš viršaus (a), šono (b) bei vidinės (c) pusės;

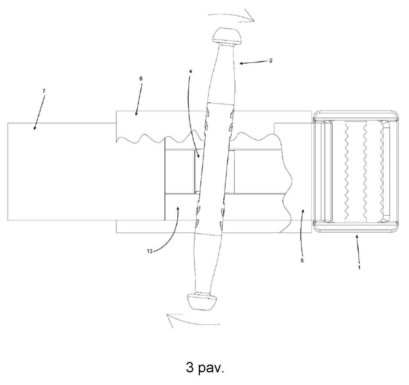
[0012] 3 pav. vaizduoja turniketo vidinės-sukamosios tekstilinės juostos (4) sujungimą su pagrindiniu turniketo diržu (11);

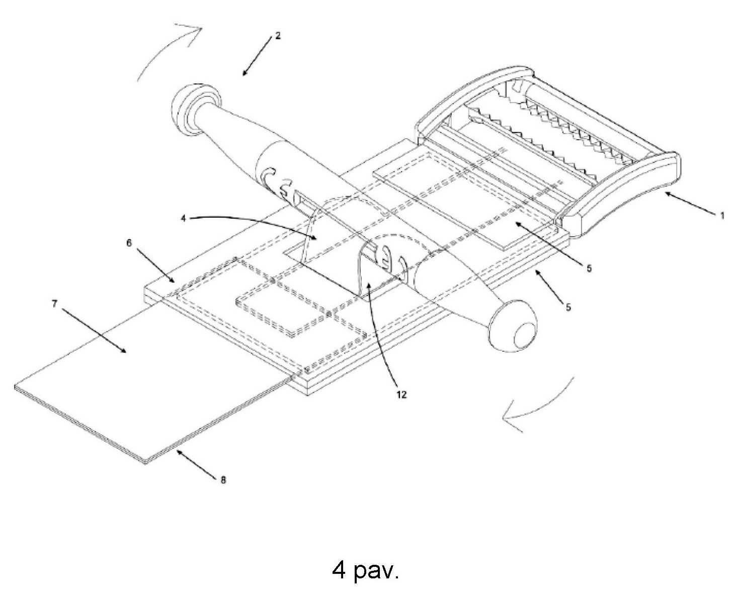
[0013] 4 pav. izometrinis turniketo platformos (5, 6, 13) bei apsauginės turniketo tekstilinės juostos (12) vidinis vaizdas;

[0014] 5 pav. vaizduoja turniketo platformos (5, 6, 13) išorinę išvaizdą iš šono kartu su ant turniketo platformos (5, 6, 13) tvirtinamais elementais;

[0015] 6 pav. vaizduoja turniketo platformos (5, 6, 13) išorinę pusę iš viršaus kartu su ant turniketo platformos (5, 6, 13) tvirtinamais elementais;

[0016] 7 pav. izometrinis turniketo platformos (5, 6, 13) išorės vaizdas;

[0017] 8 pav. izometrinis sujuosto turniketo diržo vaizdas;

[0018] 9 pav. sujuosto turniketo diržo vaizdas iš šono;

[0019] 10 pav. vaizduoja vidinę turniketo platformos (5, 6, 13) sudėtį iš šono.

[0020] Turniketo dalys brėžiniuose:

[0021] 1 – Turniketo sagtis;

[0022] 2 – Užveržimo strypas;

[0023] 3 – Tvirtinimo trikampis;

[0024] 4 – Vidinė-sukamoji tekstilinė juosta;

[0025] 5 – Platformos tekstilinė juosta;

[0026] 6 – Platformos tekstilinė juosta;

[0027] 7 – Tarpusavyje sulimpanti išorinė pagrindinio diržo pusė;

[0028] 8 – Vidinė pagrindinio diržo pusė;

[0029] 9 – Trikampis diržo galas skirtas patogesniam prakišimui pro turniketo sagtį;

[0030] 10 – Turniketo etiketė;

[0031] 11 – Pagrindinis turniketo diržas (susideda iš nr.7 ir nr.8);

[0032] 12 – Apsauginė turniketo tekstilinė juosta;

[0033] 13 – Platformos tvirtinimo plastikas.

[0034] TINKAMIAUSI ĮGYVENDINIMO VARIANTAI

[0035] Turniketas dedamas vidinė pagrindinio diržo puse (8) apjuosiant galūnę, 5-8 centimetrų atstumu virš kraujuojančios vietos, tačiau ne ant sąnario (tokiu atveju turniketą dėti aukščiau sąnario), sužeistą galūnę perkišant per pagrindinio turniketo diržo (11) kilpą. Turniketas uždedamas esant poreikiui, turniketą galima dėti apjuosiant sužeistą galūnę bei prakišant pagrindinio turniketo diržo galą (9) pro turniketo sagtį (1). Vieta po turniketu atlaisvinama nuo kietų daiktų (ištuštinama kišenė, pašalinamos grandinėlės, žiebtuvėliai, telefonai ir t.t.). Tuomet turniketo suformuota kilpa, apjuosusi sužeistą galūnę, stipriai įtempiama tempiant pagrindinio turniketo diržo (11) galą atgal. Turniketas užtvirtinamas juosiant pagrindinį turniketo diržą (11) aplink suformuotą kilpą ir tarpusavyje sulimpančias išorines pagrindinio diržo puses (7) suklijuojant lipukų (Hook-and-loop) principu. Tuomet ant turniketo esantis užveržimo strypas (2) yra sukamas į vieną pusę tam, kad veržtų vidinę-sukamąją tekstilinę juostą (4) ir to pasekoje užveržtų pagrindinį turniketo diržą (11) ir sustabdytų kraujavimą. Apsauginė tekstilinė juosta (12), pritvirtinta prie vieno pagrindinio turniketo diržo (11) galo, prilaiko pagrindinį turniketo diržą (11) turniketo platformos (5, 6, 13) viduje ir neleidžia pagrindiniam turniketo diržui (11) išslysti iš turniketo platformos (5, 6, 13), kai turniketo diržas yra atlaisvinamas. Atlikus aukščiau išvardintus veiksmus, užveržimo strypas (2) yra užfiksuojamas tvirtinimo trikampyje (3), pritvirtintame ant turniketo platformos sudarytos iš platformos tekstilinės juostos (5, 6) bei platformos tvirtinimo plastiko (13), bei ant turniketo etiketės (10) užrašomas turniketo aplikavimo laikas. Jei kraujavimo sustabdyti nepavyko vienu turniketu, aukščiau pirminio, bet jo nenuimant, dedamas antras turniketas. Uždėjus turniketą draudžiama jį atlaisvinti arba nuiminėti visiems, išskyrus specializuotą medicinos personalą. Dabartinių skubios pagalbos turniketų konstrukcija leidžia valdyti turniketą viena ranka, kad sužeistasis, esant būtinybei, galėtų jį užsidėti savarankiškai.

Apibrėžtis

1. Turniketo diržas, apimantis:

pagrindinį turniketo diržą (11), skirtą apjuosti sužeistą galūnę; ir

vidinę-sukamąją tekstilinę juostą (4), esančią pagrindinio turniketo diržo (11) viduje, kurią užveržiant, turniketo aplikavimo proceso pabaigoje pasiekiamas pakankamai stiprus galūnės suspaudimas, reikalingas sustabdyti kraujavimą; platformą (5, 6, 13), skirtą tvirtinimo elementams - tvirtinimo trikampiui (3) ir turniketo sagčiai (1) – uždėti;

b e s i s k i r i a n t i s tuo, kad

vidinė-sukamoji tekstilinė juosta (4) tęsiasi per platformos (5, 6, 13) ilgį, o ne per visą pagrindinį turniketo diržą (11), palikdama pakankamą kiekį vidinės-sukamosios tekstilinės juostos (4) galutiniam užveržimui, o platformos (5, 6, 13) krašte vidinė- sukamoji tekstilinė juosta (4) yra sujungta su pagrindiniu turniketo diržu (11), kad leistų turniketu apjuostą pažeistą galūnę suveržti naudojant didesnį paviršiaus plotą turintį pagrindinį turniketo diržą (11), veržiant vidinę-sukamąją tekstilinę juostą (4), siekiant efektyviau sustabdyti kraujavimą ir sumažinti žalą minkštiesiems audiniams.

2. Turniketo diržas pagal 1 punktą papildomai apimantis prie pagrindinio turniketo diržo (11) pritvirtintą turniketo platformą (5, 6, 13), pagamintą iš lankstaus plastiko, kuris pagrindinio turniketo diržo (11) užveržimo metu išsigaubia ir apglėbia galūnę, taip leisdamas sudaryti pakankamai siaurą pagrindinio turniketo diržo (11) kilpą, galinčią apimti ir stabdyti kraujavimą mažos apimties galūnėse tokiose kaip pavyzdžiui mažamečio vaiko ar šuns.

3. Turniketo diržas pagal 1 ir 2 punktus papildomai turintis apsauginę tekstilinę juostą (12), pritvirtintą prie vieno pagrindinio turniketo diržo (11) galo, kuri prilaiko pagrindinį turniketo diržą (11) turniketo platformos (5, 6, 13) viduje ir neleidžia pagrindiniam turniketo diržui (11) išslysti iš turniketo platformos (5, 6, 13), kai turniketo diržas yra atlaisvinamas.

4. Turniketo diržas pagal 1–3 punktus, kur išorinė pagrindinio turniketo diržo (11) pusė tarpusavyje sukimba lipukų (Hook-and-loop) principu.

5. Turniketo diržas pagal 1–4 punktus apimantis vidinę-sukamąją tekstilinę juostą (4), kurią veržiant užveržimo strypu (2) turniketo aplikavimo proceso pabaigoje pasiekiamas pakankamai stiprus galūnės suspaudimas, reikalingas sustabdyti kraujavimą.

6. Turniketo tvirtinamasis trikampis (3), skirtas užfiksuoti užveržimo strypą (2) po pagrindinio turniketo diržo (11) užveržimo, tvirtinamas prie platformos ir b e s i s k i r i a n t i s tuo, kad apima vieną ir daugiau ragelių, leidžiančių prilaikyti pagrindinio turniketo diržo (11) perteklių po turniketo aplikavimo.

7. Turniketo tvirtinamasis trikampis (3) pagal 6 punktą, kur medžiaga, naudojama tvirtinamojo trikampio (3) gamybai, yra metalas arba plastikas.

Brėžiniai