LT7027B

IMPULSINĖS LAZERIO SPINDULIUOTĖS TRANSFORMAVIMO ĮRENGINYS, SKIRTAS NAUDOTI APDIRBANT SKAIDRIAS MEDŽIAGAS LAZERIU

THE LASER RADIATION TRANSFORMING DEVICE USED FOR THE LASER PROCESSING OF MATERIALS

Referatas

[LT] Išradimas priklauso medžiagų apdirbimo sričiai ir yra susijęs su lazerio šviesos panaudojimu medžiagos pašalinimui iš ruošinio ir gali būti pritaikytas skaidrių terpių, tarp jų stiklų, apdirbimui. Lazerio spinduliuotės transformavimo įrenginys turi fotoninį elementą, sudarytą iš skaidrios medžiagos pagrindo, kurio įėjimo ir išėjimo plokštumos, išdėstytos lygiagrečiai viena prieš kitą. Skaidrios medžiagos fotoninio elemento pagrindo tūryje tarp įėjimo ir išėjimo plokštumų arba jo paviršiuje yra susidariusi struktūrinė modifikacija. Fotoniniame elemente ar ant jo įrašytos struktūros yra geometrinės Pancharatnam‘o-Berry fazės struktūros su tolygiai kintančiu jų orientavimo kampu, kuris kiekviename pluošto skerspjūvio taške užduoda struktūrų orientacijos kampo kitimo funkciją ϑ = f(ϕ, r), kur ϕ – elemento koordinačių azimutinis kampas, kintantis ribose nuo -π iki π, o r – radialinė koordinatė. Poliarizacijos kampo kitimo funkcija ϑ = f(ϕ, r) sudaroma tokio osciliuojančio pavidalo, kad iš fotoninio elemento išėjusią spinduliuotę sufokusavus susikuria pageidaujamos formos fotoninė adata, nepriklausomai nuo kritusios šviesos lauko poliarizacijos krypties.

[EN] The invention belongs to the field of material processing and relates to the use of laser light to remove material from a workpiece and can be applied to the processing of transparent media, including glass. The laser radiation transforming device has a photonic element consisting of a transparent material base, the input and output planes which are arranged parallel to each other. There is a structural modification in the base volume of the transparent material between the input and output planes of the photonic element or at the surface of the photonic element. The structures recorded in or on a photonic element are geometric Pancharatnam-Berry phase structures with uniformly varying angles of their orientation, which at each point of the beam cross-section gives the change function of the orientation of the structures ϑ = f (ϕ, r), where ϕ is the azimuthal angle of the element’s coordinates, varying from -π to π, and r is the radial coordinate. The polarization angle change function ϑ = f (ϕ, r) is created in such an oscillating form that when the radiation exiting from the photonic element is focused, a photonic needle of the desired shape is formed, regardless of the polarization direction of the incident light field.

Aprašymas

[0001] TECHNIKOS SRITIS

[0002] Išradimas priklauso medžiagų apdirbimo sričiai ir yra susijęs su lazerio šviesos panaudojimu medžiagos pašalinimui iš ruošinio ir gali būti pritaikytas skaidrių terpių, tarp jų stiklų, apdirbimui.

[0003] TECHNIKOS LYGIS

[0004] Dauguma žinomų skaidrių terpių lazerinio pjaustymo, raižymo ar skaldymo būdų yra paremti įskilimų kontūro suformavimu po to atskiriant ruošinio dalis per tą įskilimų kontūrą. Tam kontūrui suformuoti naudojami pluoštai, kuriuose energijos skirstinys plokštumoje, statmenoje šviesos plitimo krypčiai, yra centrosimetriškas. Tačiau erdvinis skirstinys turi išskirtą kryptį, kurioje jo matmenys yra didesni, negu kryptimi, statmena išskirtajai. Tokius pluoštus suformuoja įvairūs fotoniniai elementai, patalpinti lazerio spinduliuotės TEM00 modos pluošte, su energijos skirstiniu, aprašomu Beselio ir Gauso formule.

[0005] Paraiškose CN202189161U (2012-04-11), CN102819111A (2012-12-12) ir US8358888B2 (2013-01-22) yra aprašyti būdai generuoti nedifraguojantį skaliarinį Beselio pluoštą. Fotoninės schemos su tokiais elementais yra lengvai sukonstruojamos ir jų kuriami skirstiniai yra tiksliai aprašomi teoriškai. Tam naudojamos kūginės stiklo prizmes, optiniai šviesolaidžiai. Paraiškoje WO2018001846A1 (2018-01-04) Beselio pluoštai formuojami lęšio pagalba atliekant žiedinės apertūros Furjė transformaciją. Paraiškoje DE102014116957A1 (2016-05-19) šis uždavinys yra sprendžiamas pasitelkus fazinių kaukių ir optinių lęšių sistemą. Paraiškoje WO2016079063A1 (2016-05-26) nedifraguojantys Beselio pluoštai formuojami difrakciniais fotoniniais elementais.

[0006] Paraiškose WO2016/079257A1 (2016-05-26), US2017/0157700A1 (2017-08-08), US2018/0093914A1 (2018-04-05) ir LT 2019 028 (2019-05-15) yra aprašytas formavimas linijinio židinio srities, išilgintos šviesos plitimo kryptimi, naudojant nedifraguojančius pluoštus, kurių skirstinys plokštumoje, statmenoje plitimo krypčiai, yra išilgintas viena išskirta kryptimi. Fokusuojant tokius pluoštus ruošinyje, lazerinio mikroapdirbimo proceso sparta žymiai padidėja. Paraiškose WO2016/079257A1, US2017/0157700A1 ir US2018/0093914A1 išilginta židinio sritis yra sukuriama naudojant kelis skirtingus optinius elementus kaip kūginiai lęšiai (aksikonai), asferinė optika, erdviniai filtrai, fazinės kaukės, fazinės plokštelės, sektorinės fazinės plokštelės. Tokios optinės schemos reikalauja itin tikslaus suderinimo, nes yra labai jautrios elementų išdėstymo tikslumui. Be to, kiekvieno iš elementų kokybė turi reikšmingos įtakos galutiniam rezultatui, todėl labai svarbu minimizuoti kiekį elementų, reikalingų norimam skirstiniui suformuoti.

[0007] Minėti sprendimai pasižymi vienu esminiu trūkumu, dėl kurio nukenčia lazerinio mikroapdirbimo kokybė – jų elektrinio lauko intensyvumas išskirtąją kryptimi (sklidimo kryptis) yra nekontroliuojamai nepastovus – kintanti intensyvumo gaubtinė, smulkios didelio dažnio osciliacijos, netolygumai ir t.t. Siūlomas sprendimas sukuria pageidaujamo ašinio intensyvumo Beselio pluoštą – toliau vadinama fotonine adata.

[0008] Siūlomas sprendimas yra pagrįstas Pancharatnam‘o-Berry fazę (PBF) fotoniniu elementu, kuris siejasi su metapaviršiais ir panašiais objektais. PBF fotoniniai elementai įgyvendinami dielektrinių metapaviršių pagalba, paraiška US9507064B2 (2016-01-28). Fazinių gradientų kodavimas yra aprašytas paraiškoje CN106654592A (2017-05-10).

[0009] Yra įvairūs PBF įgyvendinimo būdai, paminėtinas skystųjų kristalų panaudojimas, paraiška WO2020186123A1 (2020-09-17) ir sub-banginės nanogardeles, paraiška US7570427B2 (2006-06-15). Šios paraiškos yra artimiausios siūlomam išradimui pagal fotoninio elemento funkcijos užkodavimo būdą.

[0010] Artimiausias siūlomam sprendimui yra LT 2019 028, kuriame suformuojami nedifraguojantys pluoštai su asimetrišku skirstiniu statmenoje plitimo krypčiai plokštumoje. Paraiškoje LT 2019 028 asimetrinis nedifraguojantis pluoštas yra kuriamas Pancharatnam‘o-Berry fazę (PBF) valdančiu elementu. Siūlomas toje paraiškoje elementas kuria skirstinį turintį nulinio intensyvumo sritį šviesos plitimo kryptimi. Jei norima gauti tokį skirstinį, optinėje schemoje reikia patalpinti papildomą elementą - poliarizatorių, kas daro optinę schemą sudėtingesnę. Poliarizatorius yra būtinas nepageidaujamam PBP elemento generuojamam šalutiniam (parazitiniam) signalui pašalinti.

[0011] Sprendžiama techninė problema

[0012] Išradimu siekiama praplėsti pasiūlyto lazerio spinduliuotės transformavimo įrenginio panaudojimo galimybes kartu supaprastinant įrenginio optinę schemą ir padidinant jo patikimumą.

[0013] IŠRADIMO ESMĖS ATSKLEIDIMAS

[0014] Uždavinio sprendimo esmė pagal pasiūlytą išradimą yra ta, kad impulsinės lazerio spinduliuotės transformavimo įrenginyje, skirtame naudoti apdirbant skaidrias medžiagas lazeriu, turinčiame bent vieną fotoninį elementą, sukonfigūruotą transformuoti į jį krentantį tiesinės (arba apskritiminės) poliarizacijos lazerio spinduliuotę į nuo krentančio pluošto poliarizacijos orientacijos nepriklausomą fotoninę adatą, veikiant sukurtam geometrinės fazės efektui, dėl kurio krentančios lazerio spinduliuotės poliarizacijos vektorius kiekviename elemento skerspjūvio taške pasisuka užduotu kampu, kur fotoninis elementas apima:

[0015] - skaidrios medžiagos pagrindą, kur įėjimo ir išėjimo paviršius sudaro įėjimo ir išėjimo plokštumos, išdėstytos lygiagrečiai viena prieš kitą,

[0016] - struktūrinę modifikaciją, susidariusią minėto skaidrios medžiagos fotoninio elemento pagrindo tūryje tarp įėjimo ir išėjimo plokštumų arba jo paviršiuje ant vienos iš minėtų plokštumų išdėsčius visumą struktūrų, suorientuotų plokštumoje, statmenoje šviesos plitimo krypčiai, pagal užduotą dėsnį,

[0017] - minėtame fotoniniame elemente ar ant jo įrašytos struktūros yra geometrinės Pancharatnam‘o-Berry fazės struktūros su pagal pasirinktą dėsnį kintančiu jų orientavimo kampu, kuris kiekviename spinduliuotės skerspjūvio taške užduoda struktūrų orientacijos kampo kitimo funkciją ϑ = f(ϕ, r), kur ϕ – elemento koordinačių azimutinis kampas, kintantis ribose nuo -π iki π, o r –radialinė koordinatė,

[0018] Kuriame minėta poliarizacijos kampo kitimo funkcija ϑ = f(ϕ, r) sudaroma tokio osciliuojančio pavidalo, kad fotoninis elementas (3) sukonfigūruotas transformuoti kritusios spinduliuotės erdvinį profilį taip, kad iš jo išėjusią spinduliuotę, praleidus per foksavimo elementą (26), sukuriama fotoninė adata, nepriklausomai nuo kritusios šviesos lauko poliarizacijos krypties.

[0019] Minėta poliarizacijos kampo kitimo funkcija yra f(ϕ, r) = f1(ϕ, r), kai spindulys r yra tarp 2*i/N*d, ir (2*i+1)/N*d bei yra f(ϕ, r) = f2(ϕ, r), kai spindulys r yra tarp (2*i+1)/N*d ir (2*i+2)/N*d, kur N yra sveikas skaičius storio d žiedų, o i kinta nuo 0 iki N.

[0020] Funkcijos f1 ir f2 parenkamos taip, kad visose fotoninio elemento skerspjūvio taškuose abu gretimų spindulių r1 ir r2 žiedų vienasluoksnių struktūrų orientacijos yra suderintos, taip sukuriant konstruktyvią interferenciją lazerio spinduliuotei, praėjusiai pro minėtą tašką, jog fotoninis elementas realizuoja įeinančios spinduliuotės tokį pokytį, būtiną susiformuoti Beselio pluoštą su pageidaujamu ašiniu skirstiniu.

[0021] Poliarizacijos kampo kitimo funkcija f(ϕ, r) = f1(ϕ, r) yra įrašoma viename struktūrų sluoksnyje, o su ja suderinta poliarizacijos kampo kitimo funkcija f(ϕ, r) = f2(ϕ, r) yra įrašoma kitame elemente esančiame lygiagrečiai išdėstytame (aukščiau/žemiau) struktūrų sluoksnyje, realizuojant įeinančios į fotoninį elementą spinduliuotės pokytį, būtiną fotoninei adatai suformuoti.

[0022] Įrenginys turi du vienas po kito išdėstytus suglaustus fotoninius elementus, kur poliarizacijos kampo kitimo funkcija f(ϕ, r) = f1(ϕ, r) yra įrašoma viename fotoniniame elemente, o su ja suderinta poliarizacijos kampo kitimo funkcija f(ϕ, r) = f2(ϕ, r) yra įrašoma kitame fotoniniame elemente, realizuojant įeinančios spinduliuotės pokytį, būtiną suformuot fotoninę adatą.

[0023] Skaidri fotoninio elemento medžiaga yra lydytas kvarcas.

[0024] Geometrinės Pancharatnam‘o-Berry fazės struktūros yra dvejopalūžės struktūros, įrašytos elemento tūryje tarp įėjimo ir išėjimo plokštumų.

[0025] Išradimo naudingumas

[0026] Pasiūlytas lazerio spinduliuotės transformavimo įrenginys yra tinkamas transformuoti nedifraguojančius įvairių tipų pluoštus, suteikiant jiems pageidaujama (pastovų arba kintantį) intensyvumo skirstinį sklidimo kryptimi tuo pačiu praplečia pasiūlyto įrenginio panaudojimo galimybes bei supaprastina įrenginio optinę schemą.

[0027] Naudojant pasiūlytą lazerio spinduliuotės transformavimo įrenginį skaidrių medžiagų apdorojimo srityje galima pagerinti skaidrių medžiagų apdorojimo kokybę pjaunant skaidrias medžiagas, kartu pagerinant apdorojimo tikslumą ir supaprastinant naudojamas optines schemas, padidinant jų patikimumą.

[0028] Pasiūlytas lazerio spinduliuotės transformavimo įrenginys be fokusavimo įrenginio yra tinkamas transformuoti kritusį lazerio pluoštą ir nesiekiant generuoti nedifraguojantį pluoštą su pageidaujamu intensyvumo skirstiniu sklidimo kryptimi, tačiau siekiant sukurti tam tikrą nuo kritusios spinduliuotės poliarizacijos krypties nepriklausantį skersinį skirstinį.

[0029] Pasiūlytas lazerio spinduliuotės transformavimo įrenginys yra tinkamas ir kitokiems nei medžiagų apdirbimo lazeriu taikymams, kur yra būtina nuo krentančios spinduliuotės poliarizacijos krypties nepriklausoma pluošto transformacija.

[0030] Pasiūlytas lazerio spinduliuotės transformavimo įrenginys yra tinkamas ir kitokiems spinduliuotės bangos ilgiams nei medžiagų apdirbimo lazeriu taikymams naudojamos spinduliuotės bangos ilgis, kuomet yra būtina nuo krentančios spinduliuotės poliarizacijos krypties nepriklausoma pluošto transformacija.

[0031] TRUMPAS BRĖŽINIŲ APRAŠYMAS

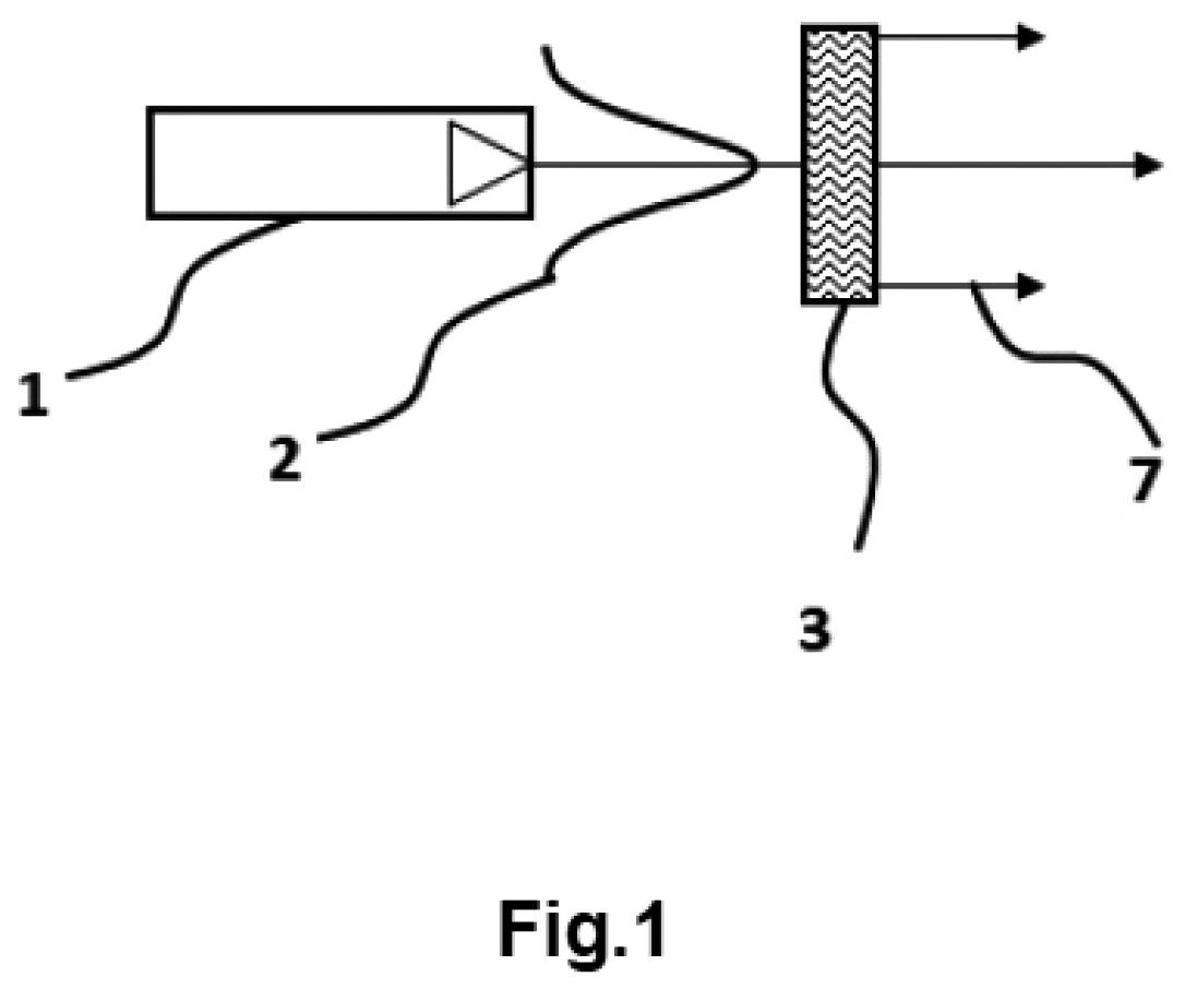
[0032] Fig. 1 - parodyta optinė schema, kurioje iš lazerio TEM00 modos suformuojamas pluoštas su norimu intensyvumo skirstiniu.

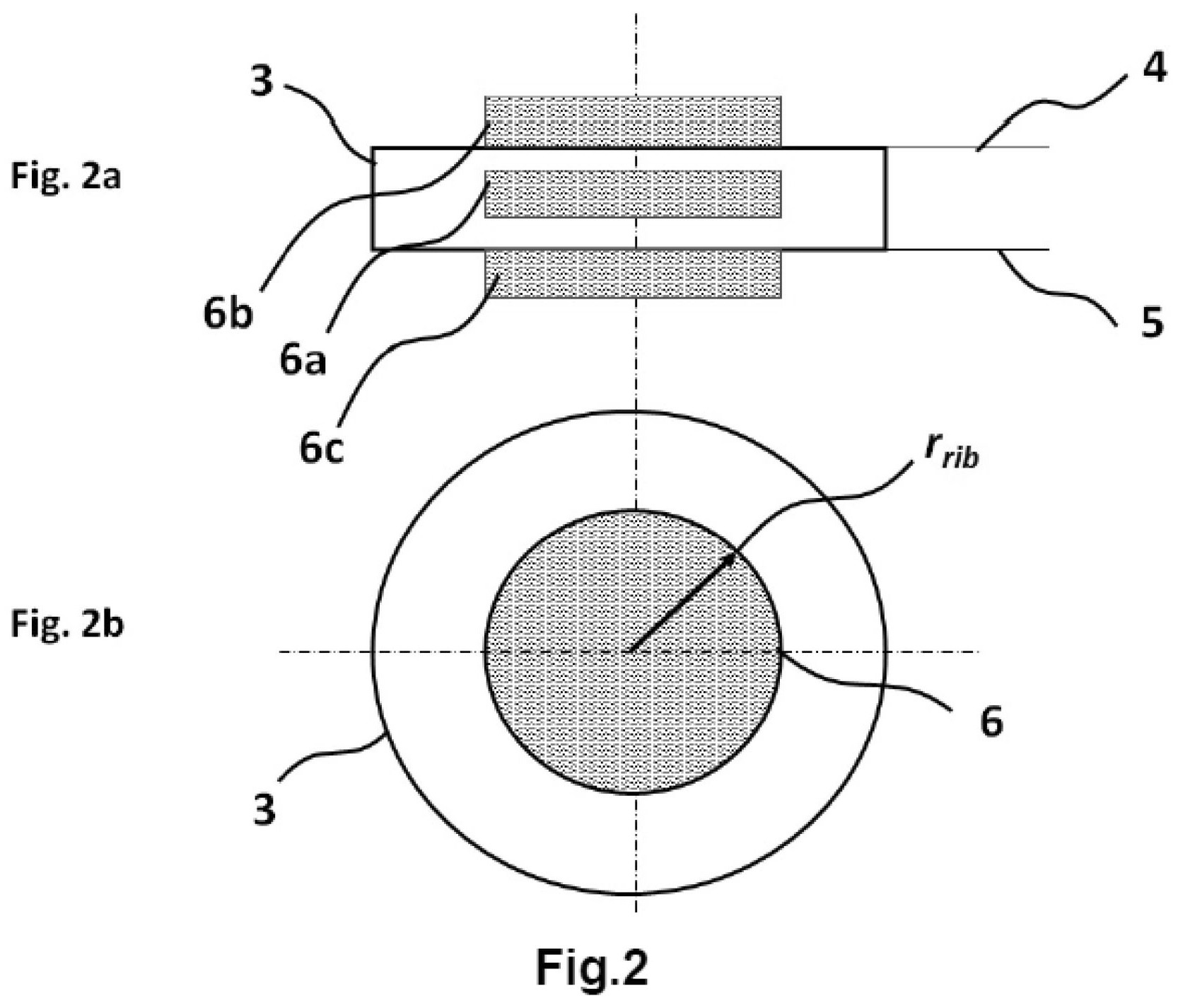
[0033] Fig. 2 - parodytas struktūrų, užduodančių Pancharatnam‘o-Berry fazę (PBF) lazerio pluošte, išdėstymas siūlomame elemente; 2a – vaizdas iš šono, 2b – vaizdas iš viršaus.

[0034] Fig. 3 - parodytas įrašomų į pluoštą formuojantį elementą struktūrų suorientavimas polinėse koordinatėse.

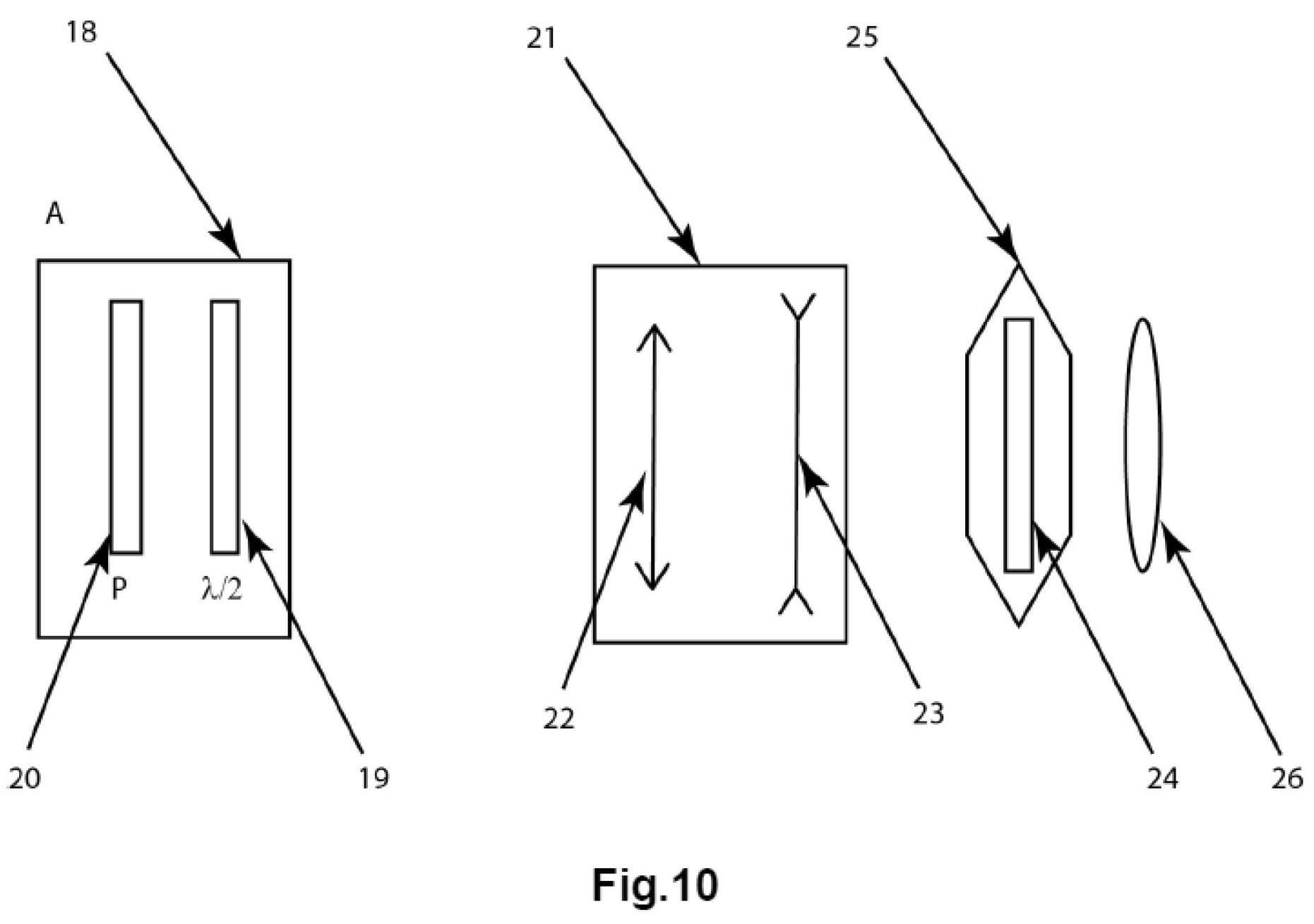
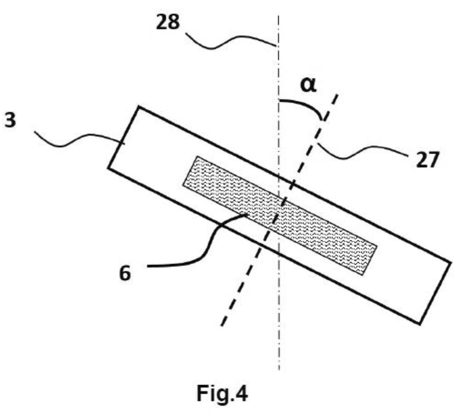
[0035] Fig. 4 - parodytas kampinis pluoštą formuojančio elemento suorientavimas pluošto ašies atžvilgiu.

[0036] Fig. 5 - parodytas ašinis pluoštą formuojančio elemento suorientavimas pluošto ašies kryptimi.

[0037] Fig. 6 - parodytos atskirų žiedų struktūrų orientacijos funkcijos f1 ir f2 ir parodyta elemente įrašoma kampų funkcija f.

[0038] Fig. 7 - parodyta elemento dvimatė schema su skirtinguose žieduose skirtingai orientuotomis struktūromis.

[0039] Fig. 8 - parodyta iš karto už elemento susidarančio elektrinio lauko struktūra.

[0040] Fig. 9 - parodytos krentančio pluošto individualios poliarizacijos komponentės ir bendras elektrinis laukas.

[0041] Fig. 10 - parodyta pasiūlyto išradimo realizavimo schema.

[0042] VIENAS IŠ IŠRADIMO REALIZAVIMO PAVYZDŽIŲ

[0043] Skaidrių medžiagų apdirbimui naudojamo pluošto energijos skirstinys suformuojamas pasiūlytame impulsinės lazerio spinduliuotės transformavimo įrenginyje yra tinkamas formuoti fotoninį pluoštą, vėliau nukreipiamą į kūginę prizmę (aksikoną) už kurios susidaro fotoninė adata.

[0044] Lazeris 1, generuoja TEM00 modos ultratrumpus impulsus 2, kurių pluoštas nukreipiamas į fotoninį elementą 3, sudarytą iš skaidrios į jį krentančiai lazerio spinduliuotei medžiagos pagrindo, turinčio įėjimo ir išėjimo paviršius, kuriuos atitinkamai sudaro įėjimo plokštuma 4 ir išėjimo plokštuma 5, išdėstytos lygiagrečiai viena prieš kitą. Fotoniniame elemente 3, statmenoje šviesos plitimo krypčiai plokštumoje koncentriškai elemento ašiai yra suformuota PBF valdančios struktūros visuma 6. Šios struktūros gali būti suformuotos tiek fotoninio elemento 3 tūryje 6a, tiek ant įėjimo paviršiaus 6b, tiek ant išėjimo paviršiaus 6c. Dėl šių struktūrų poveikio už fotoninio elemento 3 suformuoto lazerio spinduliuotės pluošto 7 kiekviename skerspjūvio taške dėl elemento įneštų PBF skirtumų elektrinio lauko vektoriaus kryptis kinta pagal elemento užrašymo metu pasirinktą dėsnį.

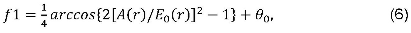
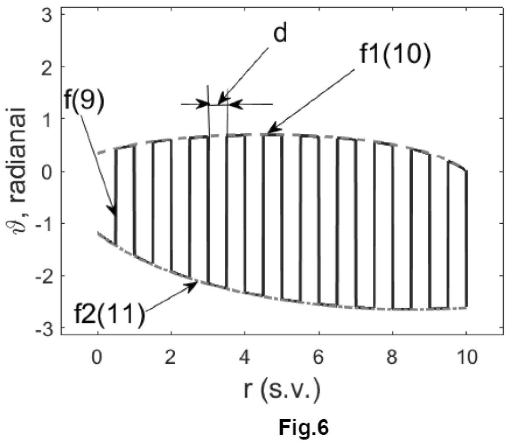
[0045] Pavienių struktūrų 8, užduodančių PBF pokytį fotoniniame elemente 3 orientacija kiekviename plokštumos taške užduodama su kintančiu jų posūkio kampu ϑ. Minėtos struktūros įrašomos į spinduliuotę transformuojantį elementą pagal dėsnį, aprašomą funkcija (9) ϑ = f(ϕ, r), kur ϕ – azimutinis kampas kintantis ribose nuo -π iki π, o r – atstumas nuo elemento centro. Atskiru atveju ta funkcija (10) yra ϑ (ϕ, r) = f1(ϕ, r), kai atstumas nuo elemento centro (spindulys) r yra tarp 2*i/N*d ir (2*i+1)/N*d ir yra (11) ϑ (ϕ, r) = f2(ϕ, r), kai atstumas nuo elemento centro (spindulys) r yra tarp (2*i+1)/N*d ir (2*i+2)/N*d, kur d yra žiedo storis atstumu r nuo elemento centro, o sveikas skaičius i kinta nuo 0 iki N, kur N yra bendras žiedų skaičius elemente.

[0046] Funkcijos f1 ir f2 specialiu žemiau aprašytu būdu parenkamos taip, kad nepriklausomai nuo kritusios šviesos poliarizacijos krypties, susiformuotų tas pats bendras elektrinio lauko intensyvumo skirstinys. Kitu atskiru atveju posūkio kampo funkcija yra aprašoma funkcija ϑ(ϕ, r) = f1(ϕ, r), (10) viename struktūrų sluoksnyje, o ϑ(ϕ, r) = f2(ϕ, r), (11) kitame sluoksnyje, kur ϕ - azimutinis kampas kuris kinta nuo -π iki π, o r tai atstumas nuo centro, duotame elemente. Struktūrų išdėstymo elemente funkcijos ϑ = f(ϕ, r) savybė yra ta, kad bent viename elemento skerspjūvio taško 12 aplinkoje, nutolusiame atstumu r nuo centro, struktūrų kryptys 13, gretimai esančiuose žieduose, yra suderintos pagal žemiau aprašytą būdą. To pasėkoje, pro elementą praėjęs elektrinis laukas E1 ir E2 gretimuose žieduose turi skirtingas kryptis 14, kas sukuria konstruktyvią bei destruktyvią interferenciją šviesai, praėjusiai pro minėto taško aplinką.

[0047] Specialus būdas, leidžiantis parinkti funkcijas f1 ir f2 taip, kad interferencijos dėka nepriklausomai nuo kritusios elektromagnetinio lauko E poliarizacijos už PBP elemento būtų kuriamas to paties intensyvumo skirstinio A(r) elektromagnetinis laukas kaip nurodyta toliau. Elektromagnetinio lauko intensyvumo skirstinis A(r) yra būtinas sufokusuoti su fokusuojančiu elementu pageidaujamo ašinio intensyvumo fotoninę adatą. Jei krentantis elektromagnetinis laukas yra

[0048]

[0049] kur E_0 (r) yra į PBP elementą krentančio lazerio pluošto 3 intensyvumo skirstinys, o Ex ir Ey yra x ir y poliarizacijos dedamosios (15, 16), kuriančios bendrą lauką E 17. Struktūros poveikis krentančiam elektromagnetiniam laukui yra aprašomas matricos T,

[0050]

[0051] kur θ(x,y) yra lokali struktūros orientacija taške x,y. Pro šį tašką praėjęs laukas yra aprašomas išraiška

[0052]

[0053] kur θ1(x,y) yra kampas, aprašomas funkcija f1. Taške, esančiame atstumu r2 tarp (2*i+1)/N*d ir (2*i+2)/N*d kampas θ2(x,y) yra aprašomas funkcija f2. Pro šį tašką praėjęs laukas yra aprašomas išraiška

[0054]

[0055] Pro šiuos taškus praėję laukai konstruktyviai arba destruktyviai interferuoja ir šių laukų kuriamas bendras laukas yra

[0056]

[0057] Parinkus kampų θ1 ir θ2 kitimo dėsnius f1 ir f2 taip, kad jie atitiktų šias išraiškas

[0058]

[0059]

[0060] Gauname, kad interferencijos rezultatas aprašomas

[0061]

[0062] kur θ0 yra laisvas kampo parametras. Šis elektrinis laukas Etot nepriklausomai nuo krentačio pluošto poliarizacijos Ex, Ey turi tą patį intensyvumo skirstinį A(r), būtina fotoninei adatai sukurti sufokusavus fokusuojančiu elementu. Tokiu būdu, atkrenta būtinybė atlikti papildomą nepageidaujamos poliarizacijos komponentės filtravimą.

[0063] Šviesos 7, praėjusios pro elementą 3, fazės kiekviename pluošto skerspjūvio taške koreliuoja tarpusavyje, t.y., pluoštas išlieka koherentiškas per visą impulsą tiek erdvėje, tiek laike. Už minėto elemento pluošte susiformuoja erdvinis skirstinys su išlaikytu koherentiškumu ir sudėtingu poliarizacinių vektorių lauku. Poliarizaciniame lauke, sukuriamos mažos sritys, kurioje spinduliuotės fazės yra suderintos pagal lygtis (6) ir (7). t.y., kurioje yra sukurtas interferencijos taškas (11).

[0064] Nukreipus tokį pluoštą į glaudžiantį elementą, kuris gali būti aksikonas ar PBF keičiantis elementas, suformuojama židinio linija ar nedifraguojantis pluoštas su pageidaujanu (tolygiu arba ne) ašiniu skirstiniu (fotonine adata), kurį galima naudoti skaidrių medžiagų apdirbimui.

[0065] Pasiūlyto impulsinės lazerio spinduliuotės transformavimo įrenginio panaudojimas skaidrių medžiagų apdirbimui apima šią operacijų seką:

[0066] Lazeris 1 generuoja TEM00 modos ultratrumpus impulsus 2, kurių energija ateniuatoriumi 18, atskiru atveju sudarytu iš pusės bangos plokštelės 19 ir poliarizatoriaus 20 parenkama reikalingo procesui dydžio. Derinamu teleskopu 21, atskiru atveju sudarytu iš neigiamo 22 ir teigiamo 23 lęšių, pluošto skersmuo suderinamas su pluoštą formuojančio elemento skersmeniu. Esant reikalui, pluošte gali būti patalpinta fazinė plokštelė 24, kuri užduoda poliarizacijos vektoriaus kryptį. Suderintos energijos ir matmenų pluoštas nukreipiamas į fotoninį elementą 3, kuris gali būti įtvirtintas posūkio mechanizme 25, kuris užduoda skirstinio poziciją XY plokštumoje. Praėjęs formavimo fotoninį elementą 3, pluoštas 7, kurio šviesos poliarizacija kiekviename jo skerspjūvio taške yra užduota elemente įrašytų PBF parametrų, nukreipiamas į fokusavimo elementą 26, kuris gali būti kūginis lęšis (aksikonas), difrakcinis fotoninis elementas ar PBF elementas. Atskiru atveju fotoninio elemento 3 ir fokusavimo elemento 26 funkcijos gali būti sutapdintos viename elemente. Fotoninis elementas 3 patalpinamas pluošte taip, kad statmens į jo plokštumą 27 nuokrypio nuo pluošto ašies 28 kampas neviršytų α≤5 bet kuria kryptimi (Fig. 4). Elementas patalpinamas pluošte, sutapatinant įrašytų struktūrų 6 ir pluošto 29 ašis (Fig. 5). Pluoštas teleskopu 21 suformuojamas taip, kad jo spindulys rpl neviršytų struktūrų įrašymo srities ribos rrib, išlaikant santykį rpl ≤ 0,9 rrib . rpl apibrėžiamas, kaip atstumas nuo pluošto ašies, kuriame spinduliuotės intensyvumas yra I_(r_pl )=I_0⁄e^2 , kur I0 yra intensyvumas pluošto ašyje.

[0067] Priklausomai nuo to, kokį poveikį ruošinio medžiagai norima sukurti, naudojamos struktūrų orientavimo funkcijos ϑ =f(ϕ, r), su skirtingomis kampų reikšmėmis užtikrina pageidaujamą išeinančio pluošto intensyvumo skirstinį.

Apibrėžtis

1. Impulsinės lazerio spinduliuotės transformavimo įrenginys, skirtas naudoti apdirbant skaidrias medžiagas lazeriu, turintis bent vieną fotoninį elementą (3), sukonfigūruotą transformuoti į jį krentantį tiesinės (arba apskritiminės) poliarizacijos lazerio spinduliuotę į nuo krentančio pluošto poliarizacijos orientacijos nepriklausomą fotoninę adatą, veikiant sukurtam geometrinės fazės efektui, dėl kurio krentančios lazerio spinduliuotės poliarizacijos vektorius kiekviename elemento skerspjūvio taške pasisuka užduotu kampu, kur fotoninis elementas (3) apima:

- skaidrios medžiagos pagrindą, kurio įėjimo ir išėjimo paviršius sudaro įėjimo ir išėjimo plokštumos (4, 5), išdėstytos lygiagrečiai viena prieš kitą,

- struktūrinę modifikaciją, susidariusią minėto skaidrios medžiagos fotoninio elemento (3) pagrindo tūryje tarp įėjimo ir išėjimo plokštumų (4, 5) arba jo paviršiuje ant vienos iš minėtų plokštumų išdėsčius visumą struktūrų, suorientuotų plokštumoje, statmenoje šviesos plitimo krypčiai, pagal užduotą dėsnį,

- minėtame fotoniniame elemente (3) ar ant jo įrašytos struktūros yra geometrinės Pancharatnam'o-Berry fazės struktūros su pagal pasirinktą dėsnį kintančiu jų orientavimo kampu, kuris kiekviename spinduliuotės skerspjūvio taške užduoda struktūrų orientacijos kampo kitimo funkciją ϑ = f(ϕ, r), kur ϕ – elemento koordinačių azimutinis kampas, kintantis ribose nuo -π iki π, o r – radialinė koordinatė, besiskiriantis tuo, kad minėta poliarizacijos kampo kitimo funkcija ϑ = f(ϕ, r) sudaroma tokio osciliuojančio pavidalo, kad fotoninis elementas (3) sukonfigūruotas transformuoti kritusios spinduliuotės erdvinį profilį taip, kad iš jo išėjusią spinduliuotę, praleidus per foksavimo elementą (26), sukuriama fotoninė adata, nepriklausomai nuo kritusios šviesos lauko poliarizacijos krypties.

2. Įrenginys pagal 1 punktą, besiskiriantis tuo, kad minėta poliarizacijos kampo kitimo funkcija yra f(ϕ, r) = f1(ϕ, r), kai spindulys r yra tarp 2*i/N*d, ir (2*i+1)/N*d bei yra f(ϕ, r) = f2(ϕ, r), kai spindulys r yra tarp (2*i+1)/N*d ir (2*i+2)/N*d, kur N yra sveikas skaičius storio d žiedų, o i kinta nuo 0 iki N, funkcijos f1 ir f2 parenkamos taip, kad visose fotoninio elemento skerspjūvio taškuose abu gretimų spindulių r1 ir r2 žiedų vienasluoksnių struktūrų orientacijos yra suderintos, taip sukuriant konstruktyvią interferenciją lazerio spinduliuotei, praėjusiai pro minėtą tašką, jog fotoninis elementas realizuoja įeinančios spinduliuotės tokį pokytį, būtiną susiformuoti Beselio pluoštą su pageidaujamu ašiniu skirstiniu.

3. Įrenginys pagal bet kurį iš ankstesnių punktų, besiskiriantis tuo, kad poliarizacijos kampo kitimo funkcija f(ϕ, r) = f1(ϕ, r) yra įrašoma viename struktūrų sluoksnyje, o su ja suderinta poliarizacijos kampo kitimo funkcija f(ϕ, r) = f2(ϕ, r) yra įrašoma kitame elemente esančiame lygiagrečiai išdėstytame (aukščiau/žemiau) struktūrų sluoksnyje, realizuojant įeinančios į fotoninį elementą spinduliuotės pokytį, būtiną fotoninei adatai suformuoti.

4. Įrenginys pagal 1 punktą, besiskiriantis tuo, kad turi du vienas po kito išdėstytus suglaustus fotoninius elementus, kur poliarizacijos kampo kitimo funkcija f(ϕ, r) = f1(ϕ, r) yra įrašoma viename fotoniniame elemente, o su ja suderinta poliarizacijos kampo kitimo funkcija f(ϕ, r) = f2(ϕ, r) yra įrašoma kitame fotoniniame elemente, realizuojant įeinančios spinduliuotės pokytį, būtiną suformuot fotoninę adatą.

5. Įrenginys pagal bet kurį iš ankstesnių punktų, besiskiriantis tuo, kad skaidri fotoninio elemento medžiaga yra lydytas kvarcas.

6. Įrenginys pagal bet kurį iš ankstesnių punktų, besiskiriantis tuo, kad geometrinės Pancharatnam'o-Berry fazės struktūros yra dvejopalūžės struktūros, įrašytos elemento tūryje tarp įėjimo ir išėjimo plokštumų.

Brėžiniai