LT7029B

RIEBALŲ NUSIURBIMO ĮRENGINYS

A LIPOSUCTION DEVICE

Referatas

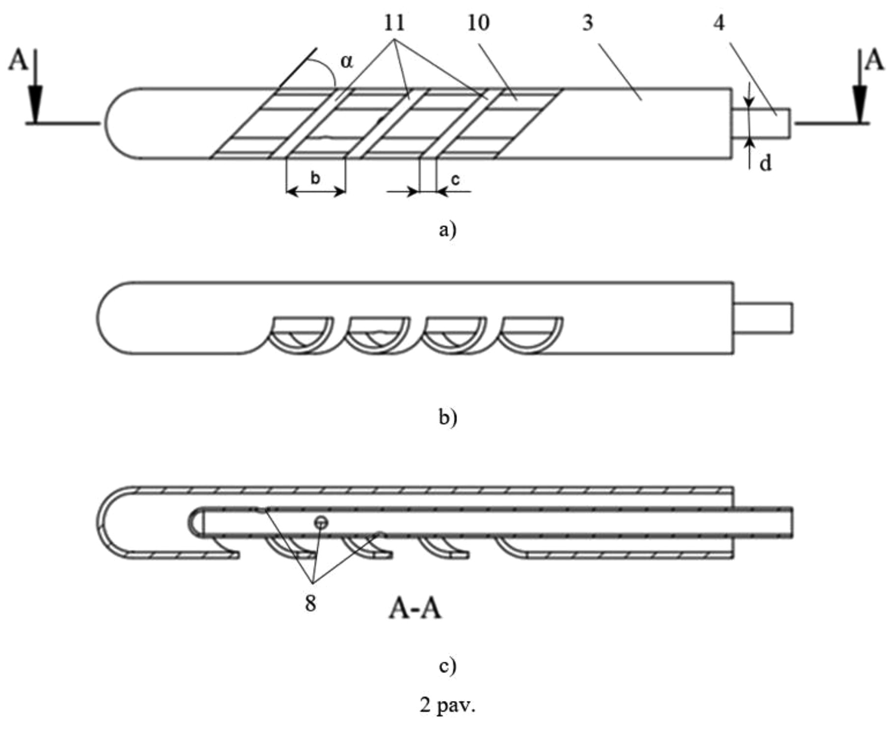
[LT] Riebalų nusiurbimo įrenginys apima korpusą (1), kronšteiną (2), kuriuo prie korpuso (1) yra pritvirtintas antgalis (3), kaniulę (4), kuri yra patalpinta antgalyje (3), slenkamajam-grįžtamajam judesiui, atlikti pneumatinės pavaros pagalba. Prie korpuso (1) taip pat pritvirtinta pneumatinė pavara (5), kurios stūmoklio laisvasis galas yra sujungtas su kaniule (4). Cilindrinio antgalio (3) šone yra suformuoti keli riebalinio sluoksnio praleidimo plyšiai (10), tarp kurių yra suformuotos įžambios pertvaros (11). Kaniulės riebalinio sluoksnio atsiurbimo galas yra išdėstytas ties minėtais plyšiais (10). Antgalyje (3) suformuotų plyšių (10) plotis b yra lygus pusei kaniulės (4) skersmens d, iki susiaurėjimo, ties galu su prijungta žarna (9). Antgalyje (3) suformuotos kiekvienos įžambios pertvaros (11) plotis c yra tris kartus, arba daugiau, didesnis už kaniulės (4) skersmenį d, iki susiaurėjimo, ties galu su prijungta žarna (9), o pasvirimo kampas, nuo antgalio (3) laisvo priekio, yra nuo 30 iki 45 laipsnių.

[EN] The liposuction device comprises a body (1), a bracket (2) for attaching a nozzle (3) to the body (1), a cannula (4) that is placed in the nozzle (3) for sliding-return movement with the help of a pneumatic drive. A pneumatic actuator (5) is also attached to the body (1), where the free end of a piston of the pneumatic actuator (5) is connected to the cannula (4). On a side of the cylindrical nozzle (3) several slits (10) for passing a layer of fat are formed with partitions (11) between the slits (10). The end for suction of fat is located at the aforementioned slits (10) of the cannula. Width b of each slit (10) formed in the tip (3) is equal to half the diameter d of the cannula (4) up to narrowing at the end with a connected hose (9). Width c of each oblique partition (11) formed in the tip (3) is three times, or more, the diameter d of the cannula (4) up to narrowing at the end with a connected hose (9), and the angle of inclination, relative to the tip (3) end, is between 30 and 45 degrees.

Aprašymas

[0001] TECHNIKOS SRITIS

[0002] Išradimas yra susijęs su medicinos įranga, o tiksliau su žmogaus riebalų nusiurbimo įranga, skirta pašalinti lokalias riebalinio audinio vietas.

[0003] TECHNIKOS LYGIS

[0004] Mechaninis riebalų nusiurbimas yra taikomas norint pašalinti lokalias riebalinio audinio vietas, kurios paprastai nereaguoja į dietą ar mankštą. Dabartinė chirurginė praktika: yra padaromas pjūvis ir per kurio sritį, į riebalinio audinio užimamą vietą, yra įvedama kaniulė. Tada kaniulė judinama taip, kad mechaniškai suskaidytų riebalinį audinį. Judinant kaniulę, riebalinis audinys per kaniulę siurbiamas švirkšto ar vakuuminio siurblio pagalba. Toks būdas reikalauja didelių chirurgo pastangų: tiek fizinių pastangų, reikalingų kaniulės judinimui pirmyn ir atgal, tiek pastangų, reikalingų kaniulės judėjimo krypčiai kontroliuoti, kad riebalinis audinys būtų ištrauktas tik iš konkrečios paciento kūno vietos.

[0005] JAV patentuose Nr. US4735605, US4775365 ir US4932935 yra aprašomi riebalų nusiurbimo įrenginiai, turintys išorinę kaniulę, kurioje naudojama sukamojo sraigto tipo pavara. Riebalinis audinys yra nukreipiamas prie išorinės kaniulės angos ir čia sraigto pagalba yra nukerpamas ir ištraukiamas išorinės kaniulės viduje, į surinkimo talpą.

[0006] JAV patente Nr. US4815462 yra aprašytas įrenginys, kuriame riebalinis audinys siurbiamas į išorinės kaniulės angą, o tada nukerpamas vidinės kaniulės peilio kraštu ir išsiurbiamas į surinkimo indą.

[0007] Vienas iš pateiktų įrenginių trūkumų yra tai, kad jie linkę plėšyti riebalinį audinį. Tai gali būti problemiška dirbant arti kraujagyslių. Taip pat šių įrankių sterilizacija yra sudėtinga, nes kaniulės mechanizmas ir jo elektrinė pavara sumontuoti viename korpuse.

[0008] JAV patentuose Nr. US5112302, US5348535 yra aprašomi riebalų nusiurbimo įrenginiai, kuriuose pneumatinė pavara judina kaniulę pirmyn ir atgal. Kaniulės judėjimas pirmyn ir atgal yra panašus į chirurgo atliekamus judesius, todėl pagerėja riebalų nusiurbimo procesas, lyginant su įrankiais, kuriuose yra naudojamos sukamojo judesio pavaros. Tačiau šiuose patentuose aprašyti įrenginiai yra sudėtingos konstrukcijos ir gana didelio svorio, kas apsunkina chirurgo darbą, riebalų nusiurbimo proceso metu.

[0009] Šio išradimo tikslas - sukurti rankinį mechanizuotą riebalų nusiurbimo įrenginį, kuris neturėtu aukščiau minėtų patentų trūkumų, būtų mažo svorio ir paprastos konstrukcijos bei turėtų geresnę jos eksploataciją ir efektyvesnį riebalų šalinimo procesą, t.y. supaprastintų įrenginio sterilizaciją, leistu išvengti vidaus organų perforacijų ar pažeidimų, sumažintų chirurgo fizines pastangas ir leistų jam lengviau kontroliuoti kaniulės judėjimo kryptį.

[0010] IŠRADIMO ESMĖ

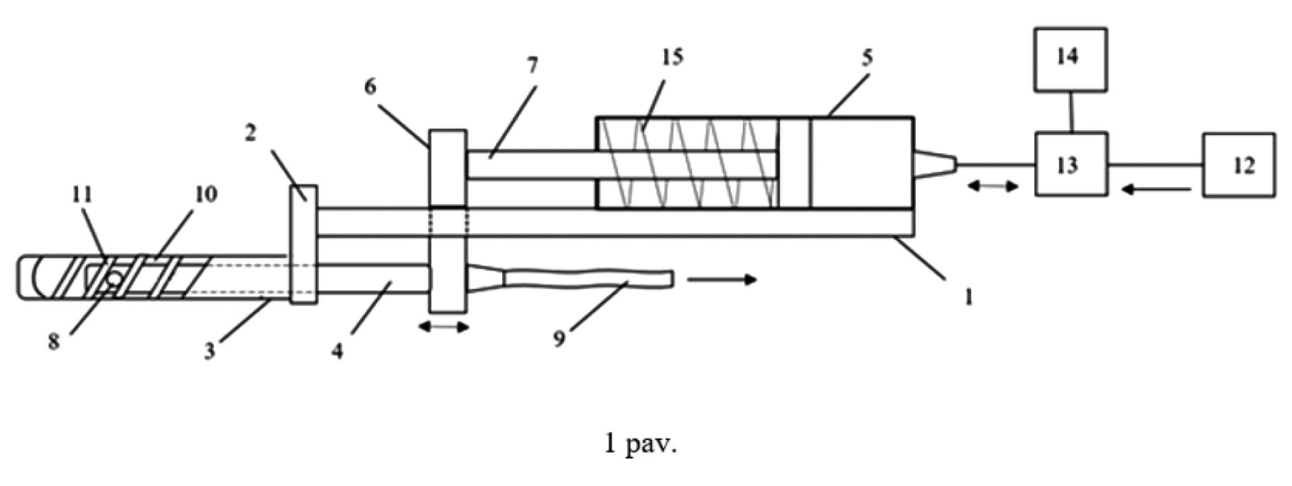
[0011] Riebalų nusiurbimo įrenginys, pagal išradimą, apima korpusą, prie kurio, kronšteino pagalba, yra pritvirtintas cilindro formos antgalis, kurio viduje yra patalpinta kaniulė, atliekanti slenkamąjį-grįžtamąjį judesį, pneumatinės pavaros pagalba. Pneumatinei pavara gali būti pavyzdžiui medicininis, didelio tūrio (100–150 ml), vienkartinio naudojimo švirkštas, kurio cilindras yra pritvirtintas prie korpuso, o kaniulės vienas galas, kronšteino pagalba, yra sujungtas su švirkšto stūmokliu, kuris kaniulei suteikia slenkamąjį-grįžtamąjį judesį, antgalio viduje. Kaniulės šoniniame paviršiuje, toje dalyje, kuri patalpinta antgalyje, yra suformuotos kiaurymės, per kurias riebalinis audinys, vakuumo pagalba, gali būti siurbiamas per žarną, į tam skirtą talpą. Ši žarna yra prijungta prie kaniulės galo, priešingo galui, kuris juda antgalyje. Prie žarnos prijungtas kaniulės galas yra sujungtas su pneumatinės pavaros stūmokliu. Antgalio šoniniame paviršiuje yra suformuoti plyšiai su įžambiomis pertvaromis. Įžambios pertvaros padidina antgalio standumą lenkimo apkrovoms ir pagerina siurbiamo riebalinio audinio patekimą prie kaniulės bei jo smulkinimą. Kaniulės slenkamajam-grįžtamajam judesiui sužadinti, į pneumatinės pavaros cilindrą, per slėgio valdiklį ir oro skirstytuvą su dažnio generatoriumi, yra paduodamas kintamo slėgio oras, kuris pneumatinės pavaros stūmokliui suteikia judesį į vieną pusę, o atgal, slėgiui sumažėjus, stūmoklį gražina prie jo prijungta spyruoklė. Tokiu būdu stūmoklio poslinkio, o tuo pačiu ir kaniulės slenkamojo-grįžtamojo judesio, amplitudė yra valdoma keičiant paduodamo į slėginę pavarą oro slėgio valdikliu, o kaniulės slenkamojo-grįžtamojo judesio dažnis yra reguliuojamas dažnio generatoriumi, kuris valdo oro skirstytuvą.

[0012] Aukščiau išvardinti išradimo požymiai leidžia padidinti riebalų nusiurbimo įrenginio veikimo efektyvumą ir sumažinti paciento traumavimo tikimybę bei chirurgo fizinės energijos sąnaudas operacijos metu. Taip pat sudaromos sąlygos lengviau kontroliuoti kaniulės judėjimo kryptį.

[0013] TRUMPAS BRĖŽINIŲ APRAŠYMAS

[0014] Išradimo, kuris yra naujas ir neakivaizdus ypatybės yra pateikiamos apibrėžties punktuose. Tačiau išradimas gali būti geriausiai suprantamas remiantis šiuo išsamiu išradimo aprašymu, kuriame, neribojant išradimo esmės, aprašomi pavyzdiniai išradimo variantai yra pateikti kartu su pridedamais brėžiniais, kuriuose:

[0015] 1 pav. yra pavaizduota riebalų nusiurbimo įrenginio konstrukcijos schema.

[0016] 2 pav. yra pavaizduotas kaniulės, skirto įvesti į žmogaus organizmą, pjūvis: a)-b) antgalio vaizdas su jame patalpinta kaniule; c) antgalio, su jame patalpinta kaniule, išilginio pjūvio vaizdas.

[0017] Tinkamiausias išradimo variantas yra aprašyta žemiau su nuorodomis į brėžinius. Kiekviename paveikslėlyje yra pateikiama ta pati to paties ar lygiaverčio elemento numeracija.

[0018] IŠSAMUS IŠRADIMO ĮGYVENDINIMO BŪDŲ APRAŠYMAS

[0019] Turėtų būti suprantama, kad daugybė konkrečių detalių yra išdėstytos, siekiant pateikti pilną ir suprantamą išradimo pavyzdinio įgyvendinimo aprašymą. Tačiau srities specialistui bus aišku, kad išradimo įgyvendinimo pavyzdžių detalumas neapriboja išradimo įgyvendinimo, kuris gali būti įgyvendintas ir be tokių konkrečių nurodymų. Gerai žinomi būdai, procedūros ir sudedamosios dalys nebuvo detaliai aprašyti, kad išradimo įgyvendinimo pavyzdžiai nebūtų klaidinantys. Be to, šis aprašymas neturi būti laikomas apribojančiu pateiktus įgyvendinimo pavyzdžius, o tik kaip jų įgyvendinimas.

[0020] Nors išradimo įgyvendinimo pavyzdžiai, ar jų aspektai, taip kaip parodyti ir aprašyti, apima daugybę komponentų, kurie yra pavaizduoti esantys tam tikroje bendroje erdvėje ar vietoje, kai kurie komponentai gali būti ir nutolę. Taip pat turėtų būti suprantama, kad pateikti pavyzdžiai neapsiriboja tik aprašytais komponentais ir apima ir kitus, jų funkcionavimui ir sąveikai su kitais komponentais, reikalingus elementus, kurių buvimas yra savaime suprantamas, todėl nedetalizuojamas.

[0021] Riebalų nusiurbimo įrenginys apima korpusą (1), kronšteiną (2), kuriuo prie korpuso (1) yra tvirtinamas antgalis (3), kaniulę (4), kuri yra patalpinta antgalyje (3), slenkamajam-grįžtamajam judesiui atlikti, pneumatinės pavaros pagalba. Įrenginys taip pat apima pneumatinę pavarą (5), pavyzdžiui medicininį, didelio tūrio (100–150 ml), vienkartinį švirkštą, kurio cilindras yra pritvirtintas prie korpuso (1), o kaniulės (4) vienas galas, kronšteinu (6) yra sujungtas su pneumatinės pavaros stūmokliu (7), kuris kaniulei (4) suteikia slenkamąjį-grįžtamąjį judesį, antgalio (3) viduje. Kaniulės (4) šoniniame paviršiuje, toje dalyje, kuri patalpinta antgalyje (3), yra padaryta viena arba daugiau kiaurymių (8), per kurias riebalinis audinys, vakuumo pagalba, gali būti siurbiamas per žarną (9), į tam skirtą talpą (brėžinyje neparodyta). Ši žarna (9) yra prijungta prie kaniulės (4) galo, priešingo galui, kuris yra įvestas į antgalį (3). Prie žarnos prijungtas kaniulės galas yra sujungtas su pneumatinės pavaros (5) stūmokliu (7). Antgalio (3) šoniniame paviršiuje yra suformuoti plyšiai (10) su įžambiomis pertvaromis (11) tarp minėtų plyšių (10). Pertvaros (11) padidina antgalio (3) standumą lenkimo apkrovoms ir pagerina siurbiamo riebalinio audinio patekimą prie kaniulės (4) bei jo smulkinimą. Kaniulės (4) slenkamajam-grįžtamajam judesiui sužadinti, į pneumatinės pavaros cilindrą (5), per slėgio valdiklį (12) ir oro skirstytuvą (13) su dažnio generatoriumi (14) yra paduodamas kintamo slėgio oras, kuris švirkšto stūmokliui (7) suteikia judesį į vieną pusę, o atgal, slėgiui sumažėjus, stūmoklį (7) gražina prie jo prijungta spyruoklė (15). Tokiu būdu stūmoklio (7) poslinkio, o tuo pačiu ir kaniulės (4) slenkamojo-grįžtamojo judesio, amplitudė yra valdoma keičiant paduodamo į švirkštą oro slėgio valdikliu (12), o kaniulės slenkamojo-grįžtamojo judesio dažnis yra reguliuojamas dažnio generatoriumi (14), kuris valdo oro skirstytuvą (13).

[0022] Antgalyje (3) suformuotų plyšių (10) plotis b yra lygus pusei kaniulės (4) skersmens d, iki susiaurėjimo, ties galu su prijungta žarna (9). Antgalyje (3) suformuotos kiekvienos įžambios pertvaros (11) plotis c yra tris kartus, arba daugiau, didesnis už kaniulės (4) skersmenį d, iki susiaurėjimo, ties galu su prijungta žarna (9).

[0023] Plyšių ir pertvarų pasvirimo kampas α, nuo antgalio (3) laisvo priekio, yra 30–45 laipsnių.

[0024] Palyginus su analogais, aprašytas riebalų nusiurbimo įrenginys padidina riebalų nusiurbimo efektyvumą, sumažina paciento traumavimą bei chirurgo fizinės energijos, reikalingos atlikti operaciją, poreikį. Supaprastinta įrankio sterilizacija yra užtikrinama naudojant tokią pneumatinę pavarą kaip vienkartinis plastikinis švirkštas, kuris pilnai ir paprastai išsiardo.

[0025] Nors išradimo aprašyme buvo išvardinta daugybė charakteristikų ir privalumų, kartu su išradimo struktūrinėmis detalėmis ir požymiais, aprašymas yra pateikiamas kaip pavyzdinis išradimo išpildymas. Gali būti atlikti pakeitimai detalėse, ypatingai medžiagų formoje, dydyje ir išdėstyme nenutolstant nuo išradimo principų, vadovaujantis plačiausiai suprantamomis apibrėžties punktuose naudojamų sąvokų reikšmėmis.

Apibrėžtis

1. Riebalų nusiurbimo įrenginys apimantis korpusą, riebalų nusiurbimo kaniulę, kaniulės talpinimo antgalį su riebalinio sluoksnio praleidimo plyšiu šone, b e s i s k i r i a n t i s tuo, kad prie korpuso (1) galo yra standžiai pritvirtintas cilindrinis antgalis (3) su jo viduje paslankiai patalpinta kaniule (4),

taip pat, tuo, kad prie korpuso (1) yra pritvirtinta pneumatinė pavara (5), kurios stūmoklio laisvasis galas yra sujungtas su kaniule (4),

ir tuo, kad cilindrinio antgalio (3) šone yra suformuoti keli riebalinio sluoksnio praleidimo plyšiai (10), tarp kurių yra suformuotos įžambios pertvaros (11), kur kaniulės riebalinio sluoksnio atsiurbimo galas su skylėmis (8) yra išdėstytas ties minėtais plyšiais (10).

2. Riebalų nusiurbimo įrenginys, pagal 1 punktą, b e s i s k i r i a n t i s tuo, kad antgalyje (3) suformuotų plyšių (10) plotis b yra lygus pusei kaniulės (4) skersmens d, iki susiaurėjimo, ties galu su prijungta žarna (9), antgalyje (3) suformuotos kiekvienos įžambios pertvaros (11) plotis c yra tris kartus, arba daugiau, didesnis už kaniulės (4) skersmenį d, iki susiaurėjimo, ties galu su prijungta žarna (9), o plyšių ir pertvarų pasvirimo kampas α, nuo antgalio (3) laisvo priekio, yra 30–45 laipsnių.

Brėžiniai