LT6969B

SKAITMENINIO VAIZDAVIMO BŪDAS IR SISTEMA

DIGITAL DISPLAY SYSTEM AND METHOD

Referatas

[LT] Skaitmeninio vaizdavimo būdas ir sistema, apima skaitmeninių turinių suderintą rodymą, grupei (G) priklausančiais, skaitmeninio vaizdavimo įrenginiais (2), skaitmeninių turinių apibrėžiamą grojaraščiuose, kurie yra saugomi kiekviename iš skaitmeninio vaizdavimo įrenginių; šį būdą apima: - vedlio tarp grupėje esančių skaitmeninio vaizdavimo įrenginių išrinkimą, taikant sutartinę žingsnių seką; - kiekvieno skaitmeninio turinio, kurį apibrėžia kiekvieno grupėje esančio skaitmeninio vaizdavimo įrenginio grojaraštis, rodymo pradžios laiko nustatymą pagal vedlio kitiems grupėje esantiems skaitmeninio vaizdavimo įrenginiams siunčiamus sinchronizavimo pranešimus.

[EN] Digital display method for displaying digital contents in a coordinated manner by digital display devices (2) belonging to a group (G), the digital contents being defined in playlists stored by each of the digital display devices, the method including: - electing a leader among said digital display devices of the group, using a consensus algorithm; - determining from synchronization messages sent by the leader to the other digital display devices of the group, a display starting time for each digital content defined by the playlist of each device of digital display of the group.

Aprašymas

[0001] TECHNIKOS SRITIS

[0002] Šiame išradimo aprašyme pateikiamos skaitmeninio vaizdavimo būdai ir sistemos.

[0003] TECHNIKOS LYGIS

[0004] Yra žinomi skaitmeninio vaizdavimo būdai, leidžiantys skaitmeninio vaizdavimo įrenginiams, skaitmeninių vaizdavimo įrenginių grupei suderintai rodyti skaitmeninius turinius; paprastai skaitmeninio vaizdo įrenginių grupę vienu metu mato ta pati stebėjimo priemonė. Šiuose žinomuose skaitmeninio vaizdavimo būduose paprastai yra naudojamas centrinis serveris, kuris sinchronizuoja grupėje esančių skaitmeninio vaizdavimo įrenginių ekrano vaizdus. Šio ankstesnio žinomo prototipo pavyzdys yra pateiktas EP1649355 dokumente.

[0005] Šio prototipo trūkumas yra tai, kad jis ypač priklauso nuo gero skaitmeninio vaizdavimo įrenginių ryšio, nėra pakankamai efektyvus, kad būtų užtikrintas tinkamas įvairių grupėje esančių skaitmeninio vaizdo įrenginių rodomo skaitmeninių turinių vaizdo suderinimas, ypač kai minėtuose grupėje esančiuose skaitmeninio vaizdavimo įrenginiuose nėra stipraus tinklinio ryšio.

[0006] IŠRADIMO ESMĖ

[0007] Šio išradimo aprašymo tikslas - pagerinti šių būdų efektyvumą, būtent, kad būtų užtikrintas tinkamas įvairių grupėje esančių skaitmeninio vaizdo įrenginių rodomo skaitmeninių turinių vaizdo suderinimas, net kai ir minėtuose grupėje esančiuose skaitmeninio vaizdavimo įrenginiuose nėra stipraus tinklinio ryšio.

[0008] Šiuo tikslu aprašyme pateikiamas skaitmeninio vaizdavimo būdas, skirtas skaitmeniniams turiniams suderintai rodyti grupei priklausančiais skaitmeninio vaizdavimo įrenginiais, skaitmeniniai turiniai yra apibrėžiami grojaraščiuose, kurie yra saugomi kiekviename iš skaitmeninio vaizdavimo įrenginių; šį būdą apima:

[0009] - grupinių skaitmeninio vaizdavimo įrenginių atliekamas vedlio (ang. leader) tarp grupėje esančių skaitmeninio vaizdavimo įrenginių išrinkimą, taikant sutartinę žingsnių seką;

[0010] - kiekvieno skaitmeninio turinio, kurį apibrėžia kiekvieno grupėje esančio skaitmeninio vaizdavimo įrenginio grojaraštis, rodymo pradžios laiko nustatymą pagal vedlio kitiems grupėje esantiems skaitmeninio vaizdavimo įrenginiams siunčiamus sinchronizavimo pranešimus.

[0011] Šių pritaikymo priemonių dėka siūlomas skaitmeninio vaizdavimo būdas yra ypač patikimas ir atsparus ryšio problemoms.

[0012] Įvairiuose skaitmeninio vaizdavimo būdo išradimo realizavimo pavyzdžiuose galima panaudoti vieną ir (arba) kitą iš šių pritaikymo variantų (vieną atskirai arba visais tarpusavio deriniais, galimybė ir nepriklausomai nuo aukščiau minėtų pritaikymo variantų):

[0013] - sutartinė žingsnių seka yra RAFT žingsnių seka;

[0014] - grupėje esančius skaitmeninio vaizdavimo įrenginius vienu metu mato ta pati stebėjimo priemonė;

[0015] - atitinkamų skaitmeninių turinių, kuriuos apibrėžia grupėje esančių skaitmeninio vaizdavimo įrenginių grojaraščiai, rodymo pradžios laikai yra arba identiški, arba paslinkti laike iš anksto nustatytu žingsniu;

[0016] - tarp grupėje esančių skaitmeninio vaizdavimo įrenginių siunčiamų pranešimų tikrumas patvirtinamas skaitmeniniu parašu;

[0017] - tarp grupinėje esančių skaitmeninio vaizdavimo įrenginių siunčiami pranešimai turi laiko žymą, o skaitmeninis parašas yra įvertinamas atsižvelgiant į laiko žymą;

[0018] - tarp grupėje esančių skaitmeninio vaizdavimo įrenginių siunčiami pranešimai turi laiko žymą, o kiekvienas grupėje esantis skaitmeninio vaizdavimo įrenginys, kuris gauna pranešimą iš kito grupėje esančio skaitmeninio vaizdavimo įrenginio, apskaičiuoja skirtumą tarp gauto pranešimo laiko žymos ir esamo laiko, o jei skirtumas viršija iš anksto nustatytą slenkstinę ribą, tai gautas pranešimas atmetamas;

[0019] - tarp grupėje esančių skaitmeninio vaizdavimo įrenginių siunčiami pranešimai nėra užšifruoti, o tai apima palankias sąlygas operacijoms realiuoju laiku ir leidžia pasiekti puikų sinchronizavimą, nepažeidžiant saugumo, o saugumas užtikrinamas elektroniniu parašu, kurį gali sutvirtinti laiko žyma;

[0020] - grupėje esančių skaitmeninio vaizdavimo įrenginių tarpusavio ryšys vyksta pagal vartotojo duomenų diagramos protokolą (User Datagram Protocol (UDP)), sinchronizavimo pranešimai leidžia sinchronizuoti su mažesne nei 1 ms paklaida tarp grupėje esančių skaitmeninio vaizdavimo įrenginių, neskaitant vidinės tinklo delsos;

[0021] - grupėje esantys skaitmeninio vaizdavimo įrenginiai priklauso skaitmeninio vaizdavimo įrenginių rinkiniui, kuris taip pat apima minėtajai grupei nepriklausančius skaitmeninio vaizdavimo įrenginius; būdas taip pat apima:

[0022] - centrinės platformos atliekamą nuolatinį minėtajai grupei priklausančiame rinkinyje esančių skaitmeninio vaizdavimo įrenginių sąrašo atnaujinimą;

[0023] - asikartojantį rinkinyje esančių skaitmeninio vaizdavimo įrenginių minėtąja centrine platforma atnaujinimą, kad kiekvieno rinkinyje esančio skaitmeninio vaizdavimo įrenginio atmintyje būtų dalis informacijos, nurodančios, ar jis priklauso grupei, ir kad kiekvieno grupėje esančio skaitmeninio vaizdavimo įrenginio atmintyje būtų minėtojoje grupėje esančių skaitmeninio vaizdavimo įrenginių sąrašas;

[0024] – būdas taip pat apima: rinkinyje esančių skaitmeninio vaizdavimo įrenginių per centrinę platformą informavimą apie skaitmeninius turinius, kuriuos jie turi paleisti;

[0025] – šis būdas taip pat apima:

[0026] - grojaraščių minėtąja platforma formavimą pagal vaizdines reklamas, kiekviename grojaraštyje yra informacija, kuri reikalinga, kad vienas ar keletas minėtųjų skaitmeninio vaizdavimo įrenginių rodytų minėtuosius skaitmeninius turinius nuosekliais laiko intervalais;

[0027] - pakartotinį rinkinyje esančių skaitmeninio vaizdavimo įrenginių minėtąja centrine platforma atnaujinimą, kad kiekvieno skaitmeninio vaizdavimo įrenginio atmintyje būtų atnaujintas grojaraštis, kurį jam suformavo minėtoji centrinė platforma.

[0028] Be to, šis aprašymas taip pat taikomas skaitmeninio vaizdavimo sistemai, kuri apima skaitmeninio vaizdavimo įrenginius, bent kelis minėtuosius grupei priklausančius skaitmeninio vaizdavimo įrenginius, grojaraščiuose apibrėžiamus skaitmeninius turinius savo atmintyje išsaugo kiekvienas iš skaitmeninio vaizdavimo įrenginių, grupėje esantys skaitmeninio vaizdavimo įrenginiai yra pritaikyti:

[0029] - naudojant sutartinę žingsnių seką išrinkti vedlį tarp grupėje esančių minėtųjų skaitmeninių įrenginių, minėtasis vedlys yra pritaikytas siųsti sinchronizavimo pranešimus kitiems grupėje esantiems skaitmeninio vaizdavimo įrenginiams;

[0030] - pagal sinchronizavimo pranešimus nustatyti kiekvieno skaitmeninio turinio, kurį apibrėžia kiekvieno grupėje esančio skaitmeninio vaizdavimo įrenginio grojaraštis, rodymo pradžios laiką.

[0031] Įvairiuose skaitmeninio vaizdavimo sistemos išradimo realizavimo pavyzdžiuose galima panaudoti vieną ir (arba) kitą iš šių pritaikymo variantų (vieną atskirai arba visais tarpusavio deriniais, galimybė ir nepriklausomai nuo aukščiau minėtų pritaikymo variantų):

[0032] - sutartinė žingsnių seka yra RAFT žingsnių seka;

[0033] - grupėje esančius skaitmeninio vaizdavimo įrenginius vienu metu mato ta pati stebėjimo priemonė;

[0034] - atitinkamų skaitmeninių turinių, kuriuos apibrėžia grupėje esantys skaitmeninio vaizdavimo įrenginio grojaraščiai, rodymo pradžios laikai yra arba identiški, arba paslinkti laike iš anksto nustatytu žingsniu;

[0035] - tarp grupėje esančių skaitmeninio vaizdavimo įrenginių siunčiamų pranešimų tikrumas patvirtinamas skaitmeniniu parašu;

[0036] - tarp grupėje esančių skaitmeninio vaizdavimo įrenginių siunčiami pranešimai turi laiko žymą, o skaitmeninis parašas yra įvertinamas atsižvelgiant į laiko žymą;

[0037] - tarp grupėje esančių skaitmeninio vaizdavimo įrenginių siunčiami pranešimai turi laiko žymą, o kiekvienas grupėje esantis skaitmeninio vaizdavimo įrenginys, kuris gauna pranešimą iš kito grupėje esančio skaitmeninio vaizdavimo įrenginio, yra pritaikytas:

[0038] - apskaičiuoti skirtumą tarp gauto pranešimo laiko žymos ir esamo laiko, ir

[0039] - jei skirtumas viršija iš anksto nustatytą slenkstinę ribą, tai gautą pranešimą atmesti;

[0040] - tarp grupėje esančių skaitmeninio vaizdavimo įrenginių siunčiami pranešimai nėra užšifruoti, o tai sudaro palankias sąlygas operacijoms realiuoju laiku ir leidžia pasiekti puikų sinchronizavimą, nepažeidžiant saugumo, o saugumas užtikrinamas elektroniniu parašu, kurį gali sutvirtinti laiko žyma;

[0041] - grupėje esančių skaitmeninio vaizdavimo įrenginių tarpusavio ryšys vyksta pagal UDP protokolą, sinchronizavimo pranešimai leidžia sinchronizuoti su mažesne nei 1 ms paklaida tarp grupėje esančių skaitmeninio vaizdavimo įrenginių, neįskaitant vidinės tinklo delsos;

[0042] - grupėje esantys skaitmeninio vaizdavimo įrenginiai priklauso skaitmeninio vaizdavimo įrenginių rinkiniui, kuris taip pat apima minėtajai grupei nepriklausančius skaitmeninio vaizdavimo įrenginius; sistema taip pat apima centrinę platformą, kuri pritaikyta nuolat atnaujinti minėtajai grupei priklausančiame rinkinyje esančių skaitmeninio vaizdavimo įrenginių sąrašą, sistema yra pritaikyta pakartotinai atnaujinti minėtąja centrine platforma rinkinyje esančius skaitmeninio vaizdavimo įrenginius, kad kiekvieno rinkinyje esančio skaitmeninio vaizdavimo įrenginio atmintyje būtų dalis informacijos, nurodančios, ar jis priklauso grupei, ir kad kiekvieno grupėje esančio skaitmeninio vaizdavimo įrenginio atmintyje būtų minėtojoje grupėje esančių skaitmeninio vaizdavimo įrenginių sąrašas;

[0043] - centrinė platforma taip pat yra pritaikyta informuoti rinkinyje esančius skaitmeninio vaizdavimo įrenginius, kokius skaitmeninius turinius jie turi paleisti;

[0044] - minėtoji platforma yra pritaikyta suformuoti grojaraščius pagal vaizdines reklamas, kiekviename grojaraštyje yra informacija, kuri reikalinga, kad vienas ar keletas minėtųjų skaitmeninio vaizdavimo įrenginių rodytų minėtuosius skaitmeninius turinius nuosekliais laiko intervalais;

[0045] ir sistema yra pritaikyta pakartotinai atnaujinti rinkinyje esančius skaitmeninio vaizdavimo įrenginius minėtąja centrine platforma, kad kiekvieno skaitmeninio vaizdavimo įrenginio atmintyje būtų atnaujintas grojaraštis, kurį jam suformavo minėtoji centrinė platforma.

[0046] TRUMPAS BRĖŽINIŲ APRAŠYMAS

[0047] Kitos skaitmeninio vaizdavimo būdo ir skaitmeninio vaizdavimo sistemos ypatybės ir pranašumai yra atskleidžiami tolimesniame vienos iš jų realizavimo formų, kurie yra neapribojantys pavyzdžiai, su nuoroda į pridėtus brėžinius, aprašyme.

[0048] Brėžiniuose:

[0049] 1 pav. principinė skaitmeninio vaizdavimo sistemos pagal išradimo realizavimo formą schema.

[0050] 2 pav. principinė 1 pav. pateiktos sistemos skaitmeninio vaizdavimo įrenginio schema.

[0051] 3 pav. principinė 2 pav. pateiktam skaitmeninio vaizdavimo įrenginiui priklausančio sinchronizavimo modulio schema.

[0052] DETALUS APRAŠYMAS

[0053] Skirtinguose paveikslėliuose tokie patys nuorodiniai ženklai žymi identiškus arba panašius elementus.

[0054] 1 pav. parodyta skaitmeninio vaizdavimo įrenginių 2 rinkinį apimanti skaitmeninio vaizdavimo sistema 1. Joje gali būti daug skaitmeninio vaizdavimo įrenginių, galimai keletas tūkstančių, kurie gali būti pasiskirstę plačioje geografinėje teritorijoje. Atitinkami skaitmeninio vaizdavimo įrenginiai 2 apima skaitmeninio vaizdavimo įrenginių 2, kurių ekranų vaizdai turi būti suderinti, grupę G. Sistemoje 1 gali būti keletas grupių G.

[0055] Tos pačios grupės G skaitmeninio vaizdavimo įrenginius 2 paprastai vienu metu mato ta pati stebėjimo priemonė.

[0056] Kaip parodyta 2 pav., kiekvienas skaitmeninio vaizdavimo įrenginys 2 (DISP) apima tokį valdymo prietaisą 3 (CTRL) kaip mikrokompiuteris ar pan., kuris valdo skaitmeninį ekraną 4.

[0057] Valdymo įrenginiu 3 aktyvuojamas skaitmeninio turinio grotuvas 5 (PL) (valdymo įrenginiu 3 valdomas programinės įrangos modulis) ir taip pat sinchronizavimo programinės įrangos modulis 6 (SYNC).

[0058] Kaip pateikta 1 pav., skaitmeninio vaizdavimo sistema 1 taip pat apima centrinę platformą 7 (PL SERV), kuri yra bendra aukščiau minėtiems skaitmeninio vaizdavimo įrenginiams 2. Grojaraščių generavimo platforma 7 yra programinės įrangos paketas, kurį galima paleisti viename ar keliuose serveriuose.

[0059] Centrinė platforma 7 yra pritaikyta informuoti skaitmeninio vaizdavimo įrenginius 2, kokius skaitmeninius turinius jie turi paleisti, grojaraščiuose apibrėžtus turinius atitinkamai išsaugo skaitmeninio vaizdavimo įrenginiai 2. Aptariamame pavyzdyje centrinė platforma 7 gali formuoti grojaraščius ir perduoti juos į skaitmeninio vaizdavimo įrenginius 2, tačiau skaitmeninio vaizdavimo įrenginiai 2 taip pat turi galimybę patys nustatyti grojaraščius pagal iš centrinės platformos 7 gautą informaciją.

[0060] Centrinė grojaraščių generavimo platforma 7 gali aktyvuoti variklį 8 (ENG), kuris formuoja turinių sąrašus ir atsisiuntimo aprašus (ang. manifests), kaip bus išsamiai paaiškinta toliau.

[0061] Kiekvieno skaitmeninio vaizdavimo įrenginio 2 sinchronizavimo modulis 6 palaiko ryšį su centrine platforma 7 ir, pagal poreikį, su kitais galimai esančiais Internete 9 (INT) ištekliais. Pateiktame išradimo realizavimo pavyzdyje skaitmeninio vaizdavimo įrenginiai 2 palaiko ryšį su centrine platforma 7 ir kitais minėtaisiais ištekliais interneto vietoje mažiausiai vieną įgaliotąjį serverį (PROX) 9.

[0062] Šis ryšys gali būti vykdomas per bet kurį platųjį tinklą (WAN). Pavyzdžiui, daugumoje atvejų šis ryšys gali vykti mobiliojo telefono tinklu (plačiajuosčiu mobiliuoju tinklu, pvz. 3G arba 4G tipo). Galimos ir bet kokios kitos ryšio perdavimo priemonės.

[0063] Variklis 8 yra pritaikytas formuoti grojaraščius pagal transliuojamas vaizdines reklamas pakartotinai ir (arba) priklausomai nuo sukeltų atitinkamų įvykių (programavimo, turinio ir t.t. pakeitimai). Šis grojaraščių formavimas atliekamas pagal reklamuotojų rezervacijas skirtingų vaizdavimo įrenginių 2 atžvilgiu pagal skaitmeninius turinius, kurie turi būti paleidžiami šioms vaizdinėms reklamoms, ir pagal turimus skaitmeninius vaizdavimo įrenginius.

[0064] Kiekvieną grojaraštį paleidžia vienas ar keli minėtieji skaitmeninio vaizdavimo įrenginiai 2.

[0065] Kiekviename grojaraštyje gali būti bent vienas iš skaitmeninio turinio identifikatorių rinkinių, kuris turi būti nuosekliai paleidžiamas per vieną ar daugiau iš anksto nustatytų laikotarpių, šiems skaitmeniniams turiniams yra priskirti nuoseklūs laiko intervalai. Šie laiko intervalai gali būti vienodos arba nevienodos trukmės. Šių laiko intervalų trukmė T gali būti nuo 5 iki 20 s, pavyzdžiui 10 s.

[0066] Pagal išradimo realizavimo pavyzdį, grojaraštyje nėra skaitmeninių turinių įkelties adresų ar skaitmeninių turinių skaitmeninio kontrolinio kodo, kadangi tai yra mažo duomenų kiekio dokumentas.

[0067] Variklis 8 taip pat yra pritaikytas pakartotinai ir (arba) pagal atitinkamus operacinius įvykius (programavimo, turinio ir t.t. pakeitimai) suformuoti kiekvienam skaitmeninio vaizdavimo įrenginiui skirtą atsisiuntimo aprašą, sudarytą iš bent jau įkelties sąraše nurodytų skaitmeninių turinių įkelties adresų. Kiekviename atsisiuntimo apraše papildomai gali būti kiekvienam skaitmeniniam turiniui skirtas grojaraštyje esantis identifikatorius.

[0068] Kiekviename atsisiuntimo apraše taip pat gali būti mažiausiai vienas jame nurodomo kiekvieno skaitmeninio turinio nuorodinis skaitmeninis kontrolinis kodas. Remiantis pirmuoju pavyzdžiu, skaitmeniniu kontroliniu kodu gali būti kontrolinė suma, pvz. "MD5” tipo. Remiantis antruoju pavyzdžiu, skaitmeniniu kontroliniu kodu gali būti "GPG" tipo skaitmeninis parašas. Remiantis trečiuoju pavyzdžiu, atsisiuntimo apraše gali būti du, kiekvienam skaitmeniniam turiniui skirti, nuorodiniai skaitmeniniai kontroliniai kodai, konkrečiai, pavyzdžiui "MD5” tipo kontrolinė suma arba sudėtingesnis, pavyzdžiui, "GPG" tipo, skaitmeninis parašas.

[0069] Dažnumas, kuriuo variklis 8 suformuoja grojaraščius ir atsisiuntimo aprašus, gali skirtis priklausomai nuo to, kaip greitai reklamuotojai gauna naujas rezervacijas arba jas keičia. Šis dažnumas gali siekti vieną kartą per kelias minutes ar net dažniau, turint omenyje, kad dalis rezervacijų gali būti atlikta automatiniuose internetiniuose aukcionuose. Kai kurie grojaraščiai atnaujinami nekeičiant atsisiuntimo aprašo, kai pakeitimai susiję, pavyzdžiui, su skaitmeninių turinių paleidimo tvarka ar dažnumu, arba su skaitmeninių turinių paleidimo sąlygomis.

[0070] Skaitmeninio vaizdavimo įrenginių 2 sinchronizavimo moduliai 6 yra pritaikyti jų grojaraščiams ir atsisiuntimo aprašams atnaujinti iš variklio 8.

[0071] Atnaujinimas gali apimti šiuos etapus:

[0072] c1) Vaizdavimo įrenginio 2 sinchronizavimo modulio 6, užklausos siuntimą iš anksto nustatytais intervalais, atliekant variklio 8 apklausą, kad nustatytų, ar variklyje 8 yra naujas grojaraštis ir (arba) naujas atsisiuntimo aprašas, atitinkantis skaitmeninį vaizdavimo įrenginį 2. Variklio 8 apklausos dažnumas gali būti pastovus (pvz., kas kelias minutes) arba nustatomas pagal anksčiau atsisiųstą iš variklio 8 grojaraštį ir (arba) atsisiuntimo aprašą. Pavyzdžiui, variklio 8 apklausos dažnumas gali būti pastovus (pvz., kas kelias minutes, o konkrečiai kas 5 minutes), o variklio 8 apklausos dėl atsisiuntimo aprašų dažnumas gali būti įtrauktas į grojaraščius. Grojaraščiai ir atsisiuntimo aprašai gali būti pažymėti laiko žymomis, o norint nustatyti, ar variklyje 8 yra naujas, skaitmeninio vaizdavimo įrenginį 2 atitinkantis grojaraštis, sinchronizavimo modulis 6 gali nusiųsti varikliui 8 užklausą, kad gautų skaitmeninio vaizdavimo įrenginiui 2 galiojančio grojaraščio laiko žymą. Jei ši laiko žyma naujesnė už skaitmeninio vaizdavimo įrenginio 2 atsisiųsto paskutinio grojaraščio laiko žymą, tuomet nustatoma, kad variklyje 8 yra naujas, skaitmeninį vaizdavimo įrenginį 2 atitinkantis, grojaraštis. Tokia pati procedūra bus taikoma ir atsisiuntimo aprašams.

[0073] c2) Jei nustatoma, kad variklyje 8 yra naujas, skaitmeninio vaizdavimo įrenginį 2 atitinkantis, grojaraštis ir arba naujas atsisiuntimo aprašas, tai sinchronizavimo modulis 6 iš variklio 8 įkelia naują grojaraštį ir (arba) naują atsisiuntimo aprašą (nusiųsdamas užklausą, kuria prašoma naujo grojaraščio ir (arba) atsisiuntimo aprašo).

[0074] c3) Jei iš serverio 8 buvo įkeltas naujas atsisiuntimo aprašas, tai skaitmeninio vaizdavimo įrenginio 2 sinchronizavimo modulis 6 nustato, koks (-ie) naujas (-i) skaitmeninis (-iai) turinys (-iai) yra nurodytas (-i) naujame atsisiuntimo apraše; Toks nustatymas gali būti atliekamas, pavyzdžiui, atsisiuntimo apraše nurodytą nuorodinį skaitmeninį kontrolinį kodą palyginus su skaitmeninio vaizdavimo įrenginio 2 atmintyje jau esančiais skaitmeninių turinių skaitmeniniais kontroliniais kodais.

[0075] c4) Skaitmeninio vaizdavimo įrenginio sinchronizavimo modulis 6 atsisiunčia naują (-us) skaitmeninį (-ius) turinį (-ius) iš URL adreso (-ų), kuris (-ie) atitinka kiekvieną naujame atsisiuntimo apraše nurodytą skaitmeninį turinį. Paprastai atsisiuntimas gali vykti Internetu. Aptariami URL adresai gali atitikti grojaraščių generavimo platformą 7, kitą grojaraščių generavimo platformos 7 operatoriui būdingą serverį arba kitą adresą internete.

[0076] Kiekvieno skaitmeninio vaizdavimo įrenginio 2 grotuvas 5 yra pritaikytas skaityti galiojantį grojaraštį atitinkančius skaitmeninius turinius (paskutinis grojaraštis, kurį įkėlė sinchronizavimo modulis 6) ir rodyti šiuos skaitmeninius turinius skaitmeninio vaizdavimo įrenginio 2 skaitmeniniame ekrane 4.

[0077] Kiekvieno skaitmeninio vaizdavimo įrenginio 2 sinchronizavimo modulis (c1) ir (c2) etapuose visada siunčia savo užklausas tuo pačiu URL adresu, kuris priskirtas skaitmeninio vaizdavimo įrenginiui 2.

[0078] Sinchronizavimo modulis 6 ir variklis 8 (c1) ir (c2) etapuose gali efektyviau palaikyti ryšį užšifruota forma, pavyzdžiui, naudojant "https” protokolą.

[0079] Skaitmeninio vaizdavimo įrenginio (2) sinchronizavimo modulis 6 gali (c4) etape nustatyti apskaičiuotą atsisiųsto naujo skaitmeninio turinio skaitmeninį kontrolinį kodą, patikrinti apskaičiuoto skaitmeninio kontrolinio kodo atitiktį atsisiuntimo apraše esančiam nuorodiniam skaitmeniniam kontroliniam kodui ir patvirtinti nusiųstą skaitmeninį turinį, tik jei apskaičiuotas skaitmeninis kontrolinis kodas atitinka nuorodinį skaitmeninį kontrolinį kodą. Jei atsisiųstas skaitmeninis turinys nepatvirtinamas, jis yra sunaikinamas. Jei nusiuntimo apraše yra du (ar daugiau) mažiausiai keliems skaitmeniniams turiniams taikomi skaitmeniniai kontroliniai kodai, skirtingų skaitmeninio turinio kontrolinių kodų tikrumas gali būti patvirtinimas nuosekliai arba lygiagrečiai.

[0080] Skaitmeninio vaizdavimo įrenginio 2 sinchronizavimo modulis 6 gali (c4) etape atsisiųsti naujus skaitmeninius turinius neužšifruota forma, pavyzdžiui, naudojant "http" protokolą.

[0081] Skaitmeninio vaizdavimo įrenginio 2 sinchronizavimo modulis 6 gali (c4) etape, pagal vieną išradimo realizavimo pavyzdį, atsisiųsti naujus skaitmeninius turinius dalimis.

[0082] Be to, centrinė platforma 7 yra pritaikyta varikliu 8 nuolat atnaujinti minėtajai grupei G priklausančioje sistemoje esančių skaitmeninio vaizdavimo įrenginių 2 sąrašą, pavyzdžiui, pagal sistemos naudotojo vadovo 1 įvestas konfigūracijos modifikacijas.

[0083] Variklis 8 yra taip pat pritaikytas informuoti kiekvieną grupei G galimai priklausantį skaitmeninio vaizdavimo prietaisą 2 (siunčiant grupės identifikatorių) ir kitus tai pačiai grupei G priklausančius skaitmeninio vaizdavimo įrenginius. Šią informacijos dalį galima perduoti į kiekvieno skaitmeninio vaizdavimo įrenginio 2 sinchronizavimo modulį 6 grojaraščiuose arba, atskirai, konfigūravimo informacijoje. Šios informacijos perdavimą galima atlikti abiem atvejais vykdant sinchronizavimo modulio 6 atnaujinimo užklausą, kaip paaiškinta anksčiau.

[0084] Toje pačioje grupėje G esantys skaitmeninio vaizdavimo įrenginiai 2 yra pritaikyti išrinkti vedlį tarp grupėje G esančių minėtųjų skaitmeninių įrenginių 2 taikant sutartinę žingsnių seką, minėtasis vedlys yra pritaikytas siųsti sinchronizavimo pranešimus kitiems grupėje G esantiems skaitmeninio vaizdavimo įrenginiams 2 (sekikliams);

[0085] Sutartinė žingsnių seka gali būti RAFT žingsnių seka.

[0086] Sutartinė žingsnių seka gali reguliariai atnaujinti, kiekvieno skaitmeninio vaizdavimo įrenginio 2 atžvilgiu, atitinkamą grupėje G esančių skaitmeninio vaizdavimo įrenginių 2 kiekį pagal neseniai gautus pranešimus iš grupėje G esančių skaitmeninio vaizdavimo įrenginių 2 (pavyzdžiui pagal pastarųjų 10 - 60 s laikotarpyje gautus pranešimus).

[0087] Vedlio išrinkimo procesas gali būti pakartojamas, pavyzdžiui, jei vienas iš sekiklių negavo iš vedlio jokių pranešimų per iš anksto nustatytą laiką.

[0088] Informacijos mainus tarp grupėje G esančių skaitmeninio vaizdavimo įrenginių 2 galima atlikti pagal UDP protokolą, kuris leidžia operacijų realiuoju laiku arba kvazi-realiuoju laiku vykdymą. Sinchronizavimo lygis tarp grupėje G esančių skaitmeninio vaizdavimo įrenginių 2 gali vykti iki maždaug milisekundės ar mažiau (neskaitant vidinės delsos ryšių tinkle, kuriuo palaikomas ryšys tarp grupėje G esančių skaitmeninio vaizdavimo įrenginių 2).

[0089] Tarp grupėje G esančių skaitmeninio vaizdavimo įrenginių 2 siunčiamų pranešimų tikrumas geriausiai gali būti patvirtinamas skaitmeniniu parašu.

[0090] Skaitmeninis parašas gali būti, pavyzdžiui, "HMAC" tipo, konkrečiai "HMAC-SHA-256".

[0091] Tarp grupėje G esančių skaitmeninio vaizdavimo įrenginių 2 siunčiami pranešimai gali būti taip pat paženklinti laiko žyma, o skaitmeninis parašas įvertinamas atsižvelgiant į laiko žymą.

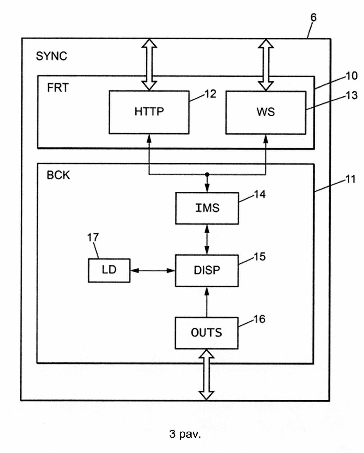
[0092] Skaitmeninis parašas gali būti įvertinamas pagal slaptojo pasirašymo raktą, kuris yra bendras grupėje G esantiems skaitmeninio vaizdavimo įrenginiams 2.

[0093] Parašo tikrumo nustatymas leidžia užkirsti kelią skaitmeninio vaizdavimo įrenginių 2 grupės G saugumo pažeidimui nuo trečiųjų šalių vykdomų perėmimo bandymų ar kitų kenkėjiškų veiksmų.

[0094] Laiko žyma taip pat suteikia papildomą saugumo lygį: grupėje G esantis skaitmeninio vaizdavimo įrenginys 2, gaunantis sinchronizavimo ar kitus pranešimus iš kito skaitmeninio vaizdavimo įrenginio 2, gali palyginti gauto pranešimo laiko žymą su esamu laiku ir gautą pranešimą atmesti, jei, pavyzdžiui, skirtumas tarp dviejų laikų viršija iš anksto nustatytą slenkstinę ribą. Ši slenkstinė riba gali būti nuo 1 ms iki 1 s, pavyzdžiui 1 ms - 100 ms.

[0095] Tarp grupėje G esančių skaitmeninio vaizdavimo įrenginių 2 siunčiami pranešimai gali būti neužšifruoti. Tokiu būdu padedama skaitmeninio vaizdavimo įrenginių 2 grupei G veikti realiuoju laiku, o tai leidžia labai tiksliai sinchronizuoti skaitmeninio vaizdavimo įrenginius 2, nepažeidžiant saugumo perduodant neužšifruotus pranešimus, kadangi saugumas užtikrinamas elektroninio parašo tikrumo nustatymu, kuris gali būti užtvirtinamas laiko žyma.

[0096] Pagal kiekvieno grupėje G esančio skaitmeninio vaizdavimo įrenginio 2 sinchronizavimo pranešimus yra apibrėžiamas kiekvieno grupėje G esančio skaitmeninio vaizdavimo įrenginio 2 grojaraščio skaitmeninio turinio rodymo pradžios laikas, kad būtų suderintai rodomi visų grupėje G esančių skaitmeninio vaizdavimo įrenginių 2 ekrano vaizdai.

[0097] Dažniausiai atitinkamų skaitmeninių turinių grupėje G esančiais skaitmeninio vaizdavimo įrenginiais 2 rodymo pradžios laikai yra identiški, tačiau jie taip pat gali būti paslinkti laike iš anksto nustatytu žingsniu, kad būtų pasiektas judesio efektas arba galėtų sekti judantį vartotoją (pavyzdžiui, einant arba judant eskalatoriui). Tokiu būdu "sinchronizuoti" skaitmeniniai turiniai gali būti visiems grupėje G esantiems skaitmeninio vaizdavimo įrenginiams 2 identiški arba skirtingi.

[0098] Kaip parodyta 3 pav., sinchronizavimo modulis 6 gali apimti priekinę dalį 10 (FRT - "išorinė pusė"), palaikančią ryšį su centrine platforma 7, ir galinę dalį 11 (BCK - "vidinė pusė"), palaikančią ryšį su kitų skaitmeninio vaizdavimo įrenginių 2 sinchronizavimo moduliais 6.

[0099] Priekinėje dalyje 10 gali būti, pavyzdžiui, http serveris 12 (HTTP) ir "WebSocket" serveris 13 (WS), atitinkamai įdiegiant HTTP "API" (programų sąsaja) ir "Websocket" API. HTTP API yra naudojamas vidinės pusės 11 būsenai modifikuoti, o tuo tarpu "Websocket" API naudojamas įvykiams gauti, pavyzdžiui grojaraščių atnaujinimams ir atsisiuntimo aprašams, arba net skaitmeninio turinio transliavimo pirmumo sekai, pertraukiant tuo metu skaitmeninio vaizdavimo įrenginiu 2 transliuojamus skaitmeninius sudėtinius rodinius.

[0100] Galinė dalis 11 gali apimti:

[0101] - vidinę sąsają 14 (IMS), kuri turi ryšį su priekine dalimi 10,

[0102] - pranešimų paskirstymo modulį 15 (DISP), kuris turi ryšį su vidine sąsaja 14,

[0103] - išorinę sąsają 16 (OUTS), kuri turi ryšį su pranešimų paskirstymo moduliu 15, būtent su skaitmeninio vaizdavimo įrenginių 2 sinchronizavimo moduliais 6 (konkrečiai naudojant UDP protokolą, kaip paaiškinta aukščiau),

[0104] - RAFT modulį 17 (LD), skirtą sutartinei žingsnių sekai realizuoti.

Apibrėžtis

1. Skaitmeninio vaizdavimo būdas, skirtas skaitmeniniams turiniams suderintai rodyti grupei (G), b e s i s k i r i a n t i s tuo, kad priklausančiais skaitmeninio vaizdavimo įrenginiais (2), skaitmeniniai turiniai yra apibrėžiami grojaraščiuose, kurie saugomi kiekviename iš skaitmeninio vaizdavimo įrenginių (2),

šį būdą apima:

- grupėje (G) esančių skaitmeninio vaizdavimo įrenginių (2) atliekamas vedlio tarp grupėje (G) esančių skaitmeninio vaizdavimo įrenginių (2) išrinkimą, taikant sutartinę žingsnių seką;

- kiekvieno skaitmeninio turinio, kurį apibrėžia kiekvieno grupėje (G) esančio skaitmeninio vaizdavimo įrenginio (2) grojaraštis, rodymo pradžios laiko nustatymą, pagal vedlio kitiems grupėje (G) esantiems skaitmeninio vaizdavimo įrenginiams (2) siunčiamus sinchronizavimo pranešimus.

2. Būdas pagal 1 punktą, b e s i s k i r i a n t i s tuo, kad sutartinė žingsniu seka naudojama RAFT žingsnių seka.

3. Būdas pagal 1 arba 2 punktą, b e s i s k i r i a n t i s tuo, kad grupėje (G) esančius skaitmeninio vaizdavimo įrenginius (2) vienu metu kontroliuoja ta pati stebėjimo priemonė.

4. Būdas pagal bet kurį iš ankstesnių punktų, b e s i s k i r i a n t i s tuo, kad atitinkamų skaitmeninių turinių, kuriuos apibrėžia grupėje (G) esančių skaitmeninio vaizdavimo įrenginių (2) grojaraščiai, rodymo pradžios laikai rodomi arba identiški, arba paslenkami laike.

5. Skaitmeninio vaizdavimo sistema apima skaitmeninio vaizdavimo įrenginius (2), bent kelis, minėtus, priklausančius grupei, skaitmeninio vaizdavimo įrenginius (2), b e s i s k i r i a n t i tuo, kad grojaraščiuose apibrėžiamus skaitmeninius turinius savo atmintyje išsaugo kiekvienas iš skaitmeninio vaizdavimo įrenginių (2), grupėje (G) esantys skaitmeninio vaizdavimo įrenginiai (2),

yra pritaikyti:

- naudojant sutartinę žingsnių seką išrinkti vedlį tarp grupėje (G) esančių minėtųjų skaitmeninių įrenginių (2), minėtasis vedlys yra pritaikytas siųsti sinchronizavimo pranešimus kitiems grupėje (G) esantiems skaitmeninio vaizdavimo įrenginiams (2);

- pagal sinchronizavimo pranešimus nustato kiekvieno skaitmeninio turinio, kurį apibrėžia kiekvieno grupėje (G) esančio skaitmeninio vaizdavimo įrenginio (2) grojaraštis, rodymo pradžios laiką.

6. Sistema pagal 5 punktą, b e s i s k i r i a n t i tuo, kad sutartinė žingsnių seka, yra RAFT žingsnių seka.

7. Sistema pagal 5 arba 6 punktą, b e s i s k i r i a n t i tuo, kad grupėje (G) esančius skaitmeninio vaizdavimo įrenginius (2) vienu metu kontroliuoja ta pati stebėjimo priemonė.

8. Sistema pagal bet kurį iš 5–7 punktų, b e s i s k i r i a n t i tuo, kad atitinkamų skaitmeninių turinių, kuriuos apibrėžia grupėje (G) esančių skaitmeninio vaizdavimo įrenginių (2) grojaraščiai, rodymo pradžios laikai yra arba identiški, arba paslinkti laike.

9. Sistema pagal bet kurį iš 5–8 punktų, b e s i s k i r i a n t i tuo, kad grupės (G) skaitmeniniai vaizdavimo įrenginiai (2) yra pritaikyti siunčiamų pranešimų tikrumą patvirtinti skaitmeniniu parašu.

10. Sistema pagal 9 punktą, b e s i s k i r i a n t i tuo, kad grupės (G) skaitmeninio vaizdavimo įrenginiai (2) yra pritaikyti siųsti vienas kitam pranešimus turinčius laiko žymą, ir suskaičiuoti skaitmeninį parašą atsižvelgiant į laiko žymą.

11. Sistema pagal bet kurį iš 9 ir 10 punktų, b e s i s k i r i a n t i tuo, kad grupės (G) skaitmeniniai vaizdavimo įrenginiai (2) yra pritaikyti siųsti vienas kitam pranešimus turinčius laiko žymą, o kiekvienas grupėje (G) esantis skaitmeninio vaizdavimo įrenginys (2), kuris gauna pranešimą iš kito grupėje esančio skaitmeninio vaizdavimo įrenginio (2), yra pritaikytas:

- apskaičiuoti skirtumą tarp gauto pranešimo laiko žymos ir esamo laiko, ir

- jei skirtumas viršija iš anksto nustatytą slenkstinę ribą, tai į gautą pranešimą neatsižvelgti.

12. Sistema pagal bet kurį iš 9–11 punktų, b e s i s k i r i a n t i tuo, kad ryšyje tarp grupėje (G) esančių skaitmeninio vaizdavimo įrenginių (2) siunčiami pranešimai yra neužšifruoti.

13. Sistema pagal bet kurį iš 5–10 punktų, b e s i s k i r i a n t i tuo, kad grupėje (G) esančių skaitmeninio vaizdavimo įrenginių (2) tarpusavio ryšys vyksta pagal vartotojo duomenų diagramos protokolą (User Datagram Protocol) UDP, sinchronizavimo pranešimai leidžia sinchronizavimą su mažesne nei 5 ms paklaida tarp grupėje esančių skaitmeninio vaizdavimo įrenginių (2) neskaitant vidinės tinklo delsos.

14. Sistema pagal bet kurį iš 5–10 punktų, b e s i s k i r i a n t i tuo, kad grupėje esantys skaitmeninio vaizdavimo įrenginiai (2) priklauso skaitmeninio vaizdavimo įrenginių (2) rinkiniui, kuris taip pat apima minėtajai grupei (G) nepriklausančius skaitmeninio vaizdavimo įrenginius (2); taip pat apima centrinę platformą (7), kuri pritaikyta nuolat atnaujinti minėtajai grupei (G) priklausančiame rinkinyje esančių skaitmeninio vaizdavimo įrenginių (2) sąrašą; be to yra pritaikyta minėtąja centrine platforma (7) pakartotinai atnaujinti rinkinyje esančius skaitmeninio vaizdavimo įrenginius (2), kad kiekvieno rinkinyje esančio skaitmeninio vaizdavimo įrenginio (2) atmintyje būtų dalis informacijos, nurodančios, ar jis priklauso grupei, ir kad kiekvieno grupėje esančio skaitmeninio vaizdavimo įrenginio (2) atmintyje būtų minėtojoje grupėje (G) esančių skaitmeninio vaizdavimo įrenginių (2) sąrašas.

15. Sistema pagal 14 punktą, b e s i s k i r i a n t i tuo, kad centrinė platforma (7) taip pat yra pritaikyta informuoti rinkinyje esančius skaitmeninio vaizdavimo įrenginius (2), kokius skaitmeninius turinius jie turi paleisti.

Brėžiniai