LT7037B

ĮRENGINYS, SKIRTAS DŪMAVAMZDŽIO KATILO ŠILUMOKAIČIO VAMZDŽIŲ VIDINIŲ PAVIRŠIŲ APSAUGAI NUO KOROZIJOS IR ABRAZYVINIO DILIMO

DEVICE FOR PROTECTION OF THE INNER SURFACES OF THE PIPES OF THE FLUE PIPE HEAT EXCHANGER AGAINST CORROSION AND ABRASION WEAR

Referatas

[LT] Išradimas priklauso šiluminės technikos sričiai, šildymo katilų konstrukcijai ir skirtas katilų metalinių paviršių apsaugai nuo žemos temperatūros korozijos ir abrazyvinio dilimo. Priemonė supaprastina ir atpigina dūmavamzdžio katilo metalo vamzdžių vidinių paviršių apsaugą ir prailgina katilo eksploatavimo laikotarpį iki kito šilumokaičio vamzdžių keitimo. Katilo šilumokaičio vamzdžių viduje įrengiamas apsauginis elementas, kuris yra bent vienas vamzdžio pavidalo įdėklas, pagamintas iš korozijai atsparios medžiagos. Įdėklo išorinio paviršiaus forma atitinka šilumokaičio vamzdžio apsaugomo vidinio paviršiaus formą. Apsauginio elemento skersmuo ir tvirtinimas parinktas taip, kad įdėklą būtų galima įstatyti į apsaugomo vamzdžio vidų su galimybe jį išimti.

[EN] The invention relates to the field of thermal engineering, to the construction of heating boilers and is used for metal surfaces protection from boilers low temperature corrosion and abrasive wear. This method simplifies and reduces the protection price of the inner surfaces of the metal pipes of shell boilers and extends boilers exploitation period until the next change of heat exchanger tubes. A protective element is at least one tubular insert made of corrosion-resistant material, installed inside the boiler heat exchanger pipes. The diameter and mounting of the protective element is chosen so that the insert can be inserted inside the protected pipe with the possibility of removal.

Aprašymas

[0001] TECHNIKOS SRITIS

[0002] Išradimas priklauso šiluminės technikos sričiai, šildymo ir garo katilų konstrukcijai ir gali būti panaudotas katilų metalinių paviršių apsaugai nuo žemos temperatūros korozijos.

[0003] TECHNIKOS LYGIS

[0004] Vandens šildymo ar garo dūmų vamzdžių konstrukcijos katiluose degimo produktai iš degimo kameros (pakuros, kūryklos) patenka į katilą per atvamzdį, toliau teka kaitravamzdžiu ir posūkio kamerose srautas įteka į dūmų vamzdžius. Šios konstrukcijos katiluose dūmai teka vamzdžių vidumi, o vamzdžių išorėje yra šildomas vanduo. Tų katilų, kurių kurui naudojamos medienos atliekos ar kita biomasė (pramonės atliekos, agro atliekos ir pan.) ar kitas organinis kuras, kuriame yra rūgščių ar druskų koroziją sukeliančių medžiagų, pvz. sieros ar chloro junginių, metalas yra veikiamas korozijos iš degimo produktų pusės.

[0005] Yra dvi svarbiausios katilų metalo žemos temperatūros korozijos priežastys: sieros rūgšties (H2SO4) kondensacija ir (arba) chloro druskų nusėdimas ant vamzdžių, kuriais teka dūmai. Tose vietose, kur metalo temperatūra yra žema, ant metalo paviršiaus kondensuojasi sieros rūgšties garai ir sieros rūgštis bei reaguodama su metalu jį ardo.

[0006] Kure esantis chloras Cl yra kita korozijos priežastis. Chloras formuoja druskas – kalio chloridą KCl, kalcio chloridą CaCl2, natrio chloridą NaCl, o taip pat ir kitas chloro druskas. Visos chloro druskos yra higroskopiškos - geria drėgmę iš degimo produktų ir limpa prie santykinai šaltų katilo vamzdžių sienelių. Ten prilipusios toliau geria drėgmę ir susidaro druskų tirpalai, kurie reaguoja su vamzdžių metalo geležimi ir palaipsniui vamzdžiai suardomi - prarūdija.

[0007] Korozijos paveiktas metalo sluoksnis yra mechaniškai neatsparus ir tampa pažeidžiamas, todėl jį veikia abrazyviškai dideliu greičiu tekančiuose dūmuose esantys pelenai ir paviršius pagreitintai susidėvi.

[0008] Korozijai išvengti arba sumažinti jos intensyvumą, galima katilus gaminti iš specialaus, antikorozinių savybių turinčio plieno, sudėtyje turinčio nikelio ir chromo. Tačiau toks plienas yra keliais kartais brangesnis už įprastinį plieną. Be to toks plienas turi kitokias mechanines savybes, bei reikalauja sudėtingesnės katilo gamybos technologijos, todėl toks problemos sprendimas dėl didelės kainos nėra naudojamas.

[0009] Yra žinomas šildymo katilo žemos temperatūros metalų paviršių apsaugos nuo sieros rūgšties korozijos būdas, aprašytas Ukrainos patento paraiškos aprašyme, kurios paskelbimo Nr. UA99408 (C2), prioritetas 2011.08.23, kuris gali būti naudojamas sausumos ir jūriniuose katiluose, kuriuose deginamas sieros turintis organinis kuras. Siūlomas būdas apima katilo šildymo paviršiaus pasyvavimą padengiant metalą pasyvia apsaugine plėvele nuo sieros korozijos, kai metalo sienelės temperatūra yra žemesnė nei sieros rūgšties garų kondensacijos ("rasos taško") temperatūra. Pasyvus geležies oksidų sluoksnis naudojamas kaip apsauginė plėvelė, kuri susidaro vykstant fizikiniams-cheminiams pasyvavimo procesams per visą kondensacijos paviršių, iš anksto apdorojant degimo produktų srautą išilgai kondensacijos paviršiaus jonizuojančiu elektronų spinduliuotės pluoštu, kurio galia apie 1 Mrad, ozonu ir deginant vandens-mazuto emulsiją, kurioje vandens kiekis apie 30 %. Taip metalo paviršius yra apsaugomas labai plona pasyvia plėvele, kuri saugiai jungiasi su metalu kristalinės struktūros sluoksnyje ir pašalina tiesioginį metalo kontaktą su korozija sukeliančia terpe. Be to, apsauginė plėvelė nuolat automatiškai (natūraliai) užtikrina, kad prieš kondensaciją paviršiaus dujų sraute susidarytų ekvimolinis azoto oksidų santykis NO2:NO (50:50).

[0010] Žinomas būdas turi toliau išvardintus trūkumus.

[0011] Jonizuojančio elektronų srauto generavimui reikalinga brangi įranga;

[0012] Jonizavimo įranga naudoja brangią elektros srovę, todėl procesas yra energetiškai brangus;

[0013] Sudaroma plona apsauginė plėvelė bus mechaniškai pažeidžiama abrazyvinio degimo produktų srauto, nes biomasės ar kito kietojo kuro degimo produktuose yra pelenų, kurie tekėdami dideliu greičiu abrazyviškai veikia paviršius;

[0014] Žinomas apsaugos nuo korozijos būdas numato panaudojimą tik konkrečiam atvejui, kai deginama vandens-mazuto emulsija, kurioje yra 30 % vandens.

[0015] Kinijos patento paraiškos aprašyme, kurios paskelbimo Nr. CN112880204A, 2021.06.01 aprašytas būdas, skirtas katilo šildymo paviršiui apsaugoti nuo korozijos ir dilimo. Būdo esmė – sudaryti oro sluoksnį, kuris apsaugo paviršius nuo degimo produktų poveikio. Žinomas būdas apima tam tikro apsauginių vamzdžių skaičiaus išdėstymą, nustatomą pagal plotą, kuriame reikia apsaugoti metalo paviršius nuo dūmų. Ant kaitinimo paviršiaus arba tam tikrose zonose, kurias reikia apsaugoti, su oro užuolaidos įtaisu sudaromas apsaugantis nuo dūmų oro sluoksnis, kad būtų išvengiama tiesioginio metalo kontakto su dūmais, taip išvengiama erozinio ir korozinio susidėvėjimo ir dėl to labai pailgėja saugus įrangos eksploatavimo laikotarpis, pagerinamas katilo ar įrenginio stabilumas ir tęstinumas, ilgas gaminio tarnavimo laikas.

[0016] Žinomas būdas turi toliau išvardintus trūkumus.

[0017] Oro pasluoksnis iš esmės pablogina šilumos perdavimą nuo degimo produktų į vandeniu aušinamą katilo paviršių, dėl ko sumažėja įrangos šiluminis efektyvumas.

[0018] Atsiranda papildomos energetinės sąnaudos pūsti orą apsauginio oro sluoksnio užuolaidos sudarymui.

[0019] Dėl degimo produktų atskiedimo apsaugančiu oru, sumažėja degimo produktų temperatūra ir padidėja nuostoliai su iš katilo išeinančių dūmų šiluma, taip sumažėja katilo šiluminis efektyvumas.

[0020] Visa sistema yra sudėtinga ir praktiškai sunkiai įgyvendinama katilų dūmavamzdžiuose, kur vamzdžių kiekis siekia kelis šimtus.

[0021] Kinijos išradimo aprašyme pagal Kinijos patentą CN111286224B aprašyta aukštos temperatūros chloro korozijai atspari katilo kaitinimo paviršiaus danga ir jos paruošimo būdas. Išradimas susijęs su aukštos temperatūros chloro korozijai atsparia katilo šildymo paviršiaus danga ir jos paruošimo būdu. Danga susideda iš vidinio pereinamojo sluoksnio ir išorinio apsauginio sluoksnio, kur pereinamasis sluoksnis yra perhidropolisilazano pirmtakų kompozitinė keraminė danga, apsauginis sluoksnis yra organinė polisilazano pirmtakų kompozicinė keraminė danga, pereinamasis sluoksnis suformuotas apipurškiant plieninės matricos paviršių dangos medžiaga, sudaryta iš 60–70 % tūrio perhidropolisilazano, 10–20 % tūrio grafito miltelių ir 10–20 % tūrio butilo acetato ir po to kietinama aukštoje 200 °C temperatūroje, o apsauginį sluoksnį sudaro pereinamojo sluoksnio purškimas dangos medžiaga, kurią sudaro 20–25 tūrio % organinio polisilazano, 25–30 % tūrio bario stiklo miltelių, 15–20 tūrio % cirkonio oksido, 5–10 tūrio % aliuminio miltelių ir 20–30 % tūrio butilo acetato ir kietėjimo aukštoje 700 °C temperatūroje. Patente rašoma, kad dangos paruošimo procesas yra paprastas ir nebrangus, todėl gali būti tinkamas apsaugai nuo korozijos aukštoje temperatūroje, įvairiems biomasės katilams, atliekų deginimo katilams ir didelio chloro kiekio anglies katilų šildymo paviršių apsaugai ir pasižymi dideliu tvirtumu, kompaktišku paviršiumi, dideliu atsparumu šiluminiam smūgiui ir panašiai.

[0022] Žinomas būdas turi toliau išvardintus trūkumus.

[0023] Negalima žinomą dangą taikyti vidinių metalo vamzdžių paviršių padengimui, t.y. dūmų vamzdžių katilams, nes taikytinas tik išorinio, lengvai prieinamo paviršiaus padengimui.

[0024] Ši danga taikytina tik gaminant naujus katilus, kada yra galimybė padengti katilo detales prieš surinkimą, bet nėra tinkamas katilams, kurie jau pagaminti ir eksploatuojami, nes nėra galimybių tinkamai paruošti metalą padengimui, kokybiškai padengti dangą sluoksniais ir tuos vamzdžius termiškai apdoroti aukštoje temperatūroje, nes taip būtų termiškai pakenkta metalo struktūrai.

[0025] Išradimo aprašyme pagal Kinijos patento paraišką, kurios paskelbimo Nr. CN113369639A, 2021.09.10, aprašytas dangos sluoksnis, naudojamas šiukšlių deginimo krosnies paviršiams dengti, siekiant išvengti susilydžiusių druskų, tokių kaip chloro druskų, sieros ir jos junginių sukeliamos korozijos aukštoje temperatūroje ant šiukšlių deginimo įrenginio šildymo paviršiaus. Aprašytas dangos sluoksnis turi gerą antikorozinį poveikį šiukšlių deginimo įrenginio šildymo paviršiui, o šiukšlių deginimo įrenginio eksploatavimo laikas gali būti veiksmingai ir labai prailgintas. Šiukšlių deginimo įrenginio vamzdžių paviršius yra dengiamas šios medžiagos itin plonu ir itin mažo praskiedimo superlydinio sluoksniu, kur superlydinio apvalkalo sluoksnio storis yra ≥0,8 mm, o sudėtis yra: Fe ≤ 3 %, Ni: 58–64 %, Cr: 20 %~23 %, Mo: 8 %~10 %, Nb: 3,15 %~4,15 %.

[0026] Aprašytos dangos plono sluoksnio naudojimas šiukšlių deginimo krosnies vamzdžių paviršiams dengti, siekiant juos apsaugoti nuo korozijos, turi toliau išvardintus trūkumus.

[0027] Negalima šia danga dengti dūmavamzdžio katilo šilumokaičio vamzdžių vidinių paviršių apsaugai nuo korozijos vamzdžių restauravimo metu. Vamzdžių dengimas minėta danga taikytinas tik gaminant naujus katilus, kada yra galimybė padengti katilo detales prieš surinkimą, bet nėra tinkamas katilams, kurie jau pagaminti ir eksploatuojami, nes nėra galimybių tinkamai paruošti metalą padengimui, kokybiškai padengti dangą.

[0028] Dengimas šia danga yra labai sudėtingas, reikalauja specialios įrangos dangos sudarymui, o dangos medžiagos yra labai brangios.

[0029] Artimiausias pagal techninę paskirtį yra skystojo arba dujinio kuro šildymo katilas, aprašytas išradimo aprašyme pagal Vokietijos patentą Nr. DE3205122C2, kuris susideda iš degimo kameros, esančios vandenį laikančiame korpuse, pasroviui esančių šildymo paviršių ir išmetamųjų dujų surinkimo kameros, kurie kartu išdėstyti per korpusą besitęsiančiame vamzdyje ir aprūpinti apsauginiu įdėklu nuo korozijos. Atsižvelgiant į apsaugą nuo korozijos ir siekiant, kad tokius šildymo katilus būtų galima eksploatuoti ir kaip žematemperatūrius katilus su kintančia temperatūra net ir didesniuose galios diapazonuose, šildymo katilas suprojektuotas taip, kad degimo kamerą sudarantis vamzdis yra sudarytas iš dvigubo sluoksnio lakštinio metalo korpuso srityje. Vidinis sluoksnis yra pratęstas už korpuso galinės sienelės, sudarydamas išmetamųjų dujų surinkimo kamerą, ir aprūpintas uždoriu. Vidinis ir išorinis sluoksniai yra tarpusavyje sujungti šilumai laidžiais keliais tilteliais, išdėstytais atstumu vienas nuo kito.

[0030] Žinomas įrenginys turi toliau išvardintus trūkumus.

[0031] Žinomas techninis sprendimas yra galimas realizuoti tik naujo katilo gamybos metu ir negali būti pritaikytas jau pagamintiems, eksploatuojamiems katilams;

[0032] Žinomas įrenginys apima visą degimo kameros paviršių, tačiau neapsaugo dūmų vamzdžių. Įdėklas negali būti pakeistas, jeigu susidėvėjo.

[0033] Sprendžiama techninė problema

[0034] Išradimu siekiama supaprastinti dūmavamzdžio katilo metalo vamzdžių vidinių paviršių apsaugą nuo korozijos ir abrazyvinio dilimo, praplėsti panaudojimo galimybes ir palengvinti remonto bei restauravimo sąlygas.

[0035] IŠRADIMO ESMĖ

[0036] Siūlomo išradimo esmė pagal pasiūlytą išradimą yra ta, kad įrenginyje, skirtame dūmavamzdžio katilo šilumokaičio vamzdžių vidinių paviršių apsaugai nuo korozijos ir abrazyvinio dilimo, kur katilo šilumokaičio vamzdžiai turi vidinę apsauginę priemonę, kur minėta vidinė apsauginė priemonė yra bent vienas vamzdžio pavidalo įdėklas, kur įdėklo išorinio paviršiaus forma atitinka šilumokaičio vamzdžio apsaugomo vidinio paviršiaus formai, o skersmuo parinktas taip, kad įdėklą būtų galima įstatyti į apsaugomo vamzdžio vidų su galimybe jį išimti.

[0037] Minėtas įdėklas pagamintas iš korozijai atsparios medžiagos ar įprastinio plieno, ar plastiko, pasirinktinai pagal darbo sąlygas, kainą.

[0038] Įdėklo sienelių storis parinktas, įvertinant abrazyvinį poveikį į įdėklo sieneles. Įdėklas yra tvirtinamas prie šilumokaičio vamzdžio laikina tvirtinimo priemone.

[0039] Laikina tvirtinimo priemonė yra parenkama priklausomai nuo įdėklo medžiagos sudėties, įdėklo storio, dydžio, nuo katilo konstrukcijos bei įdėklo tvirtinimas gali būti parinktas iš tokių tvirtinimo priemonių kaip įklijavimas, įvalcavimas, tvirtinimas taškinio virinimo būdu prie katilo metalo naudojant laikiklius, tvirtinimas įvairiais mechaniniais būdais, naudojant specialios formos detales.

[0040] Įdėklas yra vientisas, dengiantis visą šilumokaičio vamzdžio vidinį paviršių arba jos dalį, arba įdėklas turi kelias atskiras vamzdžio pavidalo dalis, išdėstytas šilumokaičio vamzdyje tose vietose, kurios pagal apsaugos poreikį numatytos apsaugoti nuo korozijos.

[0041] Išradimo naudingumas

[0042] Pasiūlyto įrenginio, skirto šildymo katilo metalo paviršių, ypač dūmų vamzdžių vidinių paviršių apsaugai nuo korozijos ir dilimo privalumai yra:

[0043] Mažesnė kaina ir paprastesnė konstrukcija lyginant su žinomais apsaugos nuo korozijos būdais ir įrenginiais bei gali būti taikomas bet kokį kurą kūrenančiam katilui (nebūtina naudoti vandens-mazuto emulsiją); nereikalinga sudėtinga ir brangi įranga, pavyzdžiui, dūmų srauto jonizavimui.

[0044] Apsauga gali būti naudojama tiek naujiems katilams juos gaminant, tiek jau eksploatuojamiems katilams, siekiant apsaugoti korozijai ir dėvėjimuisi jautrias katilo metalo vietas; siūlomo išradimo būdu galima apsaugoti ne tik dūmų vamzdžius, degimo kameros paviršius, bet taip pat ir įvairias kitas katilo vietas.

[0045] Įdėklai gali būti pakeičiami, jeigu susidėvėjo, priklausomai nuo poreikio įdėklų medžiaga gali būti pakeičiama. Įdėklo keitimas nesudėtingas, nes jo įstatymas, pritvirtinimas ir išėmimas paprastai realizuojamas. Apsauginis įdėklas įdedamas į vamzdžių vidų įprastinėje aplinkos temperatūroje ir nereikia jo termiškai apdoroti, todėl paprastas ir nebrangus siūlomo išradimo naudojimas ir yra daug (kartais) pigesnis, negu kiti apsaugos būdai ar katilo vamzdžių pakeitimas.

[0046] Yra didelės galimybės pasirinkti įdėklo medžiagą, nes įdėklo neveikia slėginės katilo vidaus apkrovos, įdėklas nėra laikančioji konstrukcija, įdėklo susidėvėjimas netrukdo toliau eksploatuoti katilo iki įdėklo pakeitimui patogaus laiko.

[0047] Į katilo vamzdžius įstatomo korozijai atsparaus metalo įdėklo sienelių storį galima pasirinkti, įvertinant abrazyvinį poveikį į įdėklo sieneles. Įdėklo nebūtina, bet galima termiškai ar chemiškai apdoroti prieš naudojant.

[0048] TRUMPAS BRĖŽINIŲ APRAŠYMAS

[0049] Pateikti brėžiniai neriboja išradimo apimties.

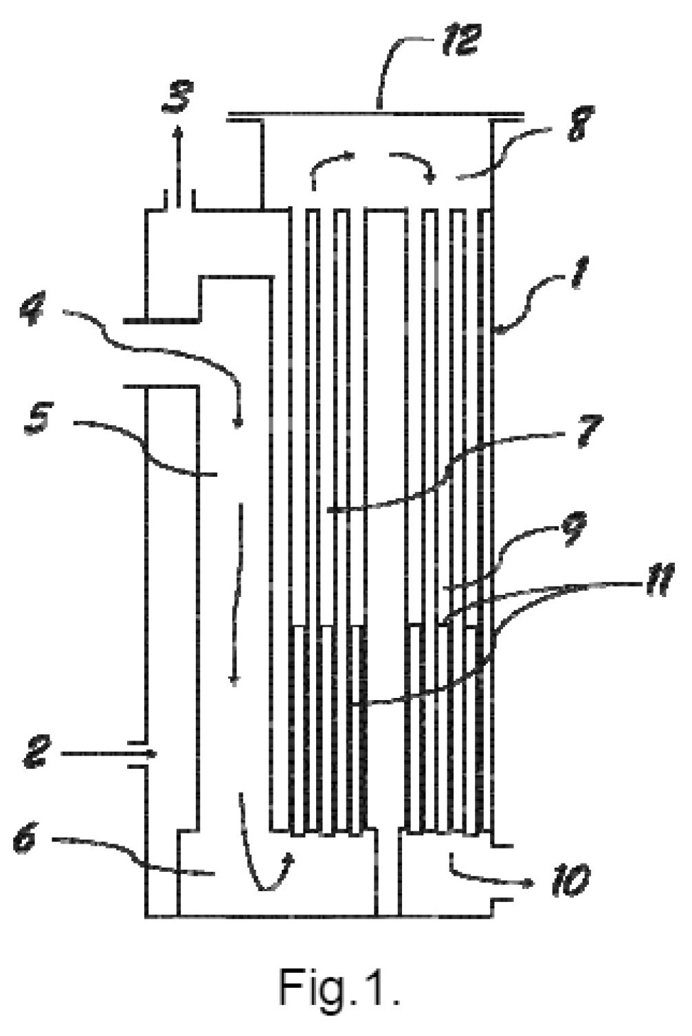
[0050] Fig. 1 pavaizduota viena iš galimų šildymo katilų konstrukcijos schema su dūmų vamzdžių apsauga nuo korozijos ir dilimo.

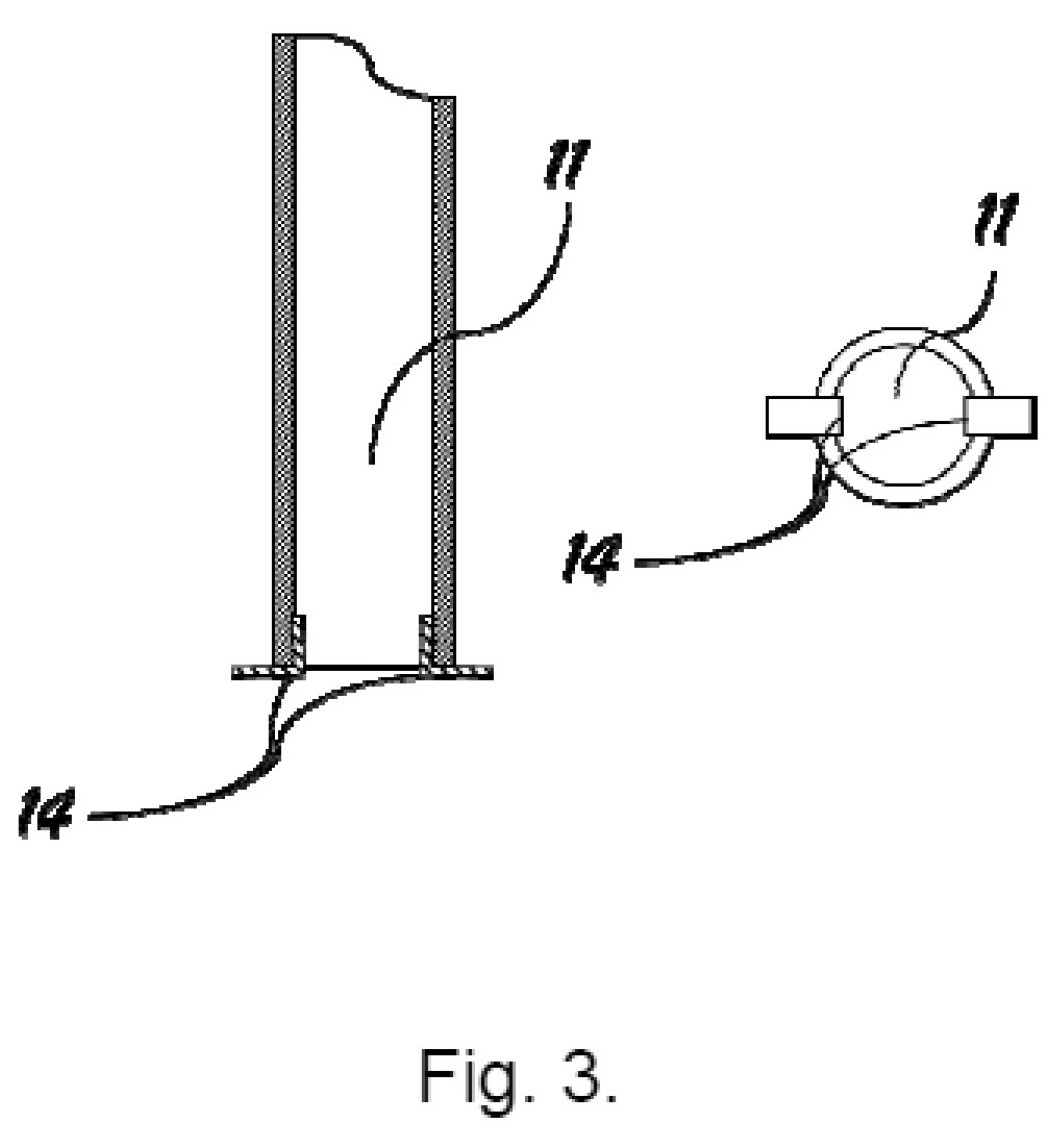
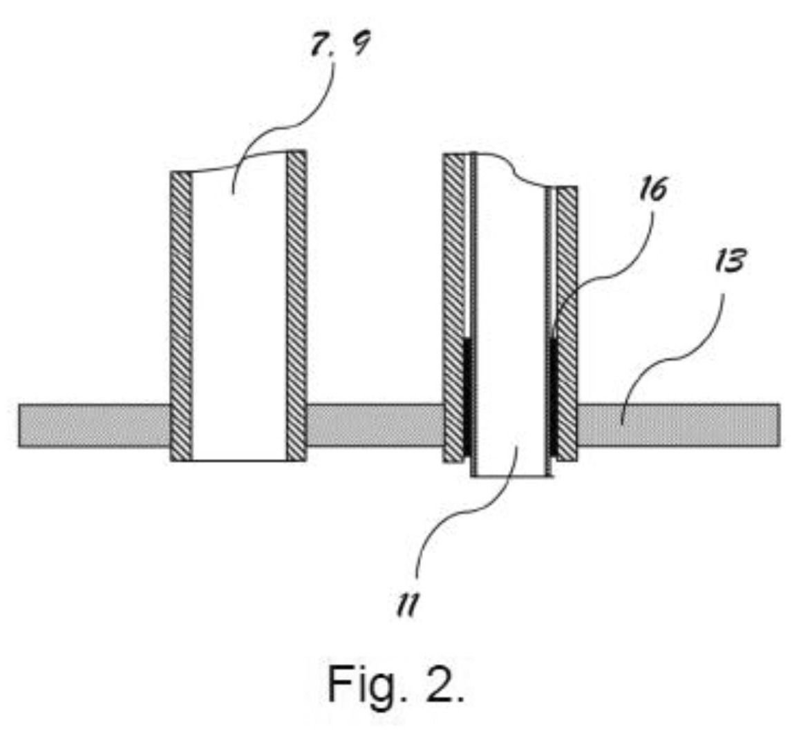
[0051] Fig. 2 pavaizduotas į dūmų vamzdžius įstatomas įdėklas, kuris įklijuojamas klijais. Fig. 3 parodytas vamzdinis įdėklas su tvirtinimo detalėmis.

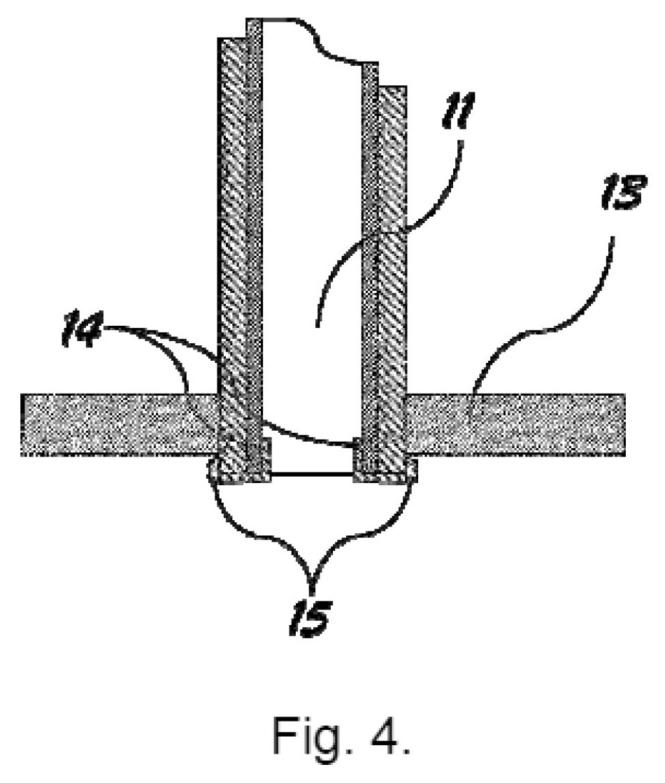
[0052] Fig. 4 pavaizduota įdėklo padėtis dūmavamzdyje ir jo įtvirtinimas naudojant specialias tvirtinimo detales.

[0053] VIENAS IŠ IŠRADIMO REALIZAVIMO PAVYZDŽIŲ

[0054] Vandens šildymo katilai, kurie kurui naudoja medienos atliekas ir (ar) kitą biomasę (agro atliekas, maisto pramonės atliekas ir pan.) ar kitą kurą, kuriame yra rūgščių ar druskų koroziją sukeliančių medžiagų, yra veikiami korozijos iš degimo produktų pusės.

[0055] Fig. 1 pavaizduota šildymo katilo konstrukcinė schema su dūmavamzdžių apsauga nuo korozijos ir dilimo. Katilą sudaro katilo korpusas 1; vandens įtekėjimo į katilą atvamzdis 2; vandens ištekėjimo iš katilo atvamzdis 3; dūmų įtekėjimo į katilą atvamzdis 4; katilo kaitravamzdis 5; dūmų posūkio kamera 6, 8; pirmos eigos dūmavamzdžiai 7; antros eigos dūmavamzdžiai 9; dūmų ištekėjimo atvamzdis 10; vamzdžių įdėklai 11; katilo dangtis 12.

[0056] Fig. 2 pavaizduotas vamzdinio įdėklo tvirtinimas klijavimo būdu, kur į dūmavamzdžius 7 ir 9 įstatytas įdėklas 11 ir pritvirtintas prie dūmavamzdžių rėtinės13 klijų sluoksniu 16.

[0057] Fig. 3 pavaizduotas įdėklas 11, tvirtinamas įtvirtinimo detalėmis 14, kurios pritvirtinamos prie įdėklo privirinimo ar kitu būdu.

[0058] Fig. 4 pavaizduota įdėklo 11 padėtis vamzdyje ir pritvirtinimas prie vamzdžių rėtinės 13, pavyzdžiui specialios formos tvirtinimo detale 15.

[0059] Dūmavamzdžiuose 7 ir 9 atitinkamai įstatyti ir nuimamai pritvirtinti įdėklai 11, kurie gaminami iš korozijai atsparios ar atsparesnės korozijai medžiagos, ar įprastinio plieno. Parenkant antikorozinę medžiagą įdėklams gaminti atsižvelgiama į tai, kokį korozinį, mechaninį ir šiluminį poveikį patirs gaminys. Be to, atsižvelgiama į jo formą, matmenis, didumą, svorį taip pat į kainą.

[0060] Įdėklų 11 skersmuo yra parenkamas toks, kad jie įsistatytų į apsaugojamų dūmavamzdžių 7, 9 vidų. Įdėklai 11 gali būti įtvirtinami klijavimo būdu, kur klijais 16 sutepamas įdėklo 11 paviršius tik zonoje prie rėtinės 13. Gali būti naudojami klijai, kurie sustingę pasidaro trapūs (pvz. cemento pagrindo). Norint pašalinti įdėklą 11, jis yra veikiamas vibracijos, kuri trupina klijų sluoksnius 16 ir jie praranda sukibimą. Gali būti naudojami plastiški klijai (pvz. silikono pagrindo), kurie pašalinami apipjaunant aplink įdėklą aštriu instrumentu.

[0061] Fig. 4 pavaizduotas įdėklų 11 tvirtinimas specialios formos 15 laikikliais prie dūmavamzdžių rėtinės 13. Laikikliai 15 yra privirinami taškiniu būdu prie rėtinės, kai degimo produktų temperatūra prieš dūmvamzdžius gali siekti aukštas temperatūras, pvz. 600–1000 °C. Keičiant įdėklą, tvirtinimo laikikliai 15 yra nupjaunami ties privirinimo siūle.

[0062] Degimo produktai iš degimo kameros (pakuros, kūryklos) patenka į katilą per atvamzdį 4. Toliau teka kaitravamzdžiu 5 ir posūkio kameroje 6 srautas įteka į dūmvamzdžių 7 pirmąjį pluoštą su įstatytais įdėklais 11. Po to, kai dūmai praeina dūmavamzdžius 7 jie patenka į posūkio kamerą 8. Čia dūmų srautas pasisuka ir įteka į antrąjį dūmavamzdžių 9 pluoštą, kurio vamzdžiuose įtaisyti įdėklai 11. Praėję dūmavamzdžius dūmai išteka iš katilo per atvamzdį 10.

[0063] Rūgštys, druskos su pelenais veikia įdėklus, kurie įstatyti intensyvios korozijos ir abrazyvinio dėvėjimo zonoje, o pagrindiniai katilo vamzdžiai, tose vietose, kuriose yra veikiami vandens slėgio, bus apsaugoti nuo rūgščių, druskų poveikio. Įdėklas 11 gali būti vientisas ir išdėstytas per visą atitinkamo dūmavamzdžio ilgį. Taip pat įdėklas 11 gali būti iš kelių trumpesnių vamzdžio pavidalo dalių. Įdėklo 11 viena ar daugiau vamzdžio pavidalo trumpesnės dalys išdėstomos dūmvamzdyje tik labiausiai pažeidžiamose dūmvamzdžių dalyse, pvz. tose vietose, kur kondensuojasi sieros rūgšties garai.

[0064] Pritvirtinti pagal pasiūlytą išradimą įdėklai 11 gali būti pakeičiami, jeigu jie susidėvėjo arba buvo paveikti korozijos, nekeičiant katilo slėginės dalies vamzdžių, t.y. neatliekant katilo remonto darbų ir nepatiriant su remonto darbais susijusių išlaidų.

Apibrėžtis

1. Įrenginys, skirtas dūmavamzdžio katilo šilumokaičio vamzdžių vidinių paviršių apsaugai nuo korozijos ir abrazyvinio dilimo, kur katilo šilumokaičio vamzdžiai turi vidinę apsauginę priemonę, b e s i s k i r i a n t i s tuo, kad minėta vidinė apsauginė priemonė yra bent vienas vamzdžio pavidalo įdėklas, kur įdėklo išorinio paviršiaus forma atitinka šilumokaičio vamzdžio apsaugomo vidinio paviršiaus formai, o skersmuo parinktas taip, kad įdėklą būtų galima įstatyti į apsaugomo vamzdžio vidų su galimybe jį išimti.

2. Įrenginys pagal 1 punktą, b e s i s k i r i a n t i s tuo, kad minėtas įdėklas pagamintas iš korozijai atsparios ar įprastinio plieno ar plastiko, pasirenkant minėtą medžiagą pagal darbo sąlygas, kainą.

3. Įrenginys pagal 1 arba 2 punktą, b e s i s k i r i a n t i s tuo, kad įdėklo sienelių storis parinktas, įvertinant abrazyvinį poveikį į įdėklo sieneles.

4. Įrenginys pagal bet kurį iš 1–3 punktų, b e s i s k i r i a n t i s tuo, kad įdėklas yra tvirtinamas prie šilumokaičio vamzdžio laikina tvirtinimo priemone.

5. Įrenginys pagal bet kurį iš 1–4 punktų, b e s i s k i r i a n t i s tuo, kad laikina tvirtinimo priemonė yra parenkama priklausomai nuo įdėklo medžiagos sudėties, įdėklo storio, dydžio, nuo katilo konstrukcijos bei įdėklo tvirtinimas gali būti parinktas iš tokių tvirtinimo priemonių kaip įklijavimas, įvalcavimas, tvirtinimas taškinio virinimo būdu prie katilo metalo naudojant laikiklius, tvirtinimas įvairias mechaniniais būdais, naudojant specialios formos detales.

6. Įrenginys pagal bet kurį iš 1–5 punktų, b e s i s k i r i a n t i s tuo, kad Įdėklas yra vientisas, dengiantis visą šilumokaičio vamzdžio vidinį paviršių arba jos dalį, arba įdėklas turi kelias atskiras vamzdžio pavidalo dalis, išdėstytas šilumokaičio vamzdyje tose vietose, kurios pagal apsaugos poreikį numatytos apsaugoti nuo korozijos.

Brėžiniai