LT6979B

GINKLO KULKOS KRITIMO IR ATSTUMO NUSTATYMO SISTEMA

BALLISTIC DROP AND RANGING SYSTEM FOR A WEAPON

Referatas

[LT] Optinis taikiklis, pritaikytas montuoti ant ginklo, apimantis lęšių sąranką, ekraną ir valdiklį. Ekranas yra sukonfigūruotas gyvūnui, į kurį taikomasi, rodyti per lęšių sąranką. Valdiklis yra sukonfigūruotas nuotoliui nuo optinio taikiklio iki gyvūno, į kurį taikomasi, nustatyti ir jam rodyti ekrane. Valdiklis yra sukonfigūruotas gyvūno rūšiai, žinomam gyvūno dydžiui ir gyvūno, į kurį taikomasi, rodymo sričiai nustatyti, kur gyvūno, į kurį taikomasi, rodymo sritis yra gyvūno vaizdo užimama procentinė ekrano dalis. Valdiklis yra sukonfigūruotas nuotoliui nuo žinomo gyvūno dydžio iki gyvūno rodymo srities nustatyti.

[EN] An optical sight configured to be mounted to a weapon includes a lens assembly, a display, and a controller. The display is configured to display a target animal through the lens assembly. The controller is configured to determine a range from the optical sight to the target animal and display the range on the display. The controller is configured to determine an animal type, a known animal dimension, and a display area for the target animal, where the display area for the target animal is a percentage of the display occupied by the target image. The controller is configured to determine the range from the known animal dimension and the display area for the animal.An optical sight configured to be mounted to a weapon includes a lens assembly, a display, and a controller. The display is configured to display a target animal through the lens assembly. The controller is configured to determine a range from the optical sight to the target animal and display the range on the display. The controller is configured to determine an animal type, a known animal dimension, and a display area for the target animal, where the display area for the target animal is a percentage of the display occupied by the target image. The controller is configured to determine the range from the known animal dimension and the display area for the animal.

Aprašymas

[0001] TECHNIKOS SRITIS

[0002] Šis išradimas susijęs su ginklo optiniu taikikliu, tiksliau – su ginklo kulkos kritimo ir atstumo nustatymo sistema.

[0003] TECHNIKOS LYGIS

[0004] Optiniai taikikliai dažnai naudojami su graižtviniais šautuvais ir (arba) pistoletais bei revolveriais tam, kad šaulys geriau matytų taikinį ir galėtų nutaikyti į jį šaunamąjį ginklą. Paprasti optiniai taikikliai apima eilę lęšių ir (arba) kitų optinių komponentų, kurie padidina vaizdą ir pateikia tinklelį, kuris teikia galimybę šauliui sulygiuoti šaunamojo ginklo vamzdį, padidinto taikinio atžvilgiu. Optiniai taikikliai gali turėti vieną ar daugiau reguliavimo mechanizmų, teikiančių galimybę reguliuoti tinklelį, šaunamojo ginklo vamzdžio atžvilgiu.

[0005] Skaitmeniniai optiniai taikikliai gali papildomai turėti vaizdo kamerą, kuri projektuoja taikinio vaizdą į šauliui skirtą ekraną. Tam tikrais atvejais, naudodamas mygtukus, šaulys gali skaitmeniniu būdu įvesti vaizdo kameros parametrus, kad pakeistų taikinio didinimo laipsnį.

[0006] Ginklų naudotojams dažnai būna sunku įvertinti nuotolį be lazerinio tolimačio. Tai ypač aktualu prasto apšvietimo sąlygomis bei naudojant įvairią optiką. Pavyzdžiui, kadangi terminės optikos veikimas priklauso nuo temperatūros, jos generuojamas vaizdas atrodo kitaip ir šauliams kyla sunkumų nustatant nuotolį bei kulkos kritimą. Kulkos kritimo ir nuotolio nustatymas yra svarbus nusitaikymo taško ir kulkos valdymo požiūriu.

[0007] JAV patentas Nr. US 7,905,046 atskleidžia atstumo nustatymo ir kulkos kritimo integravimo būdą į ginklo optiką. Patente yra pateikiamas būdas, kur naudotojas taikiklyje aptinka taikinį, nustato mastelio keitimo lygį, uždeda tašką ant pirmo norimos smūgio zonos krašto (kuri gali būti viršuje, apačioje, kairėje arba dešinėje pusėje), perkelia tašką į priešingą norimos smūgio zonos kraštą, o procesorius apskaičiuoja atstumą iki tikslo. Loginis įrenginys naudoja padidinimo lygį, smūgio zonos lenteles ir apskaičiuoja atstumą iki tikslo, pagal matomą tinklelio dydį, kurį pažymi naudotojas. Tačiau nėra atsižvelgiama į skirtingas taikinių rūšis (pvz., lokys ir šernas), tos pačios rūšies gyvūnų skirtingus dydžius (pvz., jaunuoliai, palyginti su suaugusiais), naktinį matymą ir kt. Be to, nepateikiama konkreti informacijos apie tai, kaip yra naudojami didinimo lygiai ir poveikio zonų lentelės skaičiuojant diapazoną. Taip pat nepateikiama konkreti informacija apie poveikio zonų lentelių turinį.

[0008] Išradimas išsprendžia aukščiau išvardintus technikos lygio trūkumus, apskaičiuojant nuotolį ir kulkos kritimą bei nustatant nukreipimo tašką, atsižvelgia į rūšių tipus, jaunuolių ar suaugusiųjų dydžius tam tikroje rūšyje, amunicijos tipus ir užtaisus, naktinį matymą ir kt.

[0009] IŠRADIMO ESMĖ

[0010] Optinis taikiklis, pagal išradimo įgyvendinimo pavyzdį, pritaikytas montuoti ant ginklo, apima lęšių sąranką, ekraną ir valdiklį. Ekranas yra pritaikytas gyvūnui, į kurį taikomasi, rodyti per lęšių sąranką. Valdiklis yra pritaikytas nuotoliui nuo optinio taikiklio iki gyvūno, į kurį taikomasi, nustatyti ir jam rodyti ekrane. Valdiklis yra pritaikytas gyvūno rūšiai, žinomam gyvūno dydžiui ir gyvūno, į kurį taikomasi, rodymo sričiai nustatyti. Gyvūno, į kurį taikomasi, rodymo sritis yra gyvūno vaizdo užimama procentinė ekrano dalis. Valdiklis yra pritaikytas nustatyti nuotoliui nuo žinomo gyvūno dydžio iki gyvūno rodymo srities.

[0011] Valdiklis gali būti pritaikytas raginti naudotoją įvesti gyvūno rūšį, dydžio tipą ir žinomą gyvūno dydį.

[0012] Valdiklis gali būti pritaikytas nustatyti gyvūno rūšį, koreliuojant vieną iš daugybės gyvūnų nuotraukų, saugomų atmintyje, su gyvūnu, į kurį taikomasi.

[0013] Valdiklis gali būti nustatytas nuotoliui nustatyti, koreliuojant rodymo sritį ir žinomą gyvūno dydį su nuotoliu, saugomu atmintyje.

[0014] Valdiklis gali būti pritaikytas pateikti padidintam vaizdui ekrano pagrindiniame lange, "vaizdo vaizde" režimu.

[0015] Valdiklis gali būti pritaikytas nustatyti rodymo sritį, pateikiant gyvūno vaizdo kontūrą, suderinant gyvūno vaizdo kontūrą taip, kad jis atitiktų gyvūną, į kurį taikomasi, ir nustatant sureguliuoto gyvūno vaizdo kontūro rodymo srities procentinę dalį.

[0016] Valdiklis gali būti pritaikytas nustatyti kulkos kritimą, priklausomai nuo nuotolio.

[0017] Valdiklis gali būti pritaikytas ekranui centruoti ant pirminio nusitaikymo taško nustatant nuotolį ir valdiklis gali būti pritaikytas ekranui centruoti ant kulkos kritimo nusitaikymo taško, nustačius kulkos kritimą.

[0018] Valdiklis gali būti pritaikytas kulkos kritimui nustatyti, koreliuojant nuotolį su vienu iš daugybės kulkos kritimo rodiklių, pateiktų atmintyje saugomoje konkrečių kulkų lentelėje.

[0019] Lęšių sąranka gali būti terminių lęšių sąranka.

[0020] Kulkos kritimo ir nuotolio nustatymo optiniame taikiklyje būdas, pagal išradimo įgyvendinimo pavyzdį, apima: gyvūno, į kurį taikomasi, vaizdo, gauto per lęšių sąranką, rodymą ekrane; gyvūno rūšies, žinomo gyvūno dydžio ir gyvūno, į kurį taikomasi, rodymo srities nustatymą, kur gyvūno, į kurį taikomasi, rodymo sritis yra procentinė ekrano dalis, kurią užima gyvūno, į kurį taikomasi, vaizdas; valdiklio vykdomą nuotolio nuo optinio taikiklio iki gyvūno, į kurį taikomasi, nustatymą pagal žinomą gyvūno dydį ir gyvūno rodymo sritį bei nuotolio rodymą ekrane.

[0021] Būdas gali papildomai apimti valdiklio raginimą naudotojui įvesti gyvūno rūšį, dydžio tipą ir žinomą gyvūno dydį.

[0022] Būdas gali papildomai apimti valdiklio atliekamą gyvūno rūšies nustatymą, koreliuojant vieną iš daugybės gyvūnų nuotraukų, saugomų atmintyje, su gyvūnu, į kurį taikomasi.

[0023] Nuotolio nustatymas gali apimti rodymo srities ir žinomo gyvūno dydžio koreliavimą su nuotoliu, saugomu atmintyje.

[0024] Būdas gali papildomai apimti valdiklio vykdomą padidinto vaizdo pateikimą ekrano pagrindiniame lange, vaizdo vaizde režimu.

[0025] Rodymo srities nustatymas gali apimti gyvūno vaizdo kontūro pateikimą, raginimą naudotojui suderinti gyvūno vaizdo kontūrą taip, kad jis atitiktų gyvūną, į kurį taikomasi, ir gyvūno vaizdo sureguliuoto kontūro rodymo srities procentinės dalies nustatymą.

[0026] Rodymo srities nustatymas gali apimti gyvūno vaizdo kontūro pateikimą, gyvūno vaizdo kontūro suderinimą taip, kad jis atitiktų gyvūną, į kurį taikomasi, ir gyvūno vaizdo sureguliuoto kontūro rodymo srities procentinės dalies nustatymą.

[0027] Būdas gali papildomai apimti valdiklio vykdomą kulkos kritimo, priklausomai nuo nuotolio, nustatymą.

[0028] Kulkos kritimo nustatymas gali apimti nuotolio koreliavimą su vienu iš daugybės kulkos kritimų, pateiktų atmintyje saugomoje konkrečių kulkų lentelėje.

[0029] Kulkos kritimo nustatymas gali apimti kulkos kritimo apskaičiavimą pagal nuotolį, kulkos tipą ir kulkos masę.

[0030] Šiame trumpame išradimo aprašyme pateikti aprašymai ir konkretūs pavyzdžiai yra tik iliustracinio pobūdžio ir neturi būti suprantami kaip ribojantys šio išradimo apimtį.

[0031] TRUMPAS BRĖŽINIŲ APRAŠYMAS

[0032] Šiame skyriuje aprašyti brėžiniai yra skirti tik atrinktiems įgyvendinimo pavyzdžiams, o ne visiems įgyvendinimo pavyzdžiams, iliustruoti ir neturi būti suprantami kaip ribojantys šio išradimo apimtį.

[0033] 1 pav. pateiktas optikos, pagal šį išradimą, perspektyvinis vaizdas.

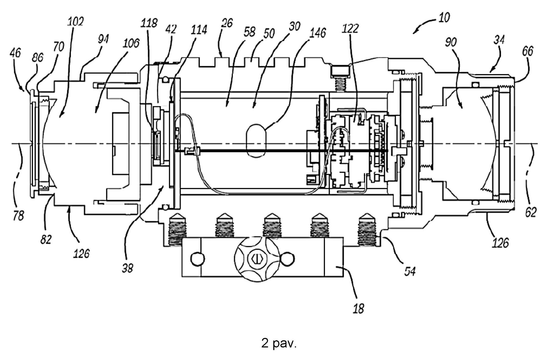
[0034] 2 pav. pateiktas optikos, pagal 1 pav., skerspjūvio, išilgai tiesės 2-2, vaizdas.

[0035] 3 pav. pateikta optikos, pagal 1 pav., valdiklio funkcinė schema.

[0036] 4 pav. pateiktas optikos, pagal 1 pav., ekrano paveikslėlis.

[0037] 5 pav. pateiktas kitas optikos, pagal 1 pav., ekrano paveikslėlis.

[0038] 6a pav. pateikta apskaičiuotųjų nuotolių, priklausomai nuo kiaulės, matomos per optiką pagal 1 pav., dydžio lentelė.

[0039] 6b pav. pateikta apskaičiuotų optikos, pagal 1 pav., kulkos kritimų, įvairių nuotolių atžvilgiu, lentelė.

[0040] 7a pav. pateiktas optikos, pagal 1 pav., ekrano paveikslėlis.

[0041] 7b pav. pateiktas kitas optikos, pagal 1 pav., ekrano paveikslėlis.

[0042] 8 pav. pateiktas kitas optikos, pagal 1 pav., ekrano paveikslėlis.

[0043] 9 pav. pateikta kito optikos, pagal 1 pav., ekrano schema.

[0044] 10 pav. pateikta apskaičiuotojo nuotolio ir kulkos kritimo nustatymo, naudojant optiką pagal 1 pav., struktūrinė schema, pagal išradimo būdo pirmą įgyvendinimo pavyzdį.

[0045] 11 pav. pateikta apskaičiuotojo nuotolio ir kulkos kritimo nustatymo, naudojant optiką pagal 1 pav., struktūrinė schema, pagal išradimo būdo antrą įgyvendinimo pavyzdį.

[0046] Brėžiniuose atitinkamais pozicijų numeriais yra pažymėtos atitinkamos dalys. Toliau pateiktas išsamus išradimo įgyvendinimo pavyzdžių aprašymas su nuorodomis į pridėtus brėžinius.

[0047] IŠSAMUS IŠRADIMO APRAŠYMAS

[0048] Įgyvendinimo pavyzdžiai yra pateikti taip, kad šio išradimo aprašymas būtų išsamus, o apimtis būtų visiškai aiški šios srities specialistams. Visapusiškam šio išradimo įgyvendinimo pavyzdžių atskleidimui yra pateikta daug specifinės informacijos, tokios kaip specifinių komponentų, įtaisų ir būdų pavyzdžiai. Šios srities specialistams bus aišku, kad ne visos specifinės detalės turi būti panaudotos, įgyvendinimo pavyzdžiai gali būti įgyvendinami įvairiais pavidalais ir nei detalės, nei pavyzdžiai neriboja šio išradimo apimties. Kai kurių išradimo įgyvendinimo pavyzdžių aprašymuose, išsami informacija apie gerai žinomus procesus, gerai žinomas įtaisų konstrukcijas ir gerai žinomas technologijas, nėra detalizuota.

[0049] Naudojama terminija yra skirta tik konkretiems išradimo įgyvendinimo pavyzdžiams aprašyti ir neturi būti suprantama kaip ribojanti. Naudojamos vienaskaitinės formos, priklausomai nuo konteksto, gali apimti ir daugiskaitines formas. Sąvokos "apima", "apimantis", "sudarytas iš" bei "turintis" yra naudojamos imtinai ir jomis nurodomas išdėstytų ypatybių, sveikųjų skaičių, etapų, operacijų, elementų ir (arba) komponentų buvimas, tačiau neatmetamas kitų ypatybių, sveikųjų skaičių, etapų, operacijų, elementų, komponentų ir (arba) jų grupių buvimas ar pridėjimas. Aprašyti būdo etapai, procesai ir operacijos neturi būti suprantami kaip būtinai atliktini tam tikra aptariama ar iliustruojama tvarka, jei tai nėra aiškiai nurodyta atlikimo tvarka. Taip pat reikia suprasti, kad gali būti naudojami papildomi ar alternatyvūs etapai.

[0050] Jei nurodyta, kad elementas arba sluoksnis yra "ant", "prikabintas prie", "prijungtas prie" arba "sujungtas su" kitu elementu ar sluoksniu, jis gali būti tiesiogiai "ant", "prikabintas prie", "prijungtas prie" arba "sujungtas su" kitu elementu ar sluoksniu arba gali būti tarpinių elementų ar sluoksnių. Jei nurodyta, kad elementas arba sluoksnis yra "tiesiogiai ant", "tiesiogiai prikabintas prie", "tiesiogiai prijungtas prie" arba "tiesiogiai sujungtas su" kitu elementu ar sluoksniu, jokių tarpinių elementų ar sluoksnių būti negali. Kiti žodžiai, kuriais apibūdinamas elementų ryšys (pvz., "tarp" ir "tiesiogiai tarp" "šalia" ir "tiesiogiai šalia") turi būti suprantami analogiškai. Naudojama sąvoka "ir (arba)" apima bet kurį vieną arba visus atitinkamus išvardytų elementų derinius.

[0051] Nors sąvokos "pirmas", "antras", "trečias" ir t. t. gali būti naudojamos įvairių elementų, komponentų, sričių, sluoksnių ir (arba) sekcijų apibūdinimui, jos neriboja šių elementų, komponentų, sričių, sluoksnių ir (arba) sekcijų. Šios sąvokos naudojamos tik vienam(-ai) elementui, komponentui, sričiai, sluoksniui arba sekcijai atskirti nuo kito(-os) elemento, komponento, srities, sluoksnio ar sekcijos. Naudojamos sąvokos "pirmas", "antras" ir kiti skaitvardžiai nereiškia sekos arba tvarkos, nebent tai aiškiai matyti iš konteksto. Taigi, pirmasis(-oji) elementas, komponentas, sritis, sluoksnis arba sekcija, kaip aprašyta toliau, gali būti vadinami antruoju(-ąją) elementu, komponentu, sritimi, sluoksniu arba sekcija, nenukrypstant nuo išradimo įgyvendinimo pavyzdžių.

[0052] Sąvokos "vidinis", "išorinis", "po", "apatinis", "virš", "viršutinis" gali būti naudojamos vieno elemento ar ypatybės erdvinio santykio su kitu(-a) elementu(-ais) ar ypatybe(-ėmis) apibūdinimui palengvinti, kaip pavaizduota paveiksluose. Erdvinį santykį apibūdinančios sąvokos taip pat gali būti naudojamos nurodyti kitokiai, nei pavaizduota paveikslėliuose, įtaiso orientacijai, naudojimo ar veikimo metu. Pavyzdžiui, jei įtaisas paveikslėlyje yra apverstas, elementų, apibūdintų kaip "po" arba "apačioje" kitų elementų ar ypatybių atžvilgiu, orientacija bus "virš" kitų elementų ar ypatybių. Sąvoka "po" gali reikšti ir orientaciją "virš", ir "po". Įrenginio orientacija gali būti kitokia (jis gali būti pasuktas 90 laipsnių ar bet kokios kitos orientacijos) ir naudojami erdvinio santykio deskriptoriai turėtų būti interpretuojami atitinkamai.

[0053] Paveikslėliuose rodyklės kryptimi, nurodyta jos smaigaliu, paprastai nurodoma informacijos (pvz., duomenų arba instrukcijų), aktualios šioje iliustracijoje, srauto kryptis. Pavyzdžiui, jei elementas A ir elementas B mainosi įvairia informacija, tačiau iliustracijoje yra aktuali informacija, kurią elementas A perduoda elementui B, rodyklė gali būti nukreipta nuo elemento A į elementą B. Ši vienos krypties rodyklė nereiškia, kad jokia kita informacija neperduodama iš elemento B elementui A. Papildomai, kai elementas A siunčia informaciją elementui B, elementas B gali siųsti elementui A informacijos užklausas arba jos gavimo patvirtinimus.

[0054] Aprašyme, įskaitant toliau pateiktus apibrėžimus, sąvoka "modulis" arba sąvoka "valdiklis" gali būti pakeista sąvoka "grandinė". Sąvoka "modulis" gali reikšti procesoriaus aparatinę įrangą (bendrąją, skirtinę arba grupinę), kuri vykdo kodą, arba atminties aparatinę įrangą (bendrąją, skirtinę arba grupinę), kurioje saugomas procesoriaus aparatinės įrangos vykdomas kodas, jos dalį arba ja apimantį elementą.

[0055] Modulis gali apimti vieną ar daugiau sąsajos grandinių. Kai kuriuose pavyzdžiuose sąsajos garandinė(-ės) gali būti įgyvendinta kaip laidinė arba belaidė sąsaja, besijungianti su vietiniu tinklu (LAN) arba asmeniniu belaidžiu tinklu (WPAN). LAN pavyzdžiai yra Elektrotechnikos ir elektronikos inžinierių instituto (IEEE) standartas 802.11-2016 (taip pat žinomas kaip WIFI belaidžio tinklo standartas) ir IEEE standartas 802.3-2015 (taip pat žinomas kaip ETHERNET laidinio tinklo standartas). WPAN pavyzdžiai yra IEEE standartas 802.15.4 (įskaitant "ZigBee Alliance" standartą ZIGBEE) ir "Bluetooth Special Interest Group" (SIG) BLUETOOTH belaidžio tinklo standartą (įskaitant "Bluetooth SIG" bazinės specifikacijos 3.0, 4.0, 4.1, 4.2, 5.0, ir 5.1 versijas).

[0056] Modulis gali palaikyti ryšį su kitais moduliais per sąsajos grandinę(-es). Nors šiame aprašyme modulis gali būti aprašomas kaip palaikantis tiesioginį ryšį su kitais moduliais, įvairių įgyvendinimo pavyzdžių atveju modulis gali iš tikrųjų palaikyti ryšį per ryšio sistemą. Ryšio sistema apima fizinę ir (arba) virtualiąją tinklo įrangą, tokią kaip šakotuvai, komutatoriai, maršruto parinktuvai ir tinklų sietuvai. Kai kurių įgyvendinimo pavyzdžių atveju, ryšio sistema jungiasi prie plačiojo tinklo (WAN), tokio kaip internetas, arba jį kerta. Pavyzdžiui, ryšio sistema gali apimti daug LAN, sujungtų vienas su kitu per internetą arba tiesiogines nuomojamąsias linijas, naudojant tokias technologijas, kaip daugiaprotokolė komutacija pagal žymas (MPLS) ir virtualūs privatieji tinklai (VPNs).

[0057] Įvairių įgyvendinimo pavyzdžių atveju, modulio funkcijos gali būti paskirstytos daugeliui modulių, sujungtų per ryšio sistemą. Pavyzdžiui, daugelis modulių gali atlikti tas pačias funkcijas, paskirstytas naudojant apkrovos išlyginimo sistemą. Kitas pavyzdys – modulio funkcijos gali būti padalytos tarp serverio (taip pat žinomo kaip nuotolinis arba debesijos) modulio ir kliento (vartotojo) modulio. Pavyzdžiui, kliento modulis gali būti savoji arba internetinė programa, vykdoma kliento prietaise ir palaikanti tinklo ryšį su serverio moduliu.

[0058] Anksčiau panaudota sąvoka "kodas" gali apimti programinę įrangą, programinę aparatinę įrangą ir (arba) mikrokodą bei gali reikšti programas, paprogrames, funkcijas, klases, duomenų struktūras ir (arba) objektus. Bendroji procesoriaus aparatinė įranga apima vieną mikroprocesorių, kuris vykdo visą kodą arba jo dalį iš daugelio modulių. Grupinė procesoriaus aparatinė įranga apima mikroprocesorių, kuris kartu su papildomais mikroprocesoriais vykdo visą kodą arba jo dalį iš vieno ar daugiau modulių. Nuorodos į daugelį mikroprocesorių apima daugelį mikroprocesorių ant atskirų kristalų, daugelį mikroprocesorių ant vieno kristalo, kelis vieno mikroprocesoriaus branduolius, kelias vieno mikroprocesoriaus gijas arba anksčiau minėtų elementų derinius.

[0059] Bendroji atminties aparatinė įranga apima vieną atminties įrenginį, kuriame saugomas visas kodas arba jo dalis iš daugelio modulių. Grupinė atminties aparatinė įranga apima atminties įrenginį, kuriame kartu su atminties įrenginiais saugomas visas kodas arba jo dalis, iš vieno ar daugiau modulių.

[0060] Sąvoka "atminties aparatinė įranga" yra sąvokos "kompiuterio nuskaitoma laikmena" poaibis. Čia naudojama sąvoka "kompiuterio nuskaitoma laikmena" neapima laikinųjų elektrinių arba elektromagnetinių signalų, skleidžiamų per terpę (tokią kaip nešlio banga), t. y. sąvoka "kompiuterio nuskaitoma laikmena" reiškia materialią ir nelaikinąją laikmeną. Nelaikinosios kompiuterio nuskaitomos laikmenos neapribojanys pavyzdžiai yra išliekamosios atminties įrenginiai (tokie kaip atminties kortelė, ištrinamas programuojamasis pastoviosios atminties įrenginys arba šablonais programuojamas pastoviosios atminties įrenginys), neišliekamosios atminties įrenginiai (tokie kaip statinės laisvosios kreipties atminties įrenginys arba dinaminės laisvosios kreipties atminties įrenginys), magnetinė laikmena (tokia kaip analoginė arba skaitmeninė magnetinė juosta arba standusis diskas) ir optinės laikmenos (tokios kaip CD, DVD ir "Blu-ray" diskai).

[0061] Šioje paraiškoje aprašytus aparatus ir būdus galima iš dalies arba pilnai įgyvendinti, naudojant specialųjį kompiuterį, sukurtą konfigūruojant universalųjį kompiuterį taip, kad jis vykdytų vieną ar daugiau konkrečių funkcijų, įgyvendintų kompiuterio programose. Tokius aparatus ir būdus galima apibūdinti kaip kompiuterinius aparatus ir kompiuterinius būdus. Anksčiau aprašyti funkciniai blokai ir struktūrinės schemos elementai yra programinės įrangos specifikacija, kurią kompiuterio programų pavidalu gali įgyvendinti kvalifikuotas inžinierius ar programuotojas.

[0062] Kompiuterio programos apima procesoriaus vykdomas instrukcijas, kurios saugomos bent vienoje išliekamosios atminties kompiuterio nuskaitomoje laikmenoje. Kompiuterinės programos taip pat gali apimti saugomus duomenis arba jais remtis. Kompiuterio programos gali apimti bazinę įvesties ir išvesties sistemą (BIOS), kuri sąveikauja su specialiojo kompiuterio aparatine įranga, įtaisų tvarkykles, kurios sąveikauja su tam tikrais specialiojo kompiuterio įtaisais, vieną ar daugiau operacinių sistemų, vartotojo taikomąsias programas, fonines paslaugas, fonines taikomąsias programas ir t. t.

[0063] Kompiuterio programos gali apimti: (i) analizuojamą aprašomąjį tekstą, tokį kaip HTML (žymėtojo hiperteksto kalba), XML (išplečiamoji žymėjimo kalba) arba JSON (JavaScript objektų žymėjimas), (ii) asemblerio kodą, (iii) objektinį kodą, generuojamą iš pradinio kodo, kompiliatoriumi, (iv) pradinį kodą, skirtą vykdyti interpretatoriui, (v) pradinį kodą, skirtą kompiliuoti bei vykdyti dinaminiu kompiliatoriumi ir t. t. Pavyzdžiui, pradinis kodas gali būti parašytas naudojant kalbų, tokių kaip C, C++, C#, "Objective C", "Swift", "Haskell", "Go", SQL, R, "Lisp", Java®, "Fortran", "Perl", "Pascal", "Curl", "OCaml", JavaScript®, HTML5 (5-osios versijos žymėtojo hiperteksto kalbos), "Ada", ASP (aktyviųjų serverio puslapių), PHP (PHP: hiperteksto parengiamosios doroklės), "Scala", "Eiffel", "Smalltalk", "Erlang", "Ruby", Flash®, Visual Basic®, "Lua", MATLAB, SIMULINK ir Python® sintaksę.

[0064] Šiame aprašyme yra pateikta ginklo, pavyzdžiui, šaunamojo ginklo, optinio taikiklio kulkos kritimo bei nuotolio nustatymo sistema. Sistema gali apskaičiuoti nuotolį pagal vieną iš naudotojo pateiktų parametrų ir gali apskaičiuoti kulkos kritimo rodiklį pagal apskaičiuotąjį nuotolį. Kai optinei sistemai pateikiama tiksli arba santykinai tiksli informacija, nuotolio ir kulkos kritimo apskaičiavimo tikslumas yra 5 % ribose nuo faktinio išmatuotojo nuotolio ir kulkos kritimo, naudojant vidutinio nuotolio optiką ir esant nuotoliui iki 300 jardų. Optikos nuotoliui didėjant, tikslumas didėja jardais.

[0065] Pavyzdžiui, naudotojas gali nurodyti gyvūno rūšį. Gali būti pateikiamas išskleidžiamasis langelis, kuriame naudotojas pasirenka gyvūno, kuris yra taikinys, rūšį. Pavyzdžiui, naudotojas gali pasirinkti šerną, juodąjį lokį, rudąjį lokį, briedį, elnią, žąsį ir t. t., arba kulkos kritimo ir nuotolio nustatymo sistema gali atpažinti gyvūno, į kurį taikomasi, bendrąją rūšį pagal užprogramuotąją biblioteką.

[0066] Pavyzdžiui, naudotojas gali nurodyti bet kokį žinomą dydį, kaip parametrą nuotoliui apskaičiuoti. Pavyzdžiui, naudotojas gali nurodyti vieną ar daugiau iš šių matmenų: pilvo vertikalųjį storį, pilvo horizontalųjį ilgį, nugaros aukštį arba aukštį nuo žemės iki pilvo, pilnutinį gyvūno ilgį ir t. t. Kuo matmuo didesnis, tuo tikslesnis apskaičiavimas. Alternatyviai, kulkos kritimo ir nuotolio nustatymo sistema gali sugretinti bendrosios gyvūno rūšies žinomą vidutinį dydį. Vidutiniai dydžiai kartu su bendrosiomis gyvūnų rūšimis gali būti saugomi užprogramuotojoje bibliotekoje.

[0067] Po to, naudotojas gali apgaubti gyvūną taikinio langeliu per optiką. Gyvūną apgaubiančio langelio dydžiui reguliuoti gali būti pateiktas diskas. Kulkos kritimo ir nuotolio nustatymo sistema taip pat gali automatiškai sureguliuoti langelį aplink gyvūną, į kurį taikomasi. Tada kulkos kritimo ir nuotolio nustatymo sistema gali koreliuoti naudotojo pateiktus parametrus ir taikinio langelį su saugoma lentele ir pateikti naudotojui apskaičiuotąjį nuotolį. Kulkos kritimo ir nuotolio nustatymo sistema gali apskaičiuoti kritimą pagal apskaičiuotąjį nuotolį ir kulkos specifikaciją.

[0068] Atsižvelgiant į 1 pav., optinis taikiklis (10), pagal šį išradimą, gali būti pritaikytas montuoti ant ginklo (14). Pavyzdžiui, optinis taikiklis (10) gali būti terminė optika, skaitmeninė optika, naktinio matymo optika ir t. t. Pavyzdžiui, ginklas (14) gali būti šaunamasis ginklas, arbaletas ar bet koks kitas įtaisas, pritaikytas šaudmeniui iššauti.

[0069] Optinis taikiklis (10) pasirinktinai gali būti montuojamas ant ginklo (14), naudojant taikiklio laikiklį (18). Pavyzdžiui, taikiklio laikiklis (18) gali būti neatskiriamas nuo ginklo (14) korpuso (22) arba išardomai pritvirtintas prie ginklo (14), naudojant tvirtinimo sistemą, pavyzdžiui, tvirtinimo elementą, tokį kaip varžtas, sraigtas ar gnybtas ir t. t.. Pavyzdžiui, taikiklio laikiklis (18) gali būti neatskiriamas nuo optinio taikiklio (10) gaubto (26) arba išardomai pritvirtintas prie gaubto (26), naudojant tvirtinimo sistemą, pavyzdžiui, tvirtinimo elementą, tokį kaip varžtas, sraigtas ar gnybtas ir t. t..

[0070] Atsižvelgiant į 2 pav., optinis taikiklis (10) gali apimti optinį modulį (30), reguliavimo sistemą (34), kulkos kritimo ir nuotolio nustatymo sistemą (38), vaizdo generavimo sistemą (42) ir okuliarą (46), besiremiantį į gaubtą (26).

[0071] Optinis modulis (30) sąveikauja su vaizdo generavimo sistema (42) padidintam vaizdui, terminiam vaizdui, naktinio matymo vaizdui arba jų deriniui gauti. Reguliavimo sistema (34) nustato optinio modulio (30) ir (arba) vaizdo generavimo sistemos (42) padėtį gaubto (26) atžvilgiu, optiniam moduliui (30) ir (arba) vaizdo generavimo sistemai (42) tinkamai sulygiuoti ginklo (14) atžvilgiu. Vienoje konfigūracijoje, optinis modulis (30) ir (arba) vaizdo generavimo sistema (42) didina taikinį iki dydžio, iš esmės šešis kartus didesnio už matomąjį taikinio dydį, t. y. 6x didinimas. Vaizdo generavimo sistema (42) taip pat sąveikauja su optiniu moduliu (30), taikinio terminiam vaizdui gauti. Optinis modulis (30) gali rodyti tinklelį (nepavaizduotas), kuris naudojamas optiniam taikikliui (10) tinkamai sulygiuoti su taikiniu.

[0072] Gaubtas (26) apima pagrindinę dalį (50), pritvirtintą prie okuliaro (46). Pagrindinė dalis (50) apima eilę srieginių kiaurymių (54), skirtų tvirtinti gaubtą (26) prie ginklo (14), ir vidinę ertmę (58) su išilgine ašimi (62). Pagrindinės dalies (50) pirmasis galas (66) yra iš esmės žiedo formos ir susisiekia su gaubto (26) vidine ertme (58). Antrasis galas (70) paprastai būna priešingoje pagrindinės dalies (50) pusėje, nei pirmasis galas (66), ir taip pat yra iš esmės žiedinio skerspjūvio.

[0073] Pagrindinė dalis (50) laiko reguliavimo sistemą (34) ir gali apimti bent vieną apertūrą (74), kaip pavaizduota 1 pav., į kurią yra funkciškai įstatoma reguliavimo sistemos (34) dalis.

[0074] Okuliaras (46) yra poruojamai įstatomas į pagrindinę dalį (50) ir gali būti tvirtinamas prie jos. Okuliaras (46) apima išilginę ašį (78), kuri yra bendraašė pagrindinės dalies (50) išilginei ašiai (62), kai okuliaras (46) yra sujungtas su pagrindine dalimi (50). Okuliaras (46) apima pirmąjį galą (82), pritvirtintą prie pagrindinės dalies (50), ir antrąjį galą (86), esantį priešingame okuliaro (46) gale, nei pirmasis galas (82). Pavyzdžiui, okuliaro (46) pirmasis galas 82 gali būti įstatomas, pavyzdžiui, įsukamas, į pagrindinės dalies (50) antrąjį galą (70).

[0075] Pavaizduotas optinis modulis (30) apima objektyvo lęšių sistemą (90) ir okuliaro lęšių sistemą (94). Objektyvo lęšių sistema (90) yra teleobjektyvas ir paprastai būna prie pagrindinės dalies (50) pirmojo galo (66). Pavyzdžiui, objektyvo lęšių sistema (90) gali apimti plokščiai iškilų dvigubą lęšį su iš esmės dvigubu iškiliuoju lęšiu ir iš esmės įgaubtai iškiliu lęšiu, kurie tarpusavyje yra sutvirtinti tinkamais klijais, ir iškilai plokščiu viengubu lęšiu. Alternatyviai, objektyvo lęšių sistema (90) gali apimti bet kokį tinkamą lęšių derinį. Objektyvo lęšių sistema (90) gali būti įtvirtinta pagrindinės dalies (50) pirmajame gale (66), srieginiu tvirtinimo žiedu, klijais, jų deriniu ar bet kokiu kitu tinkamu tvirtinimo elementu, objektyvo lęšių sistemos (90) padėčiai nustatyti ir užfiksuoti, gaubto (26) pagrindinės dalies (50) atžvilgiu.

[0076] Okuliaro lęšių sistema (94) paprastai būna priešingame optinio taikiklio (10) gale, nei objektyvo lęšių sistema (90), ir gali apimti okuliaro lęšį (102), kuris gali būti abipus iškilo viengubo arba iš esmės dvigubo iškilo tipo lęšio, ir dvigubą okuliaro lęšį (106). Toliau okuliaro lęšis (102) bus aprašytas kaip abipus iškilus okuliaro lęšis (102). Dvigubas okuliaro lęšis (106) gali apimti iš esmės abipus iškilą lęšį ir iš esmės abipus įgaubtą lęšį, sutvirtintus tarpusavyje tinkamais klijais. Alternatyviai, okuliaro lęšių sistema (94) gali apimti bet kokį tinkamą lęšių derinį. Okuliaro lęšių sistema (94) gali būti laikoma norimoje padėtyje gaubto (26) okuliaro (46) atžvilgiu, vienu ar daugiau srieginių tvirtinimo žiedų, klijais, jų deriniu ar kitu tinkamu tvirtinimo elementu.

[0077] Nepriklausomai nuo konkrečios objektyvo lęšių sistemos (90) ir okuliaro lęšių sistemos (94) konstrukcijos, vaizdo generavimo sistema (42) paprastai būna gaubto (26) pagrindinės dalies (50) viduje, tarp objektyvo lęšių sistemos (90) ir okuliaro lęšių sistemos (94). Vaizdo generavimo sistema (42) gali apimti procesorių arba valdiklį (114) ir atvaizdavimo sistemą (118), palaikančius ryšį su vaizdo kamera (122).

[0078] Vaizdo kamera (122) gali būti įrengta išilgai optinio modulio (30) tarp objektyvo lęšių sistemos (90) ir okuliaro lęšių sistemos (94). Vaizdo kamera (122) gali būti išdėstyta prie objektyvo lęšių sistemos (90). Vaizdo kamera (122) gali pagauti taikinio vietos skaitmeninius video vaizdus, kurie apdorojami ir pateikiami naudotojui. Taikinio vieta gali būti taikinio vieta, pagaunama per angą, esančią gaubto (26) pirmajame gale (66). Vaizdo kamera (122) gali nenutrūkstamai pagauti vaizdus ir srautu perduoti juos naudotojui, per atvaizdavimo sistemą (118), kuri yra aprašyta toliau.

[0079] Pavyzdžiui, šviesa iš taikinio vietos gali patekti per angą, esančią gaubto (26) pirmajame gale (66), kur ją pagauna vaizdo kamera (122). Po to vaizdai gali būti apdorojami ir (arba) perduodami į atvaizdavimo sistemą (118). Pavyzdžiui, vaizdai gali būti pakeisto mastelio taikinio vietos vaizdai, gaunami naudojant vaizdo kameros (122) ir (arba) procesoriaus (114) optinio mastelio keitimo ir (arba) skaitmeninio mastelio keitimo funkcijas.

[0080] Vaizdo kamera (122) gali būti viena iš įvairių tipų vaizdo kamerų. Vaizdo kamera gali apimti vaizdo kameros jutiklį arba gali būti vaizdo kameros jutiklis, kuris aptinka įvairių bangų ilgių šviesą. Pavyzdžiui, vaizdo kamera (122) gali pagauti regimosios šviesos, infraraudonojo spektro bangų ilgių, terminio spektro bangų ilgių, hiperspektrinio bangų ilgių ir (arba) kitokio tipo kameros vaizdus, priklausomai nuo taikymo srities. Taip gali būti pagaunami didelės skyros skaitmeniniai vaizdai, infraraudonieji vaizdai, terminiai vaizdai ir (arba) bet kokio norimo spektro kito tipo vaizdai.

[0081] Reguliavimo sistema (34) gali būti pritaikyta nustatyti vaizdo dalies padėčiai, gaubto (26) atžvilgiu, tam, kad tinklelio šablonas (nepavaizduotas) būtų tinkamai sulygiuotas šaunamojo ginklo atžvilgiu. Reguliavimo sistema (34) gali apimti reguliavimo žiedą (126), vieną ar daugiau mygtukų (130), kaip pavaizduota 1 pav., jų derinį arba kitą tinkamą reguliavimo mechanizmą, skirtus reguliuoti vaizdą, gaubto (26) atžvilgiu. Reguliavimo sistema (34) gali reguliuoti, keisti arba modifikuoti, pavyzdžiui, aiškumą, taškus, kontrastą, mastelį ir t. t. Reguliavimo sistema (34) tuo pačiu gali reguliuoti tinklelio šablono lygiuotę.

[0082] Reguliavimo sistema (34) gali keisti tinklelio šablono lygiuotę horizontalia kryptimi. Pavyzdžiui, jutiklis, esantis prie reguliavimo sistemos (34), gaubte (26), gali aptikti reguliavimo žiedo (126) pasukimą, mygtukų (130) pasirinkimą ir t. t.. Jutiklis gali palaikyti ryšį su procesoriumi (114), tinklelio šablonui paslinkti horizontalia kryptimi.

[0083] Reguliavimo sistema (34) gali keisti tinklelio šablono lygiuotę vertikalia kryptimi. Pavyzdžiui, jutiklis, esantis prie reguliavimo sistemos (34), gaubte (26), gali aptikti reguliavimo žiedo (126) pasukimą, mygtukų (130) pasirinkimą ir t. t. Jutiklis gali palaikyti ryšį su procesoriumi (114), tinklelio šablonui paslinkti vertikalia kryptimi.

[0084] Reguliavimo sistema (34) gali didinti arba mažinti tinklelio šablono šviesos intensyvumą bei keisti tinklelio spalvą. Pavyzdžiui, jutiklis, esantis prie reguliavimo sistemos (34), gaubte (26), gali aptikti reguliavimo žiedo (126) pasukimą, mygtukų (130) pasirinkimą ir t. t. Jutiklis gali palaikyti ryšį su procesoriumi (114) tinkleliui pašviesinti, pritemdyti arba naudotojui rodomo tinklelio spalvai pakeisti.

[0085] Reguliavimo sistema (34) gali didinti arba mažinti vaizdo mastelį. Pavyzdžiui, jutiklis, esantis prie reguliavimo sistemos (34), gaubte (26), gali aptikti reguliavimo žiedo (126) pasukimą, mygtukų (130) pasirinkimą ir t. t. Jutiklis gali palaikyti ryšį su procesoriumi (114) ir (arba) vaizdo kamera (122), naudotojui rodomam vaizdui padidinti arba sumažinti.

[0086] Gaubtas (26) taip pat gali apibrėžti antrinę vidinę erdvę (142), kaip parodyta 1 pav., kurioje yra maitinimo šaltinis (146), kaip parodyta 2 pav.. Maitinimo šaltinis (146) gali būti energijos kaupiklis, pavyzdžiui, baterija. Maitinimo šaltinis (146) gali maitinti vaizdo kamerą (122), procesorių (114), ekraną (118) ir (arba) kitą optinio taikiklio (10) įrangą.

[0087] Atsižvelgiant į 3 pav., kulkos kritimo ir nuotolio nustatymo sistema (38) gali sąveikauti su vaizdo kamera (122), atvaizdavimo sistema (118), valdikliu (114) ir naudotojo įvesties įtaisu (154). Valdiklis (114) gali palaikyti ryšį su atvaizdavimo sistema (118), vaizdo kamera (122) ir naudotojo įvesties įtaisu (154). Valdiklis (114) ir naudotojo įvesties įtaisas (154) sąveikauja su vaizdo generavimo sistemos (42) atvaizdavimo sistema (118), informacijos užklausoms ir duomenims apie nuotolį bei kulkos kritimą pateikti naudotojui.

[0088] Atvaizdavimo sistema (118) gali apimti skaitmeninį ekraną, parengtą tiekti naudotojui taikinio vaizdą. Pavyzdžiui, atvaizdavimo sistema (118) gali palaikyti ryšį su vaizdo kamera (122) per valdiklį (114). Šviesa iš taikinio vietos gali patekti į gaubto (26) pirmąjį galą (66), kur ją pagauna vaizdo kamera (122). Vaizdo kamera (122) gali pagauti regimosios šviesos, infraraudonojo spektro bangų ilgių, terminio spektro bangų ilgių, hiperspektrinio bangų ilgių ir (arba) kitokio tipo vaizdo kameros vaizdus priklausomai nuo taikymo srities. Taigi, gali būti pagaunami didelės skyros skaitmeniniai vaizdai, infraraudonieji vaizdai, terminiai vaizdai ir (arba) bet kokio norimo spektro kito tipo vaizdai.

[0089] Gali būti naudojamos įvairių tipų atvaizdavimo sistemos (118). Pavyzdžiui, įvairių išradimo įgyvendinimo pavyzdžių atveju, atvaizdavimo sistema (118) gali būti įgyvendinta kaip skystųjų kristalų ekranas (LCD), skaitmeninio šviesos apdorojimo (DLP) ekranas (kuris, pavyzdžiui, gali pateikti šviesesnius vaizdus, nei paprasti LCD ekranai, tam tikrų išradimo įgyvendinimo pavyzdžių atvejais), organinių šviesos diodų (OLED) ekranas, plazminis ekranas, ekranas su elektroniniu vamzdžiu (CRT) ar kitokio tipo ekranas, priklausomai nuo konkrečios taikymo srities. Pavyzdžiui, ekrane gali būti rodomas vaizdas, įskaitant taikinį iš vaizdo kameros (122), ir tinklelis (pavyzdžiui, kryželis arba raudonas taškas).

[0090] Naudotojo įvesties įtaisas (154) gali būti skaitmeninis įvesties įtaisas ir gali apimti mygtukus (tokius kaip mygtukai (130)), pritaikytus naudoti su tikslu vartotojui pateikti informaciją ir pasirinkimus. Naudotojo įvesties įtaisas (154) gali palaikyti ryšį su atvaizdavimo sistema (118) ir valdikliu (114). Informacijai pateikti naudotojas gali pasirinkti parinktis per išskleidžiamuosius meniu, rodomus atvaizdavimo sistemoje (118).

[0091] Valdiklis (114) gali apimti kulkos kritimo modulį (158), nuotolio nustatymo modulį (162) ir ekrano valdymo modulį (166). Nuotolio nustatymo modulis (162) gali priimti informaciją iš naudotojo įvesties įtaiso (154). Pavyzdžiui, nuotolio nustatymo modulis (162) iš naudotojo įvesties įtaiso gali priimti informaciją apie gyvūno tipą, apskaičiuotąjį dydį ir dydžio tipą. Gyvūno rūšį ir dydžio tipą galima pasirinkti per išskleidžiamąjį meniu, atvaizdavimo sistemoje (118). Pavyzdžiui, galima pasirinkti vieną iš gyvūnų rūšių: šernas, juodasis lokys, rudasis lokys, briedis, elnias, antis, fazanas, balandis, žąsis ir t. t. Pavyzdžiui, galima pasirinkti vieną iš dydžio tipų: pilvo vertikalųjį storį, pilvo horizontalųjį ilgį, nugaros aukštį arba aukštį nuo žemės iki pilvo, aukštį nuo žemės iki peties, pilnutinį gyvūno ilgį ir t. t. Kuo matmuo didesnis, tuo tikslesnis apskaičiavimas.

[0092] Naudotojas gali nurodyti išmatuotąjį dydį pildomajame langelyje, kuris pateikiamas ekrane (118), naudojant skaičių mygtukus arba rodyklių mygtukus. Alternatyviai, išmatuotąjį dydį galima nurodyti išskleidžiamajame langelyje, pasirenkant skaičius, dydžio laukui užpildyti. Pavyzdžiui, naudotojas gali nurodyti šerno dydį nuo 2,5 iki 3,5 pėdų nuo žemės iki peties.

[0093] Alternatyviai, nuotolio nustatymo modulis (162) gali identifikuoti gyvūno, į kurį taikomasi, bendrąją rūšį iš bibliotekos, išsaugotos valdiklio (114) atmintyje (170). Pavyzdžiui, biblioteka gali būti užprogramuotoji biblioteka ir gali apimti įvairių gyvūnų vaizdus. Naudotojas gali nutaikyti kryželius, esančius ant optinių lęšių, taip, kad šie uždengtų gyvūną, į kurį taikomasi. Nuotolio nustatymo modulis (162) gali atpažinti saugomą vaizdą, kuris geriausiai atitinka gyvūną, į kurį taikomasi. Pavyzdžiui nuotolio nustatymo modulis (162) gali sutapdinti nustatytus taškus saugomame vaizde su gyvūnu, į kurį taikomasi, gyvūno bendrosios rūšies nustatymo tikslu. Gyvūno rūšis nustatoma pagal saugomą vaizdą, kuris geriausiai atitinka gyvūną, į kurį taikomasi.

[0094] Alternatyviai, nuotolio nustatymo modulis (162) gali sugretinti bendrosios gyvūno rūšies žinomą vidutinį dydį. Vidutiniai dydžiai kartu su bendrosiomis gyvūnų rūšimis gali būti saugomi atmintyje (170) esančioje užprogramuotojoje bibliotekoje. Pavyzdžiui, jei nuotolio nustatymo modulis (162) atpažįsta gyvūną, į kurį taikomasi, pavyzdžiui šerną, nuotolio nustatymo modulis (162) gali naudoti šerno vidutinį dydį. Pavyzdžiui, šerno vidutinis dydis gali būti 2,5–3,5 pėdos nuo žemės iki peties.

[0095] Nuotolio nustatymo modulis (162) gali nustatyti išmatuotąjį nuotolį pagal naudotojo įvestus duomenis ir (arba) gyvūną bei nustatytą dydį. Priklausomai nuo gyvūno rūšies nuotolio nustatymo modulis (162) gali perduoti informaciją apie gyvūno rūšį į ekrano valdymo modulį (166), kuris ekrane (118) pateikia kryželius su atitinkamos rūšies gyvūno kontūru. 4 pav., pavyzdžiui, ekranas (118) pateikia šerno kontūrą (174), kai pasirinkta gyvūno rūšis yra šernas.

[0096] Paveikslėlyje 4 šerno kontūro (174) dydis nustatytas 100 jardų nuotoliui modeliuoti. Plonais kryželiais (178) nurodomas ekrano (118) centras (182). Naudojimo metu ploni kryželiai (178) gali būti nerodomi arba ploni kryželiai (178) gali būti rodomi. Nusitaikymo taško kryželiais (186) nurodoma nusitaikymo vieta. Kaip matyti iš 100 jardų modelio, nusitaikymo taško kryželiai (186) persidengia su plonų kryželių (178) sankirta, vadinasi, 100 jardų nusitaikymo taškas yra ekrano (118) centre (182).

[0097] Nuotolio nustatymo modulis (162) gali pateikti raginimą naudotojui sulygiuoti gyvūno kontūrą (174) su gyvūnu (190), į kurį taikomasi. Pavyzdžiui, nuotolio nustatymo modulis (162) gali paraginti ekrano valdymo modulį (166), kad šis ekrane (118) apšviestų pranešimą naudotojui, su raginimu sulygiuoti gyvūno kontūrą (174) su gyvūnu (190), į kurį taikomasi.

[0098] Papildomai pagal 5 pav., sulygiavus gyvūno kontūrą (174) su gyvūnu (190), į kurį taikomasi, naudotojui gali būti pateiktas raginimas padidinti arba sumažinti gyvūno kontūrą (174) taip, kad šis atitiktų gyvūno (190), į kurį taikomasi išorines ribas. Pavyzdžiui, nuotolio nustatymo modulis (162) gali paraginti ekrano valdymo modulį (166) tam, kad šis ekrane (118) apšviestų pranešimą naudotojui, su raginimu sureguliuoti gyvūno kontūro (174) dydį. Naudotojas gali reguliuoti dydį per naudotojo įvesties įtaisą (154). Pavyzdžiui, naudotojas gali naudoti rodyklių mygtukus, į viršų ir į apačią, gyvūno kontūro (174) dydžiui reguliuoti. Alternatyviai, naudotojas gali naudoti perjungiklį arba sukamąją rankenėlę, gyvūno kontūro (174) dydžiui reguliuoti.

[0099] Paveikslėlyje 5 šerno kontūro (174) dydis yra nustatytas 200 jardų nuotoliui modeliuoti. Plonais kryželiais (178) nurodomas ekrano (118) centras (182). Naudojimo metu, ploni kryželiai (178) gali būti nematomi. Alternatyviai, ploni kryželiai (178) gali būti matomi. Nusitaikymo taško kryželiais (186) ir gyvūno kontūru (174) nurodoma nusitaikymo vieta. Kaip matyti iš 200 jardų modelio, nusitaikymo taško kryželiai (186) yra žemiau plonų kryželių (178) sankirtos, vadinasi, 200 jardų nusitaikymo taškas yra žemiau ekrano (118) centro (182). Paveikslėlyje 5, skaitmeninis mastelio keitiklis padidina gyvūno (190), į kurį yra taikomasi, atskaitinį dydį, gyvūno kontūrą (174) ir nusitaikymo taško kryželių (186) dydį. Naudotojas gali suaktyvinti skaitmeninio mastelio keitimo funkciją per naudotojo įvesties įtaisą (154), kaip nurodyta toliau.

[0100] Nuotolio nustatymo modulis (162) gali nustatyti išmatuotąjį nuotolį pagal gyvūno rūšį, išmatuotąjį gyvūno dydį ir ekrane (118) rodomą gyvūno kontūrą. Pavyzdžiui, optinio taikiklio (10) regėjimo lauke , pavyzdžiui ekrane (118), 4 pav. ir 5 pav., pateikiami kiekvieno pikselio ir visų pikselių kampiniai matmenys. Naudotojo pateiktas gyvūno tiesinis matmuo yra laikomas žinomu matmeniu. Kai tiesinis matmuo yra uždedamas ant gyvūno (190), į kurį yra taikomasi, nuotolio nustatymo modulis (162) apskaičiuoja nuotolį pagal pikselių kampinius matmenis. Atsižvelgiant į 6A pav., pavyzdžiui, 35 milimetrų ekvivalentinio židinio nuotolio (35 mm EFL) lęšio atveju, kai žinomas šerno matmuo yra 3 pėdos nuo žemės iki peties, kampinės minutės (MOA) dydis yra 20–25 MOA ir gyvūno kontūras užima 3–6% ekrano, apytikris nuotolis gali būti 150 jardų. 6A paveiksle pateikti nuotoliai yra tik kaip pavyzdžiai ir gali skirtis, priklausomai nuo optinio taikiklio (10) arba lęšių. Atmintyje (170) saugomi kiekvieno konkretaus optinio taikiklio (10) nuotoliai gali būti apskaičiuoti ir patikrinti bandymais.

[0101] Kulkos kritimo modulis (158) gali nustatyti apskaičiuotąjį kulkos kritimą pagal apskaičiuotąjį nuotolį. Pavyzdžiui, apskaičiuotasis kulkos kritimas gali būti nustatomas, atsižvelgiant į šaudmens tipą bei masę. Įvairūs kulkos kritimo rodikliai, priklausomai nuo nuotolių segmentų, gali būti saugomi atmintyje (170) įrašytoje bibliotekoje. Kulkos kritimo rodiklių priklausomybė nuo nuotolių segmentų gali būti nustatoma pagal bandymų duomenis. Alternatyviai, kulkos kritimo rodiklių priklausomybė nuo nuotolių segmentų gali būti nustatoma apskaičiavimais, atsižvelgiant į šaudmens kinetinę energiją, šaudmens masę, įveiktą atstumą ir sunkio jėgą. Apskaičiuotus kulkos kritimo rodiklius galima patikrinti, naudojant bandymų duomenis. Pavyzdžiui, atsižvelgiant į 6B pav., gali būti saugomi nuotolių nuo 0 iki 500 jardų kulkos kritimo rodikliai intervalais kas 50 jardų. Pavyzdžiui, 0,223 kalibro šovinio 55 granų masės kulkos su vientisu metaliniu apvalkalu apskaičiuotasis kritimas esant 150 jardų nuotoliui gali būti nuo 0,5 iki 1,0 colio.

[0102] Kulkos kritimo modulis (158) gali nustatyti apskaičiuotąjį kritimą pagal tinklelį (pavyzdžiui, MOA tinklelį), kuris koreliuoja su išmatuotuoju kulkos kritimu coliais. Išmatuotojo kritimo pagal tinklelį ir išmatuotojo kulkos kritimo coliais koreliacija gali būti saugoma bibliotekoje, įrašytoje atmintyje (170). Išmatuotasis kritimas pagal tinklelį gali būti nustatomas apskaičiavimo būdu, atsižvelgiant į matmenis ir (arba) lęšio židinio nuotolį. Gali būti saugomas kiekvieno nuotolių segmento, kuriam priskirtas apskaičiuotasis kulkos kritimas, koreliuotasis apskaičiuotas kritimas. Pavyzdžiui, atsižvelgiant į 6B pav., gali būti saugomi nuotolių nuo 0 iki 500 jardų koreliuotieji kritimo rodikliai intervalais kas 50 jardų. Pavyzdžiui, išmatuotasis kritimas pagal tinklelį, esant 150 jardų nuotoliui gali būti nuo 0,30 iki 0,60.

[0103] Kulkos kritimo modulis (158) gali palaikyti ryšį su ekrano valdymo moduliu (166), kad šis apšviestų nusitaikymo į taikinį tašką priklausomai nuo apskaičiuotojo kritimo pagal tinklelį. Kulkos kritimo modulis (158) gali papildomai palaikyti ryšį su valdymo moduliu, kad būtų rodomas išmatuotasis kulkos kritimas coliais.

[0104] Ekrano valdymo modulis (166) gali valdyti ekraną taip, kad būtų apšviestas tinklelis, gyvūno kontūras, nuotolis, kritimas ir t. t. atskirai arba tam tikras jų derinys. Gyvūno kontūras (174) gali būti apšviečiamas tada, kai nuotolio nustatymo modulis (162) vykdo nuotolio nustatymą. Gyvūno kontūras (174) gali būti pašalinamas iš ekrano, kai nuotolis nustatomas ir parodomas. Nuotolis skaičiais gali būti rodomas ekrano (118) pakraštyje. Nuotolis taip pat gali būti rodomas ekrano (118) viduryje. Kritimas gali būti rodomas skaičių arba taškų pavidalu. Kritimo skaitinė vertė gali būti rodoma ekrano (118) pakraštyje. Kritimo skaitinė vertė taip pat gali būti rodoma ekrano (118) viduryje. Kritimo vertė taškais gali būti rodoma tinklelyje pagrindinių kryželių atžvilgiu.

[0105] Ekrano valdymo modulis (166) gali įjungti skaitmeninio mastelio keitimo funkciją per naudotojo įvesties įtaisą (154). Ekrano valdymo modulis (166) taip pat gali automatiškai įjungti skaitmeninio mastelio keitimo funkciją nuotolio nustatymo metu. Pavyzdžiui, bet kuriuo atveju ekrano valdymo modulis (166) gali palaikyti ryšį su vaizdo kameros valdymo moduliu (194) valdiklyje (114). Vaizdo kameros valdymo modulis (194) gali reguliuoti vaizdo kameros (122) didinimo rodiklį, valdiklio (114) apdorotam vaizdui, padidinto rodymo ekrane (118) tikslu. Pavyzdžiui, kameros valdymo modulis (194) gali reguliuoti vaizdo kameros (122) didinimo rodiklį, vaizdui padidinti 5, 8, 10 ar bet kokį skaičių kartų.

[0106] Mastelio keitimas gali būti centruotas ant nusitaikymo taško (198). Pavyzdžiui, atsižvelgiant į 7A ir 7B paveikslus, naudotojas gali paslinkti nusitaikymo tašką (198) iš pirminės padėties, sulygiuotos su pagrindinio vertikaliojo kryželio (206) ir pagrindinio horizontaliojo kryželio (210) sankirta (202), į antrąją padėtį ekrane (118). Pavyzdžiui, nusitaikymo taškas (198) gali būti paslenkamas, naudojant naudotojo įvesties įtaisą (154), pavyzdžiui mygtuką, valdymo svirtį ir t. t..

[0107] Mastelio keitimo funkcijai įjungti, galima pasirinkti papildomą naudotojo įvesties įtaisą (154). Pavyzdžiui, naudotojas gali paspausti mastelio keitimo mygtuką, nuotolio mygtuką, kitą mygtuką, perjungiklį ir t. t. mastelio keitimo funkcijai įjungti. Po signalo gavimo iš naudotojo įvesties įtaiso (154), kameros valdymo modulis (194) gali reguliuoti vaizdo kameros (122) didinimo rodiklį vaizdui padidinti, kur padidintas vaizdas centruojamas pagal nusitaikymo takšą (198), kaip pavaizduota 7B pav.

[0108] Alternatyviai, naudotojas gali pasirinkti vieną iš daugybės langelių, atitinkančių įvairias vaizdo kameros (122) mastelio keitimo parinktis. Kaip pavaizduota 8 pav., vidinis langelis (214) gali atitikti pirmosios mastelio keitimo parinkties regėjimo lauką, o išorinis langelis (218) gali atitikti antrosios, kitos mastelio keitimo parinkties regėjimo lauką. Pirmosios mastelio parinkties didinimo rodiklis gali būti didesnis nei antrosios mastelio keitimo parinkties. Pavyzdžiui, pasirinkus pirmąją mastelio keitimo parinktį, nustatomas 10 skaitmeninio didinimo rodiklis, o antrąją – 8 skaitmeninio didinimo rodiklis. Nors pavaizduotas ir aprašytas vidinis langelis (214) ir išorinis langelis (218), suprantama, kad šis išradimas neapsiriboja dviem langeliais - langelių su skirtingomis mastelio parinktimis skaičius yra neribotas. Kaip jau minėta, nepriklausomai nuo pasirinktos mastelio keitimo parinkties, vaizdas centruojamas pagal nusitaikymo tašką (198). Naudotojas gali pasirinkti langelius naudotojo įvesties įtaisu (154).

[0109] Atsižvelgiant į 3 pav., ekrano valdymo modulis (166) gali rodyti tinklelį ir informaciją viename ekrane arba pateikti vaizdą, vaizdo vaizde režimu. Atsižvelgiant į 7A, 7B ir 8 pav., viename ekrane gali būti perjungiama iš pakeisto mastelio rodinio į centravimo iš naujo rodinį. Pavyzdžiui, lygiuojant kryželius arba pirminį nusitaikymo tašką (202), pavyzdžiui, esant dideliam nuotoliui, pavyzdžiui, 600 m arba daugiau, optikos didinimo rodiklis gali didėti taip, kad kulkos kritimo rodiklis po jo nustatymo atsiduria už ekrano (118) regėjimo lauko ribų. Tam, kad apskaičiuotasis kulkos kritimo rodiklis būtų matomas prie nusitaikymo taško (198), ekranas (118) gali atlikti centravimą iš naujo pagal nusitaikymo tašką (198). Pirminis nusitaikymo taškas (202) taip pat gali būti už ekrano (118) regėjimo lauko ribų. Taigi, pirminis nusitaikymo taškas (202) gali būti centruojamas ekrane (118), duomenims apie nuotolį rinkti ir nuotoliui bei kulkos kritimui nustatyti, kaip pavaizduota 7A pav.. Ekranas (118) gali būti iš naujo centruojamas aplink nusitaikymo tašką (198), kulkos kritimo taškui parodyti, kaip pavaizduota 7B pav..

[0110] Pagal 9 paveikslą, ekrane (118), vaizdo vaizde režimu, gali būti rodomas pagrindinis langas (222) ir pagrindinio lango (222) padidinta dalis (226), užklota ant pagrindinio lango (222). Padidinta dalis (226) gali būti rodoma bet kurioje pagrindinio lango (222) vietoje. Pavyzdžiui, kaip parodyta 9 pav., padidinta dalis (226) gali būti rodoma pagrindinio ekrano (222) apačioje.

[0111] Naudotojas gali pasirinkti pagrindinio ekrano (222) dalį, kuri įtraukiama į padidintąją dalį (226). Pavyzdžiui, naudotojo įvesties įtaisu (154) naudotojas gali pasirinkti pagrindinių kryželių (206, 210) sankirtą (202) kaip pagrindinio ekrano (222) padidintąją dalį (226). Tada padidinta dalis (226) centruojama pagal sankirtą (202), t. y., pirminį nusitaikymo tašką. Alternatyviai, naudotojo įvesties įtaisu (154) naudotojas gali pasirinkti nusitaikymo tašką (198), arba kritimo tašką, kaip pagrindinio ekrano (222) padidintąją dalį (226). Tada padidinta dalis centruojama pagal nusitaikymo tašką (198).

[0112] Naudotojas gali reguliuoti padidintos dalies didinimo rodiklį per naudotojo įvesties įtaisą (154). Pavyzdžiui, naudotojo įvesties įtaisas (154) gali apimti mygtukus, perjungiklius ar rankenėles padidintos dalies (226) didinimo rodikliui reguliuoti. Pavyzdžiui, padidintos dalies (226) didinimo rodiklis gali būti reguliuojamas visame optikos didinimo rodiklių diapazone.

[0113] Padidintos dalies (226) taškų skaičius gali būti toks pat, kaip ir pagrindinio lango (222). Pavyzdžiui, padidintos dalies (226) pikseliai gali būti to paties dydžio, kaip ir pagrindinio lango (222) pikseliai, Tad padidintos dalies (226) vaizdas gali būti aiškesnis, nei padidinus pagrindinio lango (222) taškus, keičiant mastelį.

[0114] Padidintos dalies (226) tinklelio vaizdas gali skirtis nuo pagrindinio lango (222) tinklelio vaizdo. Pavyzdžiui, pagrindiniame lange (222) gali būti rodomas kryželio tipo tinklelis, o padidintoje dalyje (226) – taško tipo tinklelis. Padidintoje dalyje (226) ir pagrindiniame lange (222) taip pat gali būti pateikiamas vienodas tinklelio vaizdas. Pavyzdžiui, padidintos dalies (226) tinklelis ir pagrindinio lango tinklelis (222) gali būti kryželio tipo, taško tipo ir t. t.

[0115] 10 pav. pateikta apskaičiuotojo nuotolio ir kulkos kritimo nustatymo būdo (300), pagal pirmą būdo įgyvendinimo pavyzdį, struktūrinė schema. Pradžioje, naudotojas įveda (308) įvairius duomenis į kulkos kritimo ir nuotolio nustatymo sistemą (38). Pavyzdžiui, valdiklis (114) pateikia naudotojui raginimą įvesti (308) duomenis ekrane (118). Naudotojas gali įvesti (308) parametrus per naudotojo įvesties įtaisą (154). Naudotojo įvesties įtaisai (154) gali būti, pavyzdžiui, mygtukai, perjungikliai, rankenėlės, valdymo svirtys. Įvairūs parametrai gali būti, pavyzdžiui, gyvūno rūšis, gyvūno dydis, apytikslis dydis arba jų derinys.

[0116] Naudotojas gali įvesti (308) gyvūno rūšį. Pavyzdžiui, naudotojas gali pasirinkti gyvūno rūšį ekrane (118). Pasirinkimo tikslu gali būti naudojamas žymimasis langelis, išskleidžiamasis meniu, įvesties laukelis ir t. t. Gyvūno rūšis gali būti, pavyzdžiui, šernas, juodasis lokys, rudasis lokys, briedis, elnias, žąsis ir t. t.

[0117] Naudotojas gali įvesti (308) gyvūno matmens tipą. Pavyzdžiui, naudotojas gali pasirinkti gyvūno matmens tipą ekrane (118). Pasirinkimo tikslu gali būti naudojamas žymimasis langelis, išskleidžiamasis meniu, įvesties laukelis ir t. t. Matmens tipas gali būti pilvo vertikalusis storis, pilvo horizontalusis ilgis, aukštis nuo žemės iki nugaros arba pilvo, aukštis nuo žemės iki peties, pilnutinis gyvūno ilgis ir t. t.

[0118] Naudotojas kaip gyvūno matmens tipą gali įvesti (308) apytikslį gyvūno dydį. Pavyzdžiui, naudotojas gali nurodyti (308) apskaičiuotąjį dydį pildomajame langelyje, kuris pateikiamas skaitmeniniame ekrane (118), naudodamas skaičių mygtukus arba rodyklių mygtukus. Alternatyviai, apskaičiuotąjį dydį galima nurodyti (308) išskleidžiamajame langelyje pasirenkant skaičius dydžio laukui užpildyti. Pavyzdžiui, naudotojas gali nurodyti šerno dydį nuo 2,5 iki 3,5 pėdų nuo žemės iki peties.

[0119] Alternatyviai, gyvūno rūšį ir (arba) matmens tipą ir (arba) apytikslį dydį gali nustatyti valdiklis (114). Pavyzdžiui, gyvūno rūšiai, matmens tipui, apytiksliam dydžiui arba jų deriniui nustatyti gali būti įgyvendinamas vienas ar daugiau toliau aprašytų būdo žingsnių pagal 11 pav.

[0120] Toliau, būdas (300) apima gyvūno pagavimą arba atvaizdavimą (312), optinio taikiklio (10) ekrane (118) arba regėjimo lauke. Pavyzdžiui, valdiklis (114) gali paraginti naudotoją sulygiuoti (312) tinklelį su gyvūnu regėjimo lauke ekrane (118) pateikiamu pranešimu. Tinklelis gali būti kryželio tipo arba taško tipo. Valdiklis (114) gali apšviesti pagal tinklelį centruotą gyvūno kontūrą ekrane (118). Atsižvelgiant į 4 paveikslą, pavyzdžiui, ekranas (118) gali pateikti šerno kontūrą (174), kai pasirinkta gyvūno rūšis yra šernas.

[0121] Naudotojui gali būti suteikta galimybė padidinti gyvūno kontūrą (174) ir gyvūną (190), į kurį taikomasi, vaizdo vaizde režimu. Naudotojas gali reguliuoti gyvūno (190), į kurį taikomasi, mastelį, vaizdui padidinti padidintojoje dalyje (226), kuri užklojama ant pagrindinio lango (222). Padidintoji dalis (226) gali padėti naudotojui sulygiuoti gyvūno (190), į kurį taikomasi, vaizdą su gyvūno kontūru (174).

[0122] Toliau, būdas (300) apima gyvūno kontūro (174) dydžio sureguliavimą (316) taip, kad jis atitiktų ekrane (118) rodomą gyvūną (190), į kurį taikomasi. Pavyzdžiui, valdiklis (114) gali nustatyti (316) gyvūno vaizdo pakoreguoto kontūro (174) rodymo srities dydį arba procentinę dalį. Pavyzdžiui, valdiklis (114), ekrano pranešimu, gali paraginti naudotoją padidinti (316) arba sumažinti (316) gyvūno kontūrą (174) taip, kad jis atitiktų gyvūno (190), į kurį yra taikomasi, išorines ribas. Naudotojas gali reguliuoti (316) gyvūno kontūro (174) dydį per naudotojo įvesties įtaisą (154). Pavyzdžiui, naudotojas gali naudoti rodyklių mygtukus gyvūno kontūro (174) dydžiui reguliuoti (316). Alternatyviai, naudotojas gali naudoti perjungiklį arba sukamąją rankenėlę, gyvūno kontūro (174) dydžiui reguliuoti (316).

[0123] Toliau, būdas (300) apima apskaičiuotojo nuotolio, nuo optinio taikiklio (10) iki gyvūno (190), į kurį yra taikomasi, nustatymą (320). Pavyzdžiui, valdiklis (114) gali nustatyti (320) apskaičiuotąjį nuotolį pagal gyvūno rūšį, apskaičiuotąjį gyvūno dydį, ir ekrane (118) rodomą gyvūno kontūrą. Pavyzdžiui, valdiklis (114) gali pateikti (320) apskaičiuotąjį nuotolį, atitinkantį orientacines atmintyje (170) saugomos lentelės vertes. Lentelė gali būti užprogramuotoji lentelė su nuotoliais, kurie buvo apskaičiuoti ir patikrinti bandymais. Atsižvelgiant į 6A pav., pavyzdžiui, 35 milimetrų ekvivalentinio židinio nuotolio (35 mm EFL) lęšio atveju, kai žinomas šerno matmuo yra 3 pėdos nuo žemės iki peties, MOA dydis yra 20–25 MOA, gyvūno kontūras užima 3–6% ekrano, apytikris nuotolis gali būti 150 jardų.

[0124] Toliau, būdas (300) apima apskaičiuotojo nuotolio parodymą (324). Pavyzdžiui, valdiklis (114) gali parodyti (324) nuotolį ekrane (118), skaičių pavidalu.

[0125] Toliau, būdas (300) apima apskaičiuotojo kulkos kritimo nustatymą (328). Pavyzdžiui, valdiklis (114) gali nustatyti (328) gyvūno (190), į kurį taikomasi, apskaičiuotąjį kulkos kritimą, pagal apskaičiuotąjį nuotolį. Pavyzdžiui, valdiklis (114) gali apimti balistinį skaičiuotuvą, kuris apskaičiuoja (328) kritimą pagal nuotolį, šaudmens tipą ir šaudmens masę. Alternatyviai, pavyzdžiui, valdiklis (114) gali pateikti (328) apskaičiuotąjį kulkos kritimą, atitinkantį orientacines atmintyje (170) saugomos lentelės vertes. Lentelė gali būti užprogramuotoji lentelė su kulkos kritimo rodikliais, kurie buvo apskaičiuoti ir patikrinti bandymais. Pavyzdžiui, apskaičiuotasis kulkos kritimas gali būti nustatomas, atsižvelgiant į šaudmens tipą bei masę. Pavyzdžiui, gali būti saugomi nuotolių nuo 0 iki 500 jardų kulkos kritimo rodikliai intervalais kas 25–50 jardų, kaip parodyta 6B pav.. Pavyzdžiui, 0,223 kalibro šovinio 55 granų masės kulkos su vientisu metaliniu apvalkalu apskaičiuotasis kritimas esant 150 jardų nuotoliui gali būti nuo 0,5 iki 1,0 colio.

[0126] Toliau, būdas (300) apima apskaičiuotojo kritimo nustatymą (332) pagal tinklelį. Valdiklis (114) gali nustatyti (332) apskaičiuotąjį kritimą pagal tinklelį, pavyzdžiui, MOA tinklelį, kuris koreliuoja su apskaičiuotuoju kulkos kritimu coliais. Pavyzdžiui, valdiklis (114) gali apskaičiuoti (332) kritimą pagal tinklelį apskaičiuotojo kritimo coliais konvertavimo į MOA būdu. Apskaičiuotojo kritimo pagal tinklelį ir apskaičiuotojo kulkos kritimo coliais koreliacijos taip pat gali būti saugomos lentelėje, įrašytoje atmintyje (170). Gali būti saugomas kiekvieno nuotolių segmento, kuriam priskirtas apskaičiuotasis kulkos kritimas, koreliuotasis apskaičiuotas kritimas. Pavyzdžiui, gali būti saugomi nuotolių nuo 0 iki 500 jardų koreliuotieji kritimo rodikliai intervalais kas 25–50 jardų, kaip pavaizduota 6B pav.. Pavyzdžiui, apskaičiuotasis kritimas pagal tinklelį esant 150 jardų nuotoliui gali būti nuo 0,30 iki 0,60.

[0127] Toliau, būdas (300) apima apskaičiuotojo kritimo pagal tinklelį parodymą (336). Pavyzdžiui, valdiklis (114) gali rodyti (336) apskaičiuotąjį kulkos kritimą ir (arba) apskaičiuotąjį kritimą pagal tinklelį. Valdiklis (114) gali rodyti (336) apskaičiuotąjį kulkos kritimą skaičiais ant tinklelio perimetro. Valdiklis (114) taip pat gali rodyti (336) apskaičiuotąjį kritimą ant tinklelio kaip papildomą nusitaikymo tašką arba taškinį tinklelį, pavyzdžiui, nusitaikymo tašką (186), ekrane (118).

[0128] Valdiklis (114) gali rodyti (336) duomenis apie nuotolį ir kulkos kritimą, vaizdo vaizde režimu, naudojant padidintą dalį (226) ir pagrindinį langą (222). Apskaičiuotasis kritimas gali būti rodomas (336) kaip papildomas nusitaikymo taškas (186) padidintoje dalyje (226), kartu su pirminiu nusitaikymo tašku (198), o apskaičiuotasis kulkos kritimas ir apskaičiuotasis nuotolis gali būti rodomi (336) skaičiais, pagrindiniame lange (222).

[0129] 11 pav. pateikta apskaičiuotojo nuotolio ir kulkos kritimo nustatymo būdo (400), pagal antrą būdo įgyvendinimo pavyzdį, struktūrinė schema. Pradžioje, kulkos kritimo ir nuotolio nustatymo sistema (38) iš naudotojo gauna (408) komandą nustatyti nuotolį. Pavyzdžiui, naudotojas gali įvesti (408) komandą per naudotojo įvesties įtaisą (154). Naudotojo įvesties įtaisai (154) gali būti, pavyzdžiui, mygtukai, perjungikliai, rankenėlės ir valdymo svirtys.

[0130] Toliau, būdas (400) apima gyvūno (190), į kurį yra taikomasi, sulygiavimą (412), po to kai naudotojas gauna raginimą, su tinkleliu (186), ekrano (118) regėjimo lauke. Pavyzdžiui, valdiklis (114) gali apšviesti ekrane (118) pranešimą, kuriuo naudotojas raginamas sulygiuoti (412) gyvūno (190), į kurį taikomasi, vaizdą su ekranu (118). Tinklelis (186) gali būti kryželio tipo tinklelis, kaip pavaizduota 4 pav. ir 5 pav., arba taškinis tinklelis, kaip pavaizduota 7A, 7B ir 8 pav..

[0131] Toliau, būdas (400) apima parametrų nustatymą (416). Pavyzdžiui, valdiklis (114) gali nustatyti (416) gyvūno rūšį, gyvūno matmens tipą ir dydį. Pavyzdžiui, gyvūno rūšis gali būti šernas, juodasis lokys, rudasis lokys, briedis, elnias, žąsis ir t. t. Valdiklis (114) gali kreiptis į išsaugotų gyvūnų rūšių vaizdų biblioteką. Valdiklis (114) gali koreliuoti (416) nustatytus taškus išsaugotuose vaizduose su atitinkamais gyvūno (190), į kurį yra taikomasi, vaizdo taškais ekrane (118). Pavyzdžiui, gyvūno rūšis gali būti pasirenkama pagal vaizdą su daugiausiai atitinkančių taškų.

[0132] Matmens tipas gali būti, pavyzdžiui, vertikalusis pilvo storis, horizontalusis pilvo ilgis, nugaros arba pilvo aukštis nuo žemės, pečių aukštis nuo žemės, pilnutinis gyvūno ilgis ir t. t. Valdiklis (114) gali kreiptis į pasirinktos rūšies gyvūnų išsaugotų matmenų tipų ir dydžių biblioteką. Dydžiai gali būti tam tikros rūšies gyvūnų vidutiniai dydžiai.

[0133] Alternatyviai, naudotojas taip pat gali būti paragintas nurodyti (416), pavyzdžiui, išskleidžiamajame langelyje, įvesties langelyje arba mygtukais, ar gyvūnas, į kurį taikomasi, yra jaunas, ar subrendęs. Į išsaugotų vaizdų biblioteką taip pat gali būti įtraukti kiekvienos rūšies jaunų ir subrendusių gyvūnų vaizdai ir jie gali būti koreliuojami su gyvūno (190), į kurį taikomasi, vaizdu ekrane (118) gyvūno rūšiai ir amžiaus grupei nustatyti. Pavyzdžiui, valdiklis (114) gali pasirinkti šerno dydį nuo 2,5 iki 3,5 pėdų nuo žemės iki peties.

[0134] Toliau, būdas (400) apima pasirinktos rūšies gyvūno kontūro (174) apšvietimą (420) ekrane (118). Pavyzdžiui, valdiklis (114) gali ekrane (118) pateikiamu pranešimu paraginti naudotoją sulygiuoti gyvūno kontūrą (174) su gyvūnu ekrane (118). Be to, pavyzdžiui, ekranas (118) gali pateikti šerno kontūrą, kai pasirinkta gyvūno rūšis yra šernas, kaip pavyzdžiui 4 pav..

[0135] Naudotojui gali būti suteikta galimybė padidinti gyvūno kontūrą ir gyvūną, į kurį taikomasi, vaizdo vaizde režimu. Naudotojas gali reguliuoti mastelį, gyvūno (190), į kurį taikomasi, vaizdui padidinti padidintojoje dalyje (226), kuri užklojama ant pagrindinio lango (222). Padidintoji dalis (226) gali padėti naudotojui sulygiuoti (412) gyvūno (190), į kurį taikomasi, vaizdą su gyvūno kontūru (174).

[0136] Toliau, būdas (400) apima gyvūno kontūro dydžio sureguliavimą (424) taip, kad jis atitiktų ekrane rodomą gyvūną (190), į kurį taikomasi. Pavyzdžiui, valdiklis (114) gali nustatyti (424) gyvūno vaizdo pakoreguoto kontūro (174) rodymo srities dydį arba procentinę dalį. Pavyzdžiui, valdiklis (114) gali padidinti (424) arba sumažinti (424) gyvūno kontūrą (174) taip, kad jis atitiktų gyvūno (190), į kurį yra taikomasi, išorines ribas. Pavyzdžiui, valdiklis (114) gali padidinti (424) arba sumažinti (424) gyvūno kontūrą (174) taip, kad nustatyti taškai ant gyvūno kontūro (174) atitiktų atitinkamus taškus ant gyvūno (190), į kurį taikomasi, vaizdo.

[0137] Toliau, būdas (400) apima apskaičiuotojo nuotolio, nuo optinio taikiklio (10) iki gyvūno (190), į kurį yra taikomasi, nustatymą (428). Pavyzdžiui, valdiklis (114) gali nustatyti (428) apskaičiuotąjį nuotolį pagal gyvūno rūšį, apskaičiuotąjį gyvūno dydį ir ekrane rodomą gyvūno kontūrą. Pavyzdžiui, valdiklis (114) gali pateikti (428) apskaičiuotąjį nuotolį, atitinkantį orientacines atmintyje (170) saugomos lentelės vertes. Lentelė gali būti užprogramuotoji lentelė su nuotoliais, kurie buvo apskaičiuoti ir patikrinti bandymais. Pavyzdžiui, 35 milimetrų ekvivalentinio židinio nuotolio (35 mm EFL) lęšio (žr. 6A pav.) atveju, kai žinomas šerno matmuo yra 3 pėdos nuo žemės iki peties, MOA dydis yra 20–25 MOA, gyvūno kontūras užima 3–6% ekrano, apytikris nuotolis gali būti 150 jardų.

[0138] Toliau, būdas (400) apima apskaičiuotojo nuotolio parodymą (432). Pavyzdžiui, valdiklis (114) gali parodyti (432) nuotolį ekrane (118), skaičių pavidalu.

[0139] Toliau, būdas (400) apima apskaičiuotojo kulkos kritimo nustatymą (436). Pavyzdžiui, valdiklis (114) gali nustatyti (436) gyvūno, į kurį taikomasi, apskaičiuotąjį kulkos kritimą pagal apskaičiuotąjį nuotolį. Pavyzdžiui, valdiklis (114) gali apimti balistinį skaičiuotuvą, kuris apskaičiuoja kritimą pagal nuotolį, šaudmens tipą ir šaudmens masę. Alternatyviai, pavyzdžiui, valdiklis (114) gali pateikti (436) apskaičiuotąjį kulkos kritimą, atitinkantį orientacines atmintyje (170) saugomos lentelės vertes. Lentelė gali būti užprogramuotoji lentelė su kulkos kritimo rodikliais, kurie buvo apskaičiuoti ir patikrinti bandymais. Pavyzdžiui, apskaičiuotasis kulkos kritimas gali būti nustatomas, atsižvelgiant į šaudmens tipą bei masę. Pavyzdžiui, gali būti saugomi nuotolių nuo 0 iki 500 jardų kulkos kritimo rodikliai intervalais kas 50 jardų (žr. 6B pav.). Pavyzdžiui, 0,223 kalibro šovinio 55 granų masės kulkos su vientisu metaliniu apvalkalu apskaičiuotasis kritimas esant 150 jardų nuotoliui gali būti nuo 0,5 iki 1,0 colio.

[0140] Toliau, būdas (400) apima apskaičiuotojo kritimo pagal tinklelį nustatymą (440). Valdiklis (114) gali nustatyti (440) apskaičiuotąjį kritimą pagal tinklelį (pavyzdžiui, MOA tinklelį), kuris koreliuoja su apskaičiuotuoju kulkos kritimu coliais. Pavyzdžiui, valdiklis (114) gali apskaičiuoti (440) kritimą pagal tinklelį, apskaičiuotojo kritimo coliais konvertavimo į MOA būdu. Alternatyviai, apskaičiuotojo kritimo pagal tinklelį ir apskaičiuotojo kulkos kritimo coliais koreliacijos gali būti saugomos lentelėje, įrašytoje atmintyje (170). Gali būti saugomas kiekvieno nuotolių segmento, kuriam priskirtas apskaičiuotasis kulkos kritimas, koreliuotasis apskaičiuotas kritimas. Pavyzdžiui, gali būti saugomi nuotolių nuo 0 iki 500 jardų koreliuotieji kritimo rodikliai intervalais kas 50 jardų (žr. 6B pav.). Pavyzdžiui, apskaičiuotasis kritimas pagal tinklelį esant 150 jardų nuotoliui gali būti nuo 0,30 iki 0,60.

[0141] Toliau, būdas (400) apima apskaičiuotojo kritimo pagal tinklelį parodymą (444). Pavyzdžiui, valdiklis (114) gali rodyti (444) apskaičiuotąjį kulkos kritimą ir (arba) apskaičiuotąjį kritimą pagal tinklelį. Valdiklis (114) gali rodyti (444) apskaičiuotąjį kulkos kritimą skaičiais ant tinklelio perimetro. Alternatyviai, valdiklis (114) taip pat gali rodyti (444) apskaičiuotąjį kritimą ant tinklelio, kaip papildomą nusitaikymo tašką (186) arba taškinį tinklelį ekrane (118).

[0142] Valdiklis (114) gali rodyti (444) duomenis apie nuotolį ir kulkos kritimą, vaizdo vaizde režimu, naudojant padidintą dalį (226) ir pagrindinį langą (222). Apskaičiuotasis kritimas gali būti rodomas (444) kaip papildomas nusitaikymo taškas (186) padidintoje dalyje (226), kartu su pirminiu nusitaikymo tašku (198), o apskaičiuotasis kulkos kritimas ir apskaičiuotasis nuotolis gali būti rodomi (444) skaičiais, pagrindiniame lange (222).

[0143] Įgyvendinimo pavyzdžių aprašymas pateiktas vaizdingo aiškinimo ir aprašomaisiais tikslais. Jis nėra išsamus ir neriboja išradimo apimties. Konkretaus įgyvendinimo pavyzdžio elementai bei ypatybės paprastai neapsiriboja tuo konkrečiu įgyvendinimo pavyzdžiu, ir gali būti keičiamos bei naudojamos pasirinktame įgyvendinimo pavyzdyje, netgi jei tai nėra atskirai pavaizduota arba aprašyta. Taip pat galimos įvairios minėtų elementų ir ypatybių variacijos. Tokios variacijos neturi būti laikomos nukrypimu nuo šio išradimo ir visos minėtos modifikacijos patenka į šio išradimo aprėptį.

Apibrėžtis

1. Ant ginklo (14) montuoti skirtas optinis taikiklis (10), apimantis:

lęšių sąranką (30);

ekraną (118), pritaikytą gyvūnui (190), į kurį taikomasi, rodyti per lęšių sąranką (30), ir

valdiklį (114), pritaikytą nustatyti nuotoliui nuo optinio taikiklio (10) iki gyvūno (190), į kurį taikomasi, ir jį rodyti ekrane (118),

kur valdiklis (114) pritaikytas gyvūno rūšiai, žinomam gyvūno dydžiui ir gyvūno (190), į kurį taikomasi, rodymo sričiai nustatyti, kur gyvūno (190), į kurį taikomasi, rodymo sritis yra gyvūno vaizdo užimama procentinė ekrano dalis, ir

kur valdiklis (114) yra pritaikytas nustatyti nuotoliui nuo žinomo gyvūno dydžio ir gyvūno (190) rodymo srities.

2. Optinis taikiklis pagal 1 punktą, kur valdiklis (114) yra sukonfigūruotas raginti naudotoją įvesti gyvūno rūšį, dydžio tipą ir žinomą gyvūno dydį.

3. Optinis taikiklis pagal 1 punktą, kur valdiklis (114) yra sukonfigūruotas gyvūno rūšiai nustatyti, koreliuojant vieną iš daugybės gyvūnų nuotraukų, saugomų atmintyje (170), su gyvūnu (190), į kurį taikomasi.

4. Optinis taikiklis pagal 1 punktą, kur valdiklis (114) yra sukonfigūruotas nuotoliui nustatyti, koreliuojant rodymo sritį ir žinomą gyvūno dydį su nuotoliu, saugomu atmintyje (170).

5. Optinis taikiklis pagal 1 punktą, kur valdiklis (114) yra sukonfigūruotas padidintam vaizdui pateikti ekrano (118) pagrindiniame lange (222), vaizdo vaizde režimu.

6. Optinis taikiklis pagal 1 punktą, kur valdiklis (114) yra sukonfigūruotas rodymo sričiai nustatyti, pateikiant gyvūno vaizdo kontūrą (174), suderinant gyvūno vaizdo kontūrą (174) taip, kad jis atitiktų gyvūną (190), į kurį taikomasi, ir nustatant sureguliuoto gyvūno vaizdo kontūro (174) rodymo srities procentinę dalį.

7. Optinis taikiklis pagal 1 punktą, kur valdiklis (114) yra sukonfigūruotas nustatyti kulkos kritimui pagal nuotolį.

8. Optinis taikiklis pagal 7 punktą, kur valdiklis (114) yra sukonfigūruotas ekranui (118) centruoti, ant pirminio nusitaikymo taško (198) nustatant nuotolį, ir valdiklis (114) yra sukonfigūruotas ekranui (118) centruoti ant kulkos kritimo nusitaikymo taško (198), nustačius kulkos kritimą.

9. Optinis taikiklis pagal 8 punktą, kur valdiklis (114) yra sukonfigūruotas nustatyti kulkos kritimui, koreliuojant nuotolį su vienu iš daugybės kulkos kritimo rodiklių, pateiktų atmintyje (170) saugomoje konkrečių kulkų lentelėje.

10. Optinis taikiklis pagal 1 punktą, kur lęšių sąranka (30) yra terminių lęšių sąranka.

11. Kulkos kritimo ir nuotolio nustatymo optiniame taikiklyje (10) būdas (300, 400), apimantis:

gyvūno (190), į kurį taikomasi, vaizdo, pagauto per lęšių sąranką (30), rodymą (312, 412) ekrane (118);

gyvūno rūšies, žinomo gyvūno dydžio ir gyvūno (190), į kurį taikomasi, rodymo srities nustatymą (316, 416), kur gyvūno (190), į kurį taikomasi, rodymo sritis yra gyvūno vaizdo užimama procentinė ekrano (118) dalis;

valdiklio (114) vykdomą nuotolio nuo optinio taikiklio (10) iki gyvūno (190), į kurį taikomasi, nustatymą (320, 428) pagal žinomą gyvūno matmenį bei gyvūno rodymo sritį; ir

nuotolio rodymą (324, 432) ekrane (118).

12. Būdas pagal 11 punktą, papildomai apimantis valdiklio (114) pateikiamą naudotojo raginimą (308, 416) įvesti gyvūno rūšį, dydžio tipą ir žinomą gyvūno dydį.

13. Būdas pagal 11 punktą, papildomai apimantis valdiklio (114) atliekamą gyvūno rūšies nustatymą (316, 424), koreliuojant vieną iš daugybės gyvūnų nuotraukų, saugomų atmintyje (170), su gyvūnu (190), į kurį taikomasi.

14. Būdas pagal 11 punktą, kur nuotolio nustatymas (320, 428) apima rodymo srities ir žinomo gyvūno matmens koreliavimą su nuotoliu, saugomu atmintyje (170).

15. Būdas pagal 11 punktą, papildomai apimantis valdiklio (114) vykdomą padidinto vaizdo pateikimą (316, 420) ekrano (118) pagrindiniame lange (222), vaizdo vaizde režimu.

16. Būdas pagal 11 punktą, kur rodymo srities nustatymas (312, 316, 416, 424) apima gyvūno vaizdo kontūro (174) pateikimą (312, 420), raginimą (316, 420) naudotojui suderinti gyvūno vaizdo kontūrą (174) taip, kad jis atitiktų gyvūną (190), į kurį taikomasi, ir sureguliuoto gyvūno vaizdo kontūro (174) rodymo srities procentinės dalies nustatymą (316, 424).

17. Būdas pagal 11 punktą, kur rodymo srities nustatymas (316, 424) apima gyvūno vaizdo kontūro (174) pateikimą (312, 420), gyvūno vaizdo kontūro (174) sureguliavimą (312, 420) taip, kad jis atitiktų gyvūną (190), į kurį taikomasi, ir sureguliuoto gyvūno vaizdo (316, 424) kontūro (174) rodymo srities procentinės dalies nustatymą (316, 424).

18. Būdas pagal 11 punktą, papildomai apimantis valdiklio (114) vykdomą kulkos kritimo nustatymą (328, 436), priklausomai nuo nuotolio.

19. Būdas pagal 18 punktą, kur kulkos kritimo nustatymas (328, 436) apima nuotolio koreliavimą (328, 436) su vienu iš daugybės kulkos kritimo rodiklių, pateiktų atmintyje (170, 328, 436) saugomoje konkrečių kulkų lentelėje.

20. Būdas pagal 18 punktą, kur kulkos kritimo nustatymas (328, 436) apima kulkos kritimo apskaičiavimą (328, 436) pagal nuotolį, kulkos tipą ir kulkos masę.

Brėžiniai