LT6958B

KOVINĖ GALVUTĖ

WARHEAD

Referatas

[LT] 75–85 mm kalibro kumuliacinė kovinė galvutė arba kumuliacinė fragmentacinė kovinė galvutė gali būti naudojamos raketose, granatsvaidžiuose ir artilerijos sistemose. Kovinė galvutė apima korpusą, saugos ir užtaisymo mechanizmą, sprogstamąjį užtaisą, bangų formuotuvą, aptaką ir įdėklą, kurio išorinis paviršius, yra gretimas sprogmeniui, ir vidiniai įdėklo paviršiai yra padaryti kaip sukimosi paviršiai. Vidinio paviršiaus sudaromoji yra sudaryta kaip linija be lūžio taškų, esanti viduje figūros, suformuotos iš mažų dviejų apskritimų lankų, einančių per galus linijos atkarpos, iš vidaus jungiančios įdėklo pagrindą su viršumi, kurių spinduliai lygūs dviem su puse nurodytos atkarpos ilgio. Norint padidinti skvarbą į šarvą, įdėklo storis ir išorinio paviršiaus atidarymo kampas (ypatingu kūgio atveju) koreliuoja su vidinio paviršiaus atidarymo kampu ir naudojamos sprogstamosios medžiagos savybėmis, kurias lemia jos sudėtis ir tankis.

[EN] A shaped charge warhead or a shaped charge with fragmentation warhead of caliber from 75 mm to 85 mm can be used in rockets, grenade launchers, and artillery systems. The warhead comprises a body, a safety and arming mechanism, an explosive charge, a waveshaper, a fairing, and a liner, wherein the outer surface of the liner, adjoining to the explosive, and the inner surface of the liner are made in the form of rotation surfaces. The generatrix of the inner surface is made in the form of a line without breaking points, located inside the figure formed by small arcs of two circles passing through the ends of the line segment connecting the base of the liner with the top, having radii equal to two and a half lengths of the specified segment. To increase the armour penetration, the liner thickness and the opening angle of the outer surface (for the special case of a cone) are correlated with the opening angle of the inner surface and the properties of the explosive used, which are determined by its composition and density.

Aprašymas

[0001] TECHNIKOS SRITIS

[0002] Išradimas susijęs su kumuliaciniais arba kumuliaciniais fragmentaciniais šaudmenimis, ypač 75–85 mm kalibro, kumuliacinėmis kovinėmis galvutėmis arba kumuliacinėmis fragmentacinėmis kovinėmis galvutėmis, skirtomis šarvuotų taikinių naikinimui naudojant kumuliacinį veiksmą ir nešarvuotų taikinių naikinimui naudojant fragmentacinį veiksmą, jei yra fragmentacijos dalis.

[0003] TECHNIKOS LYGIS

[0004] Nevaldomos 80 mm kalibro orlaivių raketos, sutrumpintai NOR, – tai labiausiai paplitusios orlaivių raketos. NOR sudaro dvi dalys: 78 mm kalibro kovinė galvutė ir 80 mm kalibro raketinis variklis. Žinomos šios 80 mm kalibro NOR modifikacijos su kumuliaciniu fragmentaciniu veiksmu: S-8, S-8A, S-8M, S-8KO ir S-8KOM.

[0005] NOR pagrindu yra kuriamos valdomos orlaivių raketos, kuriose raketa į taikinį nukreipiama lazerinio valdymo prietaiso pagalba. Be to, NOR S-8 galima naudoti iš antžeminių paleidimo blokų. Taigi istoriškai nusistovėjęs pavadinimas "nevaldoma orlaivio raketa" neatspindi visų tokio tipo raketų panaudojimo galimybių.

[0006] Tandeminė kovinė galvutė S-8T su dviem užtaisais – pagrindiniu užtaisu ir prekursoriumi reaktyviniams šarvams pašalinti, buvo sukurta šarvuotoms transporto priemonėms su reaktyviniais šarvais naikinti.

[0007] Yra žinomas techninis kovinės galvutės, taip pat turinčios pagrindinį ir papildomą užtaisus, sprendimas ("Nevaldoma orlaivio raketa su tandeminiu kumuliaciniu užtaisu". Patentas RU2371667C1. Ashurkov A.A. ir kt., paskelbtas 2009-10-27).

[0008] Šis išradimas yra susijęs su pagrindiniu ir papildomu užtaisu kovinėse galvutėse su tandemine schema.

[0009] Yra NOR Medusa su 81 mm kalibro kumuliacine kovine galvute, sukurta remiantis Šveicarijos ir Italijos SNORA ir SURA šeimų raketomis.

[0010] Taip pat yra žinomas Chinese Norinco PF-89 vienkartinis granatsvaidis. Iš paleidimo konteinerio iššaunama raketinė granata su 80 mm prieštankine HEAT kovine galvute.

[0011] Plačiai naudojamas rankinis prieštankinis granatsvaidis RPG-7, daugiausiai naudojamas šaudyti granatomis, kurių kalibras didesnis nei granatsvaidžių kalibras, ir, be kita ko, gali būti užtaisomas 75–85 mm kalibro kovinėmis galvutėmis.

[0012] Taip pat yra ir kitų granatsvaidžių ir artilerijos sistemų, skirtų šaudyti 75–85 mm kalibro kovinėmis galvutėmis.

[0013] Yra nevaldomos orlaivių raketos S-8KOM kovinė galvutė 9-GZh-4421 (Sychev A.I., Martirosyan V.G., Pereskokov V.A. "Nevaldomos 80 mm kalibro orlaivių raketos", 2019, 19–21 psl., prototipas). Ją sudaro šios dalys: korpusas, iš vienos pusės uždarytas apsaugine pertvaros plokšte, sprogstamasis užtaisas, inertinis bangų formuotuvas, varinis įdėklas ir aptakas.

[0014] Kovinėje galvutėje įmontuotas V-5KP1 sprogdiklis, kurį sudaro saugos ir užtaisymo mechanizmas, sutrumpintai vadinamas SUM, ir pjezoelektrinis generatorius. Elektrinį ryšį tarp jų užtikrina į bangų formuotuvą įstatytas laidininkas, laidus kūgis ir izoliacinis prispaudimo žiedas. Pjezoelektrinis generatorius mechaninę raketos smūgio į taikinį energiją paverčia elektros energija, reikalinga paleisti SUM.

[0015] Korpusas – tai plonasienis aliumininis vamzdis, prasiplečiantis priekinėje dalyje, turintis sriegius abiejuose galuose, kurie skirti korpuso sandariklio pagalba sujungti korpusą su aptaku ir raketos dalimi. Kėbulo priekinės dalies viduje padaromas griovelis, į kurį įstatomas izoliacinis polietileno žiedas toje vietoje, kur įdėklo pagrindas priartėja prie korpuso sienelės.

[0016] Aptakas užtikrina geras aerodinamines raketos savybes ir reikiamą atotrūkį (atstumą) tarp taikinio ir įdėklo pagrindo smūgio į taikinį momentu, taip pat vaidina išorinės elektros grandinės jungties vaidmenį.

[0017] Be sprogdiklio, kurį sudaro galvutės pjezoelektrinis generatorius ir SUM, naudojami ir dugniniai sprogdikliai, įjungiami inerciniais daužikliais, spyruoklėmis ar kitomis priemonėmis. Yra žinomas nedidelis dugninis sprogdiklis ("Dugninis sprogdiklis". Patentas RU2125706C1. Andrejkin P.V. ir kt., paskelbtas 1999-01-27), kuris, kontaktuodamas su taikiniu, pasižymi dideliu jautrumu bei dideliu veikimo greičiu. Sprogdiklį sudaro korpusas, antgalio pavidalo paleidimo įtaisas, apsauginė spyruoklė, sferinis inertinis kūnas apatinėje kūgio formos dalyje bei cilindro formos dalis, apsaugos sistema ir šaudymo grandinė.

[0018] Be to, sprogdiklyje gali būti įtaisytas nuotolinis skiltuvo atlaužimo mechanizmas ir savaiminio susinaikinimo mechanizmas, kuris sužadina užtaisą, jei, po kontakto su taikiniu, dėl kažkokios priežasties sprogdiklis nesuveikia arba jo veikla sutrinka.

[0019] Paprastai NOR kovinės galvutės fragmentacijos dalyje korpuso išorėje būna prieš fragmentacijos elementų, tokių, kaip žiedai, įvorės arba spiralės. Šie elementai uždedami ant mažesnio korpuso skersmens ir fiksuojami su prispaudimo veržle. 9-GZh-4421 kovinėje galvutėje prieš fragmentacijos elementai yra pagaminti iš plieninio profilio juostos spiralės su įpjovomis, užtikrinančiomis jų suskilimą į maždaug 3 g sveriančius fragmentus.

[0020] Pageidautina, kad NOR S-8 skirtose kumuliacinėse fragmentacinėse kovinėse galvutėse būtų naudojama sprogstamoji medžiaga A-IX-10 (sudėtis 93,5–95 % sprogstamoji medžiaga RDX (ciklotrimetilentrinitraminas, C3H6N6O6) su 6,5–5 % flegmatizatoriaus (gali būti parafinas, stearinas, cerezinas, petrolatumas, vaško, sintetiniai polimerai ir jų mišiniai)) arba A-IX-1 (sudėtis 95 % sprogstamoji medžiaga RDX (ciklotrimetilentrinitraminas, C3H6N6O6) su 5 % flegmatizatoriaus (gali būti parafinas, stearinas, cerezinas, petrolatumas, vaško, sintetiniai polimerai ir jų mišiniai)), kurios detonavimo greitis yra nuo 8,3 km/s iki 8,45 km/s.

[0021] Sprogstamojo užtaiso viduje esančio bangų formuotuvo pagalba detonacijos banga plinta į korpuso sieneles. 9-GZh-4421 kovinėje galvutėje, kuri pasirinkta kaip prototipas, bangų formuotuvas pagamintas iš suspaustos stiklo pluošto dervos medžiagos AG-4V. Jai reikšmės, įtrauktos į Rankine-Hugoniot santykį, masei: ρ/ρ0 = D/(D – U), ir momentams: P – P0 = ρ0 U D, turi šias reikšmes: ρ0 = 1,79 g/cm3, ρ = 3,19 g/cm3, D = 5,95 km/s, U = 2,61 km/s, kur ρ yra tankis (su indeksu "0" – prieš smūgio bangos frontą), D – smūgio bangos greitis, U – medžiagos masės greitis; slėgis yra P = 27,8 GPa (Trunin R.F., Gudarenko L.F. ir kt. "Eksperimentiniai duomenys apie kondensuotų medžiagų smūginės bangos suspaudimą ir adiabatinį plėtimąsi", 2006, 207 psl.).

[0022] 9-GZh-4421 kovinės galvutės masė yra 3,6 kg, sprogstamosios medžiagos masė – 1 kg, sprogimo metu susidariusių fragmentų, kurių kiekvienas sveria 3 g, skaičius – ne mažesnis kaip 400 vienetų (Sychev A.I., Martirosyan V.G., Pereskokov V.A. "Nevaldomos 80 mm kalibro orlaivių raketos", 2019, 17 psl.).

[0023] 9-GZh-4421 kovinės galvutės įdėklas pagamintas iš vario ir yra tuščiavidurio kūgio formos, kurio vidinis atidarymo kampas yra 60°, o sienelės storis – kintamas. Prie įdėklo viršaus praplatinus prilituojamas žalvarinis vamzdelis, kuris iš pjezoelektrinio generatoriaus į dugninę sprogdiklio dalį perduoda elektrinį impulsą.

[0024] Prototipo techniniame sprendime nepakankamai išnaudotos galimybės padidinti kovinės galvutės veiksmingumą koreliuojant (susiejant) kovinės galvutės konstrukciją ir parametrus su sprogstamųjų medžiagų savybėmis.

[0025] Tradiciniame kumuliaciniame užtaise, veikiant detonacijos bangos slėgiui, įdėklas suspaudžiamas užtaiso ašies link, plonas metalinis purkštukas išspaudžiamas į priekį, o lėtaeigė šerdis lieka už jo (Bazhin V.E., Dankov V.S. ir kt. "Sprogdinimas, sprogstamosios medžiagos, jų panaudojimas", 2008, 31, 34 рsl.). Didžioji sprogimo energijos dalis išeikvojama įdėklo suspaudimui, o ne įdėklo medžiagos išstūmimo pirmyn greičio didinimui.

[0026] Pagrindinės kumuliacinių šaudmenų efektyvumo didinimo sritys:

[0027] -sprogstamųjų medžiagų tobulinimas,

[0028] -prietaisų, įtakojančių detonacinių bangų sklidimą, kūrimas,

[0029] -patikimesnių sprogdiklių, pasižyminčių geresnėmis savybėmis, sukūrimas,

[0030] -įdėklo medžiagos fizinių ir mechaninių savybių bei struktūros tobulinimas,

[0031] -įdėklų geometrinių formų modernizavimas,

[0032] -gamybos tikslumo didinimas.

[0033] Įdėklai dažniausiai gaminami iš vario. Šiuolaikiniai metalurgijos būdai, įskaitant miltelinę metalurgiją, bimetalų ir metalų polimerų naudojimą, leidžia pagerinti įdėklo medžiagos savybes ir struktūrą, siekiant padidinti kumuliacinių užtaisų efektyvumą.

[0034] Yra žinomas įdėklas ("Kumuliacinio užtaiso danga". Patentas RU2337307C2. Kachalin N.I. ir kt., paskelbtas 2008-10-27), pagamintas iš pseudo lydinio miltelinės metalo metalurgijos būdu. Pateiktu atveju naudojama medžiaga yra Mo-Cu-Ni pseudolydinys, kurio tankis yra 9,30–9,85 g/cm3, o Cu kiekis sudaro 25–60 % masės, Ni – ne daugiau kaip 0,8 % masės, likusi dalis – Mo. Įdėklų gamybai pasiūlyta medžiaga padeda padidinti įsiskverbimo gylį.

[0035] Įdėklas ("Kumuliacinio užtaiso įdėklas su integruotu inicijavimo mechanizmu". Patento Nr. US6026750. Carl A. Nelson, paskelbtas 2000-02-22), sudarytas iš priekinės plonasienės dalies ir galinės uodeginės dalies, atspindi techninį kumuliacinių užtaisų kovinių galvučių konstrukcijos lygį. Patento turinys skirtas išsamiam galinės uodeginės dalies tyrimui. Priekinė plonasienė dalis gali būti įvairių formų. Konkrečiai, gali būti naudojamas kūgio, pusrutulio, varpo, trimito arba tulpės formos paviršius.

[0036] Šis patentas nesinaudoja galimybe kontroliuoti kumuliacinio užtaiso veikimo parametrus optimizuojant įdėklo formą ir storį.

[0037] Plačiausiai yra paplitę kūgio formos įdėklai. Taip yra dėl jų gamybos paprastumo ir pakankamo efektyvumo naudojant juos daugeliu atvejų. Tačiau stengiamasi įdėklų formas modernizuoti.

[0038] Yra žinoma įdėklo forma ("Kumuliacinio užtaiso įdėklas". Patento Nr. US6840178B2. William R. Collins ir kt., paskelbtas 2005-01-11), kuri susideda iš mažiausiai trijų pagal ašį išdėstytų, iš esmės nupjauto kūgio formos sekcijų su skirtingais atidarymo kampais ir pereinančių viena į kitą, derinys.

[0039] Šios formos trūkumas yra paralelių su paviršiaus pertrūkiu buvimas, kur kūginis paviršius su vienokiu atidarymo kampu pereina į kūginį paviršių su kitokiu kampu. Sprogimo metu, suspaudžiant tokį įdėklą, įdėklo medžiaga susikaupia ir sudaro sustorėjimus arba ji išsiplečia ir įdėkle susidaro plyšys. Atsiradus sustorėjimui, įdėklo greitis mažėja; įdėklo pažeidimo atveju detonacijos produktai suteka į priekinę dalį, sulėtina įdėklą ir sumažina kinetinę energiją, naudojamą taikiniui pramušti.

[0040] Pasirinkus įdėklo formą, kyla klausimas dėl įdėklo storio paskirstymo. Šiuo klausimu atlikta labai mažai mokslinių tyrimų. Egzistuoja tokie netikslūs vertinimai, kaip vadovėlyje (Bazhin V.E., Dankov V.S. ir kt. "Sprogdinimas, sprogstamosios medžiagos, jų panaudojimas", 2008, 38 psl.), kuriame teigiama, kad: kumuliacinio užtaiso skvarbumas priklauso nuo įdėklo medžiagos ir jo storio; tiek per didelis, tiek ir per mažas įdėklo storis yra nepalankus; priklausomai nuo įdėklo medžiagos, dydžio ir konstrukcijos, storis svyruoja nuo 0,5 mm iki 3 mm.

[0041] Skvarbumas priklauso ir nuo naudojamos sprogstamosios medžiagos. Turi būti naudojamos kuo didesnio tankio ir detonacijos greičio sprogstamosios medžiagos.

[0042] Tačiau, norint sukurti efektyvias kumuliacines kovines galvutes, būtina turėti tikslesnes konkrečioms sąlygoms skirtas įdėklo storio vertes: geometrinės įdėklo formos ir medžiagos, kai yra bangų formuotuvas arba jo nėra, naudojamos sprogstamosios medžiagos sudėties ir tankio, nuo kurių priklauso detonacijos greitis ir sprogimo slėgis ir t.t.

[0043] Galima teigti, kad beveik visų egzistuojančių kumuliacinių užtaisų įdėklų storis buvo nustatytas empiriškai, atlikus daugybę eksperimentų. Šis kelias yra ne tik brangus, bet ir netikslus, nes empiriškai neįmanoma išnagrinėti visų teoriškai galimų variantų.

[0044] Nauji sprogimo teorijos rezultatai rodo, kad kumuliacinio užtaiso veikimui didelę reikšmę turi įdėklo storio pasiskirstymas, o atitinkamame korpuse esanti sprogstamoji medžiaga tarnauja tik tam, kad sukurtų slėgio lauką, reikalingą įdėklo išmetimui (stūmimui). Tuo pat metu net ir paprasčiausios kūgio formos įdėklo ir tiesinio storio pasiskirstymo atveju sunku rasti priimtinų rekomendacijų, kaip nustatyti storio, taip pat tiesinės priklausomybės koeficientą.

[0045] IŠRADIMO ESMĖ

[0046] Techninis išradimo tikslas – padidinti 75–85 mm kalibro kumuliacinių kovinių galvučių arba kumuliacinių fragmentacinių kovinių galvučių skvarbą į šarvą.

[0047] Kovinės galvutės veikimui lemiamą reikšmę turi įdėklo forma ir storis. Šiame išradime įdėklo forma ir storis parenkami taip, kad įdėklo dalelių trajektorijos būtų išlenktos ir ištemptos į priekį ir suformuotų ilgėjantį kumuliacinį strypą. Didelę strypo kinetinę energiją lemia greičio komponentų sumažėjimas įdėklo ašies link ir pailgėjęs įdėklo dalelių kelias iki joms prilimpant prie strypo.

[0048] Problema sprendžiama parenkant optimalią geometrinę įdėklo formą ir koreliuojant (susiejant) įdėklo storį bei jo kampus su kitais kovinės galvutės parametrais. Dėl šios priežasties, sprogimo sukeltas įdėklo išmetimas (stūmimas) sudaro didelės kinetinės energijos ir mažo skersmens ilgėjantį kumuliacinį strypą, kurio dėka naudingiau panaudojama sprogimo energija, o dėl to padidėja įsiskverbimo į šarvuotą taikinį gylis.

[0049] Šis poveikis buvo teoriškai numatytas atlikus ilgalaikius mokslinius tyrimus ir patvirtintas keliais šimtais eksperimentinių kovinių galvučių sprogdinimų. Gautas rezultatas pritaikomas įvairiems įdėklų atidarymo kampams, taip pat tiek šiuo metu plačiai naudojamiems, tiek eksperimentiniams skirtingo tankio sprogmenims. Naudojamos sprogstamosios medžiagos sudėtyje turi būti ne mažiau kaip 70 % RDX (ciklotrimetilentrinitraminas, C3H6N6O6), arba HMX (ciklotetrametilen-tetranitraminas, C4H8N8O8), arba HNIW (CL-20, heksanitroheksaazaisowurtzitanas, C6H6N12O12).

[0050] Techninis problemos sprendimas yra toks. Kumuliacinę kovinę galvutę arba kumuliacinę fragmentacinę kovinę galvutę apima korpusą, kuri išorinis priekinės dalies skersmuo yra nuo 75 mm iki 85 mm, saugos ir užtaisymo mechanizmą, sprogstamąjį užtaisą su tuščiavidure ertme priekinėje dalyje, bangų formuotuvą ir aptaka. Įdėklas, kurio tankis yra 8–10 g/cm3, yra tuščiavidurėje įkrovos ertmėje. Pav. 1–8 pavaizduoti skirtingi įgyvendinimo pavyzdžiai (variantai), kuriuose tais pačiais skaičiais žymimi tie patys elementai.

[0051] Saugos ir užtaisymo mechanizmas gali būti savarankiškas dugninis sprogdiklis arba viršus-dugnas sprogdiklio dalis, veikiantis kartu su pjezoelektriniu generatoriumi. Antruoju atveju elektros grandinei tarp SUM ir pjezoelektrinio generatoriaus užtikrinti galima naudoti laidininką, įstatytą į bangų formuotuvą, laidų kūgį, arba elektros kabelį, arba kitokius elektros grandinės elementus; laidų kūgį prie įdėklo prispaudžia izoliacinis prispaudimo žiedas.

[0052] Sprogstamajai medžiagai gretimas išorinis įdėklo paviršius ir vidinis įdėklo paviršius yra padaryti kaip sukimosi paviršiai su bendra ašimi, su plačiu atviru kraštu, kuris vadinamas pagrindu, ir siaura dalimi kitoje pusėje, kuri vadinama viršumi (18–20 pav.).

[0053] Atidarymo kampas α prie įdėklo pagrindo, reikalingas koreliacijai (suderinimui) su įdėklo parametrais, nustatomas tarp dviejų priešingų vidinio paviršiaus meridianų liestinių prie pagrindo.

[0054] Vidinis įdėklo pagrindo skersmuo D yra nuo 60 mm iki 75 mm. Išilgai išorinio paviršiaus paralelės l atstumu nuo pagrindo išilgai įdėklo ašies nustatomas įdėklo storis δl. l reikšmė yra šiame diapazone (intervale): 2 mm ≤ l ≤ 8 mm (21–23 pav.).

[0055] Būtinos techninio sprendimo savybės yra šios:

[0056] -įdėklo vidinio paviršiaus sudaromoji yra figūros viduje (22 pav., 24 pav.) esanti linija, suformuota iš mažų dviejų apskritimų lankų, einančių per galus linijos atkarpos, jungiančios įdėklo pagrindą iš vidaus su viršūne, viršūnės užapvalinimo pradžia, cilindrinės dalies pradžia arba kita viršūnė jos viršutinėje dalyje, kurios centrai yra priešingose šios atkarpos pusėse,

[0057] -šių apskritimų spinduliai yra lygūs dviem su puse šios atkarpos ilgio (24 pav.),

[0058] -dvigubas kampas tarp šios atkarpos ir įdėklo ašies yra didesnis kaip 23° ir mažesnis kaip 125°,

[0059] -sudaromoji neturi lūžio taškų (25a–25c pav.),

[0060] -storis δl yra diapazone nuo 1,2 mm iki 3 mm (21–23 pav.),

[0061] -kai užtaiso tankis yra ρ < 1,7 g/cm3, nurodytas storis yra mažesnis kaip 2,6 mm.

[0062] Jei išorėje, prie įdėklo pagrindo, yra nuožulna, storis matuojamas išilgai vidinio paviršiaus normalės taip, kad normalė pasiektų išorinį paviršių be nuožulnos.

[0063] Konkrečiu įgyvendinimo atveju įdėklas gali turėti išorinį ir vidinį paviršius, kurie yra stačiojo apskritimo kūgio šoniniai paviršiai su skirtingais atidarymo kampais, atitinkamai β ir α (23 pav.).

[0064] Siekiant padidinti kovinės galvutės skvarbą į šarvą, įdėklo storis δl atstumu l nuo pagrindo ir kampų skirtumas (β - α) (ypatingu kūgio atveju, 23 pav.) yra siejami su vidinio paviršiaus kampu α ir naudojamosiomis sprogstamosios medžiagos savybėmis, kurias daugiausia nulemia jos tankis ρ.

[0065] Įdėklas turi būti pakankamai plonas, kad įdėkle esančių dalelių trajektorijos būtų išlenktos ir ištemptos į priekį. Tačiau tuo pačiu metu įdėklas turi būti pakankamai storas, kad, veikiamas detonacijos produktų slėgio, nesulūžtų, ir kad nesusidarytų per įdėklą prasiskverbiančių dujų priešslėgis.

[0066] Šiuo tikslu kampų α diapazonas padalijamas į 10° intervalus.

[0067] Sprogstamosios medžiagos tankio diapazonas yra suskirstytas į 4 intervalus. Pirmasis intervalas, kuriame tankis yra nuo 1,6 g/cm3 iki 1,7 g/cm3, daugiausia apima medžiagas, kurių pagrindą sudaro RDX (ciklotrimetilentrinitraminas, C3H6N6O6). Antrasis intervalas, kuriame tankis yra nuo 1,7 g/cm3 iki 1,8 g/cm3, apima HMX (ciklotetrametilen-tetranitraminas, C4H8N8O8) pagrindu pagamintas medžiagas su įvairiais priedais. Trečiame intervale, kuriame tankis yra nuo 1,8 g/cm3 iki 1,9 g/cm3, yra medžiagos, kurių pagrindą sudaro HMX (ciklotetrametilen-tetranitraminas, C4H8N8O8) su padidintu detonacijos greičiu ir sprogimo slėgiu. Ketvirtasis intervalas, kuriame tankis yra nuo 1,9 g/cm3 iki 2 g/cm3 – HNIW (CL-20, heksanitroheksaazaisowurtzitanas, C6H6N12O12) pagrindu pagamintos medžiagos (1 lentelė).

[0068] Pateikiamos kiekvieno intervalo δl reikšmės; taip pat pateikiamas kūginio įdėklo kampų skirtumas (β - α) (23 pav.).

[0069] Kaip įdėklo medžiaga gali būti naudojami metalai (įskaitant bimetalus), metalų lydiniai (įskaitant miltelius ir pseudolydinius) bei metalų polimerai.

[0070] Leidžiama dengti antikorozine danga.

[0071] Pageidautina, kad įdėklas būtų pagamintas iš vario, kurio bendra priemaišų masės dalis sudarytų mažiau nei 0,1 %.

[0072] Išilgai bet kurios vidinio arba išorinio paviršiaus paralelės esančio įdėklo storis nustatomas pagal vidinio paviršiaus normalę.

[0073] Pageidautina, kad įdėklo storio išilgai bet kurios vidinio arba išorinio paviršiaus paralelės nuokrypis būtų mažesnis nei ±0,05 mm.

[0074] Įdėklas gali turėti montavimui ir/arba inicijavimui skirtų elementų.

[0075] Be aprašytosios kumuliacinės dalies, kovinė galvutė gali turėti ir fragmentacijos dalį. Toliau pateikiami ir iliustruojami septyni galimi fragmentacijos dalies variantai kaip įgyvendinimo pavyzdžiai (9–16 pav.).

[0076] Kiti šio išradimo požymiai ir privalumai šios srities specialistams paaiškės iš brėžinių, kuriuose tie patys skaičiai žymi tuos pačius elementus, aprašymo, išradimo pavyzdžių, teorinio pagrindimo, eksperimentu pasiūlyto techninio sprendimo efektyvumo įvertinimo ir apibrėžties punktų.

[0077] TRUMPAS BRĖŽINIŲ APRAŠYMAS

[0078] 1 pav. pavaizduotas 80 mm kalibro nevaldomos orlaivio raketos tipinės kumuliacinės fragmentacinės kovinės galvutės vaizdas iš išorės.

[0079] 2–5 pav. pavaizduoti daliniai kai kurių šio išradimo variantų pjūviai. 4 pav. pavaizduota kovinė galvutė su viršus-dugnas sprogdikliu, veikiančiu kartu su pjezoelektriniu generatoriumi, 5 pav. pavaizduota kovinė galvutė su savarankišku dugniniu sprogdikliu.

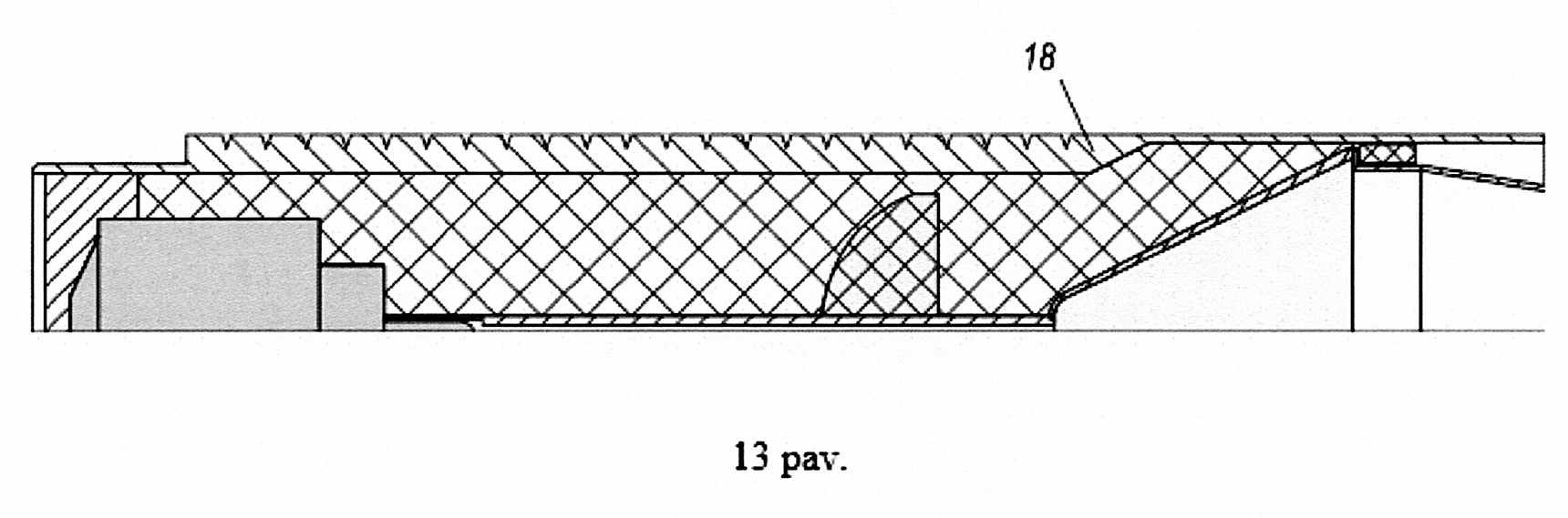
[0080] 6, 7 pav. pavaizduota kumuliacinės kovinės galvutės be fragmentacijos dalies ir galvutės pjezoelektrinio generatoriaus išvaizda ir dalinis pjūvis; ji skirta 81 mm kalibro raketoms, tokioms, kaip NOR "Medusa".

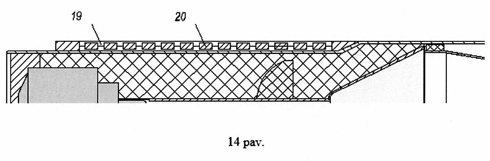
[0081] 8 pav. pavaizduota kumuliacinė kovinė galvutė, kuri gali būti prieštankiniam granatsvaidžiui skirtos raketinės prieštankinės granatos kovine galvute.

[0082] 9 pav. pavaizduota kovinės galvutės schema, kurioje prieš fragmentacijos elementai yra pagaminti žiedų, įvorių arba spiralių pavidalu ir pritvirtinti prie korpuso toje vietoje, kur jo skersmuo yra mažesnis.

[0083] 10 pav. pavaizduoti panašūs prieš fragmentacijos elementai, esantys korpuso viduje.

[0084] 11 pav. pavaizduoti korpuso viduje esantys paruošti naikinimo elementai.

[0085] 12 pav. vaizduojama korpuso dalis su pastorintomis sienelėmis su prieš fragmentacijos skersinių arba įstrižinių griovelių ir įpjovų vidinėje korpuso pusėje pavidalu.

[0086] 13 pav. vaizduojama korpuso dalis su pastorintomis sienelėmis su panašia prieš fragmentacija korpuso išorėje.

[0087] 14 pav. pavaizduota korpuso dalis su lanksčia rankove, užpildyta paruoštais naikinimo elementais.

[0088] 15 pav. pavaizduota korpuso dalis su įdubimais visame vidiniame paviršiuje, padarytais pagal tam tikrą pasikartojantį šabloną.

[0089] 16 pav. pavaizduotas dviejų pirmiau nurodytų iš prieš fragmentacijos elementų variantų derinys. Be to, 16 pav. simbolis Dstandoff nurodo atotrūkį (atstumą) tarp taikinio ir įdėklo pagrindo.

[0090] 17 pav. pavaizduotos pagrindinės bangų formuotuvų, naudojamų kumuliacinio užtaiso šaudmenyse, formos.

[0091] 18–20 pav. pavaizduoti įvairių formų įdėklai, pagaminti pagal šį išradimą.

[0092] 21–23 pav. pavaizduotos įdėklo schemos, nurodant vidinio paviršiaus atidarymo kampą α, išorinio paviršiaus atidarymo kampą β (kūginio įdėklo atveju, 23 pav.), įdėklo pagrindo vidinį skersmenį D; įdėklo storis δl yra nurodomas l atstumu nuo įdėklo pagrindo.

[0093] 24 pav. pavaizduota vidinio paviršiaus sudaromosios konstrukcijos schema; yra pavaizduota L ilgio atkarpa, išilgai kurios nubrėžiama sudaromoji, ir kampas γ/2 tarp atkarpos ir įdėklo ašies, kurio γ reikšmė gali svyruoti nuo 23° iki 125°.

[0094] 25a–25c pav. pateikti keli vidinio paviršiaus pavyzdžiai.

[0095] DETALUS IŠRADIMO APRAŠYMAS

[0096] Kumuliacinės kovinės galvutės korpusas (1) pagamintas iš plonasienio apvalkalo su cilindriniu-kūginiu paviršiumi (2 pav.). Vidinis korpuso tūris turi būti toks, kad jame tilptų saugos ir užtaisymo mechanizmas (2), sprogstamasis užtaisas (3), bangų formuotuvas (4) ir įdėklas (5). Pagal tai parenkama geometrinė korpuso konstrukcija. Paprastai abiejuose korpuso galuose yra sriegiai, jungiantys korpusą su aptaku ir įvairiomis priemonėmis, užtikrinančiomis kovinės galvutės skrydžio greitinimą ir stabilizavimą. Dažnai, siekiant palengvinti kovinę galvutę, korpusas gaminamas iš aliuminio ir jo lydinių. Kumuliacinės kovinės galvutės versijos (variantai) (6–8 pav.) neturi fragmentacijos dalies.

[0097] Kumuliacinės fragmentacinės kovinės galvutės konstrukcija (1–5 pav.) priklauso nuo pasirinkto fragmentacijos dalies versijos (varianto). Labiausiai paplitusi NOR korpuso versija (variantas) – plonasienis tuščiaviduris dviejų skersmenų cilindras (11), kuriame vienas skersmuo sklandžiai pereina į kitą, o abiejuose galuose yra sriegiai (9 pav.). Fragmentacijos dalis gali būti pagaminta iš 17 ant mažesnio skersmens korpuso uždėtų plieninių žiedų, kurių kiekvieno viduje yra po 24 įpjovas, užtikrinančias 408 fragmentų (17 x 24 = 408), sveriančių po maždaug 3 g, susidarymą. Panašų efektą galima pasiekti naudojant plieninę spiralę (12) arba įvores su įpjovomis vidiniame paviršiuje. Šie elementai uždedami ant korpuso ir tvirtinami prispaudimo veržle (13).

[0098] Be to, gali būti naudojami ir kiti fragmentacijos dalies variantai (10–15 pav.):

[0099] -korpusas (14) ir prieš fragmentacijos elementai (15) žiedų, įvorių arba spiralių pavidalu korpuso viduje,

[0100] -korpusas su paruoštais naikinimo elementais (16) – rutuliukais, strypeliais, kubeliais, prizmėmis ir t. t., korpuso viduje; jiems pritvirtinti galima naudoti rišiklį, pavyzdžiui, epoksidinius klijus,

[0101] -korpusas (17) su storesnėmis sienelėmis su prieš fragmentacija, kurių vidinėje pusėje yra griovelių ir įpjovų, padalijančių korpuso sieneles į reikiamos masės fragmentus; grioveliai ir įpjovos gali būti daromos išilgai kovinės galvutės ašies, skersai arba kampu,

[0102] -korpusas (18) su storesnėmis sienelėmis su prieš fragmentacija, kurių išorėje yra panašūs grioveliai ir įpjovos,

[0103] -lanksti fragmentacijos rankovė (19) su paruoštais naikinimo elementais (20) korpuso išorėje,

[0104] -korpusas (21), kurio visame vidiniame paviršiuje pagal tam tikrą modelį padaryti įdubimai.

[0105] Galima naudoti ir kitą fragmentacijos dalies versiją arba skirtingų variantų derinį (16 pav.).

[0106] Kalbant apie kovinės galvutės veikimą, nei vienam iš šių korpuso variantų pirmenybė nėra teikiama. Galima naudoti bet kurį iš jų arba jų derinį. Tokiu būdu galima padidinti reikiamos masės fragmentai skaičių. Apskritai, korpuso įgyvendinimo pasirinkimą lemia technologiniai ir gamybiniai veiksniai.

[0107] Korpuso (1) viduje yra sprogstamasis užtaisas (3), sudarytas iš keleto sprogstamųjų briketų arba vieno kietojo elemento. RDX (ciklotrimetilentrinitraminas, C3H6N6O6) pagrindu pagamintos kompozicijos dažniausiai naudojamos kaip sprogstamosios medžiagos NOR kovinėse galvutėse. Pageidautina kompleksinė (sujungta) versija, kai kumuliacinio užtaiso daliai naudojama galingesnė HMX (ciklotetrametilen-tetranitraminas, C4H8N8O8) pagrindu pagaminta kompozicija, o fragmentacijos daliai – RDX (ciklotrimetilentrinitraminas, C3H6N6O6) pagrindu pagaminta kompozicija. Visais atvejais sprogstamoji medžiaga turi užtikrinti reikiamą elektros izoliaciją.

[0108] 1 lentelėje pateikiami kai kurių sprogstamųjų medžiagų parametrai ("Karinės sprogstamosios medžiagos". Techninis vadovas Nr. 9-1300-214, su 1–4 pakeitimais. Kariuomenės departamento štabas). Lentelėje išvardytos sprogstamosios medžiagos, kaip ir kitos galingos sprogstamosios medžiagos, turi vieną savybę – jų sudėtyje yra ne mažiau kaip 70 % RDX (ciklotrimetilentrinitraminas, C3H6N6O6), arba HMX (ciklotetrametilen-tetranitraminas, C4H8N8O8), arba HNIW (CL-20, heksanitroheksaazaisowurtzitanas, C6H6N12O12) ("Pirospravka. Sprogstamųjų medžiagų, parako ir pirotechninių kompozicijų vadovėlis", 6-asis leidimas, 2012 m., 182–188 psl.).

[0109] Šio išradimo autoriai su šiomis medžiagomis atliko teorinius tyrimus, skaitinius skaičiavimus ir eksperimentinius tyrimus. Apibrėžties punktuose pateikiami įdėklo parametrai buvo nustatyti sprogstamosioms medžiagoms, kurių sudėtyje yra ne mažiau kaip 70 % RDX (ciklotrimetilentrinitraminas, C3H6N6O6), arba HMX (ciklotetrametilen-tetranitraminas, C4H8N8O8), arba HNIW (CL-20, heksanitroheksaazaisowurtzitanas, C6H6N12O12).

[0110] Priekinėje sprogmens (3) dalyje yra tuščiavidurė ertmė, į kurią įspaudžiamas įdėklas (5). Apatinėje dalyje yra įduba, kurioje įtaisytas saugos ir užtaisymo mechanizmas (2). Raketos kovinės galvutės korpuso dugną paprastai uždaro apsauginė pertvara. Tarp SUM ir įdėklo yra bangų formuotuvas (4), kuris detonacijos bangą, sklindančią iš SUM, plečia į korpuso sieneles. Taip užtaiso viduje sukuriamas palankesnis detonacijos bangos modelis.

[0111] Bangų formuotuvo vieta sprogstamojo užtaiso viduje nustatoma vadovaujantis sąlyga, kad atstumas nuo bangų formuotuvo skerspjūvio plačiojoje dalyje iki įdėklo viršaus neviršytų bangų formuotuvo skersmens plačiojoje dalyje. Jei didžiausias skersmuo išlieka kurioje nors bangų formuotuvo dalyje, tada pasirenkamas arčiausiai įdėklo esantis pjūvis su didžiausiu skersmeniu ir nuo jo matuojamas atstumas iki įdėklo viršaus – jis neturėtų būti didesnis už didžiausią bangų formuotuvo skersmenį.

[0112] Bangų formuotuvo forma parenkama taip, kad jį gaubianti detonacijos banga pasiektų priešingą pusę anksčiau nei per bangų formuotuvo medžiagą einanti smūginė banga. 17 pav. pavaizduotos pagrindinės bangų formuotuvų, naudojamų kumuliacinio užtaiso šaudmenyse, formos.

[0113] Bangų formuotuvui galima naudoti inertines medžiagas, kurių smūginių bangų greitis, esant slėgiui, lygiam sprogimo slėgiui, yra mažesnis už naudojamos sprogstamosios medžiagos detonacijos greitį. Kumuliacinių užtaisų šaudmenyse paprastai naudojami brizantinės sprogstamosios medžiagos, kurių detonacijos greitis svyruoja nuo 8 km/s iki 9,5 km/s (1 lentelė). Bangų formuotuvai gali būti gaminami ne tik iš inertinių medžiagų, bet ir iš sprogstamųjų medžiagų, kurių detonacijos greitis yra nedidelis.

[0114]

[0115]

[0116] Aptakas (6) yra kūgio arba skliauto formos su plonomis sienelėmis. Laidus kūgis (8) jungia galvutės pjezoelektrinį sprogdiklį su įdėklo pagrindu.

[0117] Naudojant dugninių sprogdiklį be galvutės pjezoelektrinio generatoriaus, laidusis kūgis nenaudojamas, o aptakas sienelių storis padidėja (5, 7 pav.).

[0118] Aptako ilgis nulemia atotrūkį (atstumą) tarp taikinio ir įdėklo pagrindo (16 pav.) smūgio į taikinį momentu. Siekiant užtikrinti kovinės galvutės veiksmingumą, labai svarbu užtikrinti teisingą atotrūkį (atstumą) tarp taikinio ir įdėklo pagrindo.

[0119] Paprastai dugninių sprogdiklių veikimo greitis būna didelis. Šiuo atveju šis minėtas atotrūkis (atstumas) tarp taikinio ir įdėklo pagrindo yra lygus atstumui nuo įdėklo pagrindo iki galvutės pjezoelektrinio generatoriaus viršaus.

[0120] Sprogdikliai su pjezoelektriniu generatoriumi turi uždelsimo laiką (Markovsky V., Prikhodchenko I. "Nevaldomos S-8 tipo raketos". M-Hobby, 2013, No. 9 (148), 46 psl.). Nors jis labai mažas (20–30 mikrosekundžių), tačiau dėl tokio uždelsimo sumažėja atotrūkis (atstumą) tarp taikinio ir įdėklo pagrindo tuo metu, kai sprogstamasis užtaisas yra detonuojamas.

[0121] Iš paleidimo įrenginio paleistos raketos skrydžio greitis yra lygus įrenginio, iš kurio paleidžiama raketa, greičio ir greičio, kuriuo gali greitėti pati raketa, sumai. Didžiausias šiuolaikinių puolamųjų sraigtasparnių greitis yra apie 300 km/h, o naikintuvų tvaraus skrydžio greitis nuo šios reikšmės tik prasideda. Kreiserinis naikintuvų greitis yra daug didesnis. Pavyzdžiui, MiG-29 – apie 850 km/h.

[0122] Be to, jei atsižvelgsime į pačios raketos greitį (apie 600 m/s) ir perskaičiavimo iš km/h į m/s koeficientą (1 km/h = 0,278 m/s), tai atotrūkis (atstumas) tarp taikinio ir įdėklo pagrindo smūgio momentu gali sumažėti 16–24 mm (naikintuvams), 13–20 mm (sraigtasparniams) arba 12–18 mm, jei raketa paleidžiama iš antžeminio paleidimo įrenginio.

[0123] Šio išradimo autorių skaičiavimai ir eksperimentiniai tyrimai parodė, kad atotrūkis (atstumas) tarp taikinio ir įdėklo pagrindo sprogstamojo užtaiso sprogimo momentu turėtų būti apie 0,5∙Lpen, kai Lpen – vidutinis prasiskverbimo į šarvuotą taikinį gylis. Ši taisyklė galioja kovinėms galvutėms su skirtingomis sprogstamosiomis medžiagomis ir skirtingos formos bei storio įdėklais. Pasiūlytų kovinių galvučių bandymai parodė, kad naudojant A IX-1 (95 % RDX (ciklotrimetilentrinitraminas, C3H6N6O6) su 5 % flegmatizatoriaus) tipo sprogstamąsias medžiagas kovinė galvutė prasiskverbia apie 450 mm, kai kūginio įdėklo atidarymo kampas α = 70°, ir apie 470 mm – kai atidarymo kampas α = 40° (3 ir 4 lentelės). Todėl kovinės galvutės su įdėklu, kai atidarymo kampas α = 70°, atotrūkis (atstumas) tarp taikinio ir įdėklo pagrindo turėtų būti maždaug 225 mm. Projektuojant kovines galvutes reikia pridėti 16–24 mm (naikintuvams), kompensuojant dugninio detonatoriaus veikimo uždelsimą, ir dar 10 mm, kai atidarymo kampas yra maždaug α = 40°.

[0124] Taigi, atstumas nuo įdėklo pagrindo iki galvutės pjezoelektrinio generatoriaus viršaus turėtų būti 240–250 mm, o esant mažiems įdėklo atidarymo kampams – 250–260 mm. Siekiant užtikrinti reikiamus raketos matmenis, nuo šių atstumų leidžiama nukrypti, paprastai mažėjimo linkme, bet ne daugiau kaip 10 %.

[0125] Kaip parodė daugybė įvairių kumuliacinių užtaisų šaudmenų bandymų, pirmiau minėta optimalaus atotrūkio (atstumo) tarp taikinio ir įdėklo pagrindo priklausomybė nuo skvarbos į šarvą yra gana tiksli. Tiksliau ją galima užrašyti taip: 0,45∙Lpen ≤ Dstandoff ≤ 0,5∙Lpen, kur Dstandoff yra atotrūkis (atstumas) tarp taikinio ir įdėklo pagrindo (16 pav.).

[0126] Kitas svarbus klausimas – įsiskverbimo gylio priklausomybė nuo įdėklo atidarymo kampo α. Skaičiavimai ir eksperimentai parodė, kad kai kūginio įdėklo atidarymo kampai yra tarp 50° ir 70°, vidutinis kumuliacionio užtaiso su bangų formuotuvu prasiskverbimo gylis praktiškai nekinta. Jei kampas mažesnis nei 50°, skverbties gylis didėja naudojant vienos rūšies sprogstamąją medžiagą. Atidarymo kampui, kurio diapazonas yra 30°≤α<50°, sumažėjus vienu laipsniu, 78 mm kalibro raketos kovinės galvutės skverbtis į šarvą padidėja maždaug 2 mm. Be to, projektuojant kovinę galvutę, atidarymo kampą sumažinus 1°, atotrūkį (atstumą) tarp taikinio ir įdėklo pagrindo būtina padidinti 1 mm.

[0127] Daugeliu atvejų naudojant įdėklus su mažais kūgio formos įdėklo atidarymo kampais susiduriama su praktiniais sunkumais dėl šaudmenų matmenų. Tačiau raketos kovinei galvutei, kurios korpusas yra ilgas, tokie įdėklai yra neabejotinai naudingi.

[0128] Kad tarp pjezoelektrinio generatoriaus ir sprogdiklio dugninės dalies atsirastų vidinė elektros grandinė, tarp pjezoelektrinio generatoriaus ir įdėklo sumontuojamas laidus kūgis (8). Izoliacinis prispaudimo žiedas (9) yra sumontuojamas taip, kad prispaustų kūgio flanšą prie įdėklo pagrindo. Laidininkas (7), praplatinus prilituojamas prie įdėklo viršaus, ir įstatomas į bangų formuotuvo angą. Į kitą laidininko galą įstatomas sprogdiklio kontaktas.

[0129] Kad būtų užtikrinta elektros izoliacija, korpuso sienelėje priešais įdėklo pagrindą padaromas žiedinis griovelis, į kurį įstatomas, pavyzdžiui, iš polipropileno pagamintas izoliacinis žiedas.

[0130] Montuojant dugninį sprogdiklį, (7)–(10) pozicijos nenaudojamos, o žiedinis griovelis izoliaciniam žiedui nedaromas.

[0131] Išorinis įdėklo paviršius, gretimas su sprogstamąja medžiaga, ir vidinis įdėklo paviršius yra pagaminti sukamųjų paviršių su bendra ašimi formos, turi platų atvirą kraštą (įdėklo pagrindas) ir siaurą dalį kitame gale (įdėklo viršus) (18–20 pav.).

[0132] Sukamasis paviršius – tai paviršius, suformuotas sukant kreivę aplink tiesią liniją, vadinamą paviršiaus ašimi. Sukantis apie ašį, kreivė, suformavusi naują figūrą, vadinama sudaromąja. Meridianai – tai sukimosi paviršiaus susikirtimo linijos su plokštumomis, einančiomis per sukimosi ašį. Paralelės – tai paviršiaus susikirtimo su plokštumomis, statmenomis paviršiaus ašiai, linijos.

[0133] Atstumu l nuo pagrindo išilgai įdėklo ašies išilgai išorinio paviršiaus paralelės nustatomas storis δl. l reikšmė yra šiame diapazone: 2 mm ≤ l ≤ 8 mm (21–23 pav.).

[0134] Įdėklo storis išilgai bet kurios vidinio arba išorinio paviršiaus paralelės nustatomas išilgai vidinio paviršiaus normalės, o nuokrypis yra mažesnis nei ±0,05 mm.

[0135] Šiame išradime vidinis įdėklo pagrindo skersmuo D atitinka šią sąlygą:

[0136] 60 mm ≤ D ≤ 75 mm (21–23 pav.).

[0137] Įdėklo vidinio paviršiaus sudaromoji – tai linija, gauta tokiu būdu:

[0138] -tiesės atkarpa gaunama iš vidaus sujungiant įdėklo pagrindą su jo viršumi, viršutinės užapvalinimo pradžia, cilindrinės dalies pradžia arba kita viršūne jos viršutinėje dalyje, tai priklauso nuo viršutinės pagaminimo būdo,

[0139] -per sudarytos atkarpos galus nubrėžiami nedideli dviejų apskritimų lankai, kurių centrai yra priešingose atkarpos pusėse (24 pav.),

[0140] -šių apskritimų spinduliai yra lygūs dviem su puse nurodytos atkarpos ilgiams,

[0141] -dvigubas kampas tarp atkarpos ir įdėklo ašies yra tarp 23° ir 125°,

[0142] -norima linija brėžiama nuo viršaus iki pagrindo, ji yra figūros, kurią sudaro nurodytieji lankai (24 pav., 22 poz.), viduje,

[0143] -pageidaujama linija neturėtų turėti lūžio taškų (25a–25c pav.).

[0144] Esant bet kokiam atidarymo kampui α prie pagrindo, užtikrinamos šios savybės:

[0145] -storio δl diapazonas yra nuo 1,2 mm iki 3 mm (21–23 pav.),

[0146] -kai užtaiso tankis yra ρ < 1,7 g/cm3, nurodytas storis yra mažesnis kaip 2,6 mm.

[0147] Išorinis ir vidinis įdėklo paviršiai gali būti sukonstruoti kaip stačiojo apskritojo kūgio šoniniai paviršiai su skirtingais atidarymo kampais (23 pav.). Statusis apskritasis kūgis – tai kūgis, kurio pagrindą sudaro apskritimas, o statmenoji viršūnės projekcija į pagrindo plokštumą sutampa su apskritimo centru. Stačiojo apskritojo kūgio šoninis paviršius – tai ypatingas sukimosi paviršiaus atvejis.

[0148] Vidinio paviršiaus atidarymo kampas α prie pagrindo (21, 22 pav.), išorinio paviršiaus atidarymo kampas β (ypatinguoju kūgio atveju, 23 pav.) ir įdėklo storis turi būti susieti su kitais kumuliacinio užtaiso parametrais.

[0149] Kadangi dvigubas kampas γ gali svyruoti nuo 23° iki 125°, o apskritimų spinduliai yra lygūs dviem su puse atkarpos ilgio, kampas α gali svyruoti nuo 0° iki 148°, kampas β yra šiek tiek didesnis už α, o jo diapazonas yra maždaug nuo 0° iki 150°.

[0150] Išorinėje įdėklo pusėje, ties įdėklo pagrindo, gali būti nuožulna. Šiuo atveju storis δl matuojamas išilgai vidinio paviršiaus normalės toje vietoje, kur normalė pasiekia išorinį paviršių be nuožulnos.

[0151] Vidutinis sprogstamosios medžiagos tankis ρ gali būti nustatytas standartiniais laboratoriniais metodais.

[0152] Įdėklo storis δl atstumu l turi būti toks, kad esant nurodytiems naudojamos sprogstamosios medžiagos kampo α ir tankio ρ diapazonams, δl vertės atitiktų atitinkamuose išradimo apibrėžties punktuose nurodytas sąlygas.

[0153] Kūginio įdėklo atveju (23 pav.) storis δl ir išorinio bei vidinio paviršių atidarymo kampų skirtumas (β - α) turi atitikti atitinkamus reikalavimus.

[0154] Pavyzdžiui, reikia sukurti kovinę galvutę, užtaisytą A-IX-10 (sudėtis 93,5–95 % sprogstamoji medžiaga RDX (ciklotrimetilentrinitraminas, C3H6N6O6) su 6,5–5 % flegmatizatoriaus), kurios tankis 1,64 g/cm3, su įdėklu, kurio vidinis skersmuo yra 68 mm, o vidinio paviršiaus atidarymo kampas α = 42°. Tokiu atveju, atstumu nuo pagrindo l = 5 mm įdėklo storis δl turėtų būti nuo 1,41 mm iki 2,14 mm, o kampų skirtumas (β - α) – nuo 1° iki 1°30' (12, 13 apibrėžties punktai). Todėl kampas β turi būti nuo 43° iki 43°30'.

[0155] Esant tokioms sąlygoms, susidaro ilgėjantis kumuliacinis strypas, turintis didžiausią galimą masę, didelį galvutės dalies greitį, tolygų įtempimą ir mažą skerspjūvio skersmenį. Dėl to sprogimo energija efektyviai pereina į optimalios formos kumuliacinio strypo kinetinę energiją, todėl padidėja prasiskverbimo į taikinį gylis.

[0156] Be to, tai galima pasiekti esant įvairiems įdėklo atidarymo kampams ir naudojant skirtingo tankio sprogstamąsias medžiagas. Tiktai projektuojant būtina įdėklo parametrus parinkti pagal šio išradimo apibrėžties punktus.

[0157] Renkantis parametro reikšmę iš intervalo, kuris priklauso nuo kito parametro, be to, nustatyto tam tikrame intervale, reikia vadovautis įprasta matematine taisykle: jei apibrėžčių srities diapazono riba yra įtraukta į diapazoną, tai atitinkama funkcijos srities diapazono riba taip pat yra įtraukta į diapazoną, jei diapazono riba nėra įtraukta į apibrėžčių sritį, tai riba nėra įtraukta į funkcijos sritį.

[0158] Pavyzdžiui, jei apibrėžčių sritis yra 1,6 g/cm3 ≤ ρ < 1,7 g/cm3, o funkcijos srities diapazonas yra nuo 1,31 mm iki 2,01 mm, tada 1,31 mm riba įeina į diapazoną, o 2,01 mm riba į diapazoną neįeina (2 apibrėžties punktas).

[0159] Teoriniai skaičiavimai ir kontroliniai eksperimentai parodė, kad, renkantis įdėklo medžiagą, būtina, kad jos tankis būtų didesnis už plieno tankį, kuris svyruoja nuo 7,7 g/cm3 iki 8 g/cm3, ir pakanka, kad jos tankis plieno tankį viršytų ne daugiau kaip 25 %.

[0160] Įdėklas gali būti pagamintas iš vario, kurio tankis yra apie 8,9 g/cm3.

[0161] Kuriant geometrinę įdėklo formą, logiška taikyti Lagranžo aprašymą, kuris nustato kiekvienos medžiagos dalelės būsenos ir judėjimo parametrus (koordinates, greitį ir t. t.) bet kuriuo metu. Kai įdėklas yra sukimosi paviršiaus formos, kumuliacinio strypinio elemento, suformuoto iš tam tikro įdėklo Lagranžo žiedo, masę ir greitį lemia trys veiksniai:

[0162] -svarstomo Lagranžo žiedo skersmuo,

[0163] -kampas tarp dviejų priešingų vidinio žiedo paviršiaus meridianų liestinių,

[0164] -įdėklo storis šioje vietoje.

[0165] Jų įtaka yra tokia:

[0166] -padidėjus skersmeniui ir nekeičiant kitų dviejų parametrų, padidėja ilgėjančio kumuliacinio strypo greitis, nes padidėja įdėklo Lagranžo dalelių kelio ilgis,

[0167] -nurodyto kampo padidinimas veikia taip pat, kaip ir skersmens padidinimas,

[0168] -priešingai, didėjant storiui, įdėklas lėtėja.

[0169] Tuo pat metu dėl didelio pagreičio, kuris stebimas sprogimo sukelto įdėklo išmetimo metu, net ir nedidelis šių parametrų pokytis lemia didelius išmetimo dinamikos pokyčius. Egzistuoja paradoksas, kad maži nukrypimai daro didelę įtaką.

[0170] Atsižvelgiant į šį paradoksą, būtina vengti sukimosi paviršiaus sudaromosios lūžio taškų ir didelių įdėklo formos nuokrypių nuo pagrindinės kūginės formos.

[0171] Lūžio taškas – tai ypatingasis kreivės taškas, kuriame kreivės atšakos, į kurias šis taškas dalija pradinę kreivę, turi skirtingas vienpuses liestines. Jei kreivė neturi lūžio taškų, tai vienos ir kitos pusės liestinės sutampa visuose kreivės taškuose.

[0172] Platūs (išsamūs) matematiniai tyrimai, skaitiniai skaičiavimai ir daugybė eksperimentų leido sukurti principą, kuriam kumuliacinių užtaisų įdėklai turi atitikti geriausiai. Tokiu atveju, vidinio įdėklo paviršiaus sudaromoji turėtų būti sudaryta kaip linija be lūžio taškų, esanti figūros viduje (24 pav., 22 poz.), suformuotas iš dviejų nedidelių apskritimų lankų, einančių per galus linijos atkarpos, iš vidaus jungiančios įdėklo pagrindą su viršumi (viršaus užapvalinimo pradžia, cilindrinės dalies pradžia arba kita viršūne), kurių spinduliai yra lygūs dviem su puse nurodytos atkarpos ilgio ir kurių centrai yra priešingose šios atkarpos pusėse.

[0173] Pasirinkus geometrinę įdėklo formą, įdėklo storį ir atidarymo kampą būtina susieti su dinaminiais sprogimo sukelto įdėklo išmetimo parametrais, kuriuos lemia sprogstamosios medžiagos sudėtis ir tankis. Derinimas atliktas apskaičiuojant skirtingo tankio sprogstamųjų medžiagų sprogimo sukeltą įdėklo išmetimą esant įvairiems atidarymo kampams. Skaičiavimo rezultatai buvo patikrinti eksperimentais.

[0174] Buvo nustatyti optimalūs įdėklų parametrai; pasirinkti parametrai nurodyti atitinkamuose apibrėžties punktuose.

[0175] Kūgio formos įdėklai nepraranda savo svarbos; jie – ypatingas šiame išradime nurodytų įdėklų atvejis. Vidinio ir išorinio paviršiaus storį bei atidarymo kampą koreliuojant (susiejant) su sprogstamosios medžiagos sudėtimi ir tankiu, padidėja kumuliacinių užtaisų su kūgio formos įdėklais efektyvumas.

[0176] Teisingai nustačius šiuos parametrus, galima valdyti ilgėjančio kumuliacinio strypo parametrus, siekiant padidinti jo kinetinę energiją ir optimizuoti greičio gradientą bei strypo skersmenį įvairiose zonose. Dėl to galima padidinti pagrindinį kovinės galvutės parametrą – įsiskverbimo gylį.

[0177] Buvo atliktas pasiūlytos kovinės galvutės efektyvumo palyginimas su prototipu. Buvo pagamintos kovinės galvutės su variniais įdėklais, kurių vidinis atidarymo kampas – 60°, o sienelė – įprasto kintamo storio; buvo panaudotas flegmatizuotas heksogenas. Taip pat buvo pagamintos tokios pat konstrukcijos kovinės galvutės, tačiau užtaisytos galingesne sprogstamąja medžiaga Okfol-3.5 (96,5 % HMX (ciklotetrametilen-tetranitraminas, C4H8N8O8) su 3,5 % flegmatizatoriaus) (2 lentelė).

[0178] Buvo įvertintas pasiūlyto techninio sprendimo efektyvumas. Buvo pagamintos kovinės galvutės su išradime nurodytais parametrais ir nuo jų besiskiriančiais parametrais.

[0179] Siekiant palyginti pasiūlytas kovines galvutes su prototipu, buvo pagamintos naujos kovinės galvutės su kūginiais variniais įdėklais, kurių korpuso išorinis skersmuo – 78 mm, vidinis įdėklo skersmuo – 68 mm, su skirtingais atidarymo kampais ir išradime nurodytais parametrais. 3–6 lentelėse įdėklo storis δl pateikiamas, kai l = 5 mm, o rodiklis "l" – nenurodomas.

[0180] Kaip sprogmuo, kurio tankis 1,6 g/cm3 ≤ ρ < 1,7 g/cm3, buvo naudojama kompozicija A IX-1 (95 % RDX (ciklotrimetilentrinitraminas, C3H6N6O6) su 5 % flegmatizatoriaus); kurios tankis 1,7 g/cm3 ≤ ρ < 1,8 g/cm3 – flegmatizuotas oktogenas Okfol-3.5. Kaip taikinys buvo naudojamas vienas šalia kito išdėstytų šarvinių plokščių rinkinys. Galvutės pjezoelektrinis sprogdiklis naudojamas nebuvo. Kovinės galvutės buvo sumontuotos statmenai viršutinei šarvo plokštei, o tarp plokštės ir aptako galo buvo maždaug 20 mm tarpas. Toks tarpas imituoja tikrąją kovinės galvutės padėtį sprogimo momentu, atsižvelgiant į sprogdiklio dugninės dalies veikimo uždelsimo laiką, taikomą kovinei galvutei su viršus-dugnas sprogdikliu, veikiančiu kartu su pjezoelektriniu generatoriumi.

[0181] 3–6 lentelėse pateikiami kiekvienos išbandytos kovinės galvutės prasiskverbimo į šarvą rezultatai. Lentelėse pateikiamas įvairių kovinių galvučių gamybos variantų efektyvumas, pagrįstas vidutiniu kiekvieno varianto skverbties gyliu.

[0182]

[0183]

[0184]

[0185]

[0186]

[0187]

[0188]

[0189]

[0190] Iš atliktų eksperimentų analizės matyti, kad visų išbandytų įdėklų atidarymo kampų ir visų naudotų sprogstamųjų medžiagų atveju didžiausias skvarbumas pastebėtas tais atvejais, kai abu įdėklų parametrai, storis δl ir kampų skirtumas (β - α), atitinka išradimo apibrėžties punktuose nurodytus kriterijus.

[0191] Skverbtis į šarvą yra mažesnė, kai storis δl atitinka reikiamus kriterijus, bet kampų skirtumas (β - α) jų neatitinka. Tuo pat metu šiais atvejais vidutinė skvarba vis tiek yra didesnė už prototipo vidutinę skvarbą (400 mm) ir už prototipo su galingesniu sprogmeniu vidutinę skvarbą (420 mm).

[0192] Blogiausi rezultatai, dar prastesni nei prototipo, gaunami tais atvejais, kai abu įdėklo parametrai, storis δl ir kampų skirtumas (β - α), neatitinka reikalaujamų kriterijų.

[0193] Pateikti pavyzdžiai neišsemia išradimo pritaikymo galimybių. Tačiau jie įtikinamai patvirtina techninio sprendimo, kuris buvo pasiūlytas remiantis išsamiais moksliniais tyrimais, skaičiavimais ir eksperimentais, efektyvumą.

[0194] Atlikti eksperimentai parodė, kad, lyginant su prototipu, siūlomi kovinės galvutės variantai yra pranašesni.

[0195] Išradimas aprašytas pakankamai išsamiai, kad atitiktų patentų nuostatas ir suteiktų šios srities specialistams informacijos, reikalingos naujiems principams taikyti. Tačiau reikėtų suprasti, kad aprašytas techninis sprendimas gali būti įgyvendintas naudojant kitas detales ir sudedamąsias dalis, nenukrypstant nuo tikrosios šio išradimo esmės ir apimties.

[0196] Nuorodos

[0197] 1. "Nevaldoma orlaivio raketa su tandeminiu kumuliãciniu užtaisu". Patentas RU2371667C1. Ashurkov A.A. ir kt., paskelbtas 2009-10-27.

[0198] 2. Sychev A.I., Martirosyan V.G., Pereskokov V.A. " Nevaldomos 80 mm kalibro orlaivių raketos", 2019.

[0199] 3. "Dugninis sprogdiklis". Patentas RU2125706C1. Andrejkin P.V. ir kt., paskelbtas 1999-01-27.

[0200] 4. Trunin R.F., Gudarenko L.F. ir kt. "Eksperimentiniai duomenys apie kondensuotų medžiagų smūginės bangos suspaudimą ir adiabatinį plėtimąsi", 2006.

[0201] 5. Bazhin V.E., Dankov V.S. ir kt. "Sprogdinimas, sprogstamosios medžiagos, jų panaudojmas", 2008.

[0202] 6. "Kumuliacinio užtaiso danga". Patentas RU2337307С2. Kachalin N.I. ir kt., paskelbtas 2008-10-27.

[0203] 7. "Kumuliacinio užtaiso įdėklas su integruotu inicijavimo mechanizmu". Patento Nr. US6026750. Carl A. Nelson, paskelbtas 2000-02-22.

[0204] 8. "Kumuliacinio užtaiso įdėklas". Patento Nr. US6840178B2. William R. Collins ir kt., paskelbtas 2005-01-11.

[0205] 9. "Karinės sprogstamosios medžiagos". Techninis vadovas Nr. 9-1300-214, su 1-4 pakeitimais. Kariuomenės departamento štabas.

[0206] 10. "Pirospravka. Sprogstamųjų medžiagų, parako ir pirotechninių kompozicijų vadovėlis", 6-asis leidimas, 2012 m.

[0207] 11. Markovsky V., Prikhodchenko I. "Nevaldomos S-8 tipo raketos". M-Hobby, 2013, Nr. 9 (148), 44–50 psl.

Apibrėžtis

1. Kovinė galvutė, kuri apima korpusą (1), kurio išorinis priekinės dalies skersmuo yra nuo 75 mm iki 85 mm, saugos ir užtaisymo mechanizmą (2), esantį dugninėje (apatinėje) korpuso dalyje, sprogstamąjį užtaisą (3), kurio sudėtyje yra ne mažiau kaip 70 % RDX, arba HMX, arba HNIW (CL-20), su tuščiavidure ertme užtaiso galvutėje, bangų formuotuvą (4), aptaką (6) ir įdėklą (5), esantį tuščiavidurėje ertmėje, kur

- įdėklas yra pagamintas iš medžiagos, kurios tankis yra nuo 8 g/cm3 iki 10 g/cm3,

- sprogstamajai medžiagai gretimas išorinis įdėklo paviršius ir vidinis įdėklo paviršius yra padaryti kaip sukimosi paviršiai su bendra ašimi, su plačiu atviru kraštu, vadinamu pagrindu, ir siaura dalimi kitoje pusėje, vadinama viršumi,

- atidarymo kampas α prie įdėklo pagrindo nustatomas tarp dviejų priešingų vidinio paviršiaus meridianų liestinių prie pagrindo,

- įdėklo pagrindo vidinis skersmuo D yra nuo 60 mm iki 75 mm,

saugos ir užtaisymo mechanizmas gali būti savarankiškas dugninis sprogdiklis arba viršus-dugnas sprogdiklio dalis, veikianti kartu su pjezoelektriniu generatoriumi (10), kad tarp jų susidarytų elektros grandinė, laidininkas (7), įstatomas į bangų formuotuvą, laidus kūgis (8), izoliacinis prispaudimo žiedas (9) ar elektros kabelis, arba kiti elektros grandinėje naudojami elementai,

b e s i s k i r i a n t i tuo, kad vidinio įdėklo paviršiaus sudaromoji yra sudaryta kaip linija be lūžio taškų, esanti viduje figūros, kurią suformuoja nedideli dviejų apskritimų lankai, einantys per galus linijos atkarpos, iš vidaus jungiančios įdėklo pagrindą su viršumi, viršūnės užapvalinimo pradžia, cilindrinės dalies pradžia arba kita viršūnė jos viršutinėje dalyje, apskritimų spinduliai lygūs dviem su puse nurodytos atkarpos ilgio, o jų centrai yra priešingose šios atkarpos pusėse, dvigubas kampas tarp atkarpos ir įdėklo ašies yra nuo 23° iki 125°; tuo pat metu išilgai išorinio paviršiaus paralelė atstumu l nuo pagrindo išilgai įdėklo ašies nurodomas įdėklo storis δl, nustatytas išilgai vidinio paviršiaus normalės, l yra nuo 2 mm iki 8 mm, kai δl yra diapazone nuo 1,2 mm iki 3 mm, ir δl neviršija 2,6 mm, jei užtaisui yra naudojama sprogstamoji medžiaga, kurios tankis ρ < 1,7 g/cm3.

2. Kovinė galvutė, pagal 1 punktą, b e s i s k i r i a n t i tuo, kad jos atidarymo kampas α prie įdėklo pagrindo tenkina sąlygą: 15° ≤ α < 25°, priklausomai nuo naudojamos sprogstamosios medžiagos tankio ρ, storio δl vertė parenkama diapazone nuo 1,31 mm iki 2,01 mm, kai 1,6 g/cm3 ≤ ρ < 1,7 g/cm3, δl vertė parenkama diapazone nuo 1,43 mm iki 2,16 mm, kai 1,7 g/cm3 ≤ ρ < 1,8 g/cm3, δl vertė parenkama diapazone nuo 1,55 mm iki 2,31 mm, kai 1,8 g/cm3 ≤ ρ < 1,9 g/cm3, ir δl vertė parenkama diapazone nuo 1,66 mm iki 2,45 mm, kai 1,9 g/cm3 ≤ ρ ≤ 2 g/cm3.

3. Kovinė galvutė, pagal 1 punktą, b e s i s k i r i a n t i tuo, kad jos atidarymo kampas α prie įdėklo pagrindo tenkina sąlygą: 25° ≤ α < 35°, priklausomai nuo naudojamos sprogstamosios medžiagos tankio ρ, storio δl vertė parenkama diapazone nuo 1,36 mm iki 2,08 mm, kai 1,6 g/cm3 ≤ ρ < 1,7 g/cm3, δl vertė parenkama diapazone nuo 1,48 mm iki 2,23 mm, kai 1,7 g/cm3 ≤ ρ < 1,8 g/cm3, δl vertė parenkama diapazone nuo 1,60 mm iki 2,37 mm, kai 1,8 g/cm3 ≤ ρ < 1,9 g/cm3, ir δl vertė parenkama diapazone nuo 1,71 mm iki 2,52 mm, kai 1,9 g/cm3 ≤ ρ ≤ 2 g/cm3.

4. Kovinė galvutė, pagal 1 punktą, b e s i s k i r i a n t i tuo, kad jos atidarymo kampas α prie įdėklo pagrindo tenkina sąlygą: 35° ≤ α < 45°, priklausomai nuo naudojamos sprogstamosios medžiagos tankio ρ, storio δl vertė parenkama diapazone nuo 1,41 mm iki 2,14 mm, kai 1,6 g/cm3 ≤ ρ < 1,7 g/cm3, δl vertė parenkama diapazone nuo 1,53 mm iki 2,29 mm, kai 1,7 g/cm3 ≤ ρ < 1,8 g/cm3, δl vertė parenkama diapazone nuo 1,65 mm iki 2,44 mm, kai 1,8 g/cm3 ≤ ρ < 1,9 g/cm3, ir δl vertė parenkama diapazone nuo 1,76 mm iki 2,59 mm, kai 1,9 g/cm3 ≤ ρ ≤ 2 g/cm3.

5. Kovinė galvutė, pagal 1 punktą, b e s i s k i r i a n t i tuo, kad jos atidarymo kampas α prie įdėklo pagrindo tenkina sąlygą: 45° ≤ α < 55°, priklausomai nuo naudojamos sprogstamosios medžiagos tankio ρ, storio δl vertė parenkama diapazone nuo 1,46 mm iki 2,21 mm, kai 1,6 g/cm3 ≤ ρ < 1,7 g/cm3, δl vertė parenkama diapazone nuo 1,58 mm iki 2,36 mm, kai 1,7 g/cm3 ≤ ρ < 1,8 g/cm3, δl vertė parenkama diapazone nuo 1,70 mm iki 2,51 mm, kai 1,8 g/cm3 ≤ ρ < 1,9 g/cm3, ir δl vertė parenkama diapazone nuo 1,81 mm iki 2,65 mm, kai 1,9 g/cm3 ≤ ρ ≤ 2 g/cm3.

6. Kovinė galvutė, pagal 1 punktą, b e s i s k i r i a n t i tuo, kad jos atidarymo kampas α prie įdėklo pagrindo tenkina sąlygą: 55° ≤ α < 65°, priklausomai nuo naudojamos sprogstamosios medžiagos tankio ρ, storio δl vertė parenkama diapazone nuo 1,51 mm iki 2,28 mm, kai 1,6 g/cm3 ≤ ρ < 1,7 g/cm3, δl vertė parenkama diapazone nuo 1,63 mm iki 2,42 mm, kai 1,7 g/cm3 ≤ ρ < 1,8 g/cm3, δl vertė parenkama diapazone nuo 1,75 mm iki 2,57 mm, kai 1,8 g/cm3 ≤ ρ < 1,9 g/cm3, ir δl vertė parenkama diapazone nuo 1,86 mm iki 2,72 mm, kai 1,9 g/cm3 ≤ ρ ≤ 2 g/cm3.

7. Kovinė galvutė, pagal 1 punktą, b e s i s k i r i a n t i tuo, kad jos atidarymo kampas α prie įdėklo pagrindo tenkina sąlygą: 65° ≤ α < 75°, priklausomai nuo naudojamos sprogstamosios medžiagos tankio ρ, storio δl vertė parenkama diapazone nuo 1,56 mm iki 2,34 mm, kai 1,6 g/cm3 ≤ ρ < 1,7 g/cm3, δl vertė parenkama diapazone nuo 1,68 mm iki 2,49 mm, kai 1,7 g/cm3 ≤ ρ < 1,8 g/cm3, δl vertė parenkama diapazone nuo 1,80 mm iki 2,64 mm, kai 1,8 g/cm3 ≤ ρ < 1,9 g/cm3, ir δl vertė parenkama diapazone nuo 1,91 mm iki 2,79 mm, kai 1,9 g/cm3 ≤ ρ ≤ 2 g/cm3.

8. Kovinė galvutė, pagal 1 punktą, b e s i s k i r i a n t i tuo, kad jos atidarymo kampas α prie įdėklo pagrindo tenkina sąlygą: 75° ≤ α < 85°, priklausomai nuo naudojamos sprogstamosios medžiagos tankio ρ, storio δl vertė parenkama diapazone nuo 1,61 mm iki 2,40 mm, kai 1,6 g/cm3 ≤ ρ < 1,7 g/cm3, δl vertė parenkama diapazone nuo 1,72 mm iki 2,55 mm, kai 1,7 g/cm3 ≤ ρ < 1,8 g/cm3, δl vertė parenkama diapazone nuo 1,84 mm iki 2,70 mm, kai 1,8 g/cm3 ≤ ρ < 1,9 g/cm3, ir δl vertė parenkama diapazone nuo 1,96 mm iki 2,85 mm, kai 1,9 g/cm3 ≤ ρ ≤ 2 g/cm3.

9. Kovinė galvutė, pagal 1 punktą, b e s i s k i r i a n t i tuo, kad jos atidarymo kampas α prie įdėklo pagrindo tenkina sąlygą: 85° ≤ α ≤ 125°, priklausomai nuo naudojamos sprogstamosios medžiagos tankio ρ, storio δl vertė parenkama diapazone nuo 1,65 mm iki 2,47 mm, kai 1,6 g/cm3 ≤ ρ < 1,7 g/cm3, δl vertė parenkama diapazone nuo 1,77 mm iki 2,62 mm, kai 1,7 g/cm3 ≤ ρ < 1,8 g/cm3, δl vertė parenkama diapazone nuo 1,89 mm iki 2,77 mm, kai 1,8 g/cm3 ≤ ρ < 1,9 g/cm3, ir δl vertė parenkama diapazone nuo 2,01 mm iki 2,92 mm, kai 1,9 g/cm3 ≤ ρ ≤ 2 g/cm3.

10. Kovinė galvutė, pagal 3 punktą, b e s i s k i r i a n t i tuo, kad įdėklas pagamintas kaip stačiojo apskritojo kūgio šoninis paviršius, o atidarymo kampas α, vienodas visame įdėkle, atitinka sąlygą: 25° ≤ α < 35°.

11. Kovinė galvutė, pagal 10 punktą, b e s i s k i r i a n t i tuo, kad, priklausomai nuo naudojamos sprogstamosios medžiagos tankio ρ, išorinio ir vidinio paviršių atidarymo kampų skirtumas (β - α) parenkamas diapazone nuo 0°45' iki 1°15', kai 1, 6 g/cm3 ≤ ρ < 1,7 g/cm3, (β - α) parenkamas diapazone nuo 0°50' iki 1°20', kai 1,7 g/cm3 ≤ ρ < 1,8 g/cm3, (β - α) parenkamas diapazone nuo 0°55' iki 1°25', kai 1,8 g/cm3 ≤ ρ < 1,9 g/cm3, (β - α) parenkamas diapazone nuo 1° iki 1°30', kai 1,9 g/cm3 ≤ ρ ≤ 2 g/cm3.

12. Kovinė galvutė, pagal 4 punktą, b e s i s k i r i a n t i tuo, kad įdėklas pagamintas kaip stačiojo apskritojo kūgio šoninis paviršius, o atidarymo kampas α, vienodas visame įdėkle, atitinka sąlygą: 35° ≤ α < 45°.

13. Kovinė galvutė, pagal 12 punktą, b e s i s k i r i a n t i tuo, kad, priklausomai nuo naudojamos sprogstamosios medžiagos tankio ρ, išorinio ir vidinio paviršių atidarymo kampų skirtumas (β - α) parenkamas diapazone nuo 1° iki 1°30', kai 1,6 g/cm3 ≤ ρ < 1,7 g/cm3, (β - α) parenkamas diapazone nuo 1°5' iki 1°35', kai 1,7 g/cm3 ≤ ρ < 1,8 g/cm3, (β - α) parenkamas diapazone nuo 1°10' iki 1°40', kai 1,8 g/cm3 ≤ ρ < 1,9 g/cm3, (β - α) parenkamas diapazone nuo 1°15' iki 1°45', kai 1,9 g/cm3 ≤ ρ ≤ 2 g/cm3.

14. Kovinė galvutė, pagal 5 punktą, b e s i s k i r i a n t i tuo, kad įdėklas pagamintas kaip stačiojo apskritojo kūgio šoninis paviršius, o atidarymo kampas α, vienodas visame įdėkle, atitinka sąlygą: 45° ≤ α < 55°.

15. Kovinė galvutė, pagal 14 punktą, b e s i s k i r i a n t i tuo, kad, priklausomai nuo naudojamos sprogstamosios medžiagos tankio ρ, išorinio ir vidinio paviršių atidarymo kampų skirtumas (β - α) parenkamas diapazone nuo 1°15' iki 1°45', kai 1,6 g/cm3 ≤ ρ < 1,7 g/cm3, (β - α) parenkamas diapazone nuo 1°20' iki 1°50', kai 1,7 g/cm3 ≤ ρ < 1,8 g/cm3, (β - α) parenkamas diapazone nuo 1°25' iki 1°55', kai 1,8 g/cm3 ≤ ρ < 1,9 g/cm3, (β - α) parenkamas diapazone nuo 1°30' iki 2°, kai 1,9 g/cm3 ≤ ρ ≤ 2 g/cm3.

16. Kovinė galvutė, pagal 6 punktą, b e s i s k i r i a n t i tuo, kad įdėklas pagamintas kaip stačiojo apskritojo kūgio šoninis paviršius, o atidarymo kampas α, vienodas visame įdėkle, atitinka sąlygą: 55° ≤ α < 65°.

17. Kovinė galvutė, pagal 16 punktą, b e s i s k i r i a n t i tuo, kad, priklausomai nuo naudojamos sprogstamosios medžiagos tankio ρ, išorinio ir vidinio paviršių atidarymo kampų skirtumas (β - α) parenkamas diapazone nuo 1°30' iki 2°, kai 1.6 g/cm3 ≤ ρ < 1.7 g/cm3, (β - α) parenkamas diapazone nuo 1°35' iki 2°5', kai 1,7 g/cm3 ≤ ρ < 1,8 g/cm3, (β - α) parenkamas diapazone nuo 1°40' iki 2°10', kai 1,8 g/cm3 ≤ ρ < 1,9 g/cm3, (β - α) parenkamas diapazone nuo 1°45' iki 2°15', kai 1.9 g/cm3 ≤ ρ ≤ 2 g/cm3.

18. Kovinė galvutė, pagal 7 punktą, b e s i s k i r i a n t i tuo, kad įdėklas pagamintas kaip stačiojo apskritojo kūgio šoninis paviršius, o atidarymo kampas α, vienodas visame įdėkle, atitinka sąlygą: 65° ≤ α < 75°.

19. Kovinė galvutė, pagal 18 punktą, b e s i s k i r i a n t i tuo, kad, priklausomai nuo naudojamos sprogstamosios medžiagos tankio ρ, išorinio ir vidinio paviršių atidarymo kampų skirtumas (β - α) parenkamas diapazone nuo 1°45' iki 2°15', kai 1,6 g/cm3 ≤ ρ < 1,7 g/cm3, (β - α) parenkamas diapazone nuo 1°50' iki 2°20', kai 1,7 g/cm3 ≤ ρ < 1,8 g/cm3, (β - α) parenkamas diapazone nuo 1°55' iki 2°25', kai 1,8 g/cm3 ≤ ρ < 1,9 g/cm3, (β - α) parenkamas diapazone nuo 2° iki 2°30', kai 1,9 g/cm3 ≤ ρ ≤ 2 g/cm3.

20. Kovinė galvutė pagal bet kurį iš ankstesnių punktų, b e s i s k i r i a n t i tuo, kad įdėklas yra pagamintas iš metalų, įskaitant bimetalus, arba metalų lydinių, įskaitant miltelius ir pseudolydinius, arba metalų polimerų, pageidautina su antikorozine danga.

21. Kovinė galvutė pagal bet kurį iš ankstesnių punktų, b e s i s k i r i a n t i tuo, kad įdėklas yra pagamintas iš vario, kurio bendra priemaišų masės dalis yra mažesnė kaip 0.1 %.

22. Kovinė galvutė pagal bet kurį iš ankstesnių punktų, b e s i s k i r i a n t i tuo, kad įdėklo storis išilgai bet kurios vidinio arba išorinio paviršiaus paralelės nustatomas išilgai vidinio paviršiaus normalės, o nuokrypis yra mažesnis nei ±0,05 mm.

23. Kovinė galvutė pagal bet kurį iš ankstesnių punktų, b e s i s k i r i a n t i tuo, kad įdėklas papildomai apima montavimo ir (arba) sužadinimo elementus.

24. Kovinė galvutė pagal bet kurį iš ankstesnių punktų, b e s i s k i r i a n t i tuo, kad kovinė galvutė papildomai apima dar ir fragmentacijos dalį.

Brėžiniai