LT6981B

PJEZOELEKTRINĖ SLENKAMOJO - SUKAMOJO JUDESIO PAVARA

PIEZOELECTRIC SLIDING-ROTARY MOTION DRIVE

Referatas

[LT] Išradimas skirtas sukurti didelio tikslumo pjezoelektrinę pavarą, užtikrinant varomosios grandies nepriklausomą sukamąjį ir slenkamąjį judesį arba slenkamąjį judesį plokštumoje. Pjezoelektrinė pavara susideda iš pjezoelektrinio vykdiklio (1), sudaryto iš tampraus dvigubos elipsės formos statoriaus (6), keturių daugiasluoksnių pjezoelektrinių keitiklių (7), išdėstytų po du kiekviename elipsės formos virpesių keitiklyje (11, 12) ilgosios ašies kryptimi ir standaus frikcinio kontaktinio elemento (9), pritvirtinto ant statoriaus tiltelio (10), jungiančio elipsės formos virpesių keitiklius (11, 12). Kontaktinis elementas slystamai kontaktuoja su prie jo prispausta pavaros varomąja grandimi, kuri gali būti realizuota kaip cilindro formos strypas (3) arba plokščias slankiklis (13). Varomosios grandies sukamasis - slenkamasis judesys arba slenkamasis judesys plokštumoje gaunamas žadinant daugiasluoksnius pjezoelektrinius keitiklius dviem elektriniais signalais, kurio dažnis lygus vienam iš statoriaus lenkimo virpesių rezonansiniam dažniui, o fazių skirtumas lygus π/2. Sukamasis judesys generuojamas, kai du pjezoelektriniai keitikliai (7), esantys vienoje vykdiklio tvirtinimo plokštelės (8) pusėje, žadinami tos pačios fazės elektriniu signalu, o slenkamasis judesys gaunamas, kai tos pačios fazės elektriniu signalu žadinami abu pjezoelektriniai keitikliai (7), esantys tame pačiame elipsės formos virpesių keitiklyje. Pavaros poslinkio skyra padidinama kai vykdiklis (1) žadinamas dviem nesimetriniais elektriniais signalais, kurių dažnis artimas vienam iš statoriaus (6) lenkimo virpesių rezonansiniam dažniui.

[EN] The invention discloses a high-precision piezoelectric actuator that provides independent rotational and sliding motion of the rotor or sliding motion of the flat slider in a plane. The piezoelectric drive comprises a piezoelectric actuator (1) consisting of an elastic double elliptical-shaped stator (6), four multilayer piezoelectric transducers (7) arranged two in each elliptical-shaped vibration transducer (11, 12) in the direction of the major ellipse axis and a rigid frictional contact element (9) attached to the elastic bridge (10) that connects the two elliptical-shaped vibration transducers. The contact element is in the sliding contact with the preloaded rotor that can be implemented as a cylindrical rod (3) or a plate-shaped slider (13). Rotary - sliding motion of a cylindrical rod or sliding motion of the slider in a plane is obtained when multilayer piezoelectric transducers are excited by two electrical signals having a frequency equal to one of the resonant frequencies of the stator bending oscillations and a phase difference of π/2. The rotational motion of the cylindrical rod (3) is generated when two piezoelectric transducers located on the same side of the mounting plate (8) are excited by an electrical signal of the same phase, while the sliding motion is obtained when two piezoelectric transducers (7) located in the same elliptical-shaped vibration transducer (11, 12) are excited by an electrical signal of the same phase. The displacement resolution of the drive is increased when piezoelectric actuator (1) is excited by two asymmetric electrical signals with a frequency close to one of the resonant frequency of bending oscillations of the stator (6).

Aprašymas

[0001] IŠRADIMO SRITIS

[0002] Išradimas priskiriamas elektro-mechaninių, mechatroninių sistemų ir robototechnikos sritims. Tai pavara, skirta sukurti didelio tikslumo daugiafunkcines sukamojo ir slenkamojo judesio sistemas, įskaitant ir reversines, ir gali būti taikoma tiksliose kampinio ir linijinio pozicionavimo sistemose, tokiose kaip optinių filtrų ir lazerio spindulio pozicionavimo sistemose taip pat precizinėse bandinių ir kitų objektų pozicionavimo sistemose.

[0003] TECHNIKOS LYGIS

[0004] Sparčiai vystantis precizinėms pozicionavimo, optikos ir mikroskopijos sistemoms, siekiama didinti jų skiriamąją gebą ir tikslumą. Kuriant daugiafunkcines precizines kelių laisvės laipsnių pozicionavimo sistemas, susiduriama su problema kaip mažinti pavarų skaičių ir jų užimamą tūrį. Klasikinių elektromagnetinių pavarų taikymas daugiafunkcinėse pozicionavimo sistemoje yra ribotas dėl konstrukcinių ypatumų, susijusių su tuo, kad pavaros elektromagnetinis vykdiklis sukuria vieno laisvės laipsnio judesį, todėl tampa komplikuotos vykdiklių integravimo galimybės daugiafunkcinėse kelių laisvės laipsnių pozicionavimo sistemose. Viena iš mokslinių tyrimų krypčių yra siejama su kelių laisvės laipsnių daugiafunkcinių pjezoelektrinių pavarų ir vykdiklių kūrimu, kuriuose varomosios grandies sukamasis ir slenkamasis judesys yra sukuriamas ne elektromagnetiniu principu, o transformuojant elektrinę energiją į aukšto dažnio mechaninius virpesius ir varomosios grandies linijinį arba sukamąjį poslinkį. Valdant vykdiklio mechaninių virpesių amplitudes, galima pasiekti kelių laisvės laipsnių nanometrinio tikslumo varomosios grandies judesį. Tai leidžia supaprastinti pavaros konstrukciją, sumažinti mechatroninių sistemų gabaritus, padidinti įrenginių funkcionalumą ir kurti integruotas mechatronines pozicionavimo sistemas.

[0005] Žinoma pjezoelektrinė pavara, aprašyta patente CN104967358A kuri suteikia galimybę sukurti sukamąjį ir slenkamąjį strypo judesį taikant inercinį veikimo principą. Pavara sudaryta iš pjezoelektrinio vamzdelio formos vykdiklio, kurio išorinis ir vidinis paviršius turi elektrodus. Išorinis elektrodas padalintas skersai vamzdelio į dvi lygias dalis, o vidinis vamzdelio elektrodas yra vientisas. Vienas iš išorinių pjezoelektrinio vamzdelio elektrodų papildomai sudalytas spirališkai siekiant sužadinti sukamąsias vamzdelio deformacijas išilgai vamzdelio ašies. Kiti vykdiklio elektrodai naudojami išilginių vamzdelio deformacijų žadinimui. Tamprus strypas yra patalpintas išilgai pjezoelektrinio vamzdelio ašies ir įtvirtintas laisvuose galuose įtvirtinimo mechanizmuose. Norint sukurti slenkamąjį varomosios grandies judesį, du pjūklo formos elektriniai signalai, kurių fazės skiriasi dydžiu π, yra paduodami į vidinį ir išorinius pjezoelektrinio vamzdelio elektrodus ko pasėkoje dėl nesimetrinių pjezoelektrinio vykdiklio išilginių mechaninių virpesių sukuriamas slenkamasis pavaros varomosios grandies judesys. Siekiant sukurti sukamąjį varomosios grandies judesį naudojamas vienas pjūklo formos elektrinis signalas, kuris paduodamas į spirališkai padalintą elektrodą, todėl sužadinami sukamieji vykdiklio mechaniniai virpesiai, kurie per įtvirtinimo mechanizmus sukuria varomosios grandies sukamuosius judesius. Pavara turi sudėtingą konstrukciją, veikimo principas pagrįstas žemo efektyvumo virpesių modomis, pavaroje nenumatyta veikimo galimybė žingsniniame režime, taip pat sukamojo judesio dinamines charakteristikas apriboja sąveikos tarp vykdiklio ir varomosios grandies ypatumai.

[0006] Patente CN102843063B aprašoma pjezoelektrinė sukamojo slenkamojo judesio pavara. Pavaros konstrukciją sudaro stačiakampio strypo statorius su sriegine ertme suformuota išilgai statoriaus. Išoriniai stačiakampio paviršiai padengti aštuoniomis pjezoelektrinėmis plokštelėmis, poliarizuotomis plokštelių storio kryptimi. Pavaros varomosios grandis – tai strypas su išoriniu sriegiu, įsuktas į srieginę ertmę statoriuje. Pavaros žadinimui naudojami du harmoniniai elektriniai signalai, kurių fazių skirtumas yra π/2. Siekiant gauti sukamuosius-slenkamuosius aktyviosios dalies poslinkius, žadinimo signalai pajungiami į atitinkamas pjezoelektrines plokštelės, o žadinimo signalų dažnis parenkamas taip kad sutaptų su antra statoriaus lenkimo deformacijų moda. Žadinant pavarą tokiu principu, statorius deformuojamas dvejomis skirtingomis kryptimis taip sukuriant bėgančios bangos virpesius, todėl sukuriamas sukamasis - slenkamasis pavaros varomosios grandies judesys. Šios pavaros slenkamojo – sukamojo judesio skiriamąją gebą įtakoja srieginio sujungimo tarp statoriaus ir varomosios grandies žingsnis ir tikslumas. Taip pat šios pavaros konstrukcija leidžia gauti tik sinchroninį sukamąjį – slenkamąjį varomosios grandies judesį. Be to pavaroje galimos nesisteminės judesio paklaidos, atsirandančios dėl srieginio sujungimo laisvatarpio.

[0007] Patente CN106100437A aprašoma pjezoelektrinė slenkamojo judesio pavara, sudaryta iš tampraus statoriaus, kurį sudaro du rombo formos vykdikliai sujungti nuosekliai didelio standumo jungiamąja dalimi. Vykdiklių trumposiose ašyse nejudamai sumontuoti daugiasluoksniai pjezoelektriniai keitikliai. Pavaros statoriaus laisvieji galai yra įtvirtinami nejudamai, o dviejų rombo formos vykdiklių sujungimo vietoje suformuojamas kontaktinis paviršius, kuris kontaktuoja su stačiakampio formos slankikliu. Trinties jėga tarp statoriaus kontaktinio paviršiaus ir slankiklio reguliuojama tampria elipses formos spyruokle, kurios standumas keičiamas naudojant srieginę pastūmą. Pavaros veikimas paremtas inerciniu principu, kai žadinant pjezoelektrinius keitiklius dviem pjūklo formos elektriniais signalais, kurių fazių skirtumas yra π, tarp statoriaus ir slankiklio sukuriama skirtingo dydžio trinties jėga ir taip sugeneruojamas žingsninis slenkamasis slankiklio judesys. Atbulinis slenkamasis judesys gaunamas keičiant elektrinių signalų fazes priešingomis. Pavara pasižymi tuo, kad pjezoelektrinių keitiklių poslinkių amplitudės ir slankiklio stūmimo jėga didinami naudojant rombo formos vykdiklius. Tačiau pavara nenumatyta galimybė sukurti sukamojo slankiklio judesio ir plokštelės formos slankiklio slenkamojo judesio plokštumoje.

[0008] IŠRADIMO ĖSMĖ

[0009] Išradimo tikslas – padidinti pjezoelektrinės pavaros našumą, poslinkio skiriamąją gebą, dinamines charakteristikas ir praplėsti funkcines galimybes.

[0010] Išradimo tikslas pasiekiamas tuo, kad pjezoelektriniame vykdiklyje susidedančiame iš dvigubos elipsės formos tampraus statoriaus, kurio ilgojoje ašyje sumontuoti keturi daugiasluoksniai pjezoelektriniai keitikliai sujungti tarpusavyje tvirtinimo plokštele į vientisą konstrukciją, kurios išoriniame paviršiuje elipsių sujungimo tiltelyje tvirtinamas standus kontaktinis elementas, ir slystamai prispaustos varomosios grandies, turinčios cilindrinio strypo arba plokščio slankiklio formą, kontakto zonoje sugeneruojami pjezoelektrinio vykdiklio mechaniniai virpesiai, kurie frikcinio kontakto metu transformuojami į pavaros varomosios grandies sukimąsi arba slinkimą.

[0011] Varomosios grandies sukimosi ir linijinis greitis bei pjezoelektrinės pavaros dinaminės charakteristikos ir našumas padidėja dėl to, kad elipsės formos vykdiklyje daugiasluoksnių pjezoelektrinių keitiklių, žadinamų dviem harmoniniais elektriniais signalais, kurių fazių skirtumas yra π/2, išilginiai virpesiai transformuojami į statoriaus lenkimo virpesius su didesnėmis amplitudėmis nei daugiasluoksnių pjezoelektrinių keitiklių ir sugeneruojami rezonansiniai bėgančios bangos virpesiai, o kontaktinio standaus elemento vieta parenkama ant tampraus tiltelio, jungiančio du elipsės formos virpesių keitiklius, ir pjezoelektrinio vykdiklio tvirtinimo plokštelės padėtis sutapatinama su elipsių trumpąja ašimi tam, kad sumažinti kontakto zonos virpesių slopinimą, atsirandantį dėl pavaros standaus tvirtinimo korpuse, todėl varomosios grandies kontakto zonoje didinamos virpesių amplitudės.

[0012] Pjezoelektrinės pavaros varomosios grandies sukamojo ir slenkamojo judesio poslinkio skiriamoji geba ir tikslumas didinami daugiasluoksnius pjezoelektrinius keitiklius žadinant dviem nesimetriniais elektriniais signalais, kurio dažnis artimas bėgančios bangos rezonansiniam dažniui, o fazių skirtumas yra π/2, todėl gaunamas žingsninis varomosios grandies judesys, kurio skyra tiesiogiai priklauso nuo elektrinio signalo stiprumo ir lygi mažiausio sugeneruoto žingsnio skyrai.

[0013] Pjezoelektrinės pavaros funkcinės galimybės praplečiamos kai dvigubos elipsės formos statoriaus paviršiuje, kuriame įtvirtintas kontaktinis elementas atskirai žadinami bėgančios bangos virpesiai išilgine ir skersine statoriaus kryptimis, ko pasėkoje sugeneruojamos elipsinės kontaktinio taško judėjimo trajektorijos, kurių pagrindinės ašys yra statmenos viena kitai. Todėl, priklausomai nuo daugiasluoksnių pjezoelektrinių keitiklių žadinimo schemos, gaunami sukamieji arba slenkamieji strypo formos varomosios grandies poslinkiai arba plokščio slankiklio poslinkiai plokštumoje dvejomis statmenomis kryptimis. Nepriklausomas slenkamojo ir sukamojo varomosios grandies judesys gaunamas, kai vykdiklio bėgančios bangos virpesiai išilgine ir skersine kryptimis žadinami nesutampančiais elektrinių signalų dažniais.

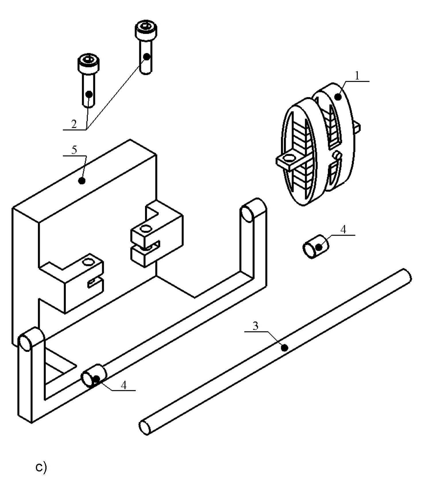
[0014] Siekiant sukurti nepriklausomą slenkamąjį ar sukamąjį varomosios grandies judesį rezonansiniame režime, žadinimo signalų fazių skirtumas turi būti π/2, o dažnis parenkamas taip, kad sutaptų, atitinkamai, su pirmąją skersine arba išilgine dvigubos elipsės formos statoriaus lenkimo virpesių moda, o pjezoelektrinių keitiklių žadinimo eiliškumas parenkamas taip, kad sutaptų su lenkimo deformacijų modų virpesių fazėmis ir kryptimis.

[0015] BRĖŽINIŲ APRAŠYMAS

[0016] Brėžinių paveikslai yra pateikti kaip nuoroda į galimą išradimo įgyvendinimą ir neturi riboti išradimo apimties. Nei vienas iš pateiktų brėžinių ir grafikų neturėtų būti laikomi ribojančiais, o tik kaip galimi išradimo įgyvendinimo pavyzdžiai.

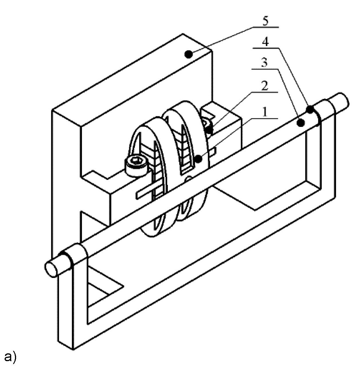
[0017] Pav. 1 a, b Pjezoelektrinės sukamojo – slenkamojo judesio pavaros principinė schema:

[0018] – izometrinis pjezoelektrinės sukamojo – slenkamojo judesio pavaros, vaizdas su strypu;

[0019] – izometrinis pjezoelektrinės sukamojo – slenkamojo judesio pavaros, vaizdas su plokščiu slankikliu;

[0020] (c) – išskleistinis pjezoelektrines sukamojo – slenkamojo judesio pavaros, vaizdas su strypu;

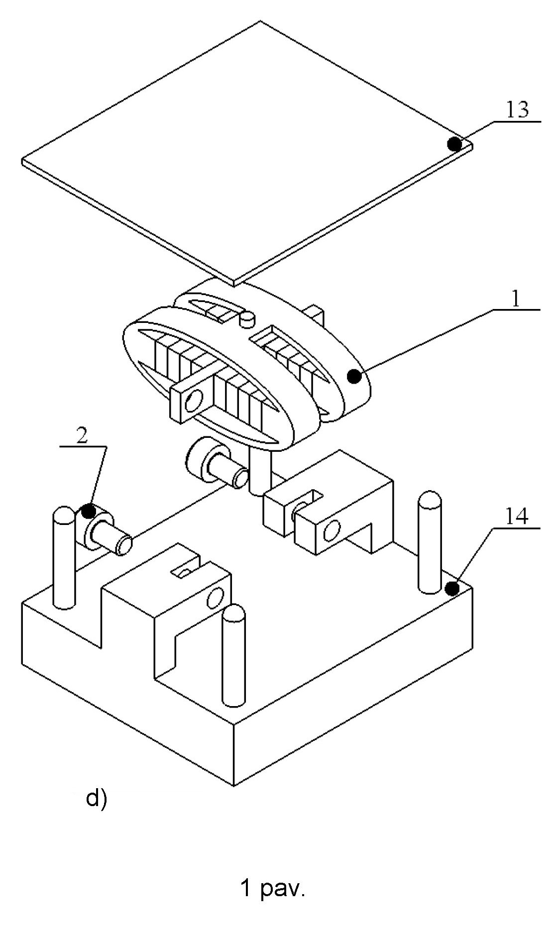
[0021] (d) – išskleistinis pjezoelektrines sukamojo – slenkamojo judesio pavaros, vaizdas su plokščiu slankikliu.

[0022] Pav. 2 a, b Pjezoelektrinio elipses formos vykdiklio principinė schema:

[0023] (a) – izometrinis pjezoelektrinio elipses formos vykdiklio, vaizdas;

[0024] (b) – išskleistinis pjezoelektrinio elipses formos vykdiklio vaizdas;

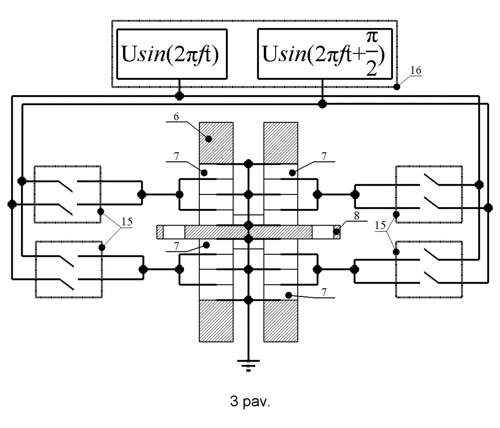
[0025] Pav. 3 Pjezoelektrines sukamojo – slenkamojo judesio pavaros žadinimo schema;

[0026] Pav. 4 Pjezoelektrinio elipses formos vykdiklio lenkimo virpesių modos, naudojamos varomosios grandies judesiams gauti;

[0027] (a) – skersinė lenkimo moda, naudojama sukamajam strypo formos varomosios grandies judesiui gauti;

[0028] (b) – išilginė lenkimo moda, naudojama slenkamajam varomosios grandies judesiui gauti;

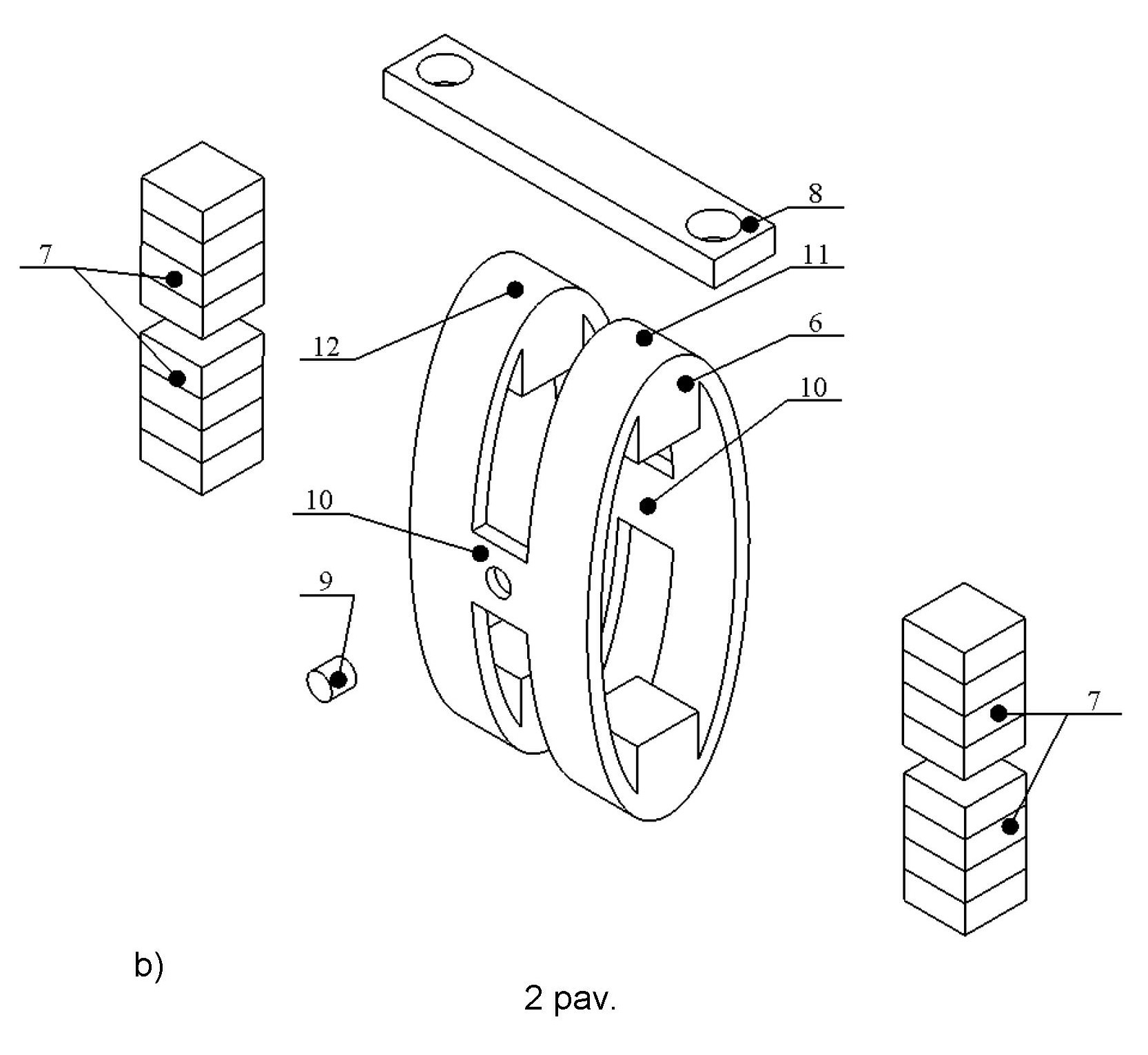
[0029] BRĖŽINIAI – pažymėtų objektų aprašymas

[0030] 1 – pjezoelektrinis elipsės formos vykdiklis;

[0031] 2 – pjezoelektrinio vykdiklio tvirtinimo varžtai;

[0032] 3 – cilindro formos strypas;

[0033] 4 – įvorė;

[0034] 5 – pavaros tvirtinimo korpusas, kai varomoji grandis yra cilindro formos strypas;

[0035] 6 – dvigubos elipses formos statorius;

[0036] 7 – daugiasluoksnis pjezoelektrinis keitiklis;

[0037] 8 – pjezoelektrinio elipses formos vykdiklio tvirtinimo plokštelė;

[0038] 9 – standus frikcinis kontaktinis elementas;

[0039] 10 – tamprus tiltelis;

[0040] 11,12 – tamprūs elipsės formos virpesių keitikliai;

[0041] 13 – plokščias slankiklis;

[0042] 14 – pavaros tvirtinimo korpusas, kai varomoji grandis yra plokščias slankikis;

[0043] 15 – elektrinių žadinimo signalų komutatoriai;

[0044] 16 – dviejų kanalų elektrinių signalų generatorius.

[0045] DETALUS IŠRADIMO APRAŠYMAS

[0046] Čia ir toliau sukamojo – slenkamojo judesio pjezoelektrinė pavara aprašoma su nuorodomis į brėžinius, tačiau techninis pjezoelektrinės pavaros įgyvendinimas nėra ribojamas pateiktu būdu. Galimos įvairios įgyvendinimo būdo modifikacijos ir tobulinimai.

[0047] Detalus pavaros aprašymas. Pjezoelektrinę sukamojo – slenkamojo judesio pavarą sudaro pjezoelektrinis elipsės formos vykdiklis (1) ir prie jo paspyruokliuotai prispausta pavaros varomoji grandis, kuri gali būti realizuota kaip cilindro formos strypas (3) arba plokščias slankiklis (13). Pjezoelektrinis elipsės formos vykdiklis (1) sudarytas iš statoriaus (6), kurį sudaro du vienodi tamprūs elipsės formos virpesių keitikliai (11, 12), sujungti tarpusavyje dviem tampriais tilteliais (10), ir keturių daugiasluoksnių pjezoelektrinių keitiklių (7), išdėstytų po du kiekviename virpesių keitiklyje (11, 12) elipsės ilgosios ašies kryptimi ir vienu galu standžiai įtvirtintų statoriuje (6), o kitu galu tampriai pritvirtinti prie tvirtinimo plokštelės (8), kuri taip pat naudojama pjezoelektrinio vykdiklio (1) tvirtinimui pavaros tvirtinimo korpuse (5, 14). Pjezoelektrinio vykdiklio (1) tampraus tiltelio (10) centre arba šalia jo tvirtinamas standus frikcinis kontaktinis elementas (9), prie kurio slystamai prispaudžiama pavaros varomoji grandis, kuri gali būti cilindro formos strypas (3) arba plokščias slankiklis (13). Dvigubos elipsės formos statoriaus (6) dalys (10, 11, 12) sudaro vientisą konstrukciją ir gaminamos iš vientisos tamprios medžiagos, pavyzdžiui, plieno arba bronzos.

[0048] Pjezoelektrinė pavara standžiai tvirtinama korpuse (5, 14) varžtais (2). Cilindro formos strypas (3) tvirtinamas tame pačiame korpuse (5) panaudojant įvores (4), kurios užtikrina cilindro formos strypo (3) slenkamąjį ir sukamąjį judesius. Plokščias slankiklis (13) padedamas ant keturių korpuse esančių atramų.

[0049] Pjezoelektrinės pavaros veikimo aprašymas. Cilindro formos strypo (3) sukamasis judesys arba plokščio slankiklio (13) linijinis poslinkis statoriaus (6) ilgosios ašies kryptimi gaunamas kai į pjezoelektrinio vykdiklio (1) daugiasluoksnius pjezoelektrinius keitiklius (7) iš elektrinių signalų generatoriaus (16) paduodami du harmoniniai elektriniai signalai, kurių fazių skirtumas yra π/2, o dažnis f yra lygus statoriaus (6) vienos iš lyginių lenkimo modų rezonansiniam dažniui, taip kad daugiasluoksniai pjezoelektriniai keitikliai, esantys vienoje pjezoelektrinio vykdiklio tvirtinimo plokštelės (8) pusėje žadinami tos pačios fazės harmoniniu elektriniu signalu, ko pasėkoje abejuose elipsės formos virpesių keitikliuose (11, 12) išilgine kryptimi suformuojami bėgančios bangos virpesiai, o didelio standumo kontaktinis elementas (9) pradeda judėti elipsine trajektorija ir kontaktuoja su paspyruokliuotai prispaustu cilindro formos strypu (3) arba plokščiu slankikliu (13) ir dėl trinties jėgos tarp varomosios grandies paviršiaus ir kontaktinio elemento (9) gaunamas cilindro formos strypo (3) sukamasis arba plokščio slankiklio (13) slenkamasis judesys.

[0050] Cilindro formos strypo (3) slenkamasis judesys arba plokščio slankiklio linijinis poslinkis elipsės ilgosios ašies statmena kryptimi gaunamas kai daugiasluoksniai pjezoelektriniai keitikliai (7) žadinami taip, kad tos pačios fazės harmoninis signalas būtų paduodamas į du daugiasluoksnius pjezoelektrinius keitiklius, esančius tame pačiame virpesių keitiklyje (11, 12), ko pasėkoje suformuojami bėgančios bangos virpesiai tampriame tiltelyje (10) ir standus frikcinis kontaktinis elementas (9) pradeda judėti elipsine trajektorija, kurios ilgosios ašies kryptis sutampa cilindro formos strypo (3) išilgine ašimi. Reversinis cilindro formos strypo (3) arba plokščio slankiklio (13) judesys abejomis kryptimis gaunamas sukeitus elektrinių signalų fazes vietomis. Siekiant gauti cilindro formos strypo (3) arba plokščio slankiklio (13) žingsninį sukamąjį arba slenkamąjį judesius, daugiasluoksniai pjezoelektriniai keitikliai (7) žadinami dviem nesimetriniais impulsiniais elektriniais signalais, kurių dažnis artimas bėgančios bangos rezonansiniam dažniui, o fazių skirtumas yra π/2.

Apibrėžtis

1. Pjezoelektrinė sukamojo – slenkamojo judesio pavara, apimanti pjezoelektrinį elipsės formos vykdiklį (1), sudarytą iš dvigubos elipsės formos statoriaus (6) daugiasluoksnių pjezoelektrinių keitiklių (7) ir standaus frikcinio kontakto elemento (9) besiskirianti tuo, kad statoriaus (6) du elipsės formos virpesių keitikliai (11, 12) tarpusavyje sujungiami dviem tampriais tilteliais (10), o ant vieno iš tamprių tiltelių (10) išorinio paviršiaus patalpinamas standus frikcinis kontaktinis elementas (9).

2. Pavara pagal 1 punktą, besiskirianti tuo, kad tamprių tiltelių (10) vieta parenkama taip, kad tiltelio simetrijos ašis, kirstų abiejų elipsės formos virpesių keitiklių (11, 12) trumpąsias ašis, o tiltelių lyginės lenkimo virpesių modos rezonansinis dažnis sutaptų su vienu iš elipsės formos virpesių keitiklių (11, 12) lenkimo virpesių rezonansiniu dažniu.

3. Pavara pagal 1 punktą, besiskirianti tuo, kad ant pjezoelektrinio vykdiklio (1) tampraus tiltelio (10) išorinio paviršiaus patalpinamas standus frikcinis kontaktinis elementas (9), prie kurio slystamai prispaudžiama cilindro formos strypas (3) arba plokščias slankiklis (13), o elipsinės kontaktinio elemento judėjimo trajektorijos gaunamos žadinant daugiasluoksnius pjezoelektrinius keitiklius (7) dviem elektriniais signalais, kurių fazių skirtumas lygus π/2.

Brėžiniai