LT6982B

ALIUMINIO VARTŲ RĖMO SEGMENTŲ SUJUNGIMO JUNGTIS IR ALIUMINIO VARTAI

ALUMINUM GATE FRAME SEGMENT CONNECTOR AND ALUMINUM GATE FRAME

Referatas

[LT] Aliuminio vartų rėmo segmentų sujungimo jungtis, apimanti pirmą sienelę, skirtą tvirtinti prie vieno vartų rėmo segmento, ir antrą sienelę, skirtą tvirtinti prie kito vartų rėmo segmento varžtinėmis sujungimo priemonėmis. Rėmo segmentų sujungimo jungtis yra L formos jungtis, apimanti pirmą įkišamą segmentą ir įkišamą antrą segmentą, kur abu minėti segmentai sudaro vientisą korpusą, kur pirmas segmentas apima išorinę sienelę, vidinę sienelę, pirmo laisvo galo sienelę ir jungiamąjį korį tarp išorinės sienelės ir vidinės sienelės, antras segmentas apima išorinę sienelę, vidinę sienelę, antro laisvo galo sienelę ir korį tarp išorinės sienelės ir vidinės sienelės. L formos jungtis gali būti naudojama aliuminio, ar kito metalo vamzdžių vartų rėmuose.

[EN] An aluminium gate frame segment joining joint comprising a first wall for attachment to one gate frame segment and a second wall for attachment to another gate frame segment by means of bolted connections. The joining joint of the frame segments is an L-shaped joint comprising a first insertable segment and a second insertable segment, wherein both said segments form an integral body, wherein the first segment includes an outer wall, an inner wall, a first free end wall, and a connecting honeycomb between the outer wall and the inner wall, the second segment includes an outer wall, an inner wall, a second free end wall, and a honeycomb between the outer wall and the inner wall. The L-shaped joint can be used in aluminium or other metal pipe gate frames.

Aprašymas

[0001] TECHNIKOS SRITIS

[0002] Išradimas yra susijęs su aliuminio vartų rėmų konstrukcijomis, o tiksliau su aliuminio vartų rėmų segmentų sujungimo jungtimis, leidžiančiomis sujungti konstrukciją be virinimo ir taip sujungtais aliuminio vartais.

[0003] TECHNIKOS LYGIS

[0004] Šiuo metu naudojama daugybė apsauginių vartų konfigūracijų, leidžiančių transporto priemonėms ir (arba) pėstiesiems patekti į komercinę / pramoninę ar kitą teritoriją, apsaugotą perimetru ar kita tvora. Viena konfigūracija yra gembiniai stumdomi vartai, kuriuose viena vartų dalis yra paremta virš žemės tarp dviejų atraminių stulpų mazgų, o kita vartų dalis tęsiasi per apsauginės tvoros atraminę dalį, kai vartai yra uždaryti. Kita konfigūracija yra varstomi vartai.

[0005] Įprastai apsauginių vartų konstrukcijos apima rėminę konstrukciją, kuri yra gaminama iš suvirinimo būdu tinkamų sujungti metalinių elementų. Suvirinimas yra atliekamas surinkimo vietoje arba gamykloje.

[0006] JAV patente Nr. US4628638A yra aprašyta vartų sistema, apimanti rėmą, turintį viršutinį rėmo segmentą, apatinį rėmo segmentą, šoninius rėmo segmentus ir tarpinius rėmo segmentus. Pagrindinis trūkumas yra tai, kad visi vartų rėmo segmentai tarpusavyje yra sujungti suvirinant.

[0007] Virinamos vartų rėmų konstrukcijos reikalauja gerų suvirinimo įgūdžių tam, kad konstrukcijos elementai būtų sujungti tiksliai, suvirinimo siūlės būtų tvirtos, suvirinimo vietos nepradėtų rūdyti ar neatsirastų kitų pažeidimų. Taip pat, suvirinta konstrukcija negali būti išrinkta nepjaustant rėmo bent jau suvirinimo siūlių vietose.

[0008] JAV patente Nr. US6648304B yra atskleidžiami modulinės tvoros surinkimo, be virinimo, elementai. Tvoros kraštiniai segmentai yra sujungiami su tvoros skersiniais segmentais naudojant prie tvoros kraštinių segmentų tvirtinamas C formos jungti. C formos tvirtinimo jungtis apima pirmą vieno sluoksnio sienelę, varžtais tvirtinamą prie kraštinių segmentų išorinio paviršiaus, ir dvi šonines sieneles, kurios yra užlenktos nuo pirmos sienelės taip, kad būtų statmenos jai ir lygiagrečios viena kitai. Skersiniai segmentai yra įstatomi į tarpą tarp dviejų šoninių sienelių ir prisukami varžtais, perveriant šonines jungties sieneles ir skersinį segmentą. Pagrindinis tokių tvirtinimo elementų trūkumas yra tai, kad tokios jungtys yra tinkamos tik išoriniam tvoros segmentų sujungimui, jungtys nėra tinkamos tiksliam segmentų sujungimui, galimi nukrypimai sujungimo metu. Kitas tokių jungčių trūkumas yra išorėje montuojamos sujungimo jungtys yra neapsaugotos nuo aplinkos poveikio, dėl ko gali prarasti tinkamas estetines ar mechanines savybes.

[0009] Išradimas neturi aukščiau išvardintų trūkumų ir apima papildomus privalumus.

[0010] IŠRADIMO ESMĖ

[0011] Atskleidžiama aliuminio vartų rėmo segmentų sujungimo L formos įkišama jungtis. L formos jungtis apima pirmą įkišamą segmentą ir antrą įkišamą segmentą, kur abu minėti segmentai sudaro vientisą korpusą. Pirmas segmentas apima išorinę sienelę, vidinę sienelę, pirmo laisvo galo sienelę ir jungiamąjį korį tarp išorinės sienelės ir vidinės sienelės. Antras segmentas apima išorinę sienelę, vidinę sienelę, antro laisvo galo sienelę ir korį tarp išorinės sienelės ir vidinės sienelės. Pageidautinai, L formos jungtis yra pagaminta iš aliuminio, ekstruzijos būdu.

[0012] Vienu atveju, aliuminio vartų rėmo segmentų sujungimo L formos jungties pirmo segmento išorinė sienelė gali apimti vieno lygmens paviršių, kur visas toks paviršius yra lygus, visame išorinės sienelės išorinio paviršiaus plote ir visas toks paviršius gali būti kontaktinis paviršius, sąlyčiui su jungiamojo vamzdžio vidiniu paviršiumi arba jo dalimi. Jungties antro segmento išorinė sienelė gali apimti vieno lygmens paviršių, kur visas toks paviršius yra lygus, visame išorinės sienelės išorinio paviršiaus plote ir visas toks paviršius gali būti kontaktinis paviršius, sąlyčiui su jungiamojo vamzdžio vidiniu paviršiumi arba jo dalimi.

[0013] Kitu atveju, aliuminio vartų rėmo segmentų sujungimo L formos jungties išorinė sienelė apima paviršius bent dviejuose lygmenyse, kur viename lygmenyje esantys paviršiai yra iškilę aukščiau negu kitame lygmenyje esantys paviršiai, o minėti iškilę paviršiai yra kontaktiniai paviršiai, skirti sąlyčiui su jungiamojo vamzdžio vidiniu paviršiumi arba jo dalimi. Jungties antro segmento išorinė sienelė apima paviršius bent dviejuose lygmenyse, kur viename lygmenyje esantys paviršiai yra iškilę aukščiau negu antrame lygmenyje esantis bent vienas paviršiai, o minėti iškilę paviršiai yra kontaktiniai paviršiai, skirti sąlyčiui su jungiamojo vamzdžio vidiniu paviršiumi arba jo dalimi.

[0014] Vienu atveju, aliuminio vartų rėmo segmentų sujungimo L formos jungties pirmo segmento vidinė sienelė apima vieno lygmens paviršių, kur visas toks paviršius yra lygus, visame vidinės sienelės išorinio paviršiaus plote ir visas toks paviršius gali būti kontaktinis paviršius, sąlyčiui su jungiamojo vamzdžio vidiniu paviršiumi arba jo dalimi. Antro segmento vidinė sienelė apima vieno lygmens paviršių, kur visas toks paviršius yra lygus, visame vidinės sienelės išorinio paviršiaus plote ir visas toks paviršius gali būti kontaktinis paviršius, sąlyčiui su jungiamojo vamzdžio vidiniu paviršiumi arba jo dalimi.

[0015] Kitu atveju, aliuminio vartų rėmo segmentų sujungimo L formos jungties pirmo segmento vidinė sienelė apima bent dviejų lygmenų paviršius, kur viename lygmenyje esantys paviršiai yra iškilę aukščiau negu antrame lygmenyje esantys paviršiai, o minėti iškilę paviršiai yra kontaktiniai paviršiai, skirti sąlyčiui su jungiamojo vamzdžio vidiniu paviršiumi arba jo dalimi. Antro segmento vidinė sienelė apima bent dviejų lygmenų paviršius, kur viename lygmenyje esantys paviršiai yra iškilę aukščiau negu antrame lygmenyje esantys paviršiai, o minėti iškilę paviršiai yra kontaktiniai paviršiai, skirti sąlyčiui su jungiamojo vamzdžio vidiniu paviršiumi arba jo dalimi.

[0016] Visais išradimo įgyvendinimo atvejais, aliuminio vartų rėmo segmentų sujungimo L formos jungties pirmo segmento išorinė sienelė apima bent vieną pastorintą sienelės dalį ir vidinė sienelė apima bent vieną pastorintą sienelės dalį, skirtas tvirtinimo elementų sąveikai su L formos jungtimi, per pastorintose dalyse suformuotas tvirtinimo elementų įvesties ertmes. Antro segmento išorinė sienelė apima bent vieną pastorintą sienelės dalį ir vidinė sienelė apima bent vieną pastorintą sienelės dalį, skirtas tvirtinimo elementų sąveikai su L formos jungtimi, per pastorintose dalyse suformuotas tvirtinimo elementų įvesties ertmes.

[0017] Visais išradimo įgyvendinimo atvejais, aliuminio vartų rėmo segmentų sujungimo L formos jungties pirmas segmentas apima išorinės sienelės ir vidinės sienelės jungiamąjį korį, sudarytą iš daugybės jungiamųjų pertvarų, tarp išorinės sienelės ir vidinės sienelės suformuojančių tuščiavidures ertmes. Antras segmentas apima išorinės sienelės ir vidinės sienelės jungiamąjį korį, sudarytą iš daugybės jungiamųjų pertvarų, tarp išorinės sienelės ir vidinės sienelės suformuojančių tuščiavidures ertmes.

[0018] Išradimas tai pat apima L formos jungties pagrindu sujungtas aliuminio rėmo konstrukcijas, skirtas aliuminio vartų gamybai.

[0019] Vienu atveju, aliuminio vartų rėmas yra gembinių vartų rėmas ir apima daugybę vartų rėmo segmentų sujungimo L formos jungčių. Rėmas taip pat apima viršutinį segmentą, apatinį segmentą, apatinį ir viršutinį segmentus jungiančius pirmus jungiamuosius segmentus, apatinį ir viršutinį segmentus jungiančius antrus jungiamuosius segmentus, rėmo įtempimo reguliavimo segmentą. Viršutinis vartų segmentas apima pirmą ertmę, apribotą iš keturių pusių, ir antrą ertmę, apribotą iš trijų pusių, kur viršutinis segmentas tęsiasi iš esmės per visą rėmo ilgį, vientisai, ir apima išilgai per visą viršutinio segmento ilgį besitęsiančią ertmę, skirtą L formos jungties vieno galo įstatymui, užpildant ertmę be iš esmės tarpų, per L formos jungties vieno iš dviejų segmentų ilgį arba kada ertmė yra kitos formos, negu iš esmės atitinkanti L formos jungties vieno iš dviejų segmentų formą, L formos jungties vieno iš dviejų segmentų bent šoninės briaunos liečiasi su viršutinio segmento vidiniais paviršiais, apribojančiais ertmę. Viršutinis vartų segmentas taip pat apima atsikišimą, skirtą vartų rėmo prilaikomajam nukreipimo elementui judėti jame, kur atsikišimas apima pirmą sienelę, kuri tęsiasi nenutrūkstamai nuo viršutinio segmento, ir antrą sienelę, kuri tęsiasi nenutrūkstamai nuo pirmos sienelės, kur pirma sienelė ir antra sienelė apriboja erdvę, kurioje juda prilaikomasis nukreipimo elementas atsiremdamas į antrą sienelę arba į pirmą sienelę arba į abi vienu metu, kur viršutinis segmentas yra vientisas.

[0020] Apatinis vartų segmentas apima pirmą ertmę, apribotą iš keturių pusių, antrą ertmę, apribotą iš keturių pusių ir vienoje sienoje turinčią tarpą, trečią ertmę, apribotą iš keturių pusių ir vienoje sienoje turinčią tarpą, kur apatinis segmentas tęsiasi iš esmės per visą rėmo ilgį, vientisai, ir apima išilgai per visą apatinio segmento ilgį besitęsiančią ertmę, skirtą L formos jungties vieno galo įstatymui, užpildant ertmę be iš esmės tarpų, per L formos jungties vieno iš dviejų segmentų ilgį, arba, kada ertmė yra kitos formos, negu iš esmės atitinkanti L formos jungties vieno iš dviejų segmentų formą, L formos jungties vieno iš dviejų segmentų bent šoninės briaunos liečiasi su apatinio segmento vidiniais paviršiais, apribojančiais ertmę, kur antra ertmė yra išdėstyta išilgai apatinio segmento, per visą apatinio segmento ilgį. Apatinis vartų segmentas taip pat apima antrą ertmę, skirtą vartų rėmo prilaikomosioms nukreipimo priemonėms judėti, vartams judant tarp dviejų išilginių pozicijų, pavyzdžiui uždarų ir atidarytų vartų pozicijų, kur antros ertmės tarpas yra skirtas prilaikomųjų nukreipimo priemonių laikiklių judėjimui išilgai gembinio vartų rėmo apatinio segmento sienelės, vartams judant tarp dviejų išilginių pozicijų, pavyzdžiui uždarų ir atidarytų vartų pozicijų. Apatinis vartų segmentas taip pat apima trečią ertmę, skirtą gembinių vartų rėmo krumpliastiebio įstatymui, kur krumpliastiebis yra įmaunamas į trečią ertmę ir užfiksuojamas joje sąveikai su krumplinės pavaros krumpliaračiu, kur trečios ertmės tarpas yra skirtas krumplinės pavaros krumpliaračio judėjimui jame, kur vartų rėmo apatinis segmentas yra vientisas.

[0021] Kitu atveju, aliuminio vartų rėmas yra varstomų vartų rėmas, apimantis vartų rėmo segmentų sujungimo L formos jungtis, viršutinį segmentą, apatinį segmentą, du šoninius segmentus ir du šoninius segmentus sujungiantį centrinį segmentą. L formos jungtis yra įstatyta viršutinio segmento sujungimo kampuose su vienu šono segmentu ir kitu šono segmentu. L formos jungtis taip pat yra įstatyta apatinio segmento sujungimo kampuose su vienu šono segmentu ir kitu šono segmentu.

[0022] TRUMPAS BRĖŽINIŲ APRAŠYMAS

[0023] Išradimo, kuris yra naujas ir neakivaizdus ypatybės yra pateikiamos apibrėžties punktuose. Tačiau išradimas gali būti geriausiai suprantamas remiantis šiuo išsamiu išradimo aprašymu, kuriame, neribojant išradimo esmės, aprašomi pavyzdiniai išradimo variantai yra pateikti kartu su pridedamais brėžiniais, kuriuose:

[0024] 1 pav. yra pavaizduotas L formos jungties įgyvendinimo pavyzdys.

[0025] 2 pav. yra pavaizduotas L formos jungties pozicionavimas sumovus į vartų rėmo segmentų galus.

[0026] 3 pav. yra pavaizduotas vartų rėmas su L formos jungtimis.

[0027] 4 pav. yra pavaizduotas vartų rėmo su L formos jungtimis viršutinio segmento skerspjūvis.

[0028] 5 pav. yra pavaizduotas vartų rėmo su L formos jungtimis apatinio segmento skerspjūvis.

[0029] 6 pav. yra pavaizduotas vartų rėmo su L formos jungtimis krumpliastiebio pozicionavimas apatiniame rėmo segmente.

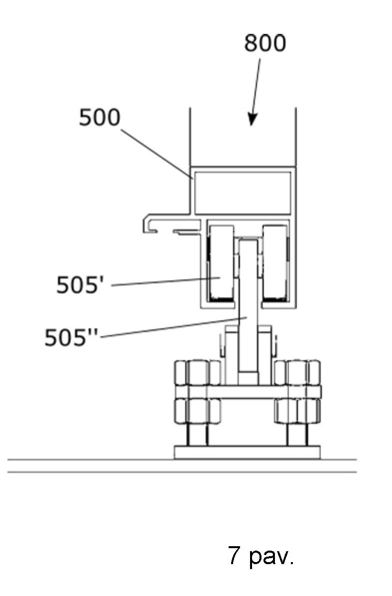
[0030] 7 pav. yra pavaizduotas vartų rėmo su L formos jungtimis apatinio segmento mazgas su prilaikomąją vartų nukreipimo priemone.

[0031] 8 pav. yra pavaizduotas vartų rėmo su L formos jungtimis viršutinio segmento mazgas su prilaikomąją vartų nukreipimo priemone.

[0032] 9 pav. yra pavaizduotas vartų rėmo su L formos jungtimis apatinio segmento galo sujungimo su kraštiniu segmentu ir antruoju jungiamuoju segmentu mazgas.

[0033] 10 pav. yra pavaizduotas vartų rėmo su L formos jungtimis viršutinio segmento galo sujungimo su kraštiniu segmentu ir įtempimo segmentu mazgas.

[0034] 11 pav. yra pavaizduotas vartų rėmo su L formos jungtimis antrojo jungiamojo segmento galo tvirtinimo prie vartų rėmo elementas.

[0035] 12 pav. yra pavaizduotas kitos konfigūracijos vartų rėmas su L formos jungtimis.

[0036] 13 pav. yra pavaizduotas L formos jungties pozicionavimas kitos konfigūracijos vartų rėme.

[0037] Tinkamiausi išradimo variantai yra aprašyti žemiau su nuorodomis į brėžinius. Kiekviename paveikslėlyje yra pateikiama ta pati to paties ar lygiaverčio elemento numeracija.

[0038] IŠSAMUS IŠRADIMO ĮGYVENDINIMO APRAŠYMAS

[0039] Turėtų būti suprantama, kad daugybė konkrečių detalių yra išdėstytos, siekiant pateikti pilną ir suprantamą išradimo pavyzdinio įgyvendinimo aprašymą. Tačiau srities specialistui bus aišku, kad išradimo įgyvendinimo pavyzdžių detalumas neapriboja išradimo įgyvendinimo, kuris gali būti įgyvendintas ir be tokių konkrečių nurodymų. Gerai žinomi būdai, procedūros ir sudedamosios dalys nebuvo detaliai aprašyti, kad išradimo įgyvendinimo pavyzdžiai nebūtų klaidinantys. Be to, šis aprašymas neturi būti laikomas apribojančiu pateiktus įgyvendinimo pavyzdžius, o tik kaip jų įgyvendinimas.

[0040] Nors išradimo įgyvendinimo pavyzdžiai, ar jų aspektai, taip kaip parodyti ir aprašyti, apima daugybę komponentų, kurie yra pavaizduoti esantys tam tikroje bendroje erdvėje ar vietoje, kai kurie komponentai gali būti ir nutolę. Taip pat turėtų būti suprantama, kad pateikti pavyzdžiai neapsiriboja tik aprašytais komponentais ir apima ir kitus, jų funkcionavimui ir sąveikai su kitais komponentais, reikalingus elementus, kurių buvimas yra savaime suprantamas, todėl nedetalizuojamas.

[0041] Pagal vieną išradimo įgyvendinimo pavyzdį, L formos jungtis (100), skirta sujungti vamzdžius, tokius kaip aliuminio vamzdžius ar panašių mechaninių savybių vamzdžius, be suvirinimo, apima pirmą įkišamą segmentą (101) ir antrą įkišamą segmentą (102). Abu segmentai (101, 102) yra įkišami į vidines sujungiamų varto rėmo segmentų ertmes. Abu minėti segmentai (101, 102) sudaro vientisą korpusą. Pirmas segmentas (101) apima išorinę sienelę (103), vidinę sienelę (105), pirmo laisvo galo sienelę (107) ir jungiamąjį korį (112) tarp išorinės sienelės (103) ir vidinės sienelės (105). Antras segmentas (102) apima išorinę sienelę (104), vidinę sienelę (106), antro laisvo galo sienelę (108) ir korį (118) tarp išorinės sienelės (104) ir vidinės sienelės (106). Pirmas segmentas (101) ir antras segmentas (102) apima minėtų segmentų (101, 102) sandūros plokštumą (P1). L formos jungtis (100) pageidautinai yra pagaminta iš aliuminio, tačiau gali būti pagaminta iš bet kokios kitos, panašias mechanines savybes turinčios medžiagos.

[0042] Pirmo segmento (101) išorinė sienelė (103) apima vieno lygmens paviršių arba bent dviejų lygmenų paviršius (109', 109'', 109''', 110', 110''). Pirmo segmento (101) išorinei sienelei (103) apimant vieno lygmens paviršių, visas toks paviršius yra lygus, visame išorinės sienelės (103) išorinio paviršiaus plote ir visas toks paviršius gali būti kontaktinis paviršius, sąlyčiui su vartų rėmo segmento vidiniu paviršiumi arba jo dalimi. Pirmo segmento (101) išorinei sienelei (103) apimant bent dviejų lygmenų paviršius (109', 109'', 109''', 110', 110''), viename lygmenyje esantys paviršiai (109', 109'', 109''') yra iškilę aukščiau negu antrame lygmenyje esantys paviršiai (110', 110''), o minėti iškilę paviršiai (109', 109'', 109''') yra kontaktiniai paviršiai, skirti sąlyčiui su vartų rėmo segmento vidiniu paviršiumi arba jo dalimi.

[0043] Išradimo atveju su iškilusiais paviršiais (109', 109'', 109'''), L formos jungčiai (100) pagaminti yra naudojama mažiau medžiagos ir yra palengvinamas jungties (100) įstatymas į vartų rėmo segmentą, negu jungties su lygiu paviršiumi atveju. Pageidautina, kad iškilę paviršiai (109', 109''') būtų suformuoti bent ties laisvuoju pirmo segmento galu ir ties galu prie minėtų segmentų (101, 102) sandūros plokštumos (P1). Papildomas iškilus paviršius (109'') gali būti suformuotas pirmo segmento (100) pirmos išorinės sienelės (103) išorinio paviršiaus centrinėje dalyje.

[0044] Pirmo segmento (101) vidinė sienelė (105) apima vieno lygmens paviršių arba bent dviejų lygmenų paviršius, analogiškai pirmo segmento (101) išorinei sienelei (103). Pirmo segmento (101) vidinei sienelei (105) apimant vieno lygmens paviršių, visas toks paviršius yra lygus, visame vidinės sienelės (105) išorinio paviršiaus plote ir visas toks paviršius gali būti kontaktinis paviršius, sąlyčiui su vartų rėmo segmento vidiniu paviršiumi arba jo dalimi. Pirmo segmento (101) vidinei sienelei (105) apimant bent dviejų lygmenų paviršius, viename lygmenyje esantys paviršiai yra iškilę aukščiau negu antrame lygmenyje esantys paviršiai, o minėti iškilę paviršiai yra kontaktiniai paviršiai, skirti sąlyčiui su vartų rėmo segmento vidiniu paviršiumi arba jo dalimi.

[0045] Išradimo atveju su iškilusiais paviršiais, L formos jungčiai (100) pagaminti yra naudojama mažiau medžiagos ir yra palengvinamas jungties (100) įstatymas į vartų rėmo segmentą, negu jungties su lygiu paviršiumi atveju. Pageidautina, kad iškilę paviršiai būtų suformuoti bent ties laisvuoju pirmo segmento (101) galu ir ties galu prie minėtų segmentų (101, 102) sandūros plokštumos (P1). Papildomas iškilus paviršius gali būti suformuotas pirmo segmento (101) vidinės sienelės (105) išorinio paviršiaus centrinėje dalyje.

[0046] Pirmo segmento (101) išorinė sienelė (103) apima bent vieną pastorintą sienelės (103) dalį (brėžinyje neparodyta) ir/arba vidinė sienelė (105) apima bent vieną pastorintą sienelės (105) dalį (111', 111''). Pastorintos dalys yra skirtos tvirtinimo elementų, tokių kaip varžtai, sąveikos su L formos jungtimi (100), per pastorintose dalyse suformuotas tvirtinimo elementų įvesties ertmes (brėžinyje neparodyta), sričiai sutvirtinti.

[0047] Pirmas segmentas (101) apima išorinės sienelės (103) ir vidinės sienelės (105) jungiamąjį korį (112), sudarytą iš daugybės jungiamųjų pertvarų (113), tarp išorinės sienelės (103) ir vidinės sienelės (105) suformuojančių trikampio formos, arba bet kokios kitokios formos, tuščiavidures ertmes. Tokiu būdu L formos jungties (100) gamyboje yra sunaudojama mažiau medžiagos, o jungti yra lengvesnė, negu būtų pilnai užpildytos monolitinės jungties atveju. Daugybė jungiamųjų pertvarų (113) sutvirtina pirmą segmentą (101), padaro atsparesniu deformacijoms.

[0048] Antro segmento (102) išorinė sienelė (104) apima vieno lygmens paviršių arba bent dviejų lygmenų paviršius (114', 114'', 114''', 115). Antro segmento (102) išorinei sienelei (104) apimant vieno lygmens paviršių, visas toks paviršius yra lygus, visame išorinės sienelės (104) išorinio paviršiaus plote ir visas toks paviršius gali būti kontaktinis paviršius, sąlyčiui su vartų rėmo segmento vidiniu paviršiumi arba jo dalimi. Antro segmento (102) išorinei sienelei (104) apimant bent dviejų lygmenų paviršius (114', 114'', 114''', 115), viename lygmenyje esantys paviršiai (114', 114'', 114''') yra iškilę aukščiau negu antrame lygmenyje esantis bent vienas paviršius (115), o minėti iškilę paviršiai (114', 114 '', 114''') yra kontaktiniai paviršiai, skirti sąlyčiui su vartų rėmo segmento vidiniu paviršiumi arba jo dalimi.

[0049] Išradimo atveju su iškilusiais paviršiais (114', 114'', 114'''), L formos jungčiai (100) pagaminti yra naudojama mažiau medžiagos ir yra palengvinamas jungties (100) įstatymas į vartų rėmo segmentą, negu jungties su lygiu paviršiumi atveju. Pageidautina, kad iškilę paviršiai (114', 114'', 114''') būtų suformuoti bent ties laisvuoju pirmo segmento galu ir ties galu prie minėtų segmentų (101, 102) sandūros plokštumos (P1). Minėti iškilūs paviršiai (114', 114'', 114''') sudaro išorinės sienelės (104) pastorintas dalis. Šiose dalyse yra suformuojamos ertmės (116), skirtos tvirtinimo elementų, tokių kaip varžtai, sąveikos su L formos jungtimi (100), per pastorintose dalyse suformuotas tvirtinimo elementų įvesties ertmes (116), sričiai sutvirtinti.

[0050] Antro segmento (102) vidinė sienelė (106) apima vieno lygmens paviršių arba bent dviejų lygmenų paviršius, analogiškai antro segmento (102) išorinei sienelei (104). Antro segmento (102) vidinei sienelei (106) apimant vieno lygmens paviršių, visas toks paviršius yra lygus, visame vidinės sienelės (106) išorinio paviršiaus plote ir visas toks paviršius gali būti kontaktinis paviršius, sąlyčiui su vartų rėmo segmento vidiniu paviršiumi arba jo dalimi. Antro segmento (102) vidinei sienelei (106) apimant bent dviejų lygmenų paviršius, viename lygmenyje esantys paviršiai yra iškilę aukščiau negu antrame lygmenyje esantys paviršiai, o minėti iškilę paviršiai yra kontaktiniai paviršiai, skirti sąlyčiui su vartų rėmo segmento vidiniu paviršiumi arba jo dalimi.

[0051] Išradimo atveju su iškilusiais paviršiais, L formos jungčiai (100) pagaminti yra naudojama mažiau medžiagos ir yra palengvinamas jungties (100) įstatymas į vartų rėmo segmentą, negu jungties su lygiu paviršiumi atveju. Pageidautina, kad iškilę paviršiai būtų suformuoti bent ties laisvuoju pirmo segmento (101) galu ir ties galu prie minėtų segmentų (101, 102) sandūros plokštumos (P1). Antro segmento (102) vidinė sienelė (106) apima bent vieną pastorintą sienelės (106) dalį (117', 117''). Pastorintos dalys yra skirtos tvirtinimo elementų, tokių kaip varžtai, sąveikos su L formos jungtimi (100), per pastorintose dalyse suformuotas tvirtinimo elementų įvesties ertmes (brėžinyje neparodyta), sričiai sutvirtinti.

[0052] Antras segmentas (102) apima išorinės sienelės (104) ir vidinės sienelės (106) jungiamąjį korį (118), sudarytą iš daugybės jungiamųjų pertvarų (119), tarp išorinės sienelės (104) ir vidinės sienelės (106) suformuojančių trikampio formos, arba bet kokios kitokios formos, tuščiavidures ertmes. Tokiu būdu L formos jungties (100) yra sunaudojama mažiau medžiagos, o jungti yra lengvesnė, negu būtų pilnai užpildytos monolitinės jungties atveju. Daugybė jungiamųjų pertvarų (119) sutvirtina antrą segmentą (102), padaro atsparesniu deformacijoms.

[0053] L formos jungtis (100) gali būti naudojama aliuminio, ar kito metalo vamzdžių vartų rėmuose (300).

[0054] Vienu atveju, L formos jungtis yra gembinių, pageidaujamai iš aliuminio, vartų tipo vartų rėmo segmentų jungiamasis elementas. Gembinių vartų rėmas (300) apima viršutinį segmentą (400), apatinį segmentą (500), apatinį ir viršutinį segmentus (400, 500) jungiančius pirmus jungiamuosius segmentus (600', 600'', 600'''), apatinį ir viršutinį segmentus (400, 500) jungiančius antrus jungiamuosius segmentus (700', 700''), rėmo įtempimo reguliavimo segmentą (800).

[0055] Gembinio vartų rėmo (300) viršutinis segmentas (400) apima pirmą ertmę (401), apribotą iš keturių pusių, ir antrą ertmę (402'''), apribotą iš trijų pusių. Viršutinis segmentas (400) tęsiasi iš esmės per visą rėmo ilgį, vientisai, ir apima išilgai per visą viršutinio segmento (400) ilgį besitęsiančią ertmę (401), skirtą L formos jungties (100) vieno segmento įstatymui, užpildant ertmę (401) be iš esmės tarpų, per L formos jungties (100) vieno iš dviejų segmentų (101, 102) ilgį. Kitu atveju, kada ertmė yra kitos formos, negu iš esmės atitinkanti L formos jungties (100) vieno iš dviejų segmentų (101, 102) formą, L formos jungties (100) vieno iš dviejų segmentų (101, 102) bent šoninės briaunos liečiasi su viršutinio segmento (400) vidiniais paviršiais, apribojančiais ertmę (401). Gembinių vartų rėmo (300) viršutinis segmentas (400) taip pat apima atsikišimą (402), skirtą gembinių vartų rėmo (300) prilaikomajam nukreipimo elementui (403), tokiam kaip ratukas, judėti jame. Atsikišimas (402) apima pirmą sienelę (402'), kuri tęsiasi nenutrūkstamai nuo viršutinio segmento (400), ir antrą sienelę (402''), kuri tęsiasi nenutrūkstamai nuo pirmos sienelės (402'). Pirma sienelė (402') antra sienelė (402'') apriboja erdvę, kurioje juda prilaikomasis nukreipimo elementas atsiremdamas į antrą sienelę (402'') arba į pirmą sienelę (402") arba į abi vienu metu. Gembinių vartų rėmo (300) viršutinis segmentas (400) yra vientisas gaminys, pagamintas pageidautinai iš aliuminio, ekstruzijos būdu.

[0056] Gembinio vartų rėmo (300) apatinis segmentas (500) apima pirmą ertmę (501), apribotą iš keturių pusių, antrą ertmę (502), apribotą iš keturių pusių ir vienoje sienoje turinčią tarpą (502'), trečią ertmę (503), apribotą iš keturių pusių ir vienoje sienoje turinčią tarpą (503'). Apatinis segmentas (500) tęsiasi iš esmės per visą rėmo ilgį, vientisai, ir apima išilgai per visą apatinio segmento (500) ilgį besitęsiančią ertmę (501), skirtą L formos jungties (100) vieno galo įstatymui, užpildant ertmę (501) be iš esmės tarpų, per L formos jungties (100) vieno iš dviejų segmentų (101, 102) ilgį. Kitu atveju, kada ertmė yra kitos formos, negu iš esmės atitinkanti L formos jungties (100) vieno iš dviejų segmentų (101, 102) formą, L formos jungties (100) vieno iš dviejų segmentų (101, 102) bent šoninės briaunos liečiasi su apatinio segmento (500) vidiniais paviršiais, apribojančiais ertmę (501). Antra ertmė (502) yra išdėstyta išilgai apatinio segmento (500), per visą apatinio segmento (500) ilgį. Antra ertmė (502) yra skirta gembinių vartų rėmo (300) prilaikomosioms nukreipimo priemonėms (505') judėti, vartams judant tarp dviejų išilginių pozicijų, pavyzdžiui uždarų ir atidarytų vartų pozicijų. Antros ertmės (502) tarpas (502') yra skirtas prilaikomųjų nukreipimo priemonių laikiklių (505'') judėjimui išilgai gembinio vartų rėmo (300) apatinio segmento (500) sienelės, vartams judant tarp dviejų išilginių pozicijų, pavyzdžiui uždarų ir atidarytų vartų pozicijų. Trečia ertmė (503) yra skirta gembinių vartų rėmo (300) krumpliastiebio (504) įstatymui. Krumpliastiebis yra įmaunamas į trečią ertmę (503) ir užfiksuojamas joje sąveikai su krumplinės pavaros krumpliaračiu. Trečios ertmės tarpas (503') yra skirtas krumplinės pavaros krumpliaračio judėjimui jame. Gembinių vartų rėmo (300) apatinis segmentas (500) yra vientisas gaminys, pagamintas pageidautinai iš aliuminio, ekstruzijos būdu.

[0057] Apatinis vartų rėmo (300) segmentas (500) yra sujungtas vienu pirmu jungiamuoju segmentu (600'), ties jo pirmu galu, kuris yra vartų rėmo (300) vieno galo kraštinis pirmas jungiamasis segmentas, ir vienu antruoju jungiamuoju segmentu (700') per L formos jungtį (100). Antras minėto vieno pirmo jungiamojo segmento (600') galas yra sujungtas su viršutinio segmento (400) galu, per L formos jungtį (brėžinyje neparodyta). Pirmas vieno antrojo jungiamojo segmento (700') galas yra prijungtas prie L formos jungties (100) per tvirtinimo elementą (701'), kuris prie L formos jungties (100) yra pritvirtintas jungiamosiomis priemonėmis, tokiomis kaip varžtai, ir ant kurio yra užmautas vienas antrasis jungiamasis segmentas (700') ir pritvirtintas jungiamosiomis priemonėmis, tokiomis kaip varžtai. Antras vieno antrojo jungiamojo segmento (700') galas yra prijungtas prie viršutinio segmento (400) ir kito pirmojo jungiamojo segmento (600''), kuris nėra kraštinis jungiamasis segmentas, galo, esančio prie viršutinio segmento (400), jungiamosiomis detalėmis ir varžtais.

[0058] Viršutinis vartų rėmo (300) segmentas (400) yra sujungtas su kitu pirmu jungiamuoju segmentu (600'''), kuris yra vartų rėmo (300) kito galo kraštinis pirmas jungiamasis segmentas, ir kitu antruoju jungiamuoju segmentu (700'') per L formos jungtį (100). Minėtas kitas antrasis jungiamasis segmentas (700'') pirmame gale yra prijungtas prie L formos jungties (100) per tvirtinimo elementą (701''), kuris prie L formos jungties (100) yra pritvirtintas jungiamosiomis priemonėmis, tokiomis kaip varžtai, ir ant kurio yra užmautas vienas antrasis jungiamasis segmentas (700'') ir pritvirtintas jungiamosiomis priemonėmis, tokiomis kaip varžtai. Antras kito antrojo jungiamojo segmento (700'') galas yra prijungtas prie apatinio segmento (500) ir kito pirmojo jungiamojo segmento (600''), kuris nėra kraštinis jungiamasis segmentas, galo, esančio prie apatinio segmento (500), jungiamosiomis detalėmis ir varžtais. Prie tos pačios L formos jungties (100) yra tvirtinamas ir rėmo (300) įtempimo reguliavimo segmentas (800), per jungiamąją detalę (801'), prie L formos jungties (100) tvirtinamą varžtais.

[0059] Rėmo (300) įtempimo reguliavimo segmentas (800) viename savo gale yra jungiamas prie L formos jungties (100), per jungiamąją detalę (801'), ties viršutinio segmento (400) antruoju galu, o antrame savo gale, įtempimo reguliavimo segmentas (800) yra jungiamas prie apatinio segmento (500) antrojo galo per kitą jungiamąją detalę (801').

[0060] Kitu atveju, L formos jungtis yra varstomų vartų, tokių kaip pagamintų iš aliuminio, tipo vartų rėmo segmentų jungiamasis elementas. Varstomų vartų rėmas (900) apima viršutinį segmentą (901), apatinį segmentą (902), vieno šono segmentą (904') ir kito šono segmentą (904''), bei centrinį segmentą (903). Visi varstomų vartų rėmo segmentai yra pagaminti iš aliuminio, ekstruzijos būdu. Kiekvienas varstomų vartų kampas apima L formos jungtį (100), kaip aprašyta ankstesniuose pavyzdžiuose. Minėta L formos jungtis (100) kiekviename vartų (900) kampe sujungiam atitinkamus segmentus juos sumaunant ant atitinkamo L formos jungties segmento (101, 102).

[0061] Nors išradimo aprašyme buvo išvardinta daugybė charakteristikų ir privalumų, kartu su išradimo struktūrinėmis detalėmis ir požymiais, aprašymas yra pateikiamas kaip pavyzdinis išradimo išpildymas. Gali būti atlikti pakeitimai detalėse, ypatingai medžiagų formoje, dydyje ir išdėstyme nenutolstant nuo išradimo principų, vadovaujantis plačiausiai suprantamomis apibrėžties punktuose naudojamų sąvokų reikšmėmis.

Apibrėžtis

1. Aliuminio vartų rėmo segmentų sujungimo jungtis, apimanti pirmą sienelę, skirtą tvirtinti prie vieno vartų rėmo segmento, ir antrą sienelę, skirtą tvirtinti prie kito vartų rėmo segmento varžtinėmis sujungimo priemonėmis, b e s i s k i r i a n t i tuo, kad rėmo segmentų sujungimo jungtis yra L formos jungtis (100), apimanti pirmą įkišamą segmentą (101) ir antrą įkišamą segmentą (102), kur abu minėti segmentai (101, 102) sudaro vientisą korpusą, kur

pirmas segmentas (101) apima išorinę sienelę (103), vidinę sienelę (105), pirmo laisvo galo sienelę (107) ir jungiamąjį korį (112) tarp išorinės sienelės (103) ir vidinės sienelės (105),

antras segmentas (102) apima išorinę sienelę (104), vidinę sienelę (106), antro laisvo galo sienelę (108) ir korį (118) tarp išorinės sienelės (104) ir vidinės sienelės (106).

2. Aliuminio vartų rėmo segmentų sujungimo jungtis, kur jungtis (100) yra pagaminta iš aliuminio.

3. Aliuminio vartų rėmo segmentų sujungimo jungtis pagal 1 arba 2 punktą, kur jungties (100) pirmo segmento (101) išorinė sienelė (103) apima vieno lygmens paviršių, kur visas toks paviršius yra lygus, visame išorinės sienelės (103) išorinio paviršiaus plote ir visas toks paviršius gali būti kontaktinis paviršius, sąlyčiui su vartų rėmo segmento vidiniu paviršiumi arba jo dalimi, o

jungties (100) antro segmento (102) išorinė sienelė (104) apima vieno lygmens paviršių, kur visas toks paviršius yra lygus, visame išorinės sienelės (104) išorinio paviršiaus plote ir visas toks paviršius gali būti kontaktinis paviršius, sąlyčiui su vartų rėmo segmento vidiniu paviršiumi arba jo dalimi.

4. Aliuminio vartų rėmo segmentų sujungimo jungtis pagal 1 arba 2 punktą, kur jungties (100) pirmo segmento (101) išorinė sienelė (103) apima paviršius (109', 109'', 109''', 110', 110'') bent dviejuose lygmenyse, kur viename lygmenyje esantys paviršiai (109', 109'', 109''') yra iškilę aukščiau negu antrame lygmenyje esantys paviršiai (110', 110''), o minėti iškilę paviršiai (109', 109'', 109''') yra kontaktiniai paviršiai, skirti sąlyčiui su vartų rėmo segmento vidiniu paviršiumi arba jo dalimi, o

jungties (100) antro segmento (102) išorinė sienelė (104) apima paviršius (114', 114'', 114''', 115) bent dviejuose lygmenyse, kur viename lygmenyje esantys paviršiai (114', 114'', 114''') yra iškilę aukščiau negu antrame lygmenyje esantis bent vienas paviršiai (115), o minėti iškilę paviršiai (114', 114'', 114''') yra kontaktiniai paviršiai, skirti sąlyčiui su vartų rėmo segmento vidiniu paviršiumi arba jo dalimi.

5. Aliuminio vartų rėmo segmentų sujungimo jungtis pagal 4 punktą, kur jungties (100) pirmo segmento (101) iškilę paviršiai (109', 109''') yra suformuoti bent ties laisvuoju pirmo segmento (101) galu ir ties galu prie pirmo ir antro segmentų (101, 102) sandūros plokštumos (P1), kur papildomas iškilus paviršius (109'') yra suformuotas pirmo segmento (101) pirmos išorinės sienelės (103) išorinio paviršiaus centrinėje dalyje, o

jungties (100) antro segmento (102) iškilę paviršiai (114', 114'', 114''') yra suformuoti bent ties laisvuoju antro segmento (102) galu ir ties galu prie pirmo ir antro segmentų (101, 102) sandūros plokštumos (P1).

6. Aliuminio vartų rėmo segmentų sujungimo jungtis pagal bet kurį ankstesnį punktą, kur pirmo segmento (101) vidinė sienelė (105) apima vieno lygmens paviršių, kur visas toks paviršius yra lygus, visame vidinės sienelės (105) išorinio paviršiaus plote ir visas toks paviršius gali būti kontaktinis paviršius, sąlyčiui su vartų rėmo segmento vidiniu paviršiumi arba jo dalimi, o antro segmento (102) vidinė sienelė (106) apima vieno lygmens paviršių, kur visas toks paviršius yra lygus, visame vidinės sienelės (106) išorinio paviršiaus plote ir visas toks paviršius gali būti kontaktinis paviršius, sąlyčiui su vartų rėmo segmento vidiniu paviršiumi arba jo dalimi.

7. Aliuminio vartų rėmo segmentų sujungimo jungtis pagal bet kurį vieną iš 1–5 punktų, kur pirmo segmento (101) vidinė sienelė (105) apima bent dviejų lygmenų paviršius, kur viename lygmenyje esantys paviršiai yra iškilę aukščiau negu antrame lygmenyje esantys paviršiai, o minėti iškilę paviršiai yra kontaktiniai paviršiai, skirti sąlyčiui su vartų rėmo segmento vidiniu paviršiumi arba jo dalimi, o

antro segmento (102) vidinė sienelė (106) apima bent dviejų lygmenų paviršius, kur viename lygmenyje esantys paviršiai yra iškilę aukščiau negu antrame lygmenyje esantys paviršiai, o minėti iškilę paviršiai yra kontaktiniai paviršiai, skirti sąlyčiui su vartų rėmo segmento vidiniu paviršiumi arba jo dalimi.

8. Aliuminio vartų rėmo segmentų sujungimo jungtis pagal bet kurį vieną iš ankstesnių punktų, kur pirmo segmento (101) išorinė sienelė (103) apima bent vieną pastorintą sienelės (103) dalį ir vidinė sienelė (105) apima bent vieną pastorintą sienelės (105) dalį (111', 111''), skirtas tvirtinimo elementų sąveikai su L formos jungtimi (100), per pastorintose dalyse suformuotas tvirtinimo elementų įvesties ertmes, o

antro segmento (102) išorinė sienelė (104) apima bent vieną pastorintą sienelės (104) dalį ir vidinė sienelė (106) apima bent vieną pastorintą sienelės (106) dalį (117', 117''), skirtas tvirtinimo elementų sąveikai su L formos jungtimi (100), per pastorintose dalyse suformuotas tvirtinimo elementų įvesties ertmes.

9. Aliuminio vartų rėmo segmentų sujungimo jungtis pagal bet kurį vieną iš ankstesnių punktų, kur pirmas segmentas (101) apima išorinės sienelės (103) ir vidinės sienelės (105) jungiamąjį korį (112), sudarytą iš daugybės jungiamųjų pertvarų (113), tarp išorinės sienelės (103) ir vidinės sienelės (105) suformuojančių tuščiavidures ertmes, o

antras segmentas (102) apima išorinės sienelės (104) ir vidinės sienelės (106) jungiamąjį korį (118), sudarytą iš daugybės jungiamųjų pertvarų (119), tarp išorinės sienelės (104) ir vidinės sienelės (106) suformuojančių tuščiavidures ertmes.

10. Aliuminio vartų rėmas, apimantis vartų rėmo segmentų sujungimo jungtį (100) pagal bet kurį ankstesnį 1-9 punktą, kur vartų rėmas apima viršutinį segmentą, apatinį segmentą, du šoninius segmentus ir bent vieną papildomą jungiamąjį segmentą, b e s i s k i r i a n t i s tuo, kad

viršutinis segmentas (400) apima

pirmą ertmę (401), apribotą iš keturių pusių, ir antrą ertmę (402'''), apribotą iš trijų pusių, kur viršutinis segmentas (400) tęsiasi iš esmės per visą rėmo ilgį, vientisai, ir apima išilgai per visą viršutinio segmento (400) ilgį besitęsiančią ertmę (401), skirtą L formos jungties (100) vieno segmento įstatymui, užpildant ertmę (401) iš esmės be tarpų, per L formos jungties (100) vieno iš dviejų segmentų (101, 102) ilgį arba, kada ertmė yra kitos formos negu iš esmės atitinkanti L formos jungties (100) vieno iš dviejų segmentų (101, 102) formą, L formos jungties (100) vieno iš dviejų segmentų (101, 102) bent šoninės briaunos liečiasi su viršutinio segmento (400) vidiniais paviršiais, apribojančiais ertmę (401),

atsikišimą (402), skirtą vartų rėmo (300) prilaikomajam nukreipimo elementui (403) judėti jame, kur atsikišimas (402) apima pirmą sienelę (402'), kuri tęsiasi nenutrūkstamai nuo viršutinio segmento (400), ir antrą sienelę (402''), kuri tęsiasi nenutrūkstamai nuo pirmos sienelės (402'), kur pirma sienelė (402') ir antra sienelė (402'') apriboja erdvę, kurioje juda prilaikomasis nukreipimo elementas atsiremdamas į antrą sienelę (402'') arba į pirmą sienelę (402') arba į abi vienu metu, kur viršutinis segmentas (400) yra vientisas,

apatinis segmentas (500) apima

pirmą ertmę (501), apribotą iš keturių pusių, antrą ertmę (502), apribotą iš keturių pusių ir vienoje sienoje turinčią tarpą (502'), trečią ertmę (503), apribotą iš keturių pusių ir vienoje sienoje turinčią tarpą (503'), kur apatinis segmentas (500) tęsiasi iš esmės per visą rėmo ilgį, vientisai, ir apima išilgai per visą apatinio segmento (500) ilgį besitęsiančią ertmę (501), skirtą L formos jungties (100) vieno galo įstatymui, užpildant ertmę (501) iš esmės be tarpų, per L formos jungties (100) vieno iš dviejų segmentų (101, 102) ilgį, arba, kada ertmė yra kitos formos, negu iš esmės atitinkanti L formos jungties (100) vieno iš dviejų segmentų (101, 102) formą, L formos jungties (100) vieno iš dviejų segmentų (101, 102) bent šoninės briaunos liečiasi su apatinio segmento (500) vidiniais paviršiais, apribojančiais ertmę (501), kur antra ertmė (502) yra išdėstyta išilgai apatinio segmento (500), per visą apatinio segmento (500) ilgį,

antrą ertmę (502), skirtą vartų rėmo (300) prilaikomosioms nukreipimo priemonėms (505') judėti, vartams judant tarp dviejų išilginių pozicijų, pavyzdžiui uždarų ir atidarytų vartų pozicijų, kur antros ertmės (502) tarpas (502') yra skirtas prilaikomųjų nukreipimo priemonių laikiklių (505'') judėjimui išilgai gembinio vartų rėmo (300) apatinio segmento (500) sienelės, vartams judant tarp dviejų išilginių pozicijų, pavyzdžiui uždarų ir atidarytų vartų pozicijų,

trečią ertmę (503), skirtą gembinių vartų rėmo (300) krumpliastiebio (504) įstatymui, kur krumpliastiebis (504) yra įmaunamas į trečią ertmę (503) ir užfiksuojamas joje sąveikai su krumplinės pavaros krumpliaračiu, kur trečios ertmės tarpas (503') yra skirtas krumplinės pavaros krumpliaračio judėjimui jame, kur vartų rėmo (300) apatinis segmentas (500) yra vientisas.

11. Aliuminio vartų rėmas pagal 10 punktą, kur apatinis segmentas (500) yra sujungtas vienu pirmu jungiamuoju segmentu (600'), ties jo pirmu galu, kuris yra vartų rėmo (300) vieno galo kraštinis pirmas jungiamasis segmentas, ir vienu antruoju jungiamuoju segmentu (700') per L formos jungtį (100), kur antras minėto vieno pirmo jungiamojo segmento (600') galas yra sujungtas su viršutinio segmento (400) galu, per L formos jungtį, kur pirmas vieno antrojo jungiamojo segmento (700') galas yra prijungtas prie L formos jungties (100) per tvirtinimo elementą (701'), kuris prie L formos jungties (100) yra pritvirtintas jungiamosiomis priemonėmis, tokiomis kaip varžtai, ir ant kurio yra užmautas vienas antrasis jungiamasis segmentas (700') ir pritvirtintas jungiamosiomis priemonėmis, tokiomis kaip varžtai, kur antras vieno antrojo jungiamojo segmento (700') galas yra prijungtas prie viršutinio segmento (400) ir kito pirmojo jungiamojo segmento (600''), kuris nėra kraštinis jungiamasis segmentas, galo, esančio prie viršutinio segmento (400), jungiamosiomis detalėmis ir varžtais, o

viršutinis segmentas (400) yra sujungtas su kitu pirmu jungiamuoju segmentu (600'''), kuris yra vartų rėmo (300) kito galo kraštinis pirmas jungiamasis segmentas, ir kitu antruoju jungiamuoju segmentu (700'') per L formos jungtį (100), kur minėtas kitas antrasis jungiamasis segmentas (700'') pirmame gale yra prijungtas prie L formos jungties (100) per tvirtinimo elementą (701''), kuris prie L formos jungties (100) yra pritvirtintas jungiamosiomis priemonėmis, tokiomis kaip varžtai, ir ant kurio yra užmautas vienas antrasis jungiamasis segmentas (700'') ir pritvirtintas jungiamosiomis priemonėmis, tokiomis kaip varžtai, kur antras kito antrojo jungiamojo segmento (700'') galas yra prijungtas prie apatinio segmento (500) ir kito pirmojo jungiamojo segmento (600''), kuris nėra kraštinis jungiamasis segmentas, galo, esančio prie apatinio segmento (500), jungiamosiomis detalėmis ir varžtais, kur prie tos pačios L formos jungties (100) yra tvirtinamas ir rėmo (300) įtempimo reguliavimo segmentas (800), per jungiamąją detalę (801'), prie L formos jungties (100) tvirtinamą varžtais, o

rėmo (300) įtempimo reguliavimo segmentas (800) viename savo gale yra jungiamas prie L formos jungties (100) per jungiamąją detalę (801'), ties viršutinio segmento (400) antruoju galu, o antrame savo gale įtempimo reguliavimo segmentas (800) yra jungiamas prie apatinio segmento (500) antrojo galo per jungiamąją detalę (801').

12. Aliuminio vartų rėmas, apimantis vartų rėmo segmentų sujungimo jungtį (100) pagal bet kurį ankstesnį 1-9 punktą, kur vartų rėmas apima viršutinį segmentą, apatinį segmentą, du šoninius segmentus ir bent vieną papildomą jungiamąjį segmentą, b e s i s k i r i a n t i s tuo, kad rėmas (900) apima

L formos jungtis (100) viršutinio segmento (901) sujungimo kampuose su vienu šono segmentu (904') ir kitu šono segmentu (904''),

L formos jungtis (100) apatinio segmento (902) sujungimo kampuose su vienu šono segmentu (904') ir kitu šono segmentu (904''), kur

minėta L formos jungtis (100) kiekviename vartų (900) kampe atitinkamus segmentus sujungia juos sumaunant ant atitinkamo L formos jungties segmento (101, 102).

Brėžiniai