LT7048B

MIKROBIOLOGINIS NITRIFIKACIJOS BŪDAS, SKIRTAS ORGANINIŲ TRĄŠŲ GAMYBAI

MICROBIOLOGICAL METHOD OF NITRIFICATION FOR ORGANICS FERTILIZER PRODUCTION

Referatas

[LT] Išradimo tikslas yra pateikti skystas arba kristalizuotos formos NPK trąšas, nitratinio azoto pagrindu, kurios gaunamos organinės chemijos pagrindu, perdirbant žemės ūkio ir pramonės atliekas bei kastines medžiagas, panaudojant organinį mikrobiologinį nitrifikacijos būdą. Tokiu gamybos būdu pagaminti produktai, tokie kaip kalio nitratas, magnio nitratas, geležies nitratas ir kalcio nitratas, tampa ekologiškais produktais.

[EN] The purpose of the invention is to provide NPK fertilizers in liquid or crystallized form, based on nitrate nitrogen, which are obtained on the basis of organic chemistry, processing agricultural and industrial waste and cast materials, using an organic microbiological method of nitrification. Products produced in this way, such as potassium nitrate, magnesium nitrate, iron nitrate and calcium nitrate, become ecological products

Aprašymas

[0001] IŠRADIMO SRITIS

[0002] Išradimas yra susijęs su organinių NPK trąšų gamyba, kur amoniakinis azotas (NH3) perdirbimas mikrobiologiniu nitrifikacijos metodu, oksiduojant amoniaką į nitratinio azoto (N-NO3) druskas, kartu panaudojus procese natūralius šarminius elementus. Konkrečiai, panaudoti gyvūninės kilmės arba žaliojo vandenilio gavybos metodu gautus amoniakinio azoto (N-NH3 ir/ar N-NH4) dujas ar jų junginius ekstrahuoti ir surišti amoniako dujas (NH3) tirpale su augalinės kilmės anglies dioksido (CO2) dujomis. Amoniakinio azoto (NH4+) paruoštą tirpalą oksiduoti mikrobiologiniu nitrifikacijos būdu, pasitelkiant Nitrosomonas, Nitrosococcus ir Nitrospira mikroorganizmų gentis (archėjų ir bakterijų grupės), bei procese panaudojus kastinius, augalinės ar gyvūninės kilmės šarminių metalų K+, Ca2+, Mg2+ ir metalo, Fe2+ elementų junginius. Gautus nitratinio azoto tirpalus sukoncentruoti, iš jų iškristalizuoti druskas, bei paruošti organines NPK trąšas.

[0003] TECHNIKOS LYGIS

[0004] Gamybos proceso numatytoje talpoje specialios tirpalo sąlygos yra kontroliuojamos ir palaikomos kompiuterinės valdymo programos bei reikiamų jutiklių pagalba. Nitrifikacijos proceso mikroorganizmų gentys, tokios kaip Nitrosomonas ir Nitrospira, oksiduoja gyvūninės kilmės arba išgautas žaliojo vandenilio gamybos metu amoniako (NH3) dujas į nitratinio azoto (N-NO3-) druskas. Taip pat gamybos tirpalas palaikomas reikalinga temperatūra, tiekiamas ištirpęs deguonis, bei šarminio kalio, kalcio, magnio arba geležies elemento jonai, kurie tirpale palaikoma teigiamų – neigiamų jonų pusiausvyra ir stabilus pH lygis.

[0005] Iš natūralių žaliavų gaunamos organinės NPK trąšos, nitratinio azoto pagrindu, kurios nenusileidžia efektyvumu ir turi tokias pačias elementų sudėtis bei koncentracijos lygius kaip mineralinės trąšos. Organinėje maisto pramonėje didžioji dalis ekologiškų trąšų yra gaminamos organinio azoto, kurio augalas negali įsisavinti, pagrindu. Organinėje maisto pramonėje taip pat yra naudojamas gyvūninės kilmės mėšlas, kuriame dominuoja amoniakinio ir nitratinio azoto forma, tačiau turintis patogenų bei skleidžiantis kvapą. Jeigu gyvūninį mėšlą galima įterpti į dirvą, tai auginant augalus hidroponikos, aeroponikos, irigacijos ar purškimo būdu, skystos formos mėšlas negali būti taikomas, kadangi 2 amoniakinio azoto jonai, esant tam tikroms sąlygoms, augalui tampa toksiniais, auginamas derlius įgauna nemalonų kvapą, maistas užkrečiamas kenksmingais patogenais.

[0006] Šio išradimo tikslas panaudoti amoniako azoto atliekas, susidarančias gyvūnų auginimo fermose bei gyvūninės kilmės mėšlo perdirbimo įmonėse kaip natūralias amoniako dujas, jas paversti saugiomis organinėmis trąšomis bei gražinti jas produkto pavidalu į rinką žaliuoju ekonomikos principu. Pagamintos organinės nitratinio azoto NPK trąšos yra pateikiamos saugiomis, stabiliomis druskų formomis, kur didžiausias jų poreikis šiltnamiuose, purškiant pasėlius per lapus bei naudojimas irigacinėse vandens tiekimo sistemose.

[0007] Artimiausias išradimas US2020061534 aprašo amoniako dujų surinkimą fermų, biodujų gamybos oro skraberiuose, pasitelkiant vandenį ir anglies dioksido (CO2) dujas, tačiau jų metodas nėra efektyvus, kadangi oro skraberiuose susiformavęs amonio bikarbonato (NH4HCO3) cheminis junginys vandenyje yra nestabilios druskų formos, o temperatūrai pasiekus +35 °C laipsnių ir daugiau, dėl išeinančio iš fermų šilto oro arba karšto aplinkos oro, šis druskų junginys skyla į amoniako (NH3) ir anglies dioksido (CO2) dujas bei pradeda garuoti į atmosferą. Šis išradimas padeda supaprastinti amoniako (NH3) dujų valdymą, kadangi amoniako (NH3) dujos iš amoniakinių azoto junginių yra ekstrahuojamos pagal organinės chemijos taisykles ir surišamos su augalinės kilmės anglies dioksidu (CO2) specialioje talpoje su vandeniniu tirpalu, ir sudaromos specialios sąlygos amonio bikarbonato (NH4HCO3) junginiui išlikti stabiliam ir negaruoti. Amonio bikarbonatas gali būti naudojamas nitratinio azoto druskų gamyboje.

[0008] TRUMPAS IŠRADIMO APRAŠYMAS

[0009] Išradimo tikslas yra pateikti skystas arba kristalizuotos formos organines NPK trąšas, kurios gaunamos mikrobiologiniu nitrifikacijos būdu. Ekologiški produktai, tokie kaip kalio nitratas, magnio nitratas, kalcio nitratas ir geležies nitratas yra gaminami iš organinių atliekų, panaudojant žemės ūkio atliekas, turinčias amoniakinio azoto (amoniako (NH3) dujos, amoniakinio azoto (NH4+) tirpalai, surinkti fermose, biodujų gamyboje, kompostavimo ir mėšlo perdirbimo įmonėse, sugaudyti ventiliacijos filtravimo sistemų pagalba, oro skraberiuose, amoniako dujos, gaunamos žaliojo vandenilio gamybos metodu, iš atsinaujinančių energijos šaltinių), augalinės ir gyvulinės kilmės pelenų (atliekos gali būti augalų, jų dalių arba medienos pelenai, gyvūninio mėšlo arba kraiko pelenai) arba natūralių kastinių žaliavų junginių, turinčių kalio, kalcio, geležies arba magnio junginių.

[0010] Išradimas aprašo gyvūninės kilmės amoniako (NH3) dujas, amoniakinio azoto (NH4+) junginius, kaip žemės ūkio ir pramonės atliekas, gautas žaliojo vandenilio gamybos metu arba pagamintas iš atsinaujinančių šaltinių, bei amoniako (NH3) dujas, kurių junginiai yra sugaudyti su sintetinėmis arba organinėmis medžiagomis bei perdirbti. Amoniako dujos ekstrahavimo metodu yra išgaunamos iš amoniakinio azoto junginių ir dujos perkeliamos į kitą tirpalą, suformuojant organinį junginį pagal organinės chemijos taisykles su natūraliomis anglies dioksido dujomis. Naudojamas mikrobiologinis nitrifikacijos būdas apima šias pakopas:

[0011] (A) gyvūninės kilmės amoniakinio azoto tiekimą junginių formoje, šarminio ingrediento įterpimą, gaunant amoniako dujinę formą, amoniako dujų surišimą su anglies dioksido (CO2) dujomis, gaunant amonio bikarbonato tirpalą, ir jo tiekimą į mikrobiologinį nitrifikacijos reaktorių;

[0012] (B) amoniako dujų praleidimą per reaktorių, kuris apima archėjų ir bakterijų grupes, esančias vandenyje;

[0013] (C) šarminio elemento druskų ir deguonies įpurškimą į reaktorių;

[0014] (D) nitratinio azoto ir šarminio elemento tirpalo gavimą;

[0015] (E) nitratinio azoto ir šarminio elemento tirpalo koncentravimą.

[0016] (F) nitratinio azoto ir šarminio elemento druskų kristalizavimą.

[0017] Kaip žaliavos yra naudojami junginiai, turintys Ca2+, Fe2+, Mg2+, K+ jonų, tokie kaip geležies oksido arba geležies karbonato junginys, kalcio oksido arba kalcio karbonato junginys, magnio karbonatas, magnio sulfatas, magnio chloridas, kalio karbonatas. Mikrobiologiniame nitrifikacijos procese amoniako dujos yra praleidžiamos per reaktorių, kurio vandenyje yra archėjų ir bakterijų, parinktų iš Nitrosomonas, Nitrosococcus ir Nitrobacter grupės. Buvo naudojami konkrečiai šie kamienai:

[0018] 1 kamienas: Nitrosomonas aestuarii, ATCC PTA-5423, deponuotas Amerikos kultūrų tipų kolekcijoje (American Type Culture Collection),

[0019] 2 kamienas: Nitrosococcus oceani ATCC 19707, deponuotas Amerikos kultūrų tipų kolekcijoje (American Type Culture Collection),

[0020] 3 kamienas: Nitrobacter winogradskyi, ATCC 25391, deponuotas Amerikos kultūrų tipų kolekcijoje (American Type Culture Collection). Nitrifikacijos proceso tirpalo pH rodiklis yra kontroliuojamas intervale nuo 5,9 iki 8,0, priklausomai nuo tirpale esančio šarminio elemento rūšies, kuris su nitratinio azoto jonais sudaro druskas. Reaktoriaus tirpalo temperatūra palaikoma nuo +18° C iki 4 +30° C, priklausomai nuo reikiamo nitrifikacijos proceso greičio. (A) pakopoje susidariusio amonio sulfato tirpalo koncentracija yra nuo 5 iki 15% druskų. Siekiant kontroliuoti ir valdyti visą nitrifikacijos procesą, papildomai yra įdiegti jutiklių komplektas ir valdymo modulis.

[0021] TRUMPAS BRĖŽINIŲ APRAŠYMAS

[0022] Pav. 1 pavaizduotas dujų ekstrahavimas ir tirpalo paruošimas mikrobiologiniam nitrifikacijos procesui.

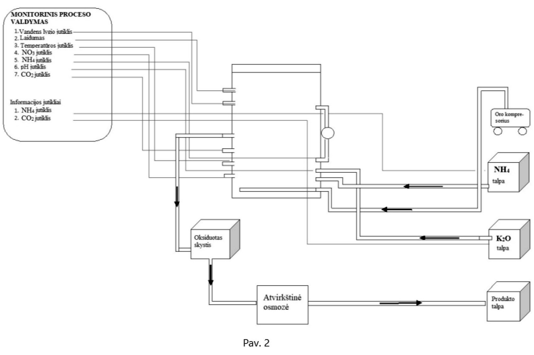
[0023] Pav 2. pavaizduota mikrobiologinio nitrifikacijos proceso schema

[0024] DETALUS IŠRADIMO APRAŠYMAS

[0025] Šio išradimo būdu gautos organinės NPK trąšos nitratinio azoto pagrindu užtikrina efektyvesnį augalų augimą ir didesnio derliaus gavimą organinėje žemdirbystėje. Šio išradimo pagrindu pagamintos saugios ir neturinčios patogenų organinės NPK trąšos leidžia jas panaudoti visose auginimo sistemose auginant visas daržovių ir vaisių kultūras, taip pat ypatingai trumpo vegetacijos laikotarpio augalus, tokius kaip salotos, krapai, svogūnėliai ar jų laiškai, mikro žalumynai ir panašiai.

[0026] Amoniako (NH3) dujų ekstrahavimas ir tirpalo paruošimas mikrobiologiniam nitrifikacijos procesui

[0027] Organinių NPK trąšų gamybos procese naudojamos natūralios gyvulinės kilmės amoniako (NH3) dujos, surinktos agrofermų oro valymo sistemose, biodujų gamybose, bei mėšlo kompostavimo ir apdirbimo gamybos procesuose. Amoniako (NH3) dujos paprastai yra surišamos su sieros rūgštimi (H2SO4), kur gaunamas ir surenkamas skystas amonio sulfato (NH4)2SO4 tirpalas, kuriame druskų koncentracija standartiškai siekia nuo 5 iki 15% ir yra žemės ūkio atliekos. Vėliau amonio sulfato (NH4)2SO4 tirpalas supilamas į sandarią talpą, į kurią pastoviai įterpiamas šarminis ingredientas (natrio hidroksidas, kalio hidroksidas, kalcio oksidas ir pan.) kol tirpalo pH rodiklis pasiekia pH 10-12. Garuodamos iš šarminio tirpalo amoniako (NH3) dujos yra nusiurbiamos kompresoriaus pagalba ir tiekiamos vamzdynu į kitą talpą su vandeniu, kuris yra prisotintas anglies dioksido (CO2) dujomis (pav. 1).

[0028] Anglies dioksido (CO2) dujų ekstrahavimas ir tirpalo paruošimas mikrobiologiniam nitrifikacijos procesui

[0029] Organinių NPK trąšų gamybos procese yra naudojamos natūralios kilmės anglies dioksido (CO2) dujos, išgautos iš augalinės ar gyvulinės kilmės pelenų arba kastinės kilmės žaliavų, kuriose dominuoja šarminių elementų oksidai ir karbonato (CO32-) jonų junginiai. Augalinės ir gyvūninės kilmės pelenai yra surenkami iš miesto katilinių, aliejaus gamyklų ir panašių pramonės šakų, kuriose deginimo procese yra naudojamos augalų ir jų dalių ar medienos atliekos. Tiek iš šios pramonės atliekų, tiek iš kastinių kalcio arba magnio uolienų, turinčių karbonatinius (CO32-) junginius, apdorojus bet kokia rūgštimi, išsiskiria procesui reikalingos anglies dioksido (CO2) dujos. Sumaišius specialioje talpoje vandenį su pelenais, į tirpalą pastoviai yra įterpiamas rūgštinis ingredientas (actas, citrinų rūgštis, sieros rūgštis ir pan.), kol tirpalo pH rodiklis pasiekia pH 3-4. Garuodamos iš rūgštinio tirpalo anglies dioksido (CO2) dujos yra nusiurbiamos kompresoriaus pagalba ir tiekiamos vamzdynu į kitą talpą su vandeniu, kuris yra prisotintas amoniako (NH3) dujomis (pav. 1).

[0030] Šarminių metalų Ca2+, Mg2+, K+ ir metalo Fe2+ katijonų paruošimas mikrobiologiniam procesui.

[0031] Atvežtos į gamybos patalpas miltelių pavidalo kastinės, žemės ūkio ar pramonės atliekos yra sumaišomos su vandeniu specialioje talpoje nuolat maišant. Po tam tikro laiko nustojus maišyti, leidžiama vandenyje nusistovėti netirpioms vandenyje druskoms, o ištirpusios druskos kartu su vandeniu yra nupilamos ir yra naudojamos mikrobiologiniame nitrifikacijos procese.

[0032] Žemiau pateikiamas kiekvienos žaliavos gavimas ir panaudojimo forma:

[0033] geležies oksido (FeO) arba geležies karbonato (FeCO3) junginys, kaip šarminis elementas, yra surenkamas kaip atlieka miesto vandens valymo sistemose vykdant nugeležinimo procesą, kuriame šalinama atlieka yra geležies oksido pagrindu. Kastinė geležies žaliava yra uoliena geležies oksido (FeO) arba geležies karbonato (FeCO3) formos.

[0034] Kalcio oksido (CaO) arba kalcio karbonato (CaCO3) šaltinis yra pramonės agro augalinės ir gyvūninės kilmės degintos atliekos, kurių pagrindą sudaro netirpūs arba mažai tirpūs kalcio oksido ir kalcio karbonato junginiai, kurios išplaunamos vandeniu ir 6 atskiriamos nuo netirpių nuosėdų. Taip pat naudojamas ir kastinis kalcio karbonatas (CaCO3) arba kalcio oksidas (CaO) kreidos, kalcito, kriauklių miltų arba klinčių pavidalu.

[0035] Kaip magnio (Mg2+) šaltinis naudojamas kastinis magnio karbonatas (MgCO3), magnio sulfatas (MgSO4), magnio chloridas (MgCl2), kuriuos apdorojus yra ekstrahuojamas magnio hidroksido Mg(OH)2 šaltinis.

[0036] Kalio (K+) šaltinis yra tirpios, vandeniu išplautos druskos. Panaudojus augalinės kilmės pelenus, kuriose kalio tirpios druskos yra karbonatinio junginio (K2CO3) formos, ištirpusios vandenyje druskos atskiriamos nuo netirpių nuosėdų.

[0037] Mikrobiologinis nitrifikacijos procesas

[0038] Mikrobiologinis nitrifikacijos procesas vyksta talpoje – mikrobiologiniame reaktoriuje (Pav. 2). Tai sandari vandens talpa pripildyta vandens bei reikalingų mikroorganizmų tokių kaip Nitrosomonas, Nitrosococcus ir Nitrobacter archėjų ir bakterijų grupės. Papildomai yra instaliuotas reikalingų jutiklių komplektas bei naudojama automatizuoto procesų valdymo programa. Automatizuoto procesų valdymo programa su jutiklių pagalba, mikrobiologiniame reaktoriuje kontroliuoja nitrifikacijos proceso sąlygas, kurios yra reikalingos mikroorganizmų gyvybei palaikyti bei amoniakinio azoto oksidacijai vykdyti.

[0039] Automatizuotos valdymo sistemos pagalba mikrobiologiniame reaktoriaus tirpale nitratinio azoto (N-NO3 -) jonų koncentracija palaikoma iki 0,8% koncentracijos. Nitrifikacijos proceso tirpalo pH rodiklis yra kontroliuojamas intervale nuo 5,9 iki 8,0, priklausomai nuo tirpale esančio šarminio elemento rūšies, kuris su nitratinio azoto jonais sudaro druskas. Reaktoriaus tirpalo temperatūra palaikoma nuo +18 °C iki +30 °C, priklausomai nuo reikiamo nitrifikacijos proceso greičio. Reaktoriaus valdymo programa sensorių pagalba, priklausomai nuo biocheminio proceso sąlygų, į nitrifikacijos proceso tirpalą stabiliai įpurškia reikalingas medžiagas, tokias kaip amoniakinis azoto tirpalas, šarminio elemento tirpalas bei deguonis.

[0040] Vykstant nutrifikacijos procesui, Nitrosomonas archėjų ir bakterijų grupė amoniakinio azoto jonus tirpale oksiduoja į nitritinio azoto (NO2-) jonus pagal šią reakciją:

[0041]

[0042] Toliau Nitrobacter archėjų ir bakterijų grupė nitritinio azoto (NO2-) jonus tirpale oksiduoja į nitratinio azoto (NO3-) jonus pagal šią reakciją:

[0043]

[0044] Skystų organinių trąšų kaip kalio nitrato, magnio nitrato, geležies arba kalcio nitrato paruošimas

[0045] Gautas nitratinio azoto pagrindu trąšų tirpalas, toks kaip kalcio nitratas, magnio nitratas, geležies nitratas arba kalio nitratas, yra supilamas į saugojimo talpą, iš kurios vėliau yra tiekiamas į molekulinių sietų koncentravimo įrenginį. Koncentravimo įrenginyje yra pašalinamas perteklinis vanduo ir druskų kiekis produkto tirpale padidėja iki 3,75 karto. Paruoštas produktas yra organinės skystos NPK trąšos su 3% nitratinio azoto koncentracija, kurios yra išpilstomos į reikalingą tarą. Kalio nitrato, magnio nitrato, geležies nitrato arba kalcio nitrato kristalizavimas. Sukoncentruotos organinės skystos NPK trąšos, tokios kaip kalio nitratas (NPK 3-0-9+K), kalcio nitratas (NPK 3-0-0+Ca), magnio nitratas (NPK 3-0-0+Mg) arba geležies nitratas (NPK 3-0-0+Fe), yra atvėsinamos iki -5 °C – 0 °C temperatūros intervale, tirpale vyksta druskos kristalizacijos procesas. Nupylus tirpalą ar nucentrifugavus tirpalą nuo susiformavusiu druskų, pastarasis yra gražinamas į koncentravimo etapą, o gautos kristalizuotos druskos, tokios kaip kalio nitratas (NPK 13-0-46), kalcio nitratas (NPK 16-0-0+Ca), magnio nitratas (NPK 11-0-0+Mg), kuriuose azoto koncentracija yra 13-18%, yra supakuojamos.

Apibrėžtis

1. Mikrobiologinis nitrifikacijos būdas, skirtas organinių trąšų gamybai oksiduojant amoniaką į nitratinio azoto druskas, b e s i s k i r i a n t i s tuo, kad šis būdas apima šias pakopas:

(A) tiekiamas gyvūninės kilmės amoniakinis azotas junginių formos, įterpiamas šarminis ingredientas, gaunant amoniako dujinę formą, amoniako dujos surišamos su anglies dioksido (CO2) dujomis, gaunant amonio bikarbonato tirpalą, ir minėtas tirpalas tiekiamas į mikrobiologinį nitrifikacijos reaktorių;

(B) amoniako dujos praleidžiamos per reaktorių, kuris apima archėjų ir bakterijų grupes, esančias vandenyje;

(C) šarminio elemento druskos ir deguonis įpurškiami į reaktorių;

(D) gaunamas nitratinio azoto ir šarminio elemento tirpalas;

(E) nitratinio azoto ir šarminio elemento tirpalas koncentruojamas;

(F) nitratinio azoto ir šarminio elemento druskos kristalizuojamos.

2. Amoniako (NH3) dujų arba amoniakinio azoto (NH4+) junginių iš organinių atliekų būdas pagal 1 punktą, b e s i s k i r i a n t i s tuo, kad elementai yra parinkti iš šarminių metalų Ca2+, Mg2+, K+ ir metalo Fe2+ katijonų.

3. Amoniako (NH3) dujų arba amoniakinio azoto (NH4+) surišimo iš organinių atliekų būdas pagal 1 arba 2 punktą, b e s i s k i r i a n t i s tuo, kad archėjų ir bakterijų grupė yra parinkta iš Nitrosomonas, Nitrosococcus ir Nitrobacter grupės.

4. Amoniako (NH3) dujų arba amoniakinio azoto (NH4+) surišimo iš organinių atliekų būdas pagal bet kurį iš 1-3 punktų, b e s i s k i r i a n t i s tuo, kad nitratinio azoto tirpalo pH yra intervale nuo 5,9 iki 8,0.

5. Amoniako (NH3) dujų arba amoniakinio azoto (NH4+) surišimo iš organinių atliekų būdas pagal bet kurį iš 1-4 punktų, b e s i s k i r i a n t i s tuo, kad (A) pakopoje susidariusio amonio sulfato tirpalo koncentracija yra nuo 5 iki 15% druskų.

6. Amoniako (NH3) dujų arba amoniakinio azoto (NH4+) surišimo iš organinių atliekų būdas pagal bet kurį iš 1-5 punktų, b e s i s k i r i a n t i s tuo, kad reaktorius papildomai apima jutiklių komplektą ir valdymo modulį.

Brėžiniai