LT6993B

TARPBUTINĖ PERTVARA

INTER-APARTMENT PARTITATION

Referatas

[LT] Išradimas priskiriamas statybų pramonės sričiai ir gali būti panaudotas įvairių pastatų pertvaroms, tiksliau tarpbutinėms pertvaroms, kur keliami padidinti garso izoliacijos reikalavimai. Išradimo tikslas – užtikrinant gerą garso sulaikymą ir reikalaujamas triukšmo normas, sukurti nebrangią, ploną tarpbutinę pertvarą, pasižyminčią nedidele apkrova, geromis mechaninėmis ir eksploatacinėmis savybėmis, sumažinta statybos darbų kaina ir padidintu statybos darbų našumu. Tarpbutinė pertvara, apimanti bent vieną vertikalią garsą izoliuojančią plokštę (2) iš maltų naudotų padangų granulių, pertvaros kraštuose esančias gipso kartono plokštes (1) o taip pat tvirtinimo priemones (3) ir tarpinę (4) ties apatiniu ir viršutiniu pertvaros pagrindu, kur tarpbutinės pertvaros storis yra 100-140 mm, vertikalių garsą izoliuojančių plokščių (2, 2‘) storis kartu paėmus sudaro 45-70 % tarpbutinės pertvaros storio, o tvirtinimo priemonės yra profilis (3).

[EN] The invention belongs to the field of the construction industry and can be used for partitions of various buildings, more precisely for inter-apartment partitions, where increased sound insulation requirements are imposed. The purpose of the invention is to create an inexpensive, thin inter-apartment partition with low load, good mechanical and operational properties, reduced cost of construction works and increased productivity of construction works by ensuring good sound retention and required noise standards. An inter-apartment partition, including at least one vertical sound-insulating panel (2) made of ground used tire pellets, plasterboard panels (1) at the edges of the partition, as well as fixing means (3) and a spacer (4) at the lower and upper base of the partition, where the inter-apartments the thickness of the partition is 100-140 mm, the thickness of the vertical sound insulating panels (2, 2') taken together is 45-70% of the thickness of the inter-apartment partition, and the means of fastening are the profile (3).

Aprašymas

[0001] TECHNIKOS SRITIS

[0002] Išradimas priskiriamas statybų pramonės sričiai ir gali būti panaudotas įvairių pastatų pertvaroms, tiksliau tarpbutinėms pertvaroms, kur keliami padidinti garso izoliacijos reikalavimai.

[0003] TECHNIKOS LYGIS

[0004] Yra žinoma tarpbutinė pertvara, - garsą slopinanti pastato sienos konstrukcija, apimanti ant betoninės sienos pritvirtinamas garso izoliacines plokštes o tarp jų įterptą akmens vatą (EP 2923005 B1, pub.2021). Šios pertvaros trūkumas yra sudėtingas garso izoliacinių sluoksnių įrengimas, reikalaujantis papildomų tvirtinimo elementų, o taip pat nepakankamai geros garso izoliacinės savybės.

[0005] Artimiausia siūlomam išradimui yra tarpbutinė pertvara, apimanti bent vieną garsą izoliuojančią plokštę iš maltų naudotų padangų granulių, ir pertvaros kraštuose esančias gipso kartono plokštes o taip pat tvirtinimo priemones ir tarpinę ties apatiniu ir viršutiniu pertvaros pagrindu. (LT patentas Nr. 6519, pub. 2018).

[0006] Šiam techniniam sprendimui būdinga didelė apkrova ir didelis pertvaros storis 200-240 mm, nes ši pertvara apima net kelis storus sluoksnius iš akytbetonio blokų. Tai sumažina buto su tokia pertvara plotą, padidina namo su minėtomis tarpbutinėmis pertvaromis įrengimo kainą ir sumažina pastato su tokiomis tarpbutinėmis pertvaromis statybos darbo našumą.

[0007] IŠRADIMO ESMĖ

[0008] Išradimo tikslas yra, užtikrinant gerą garso sulaikymą ir reikalaujamas triukšmo normas, sukurti nebrangią, ploną tarpbutinę pertvarą, pasižyminčią nedidele apkrova, geromis mechaninėmis ir eksploatacinėmis savybėmis, sumažinta statybos darbų kainą ir padidintu statybos darbų našumu

[0009] Išradimo tikslas pasiekiamas tuo, kad tarpbutinėje pertvaroje, apimančioje bent vieną vertikalią garsą izoliuojančią plokštę iš maltų naudotų padangų granulių, pertvaros kraštuose esančias gipso kartono plokštes o taip pat tvirtinimo priemones ir tarpinę ties apatiniu ir viršutiniu pertvaros pagrindu, tarpbutinės pertvaros storis yra 100-140 mm, vertikalių garsą izoliuojančių plokščių storis kartu paėmus sudaro 45-70% tarpbutinės pertvaros storio, o tvirtinimo priemonės yra profilis.

[0010] Taip pat tikslas pasiekiamas tuo, kad profilis yra metalinis profilis

[0011] Taip pat tikslas pasiekiamas tuo, kad tarpinė ties apatiniu pertvaros pagrindu yra horizontali garsą izoliuojanti plokštė iš maltų naudotų padangų granulių.

[0012] Taip pat tikslas pasiekiamas tuo, kad kiekviename pertvaros krašte tarp dviejų gipso kartono plokščių yra įtaisyta po kraštinę vertikalią garsą izoliuojančią plokštę iš maltų naudotų padangų granulių, o pertvaros viduryje yra įrengta papildoma vertikali garsą izoliuojanti plokštė iš maltų naudotų padangų granulių, kurios storis yra 4-7,5 kartus didesnis už kraštinių vertikalių garsą izoliuojančių plokščių iš maltų naudotų padangų granulių storį.

[0013] Taip pat tikslas pasiekiamas tuo, kad kiekviename pertvaros krašte greta dviejų gipso kartono plokščių yra įtaisyta po kraštinę vertikalią garsą izoliuojančią plokštę iš maltų naudotų padangų granulių, o tarp jų pertvaros viduryje yra įrengta papildoma garsą ir (arba) šilumą izoliuojanti plokštė, parinkta iš grupės iš putų polistirolo ar akmens vatos, kurios storis yra 4-6 kartus didesnis už kraštinių vertikalių garsą izoliuojančių plokščių storį.

[0014] Taip pat tikslas pasiekiamas tuo, kad gipso kartono plokštės yra mėlynojo gipso kartono plokštės.

[0015] TRUMPAS BRĖŽINIŲ APRAŠYMAS

[0016] 1 pav. pavaizduota pertvara su viena vertikalia garsą izoliuojančia plokšte iš maltų granulių.

[0017] 2 pav. pavaizduota pertvara su vertikalia garsą izoliuojančia plokšte iš maltų granulių ir dviem kraštinėm garsą izoliuojančiom plokštėm iš maltų granulių.

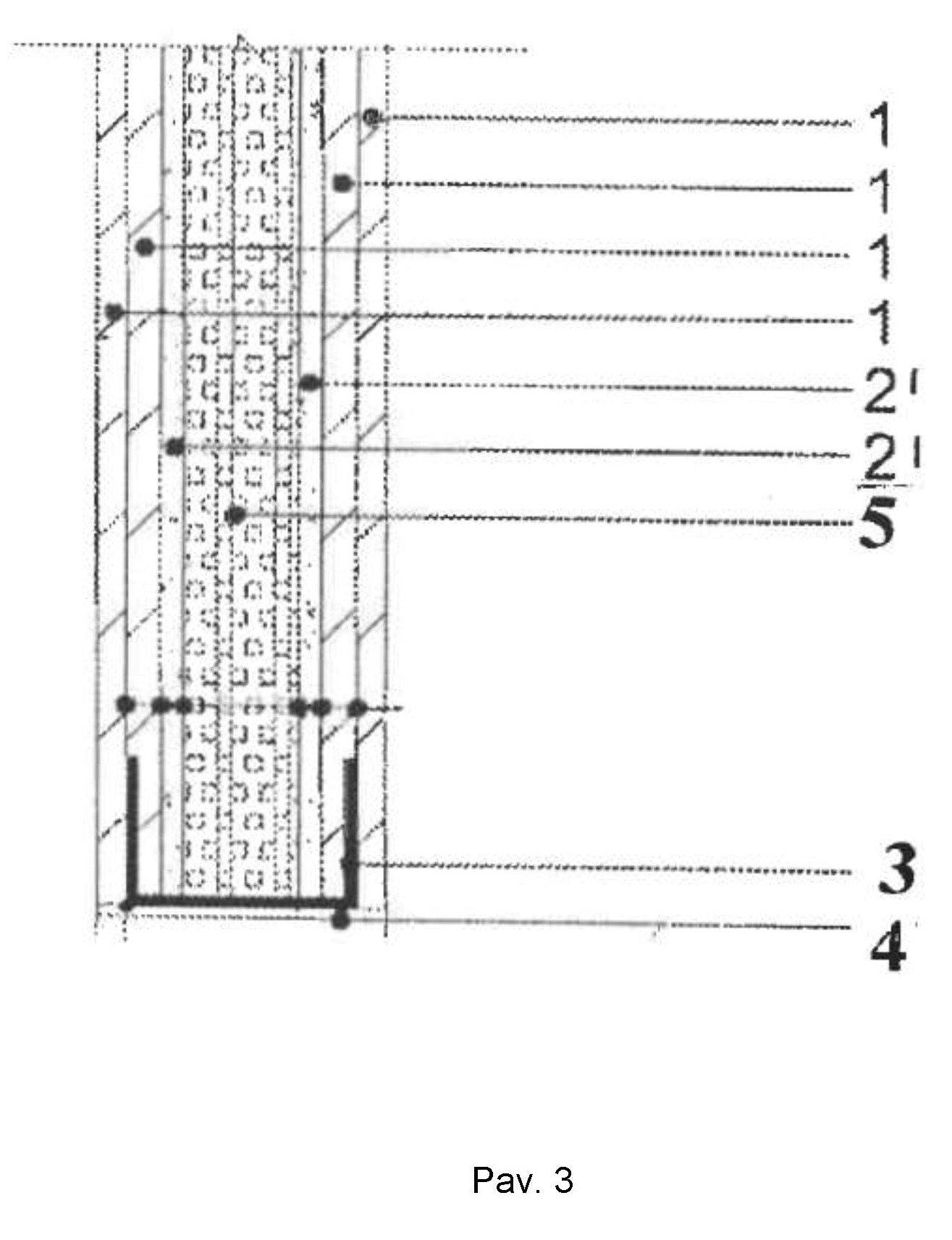
[0018] 3 pav. pavaizduota pertvara su vertikalia garsą ir (arba) šilumą izoliuojančia plokšte iš poliuretano ir dviem kraštinėm garsą izoliuojančiom plokštėm iš maltų granulių.

[0019] Pertvara, pavaizduota 1 pav., susideda iš kiekviename pertvaros krašte esančių dviejų gipso kartono plokščių 1, pertvaros viduryje įtaisytos vertikalios garsą izoliuojančios plokštės 2 iš maltų naudotų padangų granulių. Pertvara sutvirtinta metaliniu profiliu 3. Ties apatiniu pertvaros pagrindu įtaisyta tarpinė 4 - horizontali garsą izoliuojanti plokštė iš maltų granulių.

[0020] Pertvara, pavaizduota 2 pav., susideda iš kiekviename pertvaros krašte esančių dviejų gipso kartono plokščių 1, pertvaros viduryje įtaisytos vertikalios garsą izoliuojančios plokštės iš maltų naudotų padangų granulių 2. Kiekviename jos krašte tarp minėtų gipso kartono plokščių 1 yra įrengtos kraštinės vertikalios garsą izoliuojančios plokštės 2' iš maltų naudotų padangų granulių, Pertvara sutvirtinta metaliniu profiliu 3. Ties apatiniu pertvaros pagrindu įtaisyta tarpinė 4 - horizontali garsą izoliuojanti plokštė iš maltų naudotų padangų granulių.

[0021] Pertvara, pavaizduota 3 pav., susideda iš kiekviename pertvaros krašte esančių dviejų gipso kartono plokščių 1, Greta jų yra įtaisyta po vertikalią kraštinę garsą izoliuojančią plokštę 2' iš maltų naudotų padangų granulių. Pertvara sutvirtinta metaliniu profiliu 3. Ties apatiniu pertvaros pagrindu įtaisyta tarpinė 4 - horizontali garsą izoliuojanti plokštė iš maltų naudotų padangų granulių. Pertvaros viduryje tarp minėtų dviejų vertikalių kraštinių garsą izoliuojančių plokščių 2' iš maltų naudotų padangų granulių yra įrengta papildoma iš putų polistirolo pagaminta garsą ir (arba) šilumą izoliuojanti vertikali plokštė 5.

[0022] DETALUS IŠRADIMO APRAŠYMAS

[0023] Išradime pateikiamas techninis sprendimas yra iliustruojamas pavyzdžiais. Minėtos garsą izoliuojančios plokštės (2, 2'), įeinančios į tarpbutinę pertvarą, buvo pagamintos iš maltų naudotų padangų granulių, iš padangų buvo išimti metaliniai kordai, ir jos buvo sumaltos iki norimo dydžio granulių, pvz., 0,1-5 mm dydžio, po to sumaišytos su klijais ir kitais priedais, o gauta masė supresuota.

[0024] 1 išradimo įgyvendinimo pavyzdys

[0025] Tarpbutinė pertvara (1 pav.), kurios plotas 1200×600 mm o storis 100 mm, apima kiekviename jos krašte įrengtas po dvi gipso kartono plokštes 1, kurių kiekvienos storis yra 12,5 mm. Pertvaros viduryje yra įtaisyta viena vertikali garsą izoliuojanti plokštė 2 iš maltų naudotų padangų granulių, kurios storis 46 mm. Vertikalios garsą izoliuojančios plokštės 2 storis sudaro 46% tarpbutinės pertvaros storio. Tarpbutinė pertvara yra sutvirtinta tvirtinimo priemone - metaliniu profiliu Nr. 75. Ties pertvaros apatiniu pagrindu įrengta tarpinė 4 – horizontali garsą izoliuojanti plokštė iš maltų naudotų padangų granulių, kurios storis yra 10 mm. Naudojant tokią pertvarą, atsiranda galimybė sulaikyti garsą 56 dB.

[0026] 2 išradimo įgyvendinimo pavyzdys

[0027] Tarpbutinė pertvara (2 pav.), kurios plotas 1200×600 mm, o storis 125 mm apima kiekviename jos krašte įrengtas po dvi gipso kartono plokštes 1, kurių kiekvienos storis yra 12,5 mm. Pertvaros viduryje yra įtaisyta vertikali garsą izoliuojanti plokštė 2 iš maltų naudotų padangų granulių, kurios storis yra 46 mm. Kiekviename pertvaros krašte tarp gipso kartono plokščių 1 yra įrengtos kraštinės vertikalios garsą izoliuojančios plokštės 2' iš maltų naudotų padangų granulių, kurių kiekvienos storis yra 10 mm. Be to vertikalios garsą izoliuojančios plokštės 2 iš maltų granulių storis yra 4,6 kartų didesnis už kraštinės vertikalios garsą izoliuojančios plokštės 2' iš maltų granulių storį o vertikalių garsą izoliuojančių plokščių (2, 2') storis kartu paėmus sudaro 53% tarpbutinės pertvaros storio. Tarpbutinė pertvara yra sutvirtinta tvirtinimo priemone - metaliniu profiliu Nr. 75. Ties pertvaros apatiniu pagrindu įrengta tarpinė 4 – horizontali garsą izoliuojanti plokštė iš maltų naudotų padangų granulių, kurios storis yra 10 mm. Naudojant tokią pertvarą, atsiranda galimybė sulaikyti garsą 58 dB.

[0028] 3 išradimo įgyvendinimo pavyzdys

[0029] Tarpbutinė pertvara (2 pav.), kurios plotas 1200×600 mm, o storis 140 mm apima kiekviename jos krašte įrengtas po dvi gipso kartono plokštes 1, kurių kiekvienos storis yra 12,5 mm. Pertvaros viduryje yra įtaisyta viena vertikali garsą izoliuojanti plokštė 2 iš maltų naudotų padangų granulių, kurios storis 73 mm. Kiekviename pertvaros krašte tarp minėtų gipso kartono plokščių 1 yra įrengtos kraštinės vertikalios garsą izoliuojančios plokštės 2' iš maltų naudotų padangų granulių, kurių kiekvienos storis yra 10 mm. Be to vertikalios garsą izoliuojančios plokštės 2 iš maltų naudotų padangų granulių storis yra 5,8 kartų didesnis už kraštinės vertikalios garsą izoliuojančios plokštės 2' iš maltų granulių storį, o vertikalių garsą izoliuojančių plokščių (2, 2') storis kartu paėmus sudaro 66,4% pertvaros storio. Tarpbutinė pertvara yra sutvirtinta tvirtinimo priemone - metaliniu profiliu Nr. 100. Ties pertvaros apatiniu pagrindu įrengta tarpinė 4 – horizontali garsą izoliuojanti plokštė iš maltų naudotų padangų granulių, kurios storis yra 6-10 mm. Naudojant tokią pertvarą, atsiranda galimybė sulaikyti garsą 58 dB.

[0030] 4 išradimo įgyvendinimo pavyzdys

[0031] Tarpbutinė pertvara (3 pav.), kurios plotas 1200×600 mm, o storis 125 mm apima kiekviename pertvaros krašte viena šalia kitos įrengtas po dvi mėlynojo gipso kartono plokštes, kurių kiekvienos storis yra 12,5 mm. Greta jų yra įtaisyta po vertikalią kraštinę garsą izoliuojančią plokštę 2' iš maltų naudotų padangų granulių, kurių kiekvienos storis yra 10 mm. Tarp jų pertvaros viduryje yra įrengta papildoma garsą ir (arba) šilumą izoliuojanti vertikali plokštė 5 iš putų polistirolo, kurios storis yra 50 mm, be to jos storis yra 5 kartus didesnis už kraštinės vertikalios garsą izoliuojančios plokštės 2' storį, o vertikalių garsą izoliuojančių plokščių (2', 5) storis kartu paėmus sudaro 56% pertvaros storio. Tarpbutinė pertvara yra sutvirtinta tvirtinimo priemone - metaliniu profiliu Nr. 100. Ties pertvaros apatiniu pagrindu įrengta tarpinė 4 – horizontali garsą izoliuojanti plokštė iš maltų naudotų padangų granulių, kurios storis yra 6 mm. Naudojant tokią pertvarą, atsiranda galimybė sulaikyti garsą 58 dB.

[0032] Pagal išradimą sukurta tarpbutinė pertvara gali būti naudojama tiek naujų pastatų statyboje, tiek renovuojamų pastatų įrengimui, kur pagal reikalaujamą statybos reglamentą taikomi griežti garso izoliacijos reikalavimai. Įrengiant šiuo išradimu siūlomą plonesnę tarpbutinę pertvarą, gauname 4% papildomo grindų ploto, 30% sumažinama pastato perdangos apkrova ir iki 15% padidėja statybos darbo našumas, tuo pačiu sumažėja darbų kaina.

[0033] Be to pertvaros gamyboje sunaudojami dideli kiekiai sumaltų naudotų padangų - kelis kartus daugiau naudotų padangų negu jų sunaudojama ankstesniame techniniame sprendime - dėl to dar labiau sumažinamas aplinkos užteršimas. Šios rūšies atliekų perdirbimo ekonominis tikslingumas yra grindžiamas galimybe pakartotinai panaudoti jas naujų konstrukcijų gamyboje, pasižymi draugiškesnės aplinkos kūrimu ateities kartoms. Be to atliepiama Europos Sąjungos teisiniams reikalavimams, susijusiems su padangų atliekomis ir jų panaudojimu žiedinėje ekonomikoje ir žaliajam kursui skatinti.

Apibrėžtis

1. Tarpbutinė pertvara, apimanti bent vieną vertikalią garsą izoliuojančią plokštę iš maltų naudotų padangų granulių, pertvaros kraštuose esančias gipso kartono plokštes o taip pat tvirtinimo priemones ir tarpinę ties apatiniu ir viršutiniu pertvaros pagrindu, b e s i s k i r i a n t i tuo, kad tarpbutinės pertvaros storis yra 100-140 mm, vertikalių garsą izoliuojančių plokščių storis kartu paėmus sudaro 45-70% tarpbutinės pertvaros storio, o tvirtinimo priemonės yra profilis.

2. Tarpbutinė pertvara pagal 1 punktą, b e s i s k i r i a n t i tuo, kad profilis yra metalinis profilis.

3. Tarpbutinė pertvara pagal 1, 2 punktus, b e s i s k i r i a n t i tuo, kad tarpinė ties apatiniu pertvaros pagrindu yra horizontali garsą izoliuojanti plokštė iš maltų naudotų padangų granulių.

4. Pertvara pagal 1, 2, 3, punktus, b e s i s k i r i a n t i tuo, kad kiekviename pertvaros krašte tarp dviejų gipso kartono plokščių yra įtaisyta po kraštinę vertikalią garsą izoliuojančią plokštę iš maltų naudotų padangų granulių, o pertvaros viduryje yra įrengta papildoma vertikali garsą izoliuojanti plokštė iš maltų naudotų padangų granulių, kurios storis yra 4-7,5 kartus didesnis už kraštinių vertikalių garsą izoliuojančių plokščių iš maltų naudotų padangų granulių storį.

5. Pertvara pagal 1, 2 ir 3 punktus, b e s i s k i r i a n t i tuo, kad kiekviename pertvaros krašte greta dviejų gipso kartono plokščių yra įtaisyta po kraštinę vertikalią garsą izoliuojančią plokštę iš maltų naudotų padangų granulių, o tarp jų pertvaros viduryje yra įrengta papildoma garsą ir (arba) šilumą izoliuojanti plokštė, parinkta iš grupės iš putų polistirolo ar akmens vatos, kurios storis yra 4-6 kartus didesnis už kraštinių vertikalių garsą izoliuojančių plokščių storį.

6. Pertvara pagal ankstesnius punktus, b e s i s k i r i a n t i tuo, kad gipso kartono plokštės yra mėlynojo gipso kartono plokštės.

Brėžiniai