LT7008B

PATOBULINTA X FORMOS SANKRYŽA

THE IMPROVED X INTERSECTION

Referatas

[LT] Patobulinta X formos sankryža priklauso autokelių tiesimo sričiai. Kairysis posūkis mažina eismo saugumą, sankryžos pralaidumą, didina degalų, laiko sąnaudas, aplinkos taršą. Esmė: kiekvieno kelio važiuojamoji dalis, skirta važiuoti į kairę, nutiesta į sankryžą iš antros juostos, prieš sankryžą atitrauktos į dešinę, o už sankryžos mažo spindulio dešiniuoju vingiu, toliau tiesiai tiek, kad tilptų į kairę važiuojantis transportas, apsukta dešiniuoju 180° mažo spindulio vingiu ir tiesiai nutiesta į sankryžą; kiekvieno kelio visos važiuojamosios dalys gerokai prieš sankryžą atitrauktos į dešinę; eismo juosta, skirta važiuoti į kairę, nutiesta iš antrosios juostos, sankryžoje dešiniuoju vingiu, toliau tiesiai tiek, kad tilptų į kairę važiuojantis transportas, 180° kairiuoju mažo spindulio vingiu nutiesta per kairiąsias juostas, ašinę liniją, toliau tiesiai į sankryžą. Panaikinus kairįjį posūkį, didėja sankryžoje eismo saugumas, pralaidumas, mažėja laiko, degalų sąnaudos, tarša.

[EN] The improved X-junction belongs to the field of motorway construction. Left turn reduces traffic safety, intersection capacity, fuel consumption, time consumption and environmental pollution. Substance: the left-hand carriageway of each roadway is built into the junction from the second lane, turning right before the junction, and after the junction, in a small radius right turn, continuing straight ahead to accommodate left-hand traffic, making a right 180° small radius turn and straight ahead into the junction; all carriageways on each road are diverted to the right well before the junction; the left turn lane is constructed from the second lane, making a right bend at the junction, continuing straight ahead to accommodate left-turning traffic, making a 180° left bend of small radius through the left lanes, the centre line, and then continuing straight ahead into the junction. The removal of the left turn improves safety, capacity, time, fuel consumption and pollution at the intersection.

Aprašymas

[0001] TECHNIKOS SRITIS

[0002] Išradimas ,,Patobulinta X formos sankryža" priklauso autokelių tiesimo sričiai ir gali būti panaudotas projektuojant naujas arba rekonstruojant esamas intensyvaus eismo vieno lygio sankryžas.

[0003] TECHNIKOS LYGIS

[0004] Yra žinomos X formos sankryžos, kuriose kertasi du keliai viename lygyje ir jose važiuoti galima tiesiai, į dešinę, į kairę ir apsisukti. Tačiau, kai eismas keliuose yra intensyvus, jos netenkina šiuolaikinių saugaus eismo, ekologinių, ekonominių ir sankryžų pralaidumo reikalavimų dėl to, kad, sukant į kairę, apsisukant, dažnai įvyksta gana skaudūs eismo įvykiai, kai nukenčia ne tik transporto priemonės, bet ir eismo dalyviai. Dėl kairiojo manevro gerokai mažėja eismo saugumas sankryžoje, prarandama iki 25 % sankryžos pralaidumo, formuojasi transporto spūstys, didėja degalų sąnaudos, aplinkos tarša, prarandamas brangus laikas. Žinomos kitos sankryžos, kuriose važiuojamosios dalys nesusikerta, o viena kitos atžvilgiu nutiestos skirtinguose lygiuose - tuneliuose arba viadukais. Techniniu požiūriu jos tenkina anksčiau minėtus reikalavimus, tačiau ekonominiu požiūriu jos yra labai brangios ir reikalauja labai didelių papildomų žemės plotų. Šių sankryžų, schemos ir aprašymai pateikti JAV standarte aashto-2001 .pdf-Doctor Serdgio Dž. Navarro ("A Policy on Geometric Design of Highways and Streets 2001", 9 skyrius Intersections).

[0005] Išradimo analogas yra "At-Grade Loop (Surface Loop) with Crossroad", pavaizduotas pav. 9.89, psl.710, leidinyje "A Policy on Geometric Design of Highways and Streets 2001". Analoge pavaizduoti du susikertantys keliai, kurių vienas yra intensyvaus eismo (pagrindinis), turintis dvi važiuojamąsias dalis po dvi eismo juostas, o kitas šalutinis, turintis po vieną eismo juostą kiekviena kryptimi. Pagrindiniame kelyje iš pirmos eismo juostos galima važiuoti sankryžoje tiesiai ir į dešinę, o iš antros - tik tiesiai. Už sankryžos iš pagrindinio kelio pirmos juostos nutiesta apskritimo formos dešiniuoju vingiu eismo juosta į dešinėje pusėje esantį kelią tarp šio kelio eismo juostos, skirtos važiuoti sankryžoje į dešinę ir eismo juostos, skirtos važiuoti tiesiai. Todėl pagrindinio kelio pirmąja juosta galima nuvažiuoti ir į kairėje pusėje esantį kelią, pravažiuojant sankryžą tiesiai, o už sankryžos dešiniuoju apskritimo formos vingiu, nutiesta eismo juosta, įvažiuojant į sankryžą ir ją pravažiuojant tiesiai kartu su greta važiuojančiu transportu. Šalutinio kelio eismo juosta, skirta važiuoti į sankryžą, dar gerokai prieš ją, padalyta į dvi. Kairioji nutiesta į sankryžą tiesiai, o dešinioji nutiesta į sankryžą atitinkamu kampu taip, kad kairėje liktų apskritimo formos važiuojamoji dalis. Važiuojant kairiąja eismo juosta, sankryžą galima pravažiuoti tiesiai ir į kairę, praleidžiant iš priekio važiuojantį transportą, o dešiniąja - į dešinę.

[0006] Šios sankryžos pagrindiniai trūkumai yra:

[0007] - nelikviduotas kairiojo posūkio manevras sankryžoje įvažiuojant į ją iš šalutinio kelio;

[0008] - pagrindinio kelio eismo juosta, kuri skirta važiuoti į kairę, už sankryžos nutiesta apskritimo formos dešiniuoju vingiu, o šalutinio kelio eismo juosta, kuri skirta važiuoti į dešinę, nutiesta dešiniau už minėtos apskritimo formos eismo juostos, gerokai didina sankryžos gabaritus. Nutiesus eismo juostą net mažiausiu leistinu apskritimo formos vingio spinduliu R=10,3 m, sankryža į vieną pusę padidės 30,6 m, o apskritimo formos eismo juostoje tilps iki 8 automobilių (imant mažiausią reikalingą atstumą vienam automobiliui - 8 m, apskritimo ilgis bus apie 65 m). Realiai prieš tokio tipo sankryžas per vieną šviesoforo darbo ciklą susirenka apie 15–20 įvairių automobilių, norinčių važiuoti į kairę. Tokiam automobilių kiekiui sutilpti apskritimo skersmuo turėtų būti apie 51 m (apskritimo ilgis 8x20=160 m, o skersmuo - 51 m). Sankryžos plotis ir ilgis turėtų padidėti iki 122 m. Toks sprendinys netenka prasmės, nes šis matmuo beveik 5 kartus didesnis už sankryžos važiuojamosios dalies plotį ir sankryža gali netilpti riboto ploto miestų aikštelėse;

[0009] - norint pilnai likviduoti kairįjį posūkį sankryžoje, pritaikant naudotą sprendinį, kai eismo juosta nutiesta apskritimo formos dešiniuoju vingiu už sankryžos, papildomai gerokai didėja sankryžai reikalingas plotas ir atsiranda papildomi keturi kritiniai taškai prieš sankryžą, nes iškyla būtinybė net keturiose vietose persirikiuoti mažame plote prieš sankryžą dviem transporto srautam. Šis sprendimas gerokai mažina sankryžos pralaidumą važiuojant į kairę, eismo saugumą ir riboja sankryžos panaudojimo galimybes apskritai.

[0010] IŠRADIMO ESMĖ

[0011] Pareikšto išradimo tikslai yra gerokai padidinti eismo saugumą sankryžoje, jos pralaidumą, sumažinti transporto skleidžiamą cheminę taršą, ekonominius nuostolius, sukurti vieną iš būtinų sąlygų ritmingo eismo organizavimui.

[0012] Išradimo esmė yra tai, kad, turint tikslus gerokai padidinti eismo saugumą sankryžoje, jos pralaidumą, sumažinti transporto skleidžiamą cheminę taršą, ekonominius nuostolius, sukurti vieną iš būtinų sąlygų ritmingo eismo organizavimui:

[0013] kiekvieno kelio eismo juostos, skirtos važiuoti sankryžoje tik tiesiai, nutiestos į sankryžą greta kelio ašinės linijos arba skiriamosios juostos; važiuojamoji dalis, skirta važiuoti į kairę, yra nutiesta iš tarpo, esančio tarp juostų, skirtų važiuoti sankryžoje tiesiai ir juostos, skirtos važiuoti į dešinę ir, dar gerokai prieš sankryžą (atstumas priklauso nuo automobilių, važiuojančių į kairę skaičiaus), atskirta nuo eismo juostų, skirtų važiuoti tiesiai, per atstumą, kuriame tilptų viena važiuojamoji dalis su ne mažiau kaip viena eismo juosta, ir nutiesta į sankryžą, o už sankryžos ji nutiesta dešiniuoju mažo spindulio vingiu, toliau pratęsta lygiagrečiai kertamojo kelio ašinei linijai tokiu atstumu, kad, tarp jos ir važiuojamųjų dalių, skirtų važiuoti tiesiai, tilptų ne mažiau kaip po vieną eismo juostą turinčios dvi važiuojamosios dalys; nutiesta reikiamo ilgio (atstumas, kuriame turėtų tilpti į kairę važiuojantis transportas), už kurio 180° kampu dešiniuoju mažo spindulio vingiu, toliau tiesiai, greta važiuojamosios dalies, skirtos važiuoti tiesiai, nutiesta į sankryžą; važiuojamoji dalis, skirta važiuoti į dešinę, nutiesta iš pirmosios dešinės eismo juostos ir dar gerokai prieš sankryžą atitraukta į dešinę nuo važiuojamosios dalies, skirtos važiuoti į kairę, per atstumą, kuriame tilptų važiuojamoji dalis su ne mažiau kaip viena eismo juosta, nutiesta link sankryžos ir dešiniuoju vingiu prijungta prie kertamojo kelio važiuojamosios dalies;

[0014] kiekvieno kelio eismo juostos, skirtos važiuoti sankryžoje tik tiesiai, nutiestos greta kelio ašinės linijos arba skiriamosios juostos, o atitinkamame atstume (kuriame tilptų iš kertamojo kelio kairės pusės važiuojantis transportas į kairę) prieš sankryžą jos atitrauktos į dešinę tiek, kad nuo jų iki ašinės linijos arba skiriamosios juostos liktų atstumas, kuriame tilptų ne mažiau kaip viena eismo juosta; eismo juostos, skirtos važiuoti į kairę ir į dešinę, nutiestos dešinėje pusėje, greta eismo juostų, skirtų važiuoti tiesiai, atitinkamai antrąja ir pirmąja eismo juostomis iki sankryžos; sankryžoje jos abi nutiestos dešiniuoju vingiu, toliau dešiniuoju kraštu tiesiai reikiamu atstumu (kuriame tilptų į kairę per vieną leidžiamą šviesoforo signalą važiuojantis transportas), už kurio antroji eismo juosta, skirta važiuoti į kairę, kertant ne mažiau kaip dvi eismo juostas ir ašinę liniją arba skiriamąją juostą, nutiesta mažo spindulio kairiuoju vingiu 180° kampu ir už ašinės linijos arba skiriamosios juostos, greta važiuojamosios dalies, skirtos važiuoti į sankryžą, nutiesta į sankryžą.

[0015] TRUMPAS BRĖŽINIŲ APRAŠYMAS

[0016] Patobulintos X formos sankryžos vaizdai plane, eismo juostų, važiuojamųjų dalių išsidėstymas plane ir jų taikymo galimybės pavaizduotos Fig. 1/4, Fig. 2/4, Fig. 3/4 ir Fig. 4/4.

[0017] Fig. 1/4 pavaizduotas pirmas Patobulintos X formos sankryžos techninis sprendimas, Fig. 3/4, pavaizduotas šio sprendimo realizavimo būdas.

[0018] Fig. 2/4 pavaizduotas antras Patobulintos X formos sankryžos techninis sprendimas, Fig. 4/4 pavaizduotas šio sprendimo realizavimo būdas.

[0019] Fig. 1/4 pavaizduotas pirmas Patobulintos X formos sankryžos techninis sprendimas sudarytas iš:

[0020] kelio A, turinčio eismo juostas ain3 ir ain2, skirtas važiuoti sankryžoje tik tiesiai; važiuojamąją dalį a|1, nutiestą į sankryžą ir skirtą važiuoti sankryžoje tiesiai, o už jos nutiestą dešiniuoju mažo spindulio vingiu į kelio B važiuojamąją dalį a|2, nutiestą lygiagrečiai kelio B ašinei linijai tam tikrą atstumą, kuriame tilptų per vieną leidžiamą šviesoforo signalą į kairę važiuojantis transportas, toliau dešiniuoju mažo spindulio 180° vingiu nutiestą į važiuojamąją dalį a|3, kuri nutiesta į sankryžą tiesiai, o už jos tiesiai į kelio D eismo juostą a|4; kelio A išvažiavimui skirtų eismo juostų aout1,b|4, aout2, aout3;

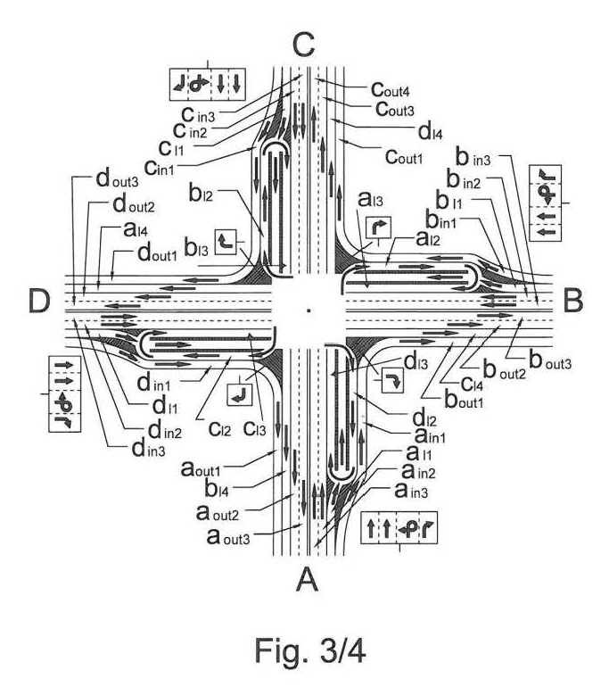
[0021] kelių B, C ir D, turinčių tiek pat eismo juostų, važiuojamųjų dalių, kurios nutiestos lygiai taip pat, kaip eismo juostos ir važiuojamosios dalys aprašytos kelyje A.

[0022] Fig. 2/4 pavaizduotas antras Patobulintos X formos sankryžos techninis sprendimas sudarytas iš:

[0023] kelio A, turinčio eismo juostą ain2, skirtą važiuoti sankryžoje tik tiesiai, nutiestą greta kelio ašinės linijos arba skiriamosios juostos ir dar gerokai prieš sankryžą atitrauktą nuo jos, kad tilptų eismo juosta d׀3, skirta važiuoti iš kelio D į kelią C;

[0024] eismo juostą a|1, skirtą važiuoti į kelią D, nutiestą iš viduriniosios juostos į sankryžą, kurioje nutiesta dešiniuoju vingiu į kelią B ir greta to kelio eismo juostos bout2, nutiestą tokiu atstumu, kad tilptų transportas, važiuojantis iš kelio A į kelią D per vieną žalio signalo laiką, o toliau kairiuoju 180° mažo spindulio vingiu nutiestą kertant kelio B eismo juostas bout2, c|4, kelio B ašinę liniją arba skiriamąją juostą ir eismo juosta a|3 nutiestą į sankryžą tiesiai, o už sankryžos, į kelio D eismo juostą a|4; eismo juostą a|n1, nutiestą sankryžoje dešiniuoju vingiu ir skirtą važiuoti į dešinę; kelio A išvažiavimui skirtų juostų aout1, aout2, b|4 ir eismo juostą, d|2, skirtą važiuoti iš kelio D į kelią C;

[0025] kelių B, C ir D turinčių tiek pat eismo juostų, kurios nutiestos lygiai taip pat, kaip ir kelio A.

[0026] IŠRADIMĄ APIBŪDINANTYS DUOMENYS

[0027] Fig. 3/4 pavaizduotas Patobulintos X formos sankryžos pirmojo techninio sprendimo realizavimo būdas. Siekiant, kad eismas vyktų Patobulintoje X formos sankryžoje norima tvarka, būtina prieš ją reikiamu atstumu kiekviename kelyje įrengti kelio ženklus, nurodančius leidžiamą važiavimo kryptį iš kiekvienos važiuojamosios dalies arba eismo juostos. Esant reikalui, leidžiamą važiavimo kryptį galima pakartoti važiuojamoje dalyje arba virš jos. Eismą šio tipo sankryžose rekomenduojama reguliuoti šviesoforais.

[0028] Vadovaujantis kelio ženklais, (ženklinimu) iš kiekvieno kelio galima važiuoti sankryžoje:

[0029] iš trečios ir ketvirtos eismo juostų ain2, ain3; bin2, bin3; cin2, cin3 ir din2, din3 - tik tiesiai;

[0030] iš antros eismo juostos (važiuojamąja dalimi a|1, b|1, c|1 ir d|1) sankryžą pravažiuoti tik tiesiai, tuojau už jos, pasukti į dešinę, toliau (atitinkamai važiuojamąja dalimi a|2, b|2, c|2 ir d|2) tiesiai, apsisukti dešiniuoju vingiu ir sankryžą pravažiuoti (atitinkamai važiuojamąja dalimi a|3, b|3, c|3 ir d|3) tiesiai.

[0031] Tam, kad nesumažėtų eismo saugumas, važiuojamosios dalies a|2 apsisukimo vietoje kertant važiuojamąją dalį b|1, susikirtime eismą tikslinga reguliuoti šviesoforu;

[0032] iš pirmos eismo juostos (važiuojamąja dalimi ain1, bin1, cin1 ir din1) galima važiuoti į dešinę.

[0033] Rekomenduojamas šviesoforo darbo ciklas keliui AC - geltonas - žalias - geltonas - raudonas - raudonas - geltonas; keliui BD - geltonas - raudonas - geltonas - žalias - geltonas - raudonas - geltonas; pėstiesiems - raudonas - raudonas - geltonas - žalias - geltonas.

[0034] Eismo tvarka kelyje AC, degant žaliam signalui:

[0035] kelyje A ir kelyje C važiuoja vienu metu transporto priemonės eismo juostomis ain2, ain3, cin2, cin3 tiesiai, važiuojamosiomis dalimis d|3 ir b|3 tiesiai, važiuojamosiomis dalimis a|1 ir c|1 tiesiai, o už sankryžos, pasukę į dešinę, užpildo važiuojamąsias dalis a|2 ir c|2, degant žaliam signalui, apsisuka 180° vingyje ir užpildo važiuojamąsias dalis a|3 ir c|3, o į sankryžą važiuoja tik įsijungus kalio BD žaliam šviesoforo signalui;

[0036] važiuojamosiomis dalimis ain1 ir cin1 į dešinę;

[0037] Degant kelyje BD žaliam signalui, eismo tvarka ir kryptys analogiškos aprašytoms.

[0038] Fig. 4/4 pavaizduotas Patobulintos X formos sankryžos antro techninio sprendinio realizavimo būdas. Vadovaujantis kelio ženklais (ženklinimu) iš kiekvieno kelio galima važiuoti:

[0039] pirmąja eismo juosta ain1, bin1, cin1 ir din1 į dešinę;

[0040] antrąja eismo juosta a|1, b|1, c|1 ir d|1 sankryžoje pasukti į dešinę, antrąją kertamojo kelio eismo juostą a|2, b|2, c|2 ir d|2, eismo juostos 180° vingyje apsisukti ir eismo juosta a|3, b|3, c|3 ir d|3 pravažiuoti sankryžą tik tiesia

[0041] trečiąja eismo juosta ain2, bin2, cin2 ir din2 sankryžoje važiuoti tiesiai.

[0042] Važiavimo sankryžoje Fig. 4/4 eilės tvarka:

[0043] kai dega žalias signalas kelyje A-C:

[0044] važiuoja automobiliai eismo juostomis ain2, d|3 ir cin2, b|3 tik tiesiai;

[0045] kartu važiuoja automobiliai eismo juostomis a|1, ain1 ir c|1, cin1 į dešinę.

[0046] Automobiliai, važiuojantys eismo juostomis ain1 ir cin1, sankryžą pravažiuoja, o, važiuojantys eismo juostomis a|2 ir c|2, pravažiavę sankryžą, gali kirsti eismo juostas bout2, c|4 ir dout2, a|4, jeigu dega žalias prieš apsisukimą šviesoforo signalas ir užpildo eismo juostas a|3 ir c|3. Į sankryžą gali važiuoti tik degant žaliam kelyje BD šviesoforo signalui.

[0047] Analogiška važiavimo tvarka ir degant žaliam šviesoforo signalui kelyje BD.

[0048] Iš aprašytų abiejų techninių sprendinių realizavimo būdų ir eismo tvarkos sankryžoje matyti:

[0049] sankryžoje galima nuvažiuoti į kairėje pusėje esantį kelią nedarant sankryžoje kairiojo vingio, o apsisukimo vietos yra už kelių susikirtimo ribų, apsisukimas yra saugus, nes apsisukimo vieta reguliuojama šviesoforu;

[0050] sankryžos pralaidumas didėja, nes sumažėja šviesoforo darbo taktų skaičius cikle. Degant žaliam signalui, pravažiuoja transporto priemonės visomis kryptimis; nesant kairiojo vingio, sankryža tampa tinkama koordinuoto eismo organizavimui.

Apibrėžtis

1. Patobulinta X formos sankryža, susidedanti iš dviejų susikertančių kelių viename lygyje, turinčių eismo juostas, skirtas važiuoti tiesiai, į dešinę ir į kairę, b e s i s k i r i a n t i tuo, kad kiekvieno kelio eismo juostos, skirtos važiuoti sankryžoje į kairę, yra nutiestos iš antrosios juostos ir, dar gerokai prieš sankryžą, atskirtos nuo eismo juostų, skirtų važiuoti tiesiai, per atstumą, kuriame tilptų viena važiuojamoji dalis su ne mažiau kaip viena eismo juosta, ir nutiesta į sankryžą, o už sankryžos ji nutiesta dešiniuoju vingiu 90° kampu, toliau pratęsta lygiagrečiai kelio ašinei linijai tokiu atstumu, kad, tarp jos ir važiuojamųjų dalių, skirtų važiuoti tiesiai, tilptų ne mažiau kaip po vieną eismo juostą turinčios dvi važiuojamosios dalys; nutiesta reikiamo ilgio, už kurio 180° kampu dešiniuoju vingiu, toliau tiesiai, greta važiuojamosios dalies, skirtos važiuoti tiesiai, nutiesta į sankryžą; važiuojamoji dalis, skirta važiuoti į dešinę, nutiesta iš pirmosios dešinės eismo juostos ir dar gerokai prieš sankryžą atitraukta į dešinę nuo važiuojamosios dalies, skirtos važiuoti į kairę, per atstumą, kuriame tilptų važiuojamoji dalis su ne mažiau kaip viena eismo juosta, nutiesta link sankryžos ir dešiniuoju vingiu prijungta prie kertamojo kelio važiuojamosios dalies.

2. Patobulinta X formos sankryža, susidedanti iš dviejų susikertančių kelių, turinčių eismo juostas, skirtas važiuoti tiesiai, į dešinę ir į kairę, b e s i s k i r i a n t i tuo, kad kiekvieno kelio eismo juostos, skirtos važiuoti sankryžoje tiesiai, nutiestos į sankryžą greta kelio ašinės linijos arba skiriamosios juostos, o atitinkamame atstume prieš sankryžą jos atitrauktos į dešinę tiek, kad nuo jų iki ašinės linijos arba skiriamosios juostos liktų atstumas, kuriame tilptų ne mažiau kaip viena eismo juosta; eismo juostos, skirtos važiuoti į kairę ir į dešinę, nutiestos dešinėje pusėje, greta eismo juostų, skirtų važiuoti tiesiai, atitinkamai antrąja ir pirmąja eismo juostomis iki sankryžos; sankryžoje jos abi nutiestos dešiniuoju vingiu, toliau dešiniuoju kraštu tiesiai reikiamu atstumu, už kurio antroji eismo juosta, skirta važiuoti į kairę, atskirta nuo dešiniosios ir, kertant ne mažiau kaip dvi eismo juostas, ašinę liniją arba skiriamąją juostą, nutiesta kairiuoju vingiu 180° kampu, o už ašinės linijos arba skiriamosios juostos, greta važiuojamosios dalies, skirtos važiuoti į sankryžą, nutiesta

Brėžiniai