LT7036B

SULANKSTOMA DĖŽĖ

FOLDING BOX

Referatas

[LT] Šis išradimas susijęs su sulankstomų/išlankstomų dėžių gamybos technikos sritimi ir gali būti panaudotas tiek statybų darbuose, norint sudėti statybos įrankius, tiek, laikyti bei saugoti daiktus, esančius garaže ar ūkiniame pastate. Išradimo tikslas – sukurti mobilią, saugią, patikimą, lengvai, paprastai, per trumpą laiką sumontuojamą/išmontuojamą dėžę, skirtą daiktų sudėjimui, laikymui bei saugojimui. Tikslas pasiekiamas tuo, kad dėžėje dugnas 1, šoninės 2, galinės 3 sienelės ir dangtis 4 savo vidinėse pusėse turi pritvirtintus standumo profilius 5, kraštuose turi skirtingo pločio suformuotus atvartus 6, 7 nukreiptus į vidinę dėžės pusę, o lanksčius jungiamuosius elementus, sudaro dviejų dalių lankstai 8, trijų dalių lankstai 9, standumo lankstai 10 ir padėties fiksatoriai 11, turintys galimybę pasisukti apie savo ašį. Ant vienos šoninės 2 sienelės yra sumontuotas užrakinimo mechanizmas 12, ant dangčio 4, kuris yra sumontuotas prie kitos šoninės 2 sienelės, vienoje jo pusėje, per visa ilgį, yra suformuota besitęsianti rankena 17, o dėžės dydis apskaičiuojamas pagal pločio, aukščio ir ilgio atitinkamą santykį, kuris sudaro 1:2,043:1,064.

[EN] This invention relates to the field of folding/unfolding box production techniques and can be used both in construction work to store construction tools and to store and store things in a garage or outbuilding. The purpose of the invention is to create a mobile, safe, reliable, easy, simple, quickly assembled/dismantled box for stacking, storing, and storing things. The goal is achieved by the fact that the bottom 1, side 2, rear walls 3 and lid 4 of the box have rigid profiles 5 fixed on their inner sides, flaps 6, 7 of different widths are formed on the edges and are directed to the inner side of the box, and flexible connecting elements form two parts hinges 8, three-part hinges 9, stiffness hinges 10 and position holders 11, which have the ability to rotate about their axis. A locking mechanism 12 is mounted on one side wall 2, an extending handle 17 is formed on one side of the cover 4, which is mounted on the other side wall 2, along its entire length, and the size of the box is calculated according to the corresponding ratio of width, height and length, which is 1:2.043:1.064.

Aprašymas

[0001] TECHNIKOS SRITIS

[0002] Šis išradimas susijęs su metalinių sulankstomų dėžių gamybos technikos sritimi ir gali būti panaudotas tiek statybų darbuose, norint sudėti statybos įrankius, tiek sodininkystės darbuose, norint sudėti sodo tvarkymo įrankius, tiek transporto priemonių remonto ar priežiūros darbuose, norint sudėti automobilių detales ar įrankius, tiek kompiuterių ir kitų elektronikos priemonių taisymo darbuose, norint sudėti kompiuterinę įrangą į dėžę. Taip pat dėžė gali tarnauti žmonėms ir kasdieniniame gyvenime, turint tikslą sudėti daiktus, esančius garaže ar ūkiniame pastate.

[0003] TECHNIKOS LYGIS

[0004] Didėjant daiktų / įrankių laikymo bei saugojimo poreikiui, Lietuvoje ir užsienio valstybėse atsiranda įvairaus, patogesnio bei vis labiau išskirtinio pobūdžio dėžių: popierinių, plastikinių, metalinių ir kt. Kiek mums žinoma, užsienio valstybėse yra sukurtos ir užpatentuotos sulankstomos tiek popierinės, tiek plastikinės, tiek metalinės dėžės, tuo tarpu Lietuvoje, kiek mums žinoma, yra sukurtos ir užpatentuotos metalinės dėžės, tačiau šios nėra sulankstomos, todėl šiais analogais nėra įmanoma gauti mūsų sukurtu išradimo siekiamo techninio rezultato.

[0005] Yra žinomas Lietuvos patentas Nr. LT6749B, publikuotas 2020 m. rugpjūčio 10 d. Šiame patente aprašyta lauke esanti užrakinama lauko spintelė, susijusi su spintelių gamybos technine sritimi. Spintelėje yra spintelės korpusas su daiktadėžėmis. Ši dėžė gali būti naudojama skubių siuntų pristatymo industrijoje, taip pat gali būti naudojama įrengiant šalia parduotuvių, nešuliams laikinai saugoti.

[0006] Nors dėžė turi lietaus nukreipimo priemonę, kuri nukreipia vandenį ir taip dėžės vidus lieka sausas bei saugus, vis tik ši dėžė nėra sulankstoma, nėra transportuojama, ji labiau skirta daiktų laikinam saugojimui.

[0007] Yra žinomas korėjiečių patentas Nr. KR102101853B1, publikuotas 2020 m. balandžio 20 d. Šiame patente aprašyta sulankstoma pakavimo dėžė, pagaminama iš popieriaus arba plastiko, skirta įvairiems gaminiams saugoti. Ši dėžė greitai susilanksto, tačiau ji labiau skirta vaisiams ir kitiems maisto gaminiams laikyti. Šios dėžės plokštės suformuotos taip, jog būtų sulankstytos elastinėmis stygomis.

[0008] Nors dėžę galima lengvai transportuoti, visgi dėžė nėra skirta sunkių daiktų / įrankių laikymui, be to, dėžė nepasižymi saugumu, vandens nepralaidumu.

[0009] Yra žinomas Jungtinės Karalystės patentas Nr. GB1217574A, publikuotas 1970 m. gruodžio 31 d. Šiame patente aprašyta sulankstoma kartoninė dėžė, sudaryta iš ruošinio, kuris arba gali būti pastatytas kaip konteineris, arba gali būti sulankstytas tam, kad būtų galima patogiai transportuoti. Šios dėžės sienelės pritvirtintos prie pagrindo vyriais, tuo tarpu dėžėje tarp gretimų sienelių yra ruošinys, suformuotas su lenkimo linijomis, kad būtų galima užlenkimo į vidų būdu šias sulenkti ir suformuoti dėžės konstrukciją.

[0010] Nors šią dėžutę galima lengvai transportuoti ar pritvirtinti netgi prie sienos, panaudojant klijus, visgi dėžė labiau skirta lengvo svorio daiktams sudėti, taip pat yra pralaidi vandeniui, todėl labiau skirta naudoti vidaus laikymo sąlygomis.

[0011] Yra žinomas JAV patentas Nr. US10766661B2 ir Nr. US2018244424A1, publikuotas 2020 m. rugsėjo 8 d. Šiame patente aprašyta sulankstoma dėžė, pagaminama iš įvairiausių medžiagų, pradedant nuo kartono iki lankstaus plastiko, metalo, medžio. Dėžė skirta daiktų sandėliavimui, gabenimui. Ši dėžė susilanksto magnetiniu sujungimo būdu, t. y. vienoje pusėje skydelio yra magnetai, kitoje - medžiagos, kurios traukia magnetus. Nors dėžė iš tiesų gali būti plačiai taikoma dėl savo patogaus sukonstravimo mechanizmo, vis tik, tokioje srityje kaip statybų sektorius ši dėžė negalėtų būti naudojama, kadangi statybose naudojami ir metaliniai įrankiai, kurie faktiškai galėtų pritraukti magnetus, todėl jei dėžė būtų išlankstyta, prie jos galėtų prisikabinti netgi tokie įrankiai kaip varžtai, kas sukeltų nepatogumų.

[0012] Kitas JAV patentas Nr. US1769019A, publikuotas 1930 m. liepos 1 d. Šiame patente aprašyta sulankstoma metalinė dėžė. Dėžės dalys pagamintos iš plokščių, kurių beveik visi kraštai susukti į galvutes ir visos yra aprūpintos vientisai suformuotomis sutvirtinančiomis briaunomis. Dėžės sienos sujungtos rėmais, kurie suformuoti iš tankios vielos gabalo. Dėžės plokštės susilanksto laikiklių pagalba. Dėžės paskirtis - bakalėja ir kitos prekės, kurias reikia pristatyti į namus. Taigi ši dėžė tinkama vežiojant maisto prekes į namus.

[0013] Nors ši metalinė dėžė yra sulankstoma, vis tik dėžė nėra skirta sunkių įrankių laikymui, gabenimui ir saugojimui, labiau tinkama laikinų prekių, kurias reikės iškrauti, laikymui ir gabenimui.

[0014] Yra žinomas Kinijos patentas Nr. CN203921466U, publikuotas 2014 m. lapkričio 5 d. Šiame patente aprašyta sulankstoma nuimama metalinė transportavimo dėžė, kurios technikos sritis - transportavimas ir krovinių gabenimas. Šios dėžės sienos viena prie kitos pritvirtintos sukamųjų velenų pagalba, prie žemės pagrindo dėžė pritvirtinama varžtais. Dėžė turi keturias kojeles, ant kurių laikosi visa konstrukcija.

[0015] Nors dėžė ir gali atlaikyti sunkesnį krovinį, tačiau nėra lengvai sukonstruojama, kadangi konstruojant reikia sulygiuoti velenus, įstatyti pertvaras, sujungti ir priveržti varžtus. Taigi dėžės surinkimui vis vien reikėtų papildomų įrankių ir tai užimtų papildomo laiko.

[0016] Yra žinomas JAV patentas Nr. US7931164, publikuotas 2011 m. balandžio 26 d., kuriame aprašytas sulankstomas nešiojamas konteineris, kurio galinės sienelės yra vyriais pritvirtintos prie konteinerio pagrindo, o prie dangčio pritvirtintos šarnyriniu slydimo mechanizmu, kai vertikalus dangčio poslinkis vienu metu sukelia priešingų konteinerio galinių sienelių susilankstymą arba išsiskleidimą.

[0017] Šis techninis sprendimas nėra lengvai ir per trumpą laiką sumontuojamas / išmontuojamas, jo dangčio nuleidimui arba pakėlimui reikalingi papildomi įrankiai bei technika, o tai užima daug papildomo laiko ir piniginių sąnaudų.

[0018] IŠRADIMO ESMĖ

[0019] Išradimo tikslas - sukurti mobilią, saugią, patikimą, lengvai, paprastai, per trumpą laiką sumontuojamą/išmontuojamą dėžę, skirtą daiktų sudėjimui, laikymui bei saugojimui.

[0020] Išradimo tikslas yra pasiekiamas tuo, kad sulankstomoje/išlankstomoje dėžėje susidedančioje iš šešių plokščių, kurias sudaro dugnas 1, dvi šoninės 2, dvi galinės 3 sienelės bei dangtis 4 iš kurių, lanksčių jungiamųjų elementų pagalba, galima suformuoti ir išformuoti stačiakampę dėžę, kurios dugnas 1, šoninės 2 ir galinės 3 sienelės savo vidinėse pusėse turi pritvirtintus standumo profilius 5, kraštuose turi skirtingo pločio suformuotus atvartus 6, 7 nukreiptus į vidinę dėžės pusę, lanksčius jungiamuosius elementus sudaro dviejų dalių lankstai 8, trijų dalių lankstai 9, standumo lankstai 10 ir padėties fiksatoriai 11, ant vienos šoninės 2 sienelės yra sumontuotas užrakinimo mechanizmas 12, ant dangčio 4, kuris yra sumontuotas prie kitos šoninės sienelės, vienoje jos pusėje, per visą ilgį, yra suformuota besitęsianti rankena 17, o dėžės dydis apskaičiuojamas pagal pločio, aukščio ir ilgio atitinkamą santykį, kuris sudaro 1:2,043:1,064.

[0021] Be to, padėties fiksatoriai 11 yra pritvirtinti prie šoninių 2 sienelių, jie turi galimybę pasisukti apie savo ašį ir atlikti apkabinamą gretimų 2 ir 3 sienelių fiksaciją, o dviejų dalių lankstai 8 susideda iš dviejų tam tikros formos plokštelių, sujungtų tarpusavyje, viena iš kurių, savo laisvuoju galu, pritvirtinta prie dugno 1, o kita savo laisvuoju galu prie vienos iš šoninių 2 arba galinių 3 sienelių ir kuris leidžia sienelėm dėžės dugno l atžvilgiu pasisukti 180° kampu.

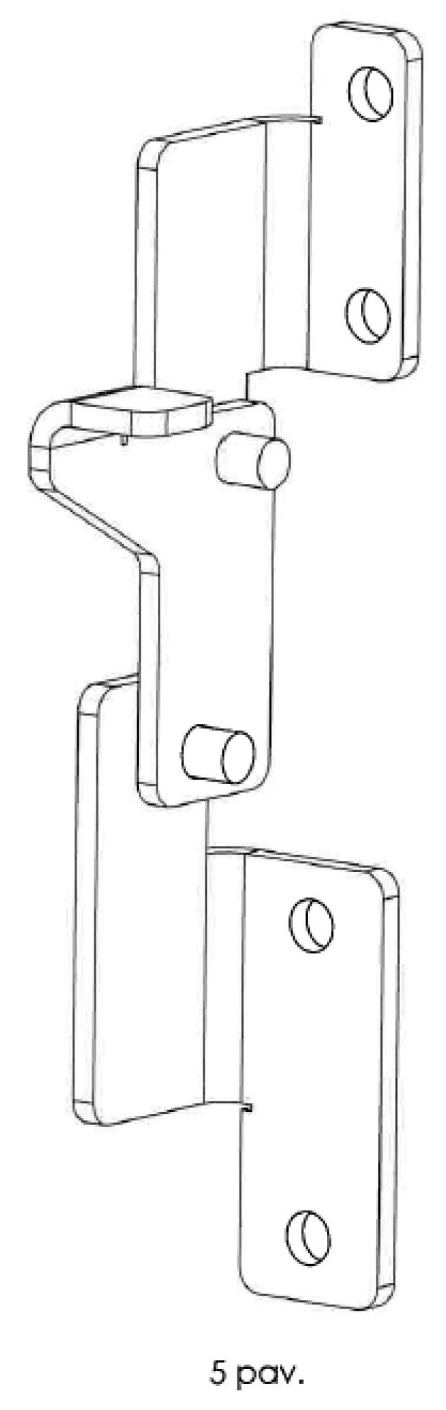
[0022] Taip pat, trijų dalių lankstai 9 susideda iš trijų tam tikros formos plokštelių, sujungtų tarpusavyje, kurių laisvieji galai atitinkamai yra pritvirtinti prie šoninės sienelės 3 ir dangčio 4 ir kurie leidžia šoninėm sienelėm 3 dangčio 4 atžvilgiu pasisukti 270° kampu.

[0023] Be to, standumo lankstai 10, susidedantys iš dviejų tam tikros formos plokštelių, sujungtų tarpusavyje, viena iš kurių, savo laisvuoju galu, pritvirtinta prie dugno 1, o kita savo laisvuoju galu prie vienos iš šoninių sienelių 3, ir kurie leidžia sienelei dėžės dugno 1 atžvilgiu pasisukti 180° kampu, o užrakinimo mechanizmas 12, susideda iš tarpusavyje sujungtų traukės 13, jos galuose pritvirtintų dviejų kablių 14, kurių forma turi atitikti išėmas suformuotas dangtyje 4, fiksatoriaus 15 ir svirties 16.

[0024] TRUMPAS BRĖŽINIŲ APRAŠYMAS

[0025] Išradimo esmė yra pavaizduota paveiksluose.

[0026] 1 pav. pavaizduota sulankstomos/išlankstomos dėžės išklotinė.

[0027] 2 pav. pavaizduota sulankstyta dėžė.

[0028] 3 pav. pavaizduota išlankstyta dėžė.

[0029] 4 pav. pavaizduotas dviejų dalių lankstas.

[0030] 5 pav. pavaizduotas trijų dalių lankstas.

[0031] 6 pav. pavaizduotas standumo lankstas.

[0032] 7 pav. pavaizduotas padėties fiksatorius.

[0033] 8 pav. pavaizduotas užrakinimo mechanizmas.

[0034] Sulankstoma dėžė susideda iš dugno 1, dvejų šoninių 2, dvejų galinių 3 sienelių bei dangčio 4, kurie savo vidinėse pusėse turi suformuotus standumo profilius 5, kraštuose turi atvartus 6, 7, nukreiptus į vidinę dėžės pusę (pav. 1). Jungiamuosius elementus sudaro dviejų dalių lankstai 8 (pav. 4), trijų dalių lankstai 9 (pav.5), standumo lankstai 10 (6 pav.) ir padėties fiksatoriai 11 (7 pav.). Dviejų dalių lankstai 8 sudaryti iš tam tikros formos dviejų plokštelių, turinčių galimybę pasisukti apie savo ašį 180° kampu. Trijų dalių lankstai 9 yra sudaryti iš trijų tam tikros formos plokštelių, turinčių galimybę pasisukti apie savo ašį 270° kampu. Standumo lankstai 10 yra sudaryti dviejų tam tikros formos plokštelių, turinčių galimybę pasisukti apie savo ašį 180° kampu ir kurių laisvieji galai atitinkamai yra pritvirtinti prie šoninių sienelių 3 ir dugno 1. Padėties fiksatoriai 11 (pav. 7), suformuojantys / išformuojantys dėžę, yra pritvirtinti prie šoninių 2 sienelių, turintys galimybę pasisukti apie savo ašį 90° kampu, jų forma turi atitikti išėmas suformuotas galinėse 3 sienelėse ir atlikti apkabinamą gretimų šoninės 2 ir galinės 3 sienelių fiksaciją. Ant vienos šoninės 2 sienelės yra sumontuotas užrakinimo mechanizmas 12 (8 pav.), kuris susideda iš tarpusavyje sujungtų traukės 13, jos galuose pritvirtintų dviejų kablių 14, kurių forma turi atitikti išėmas, suformuotas dangtyje 4, svirties 15 ir fiksatoriaus 16. Ant dangčio 4, vienoje jo pusėje, ir per visą jo ilgi, yra suformuota rankena 17.

[0035] IŠRADIMO REALIZAVIMO APRAŠYMAS

[0036] Dėžė sulankstoma / išlankstoma taip:

[0037] pav. 1 yra pavaizduota vientisa dėžės išklotinė, susidedanti iš 6 plokščių, kurią sudaro dugnas 1, prie jo prijungtos dvi šoninės sienelės 2, dvi galinės sienelės 3, kur prie vienos iš jų yra sumontuotas dangtis 4. Dėžės išlankstymui, t. y. sudėjimui į eksploatacinę padėtį (3 pav.), visos dėžės sienelės yra pastatomos stačiu kampu dugno 1 atžvilgiu. Tai atlikti nesudėtinga, nes dviejų dalių lankstų 8 dėka jos lengvai gali pasisukti dugno l atžvilgiu. Gretimos, šoninė 2 ir galinė 3 sienelės, tarpusavyje sutvirtinamos padėties fiksatorių 11 pagalba (7 pav.). Padėties fiksatoriai 11, kurie yra pritvirtinti prie šoninių 2 sienelių, perkišami per išėmas, suformuotas gretimoje galinėje sienelėje 3 ir pasukami 90° kampu, tokiu būdu atlikdami jų apkabinamą fiksaciją. Ties dėžės dugno 1 viduriu yra sumontuoti standumo lankstai 10 (6 pav.), kurie sudaro galimybę sukiotis 180° kampu šoninėms sienelėms 3 dugno 1 atžvilgiu ir užtikrina visos dėžės standumą ir stabilumą esant eksploatacinėje padėtyje. Sutvirtinus prie dugno 1 prijungtas šonines 2 ir galines 3 sieneles, ant suformuoto stačiakampio užverčiamas dangtis 4, kuris yra trijų dalių lankstų 9 (5 pav.) pagalba pritvirtintas prie vienos iš šoninių 2 sienelių ir turi galimybę pasisukti 270° kampu sienelės atžvilgiu. Vienoje dangčio 4 pusėje, per visą jo ilgį, yra suformuota besitęsianti rankena 17, leidžianti patogiai atidaryti bei uždaryti dėžės dangtį 4. Kitoje šoninėje 2 sienelėje yra įmontuotas užrakinimo mechanizmas 12 (8 pav.), kuris susideda iš tarpusavyje sujungtų traukės 13, jos galuose pritvirtintų dviejų kablių 14, kurių forma turi atitikti išėmas, suformuotas dangtyje 4, svirties 15 ir fiksatoriaus 16. Dėžė užrakinama pasukus svirtį 15 į kairę pusę ir užspaudus fiksatorių 16. Tokia rakinama dėžė užtikrina joje laikomų daiktų saugumą. Ant dangčio 4, suformuota rankena 17 leidžia patogiai atidaryti ar uždaryti dėžę, pakeisti jos padėtį, pastumiant ar pernešant į kitą vietą.

[0038] Atliekant atbulinį veiksmą t. y. sulankstant dėžę (2 pav.) į transportavimo padėtį, veiksmai atliekami atbuline tvarka: atverčiamas jos dangtis 4, atlenkiami fiksatoriai 11, atpalaiduojantys šonines 2 ir galines 3 sieneles, kurios suguldomos ant dugno 1. Pradžioje guldome galinės 3 sienelės, vėliau šonines sienelės 2, o po to uždengiame dangčiu 4.

[0039] Dėžės forma yra stačiakampė, tačiau ji gali būti įvairaus dydžio. Kad dėžė tinkamai susilankstytų bei išsilankstytų, kiekvienos plokštės matmenys turi atitikti tam tikrą ilgio, pločio bei aukščio santykį, kuris sudaro 1:2,043:1,064.

[0040] PRAMONINIS PRITAIKOMUMAS

[0041] Pateiktas techninis sprendimas, dėka lanksčių jungiamųjų elementų, turinčių galimybę pasisukti apie savo ašį ir jungiančių atskiras sulankstomos / išlankstomos dėžės plokštes, leido sukurti nesudėtingą, lengvai, per trumpą laiką sumontuojamą / išmontuojamą, saugią dėžės konstrukciją, skirtą daiktų sudėjimui, saugojimui bei laikymui. Tokio tipo dėžės ypač naudojamos tiek statybų darbuose, norint sudėti statybos įrankius, tiek sodininkystės darbuose, tiek transporto priemonių remonto ar priežiūros darbuose, tiek kompiuterių ir kitų elektronikos priemonių taisymo darbuose, norint sudėti kompiuterinę įrangą. Taip pat, tokio tipo dėžės sėkmingai gali tarnauti žmonėms ir kasdieniniame gyvenime, turint tikslą sudėti daiktus, esančius garaže ar ūkiniame pastate.

Apibrėžtis

1. Sulankstoma/išlankstoma dėžė susidedanti iš šešių plokščių, kurias sudaro dugnas 1, dvi šoninės 2, dvi galinės 3 sienelės bei dangtis 4, iš kurių, lanksčių jungiamųjų elementų pagalba, galima suformuoti ir išformuoti stačiakampę dėžę, b e s i s k i r i a n t i tuo, kad dugnas 1, šoninės 2, galinės 3 sienelės ir dangtis 4 savo vidinėse pusėse turi pritvirtintus standumo profilius 5, kraštuose turi skirtingo pločio suformuotus atvartus 6, 7 nukreiptus į vidinę dėžės pusę, lanksčius jungiamuosius elementus sudaro dviejų dalių lankstai 8, trijų dalių lankstai 9, standumo lankstai 10 ir padėties fiksatoriai 11, ant vienos šoninės 2 sienelės yra sumontuotas užrakinimo mechanizmas 12, ant dangčio 4, kuris yra sumontuotas prie kitos šoninės 2 sienelės, vienoje jo pusėje, per visą ilgį, yra suformuota besitęsianti rankena 17, o dėžės dydis apskaičiuojamas pagal pločio, aukščio ir ilgio atitinkamą santykį, kuris sudaro 1:2,043:1,064.

2. Sulankstoma/išlankstoma dėžė pagal 1 punktą b e s i s k i r i a n t i tuo, kad padėties fiksatoriai 11 yra pritvirtinti prie šoninių 2 sienelių, jie turi galimybę pasisukti apie savo ašį ir atlikti apkabinamą gretimų 2 ir 3 sienelių fiksaciją.

3. Sulankstoma/išlankstoma dėžė pagal 1 punktą b e s i s k i r i a n t i tuo, kad dviejų dalių lankstai 8 susideda iš dviejų tam tikros formos plokštelių, sujungtų tarpusavyje, viena iš kurių, savo laisvuoju galu, pritvirtinta prie dugno 1, o kita savo laisvuoju galu prie vienos iš šoninių 2 arba galinių 3 sienelių ir kuris leidžia sienelėm dėžės dugno 1 atžvilgiu pasisukti 180° kampu.

4. Sulankstoma/išlankstoma dėžė pagal 1 punktą b e s i s k i r i a n t i tuo, kad trijų dalių lankstai 9 susideda iš trijų tam tikros formos plokštelių, sujungtų tarpusavyje, kurių laisvieji galai atitinkamai yra pritvirtinti prie šoninės sienelės 3 ir dangčio 4 ir kurie leidžia šoninėm sienelėm 3 dangčio 4 atžvilgiu pasisukti 270° kampu.

5. Sulankstoma/išlankstoma dėžė pagal 1 punktą b e s i s k i r i a n t i tuo, kad standumo lankstai 10, susidedantys iš dviejų tam tikros formos plokštelių, sujungtų tarpusavyje, viena iš kurių, savo laisvuoju galu, pritvirtinta prie dugno 1, o kita savo laisvuoju galu prie vienos iš šoninių sienelių 3 ir kurie leidžia sienelei dėžės dugno 1 atžvilgiu pasisukti 180° kampu.

6. Sulankstoma/išlankstoma dėžė pagal 1 punktą b e s i s k i r i a n t i tuo, kad užrakinimo mechanizmas 12 susideda iš tarpusavyje sujungtų traukės 13, jos galuose pritvirtintų dviejų kablių 14, kurių forma turi atitikti išėmas suformuotas dangtyje 4, svirties 15 ir fiksatoriaus 16.

Brėžiniai