LT7030B

REKETINIS PLATAUS SPEKTRO SPINDULIUOTĖS JUTIKLIS

RATCHET-BASED SENSOR OF BROAD RADIATION SPECTRUM

Referatas

[LT] Išradimas skirtas elektronikos sričiai, susijusiai su elektromagnetiniais spinduliuotės jutikliais. Išradimo esmė yra ta, kad reketinio spinduliuotės jutiklio aktyviajame sluoksnyje asimetrinis elektrinis potencialas yra sukuriamas heterosandūriniame varizoniniame darinyje tarp dviejų elektroninio laidumo puslaidininkių 1 ir 2, pasižyminčių, atitinkamai, siauru Eg1 ir platesniu Eg2 draudžiamosios energijos tarpu, o potencialo gradientas formuojamas puslaidininkio 2 epitaksinio auginimo metu palaipsniui keičiant jo Eg2 dydį nuo maksimalios jo vertės Eg2max iki minimalios Eg2min = Eg1 vertės, tokiu būdu gaunant puslaidininkinį darinį, kurio laidumo juostos dugno lygis vertikalioje energijų skalėje nuo žemiausios padėties, atitinkančios 1 puslaidininkį, staigiai pakyla iki maksimalios padėties, atitinkančios Eg2max vertę 2 puslaidininkyje, ir palaipsniui leidžiasi iki žemiausios padėties tol, kol Eg2 tampa lygus Eg1. Tokie aktyvieji sluoksniai, turintys asimetrinį potencialą, užauginami nuosekliai numatytą skaičių kartų, reikalingą dideliam jutiklio jautriui gauti. Pagal išradimą pasiūlytas reketinis spinduliuotės jutiklis detektuoja spinduliuotę, kurios fotono energija yra tiek mažesnė, tiek ir didesnė už siauriausią aktyviojo sluoksnio draudžiamosios energijos tarpą.

[EN] The invention is directed to the field of electronics related to sensors of electromagnetic radiation. The essence of the invention is that in the active layer of the ratchet radiation sensor, an asymmetric electric potential is created in a heterojunction graded gap formation between two electron conductivity semiconductors 1 and 2, characterized by a narrow Eg1 and a wider Eg2 forbidden energy gap, respectively, and the potential gradient is formed during the epitaxial growth of the semiconductor 2 gradually changing the magnitude of its Eg2 from its maximum value Eg2max to its minimum value Eg2min = Eg1, thus obtaining a semiconductor structure whose bottom level of the conduction band on the vertical energy scale rises sharply from the lowest position corresponding to semiconductor 1 to the maximum position corresponding to the value Eg2max in semiconductor 2, and gradually descends to the lowest position until Eg2 becomes equal to Eg1. Such active layers with asymmetric potential are grown sequentially for a predetermined number of times required to obtain high sensitivity of the sensor. The ratchet-based radiation sensor detects radiation whose photon energy is both lower and higher than the narrowest forbidden energy gap of the active layer.

Aprašymas

[0001] TECHNIKOS SRITIS

[0002] Išradimas skirtas elektronikos sričiai, susijusiai su elektromagnetiniais spinduliuotės jutikliais. Labiausiai išradimas yra susijęs su lazerinės spinduliuotės aptikimu ir jos galios matavimu.

[0003] TECHNIKOS LYGIS

[0004] Spinduliuotės (šviesos) jutiklis yra pasyvus elektronikos elementas konvertuojantis elektromagnetinės spinduliuotės energiją į elektrinį signalą. Tokie jutikliai yra neįkainojami įrankiai daugelyje pramonės šakų, ypač jų poreikis yra aktualus sparčiai besivystančioms šiuolaikinėms lazerinėms technologijoms. Kadangi tipinio šviesos jutiklio veika yra susijusi su šviesos fotono sugertimi jutiklio medžiagoje, jie paprastai yra skirstomi į dvi rūšis, į:

[0005] • kvantinius jutiklius ir

[0006] • šiluminius jutiklius.

[0007] Puslaidininkiniai fotovaržai, fotodiodai ir fototranzistoriai yra tipiniai kvantinių šviesos jutiklių atstovai. Kvantinis jų pobūdis yra sąlygotas puslaidininkio draudžiamosios energijos tarpu, priemaišinių lygmenų energijos juosta ar kitais energijos lygmenimis. Todėl šie jutikliai yra selektyvūs - jų veikos spektras yra apribotas šiomis energijomis. Be to, infraraudonosios, o ypač tolimosios infraraudonosios, srities kvantinių jutiklių darbas paprastai reikalauja žemų kriogeninių temperatūrų. Šiluminiai jutikliai, tokie kaip bolometrai ar piroelektriniai detektoriai, naudoja elektromagnetinę spinduliuotę kaip šilumos šaltinį; dažniausiai jų jautris yra mažesnis, o sparta lėtesnė.

[0008] Technikoje reketas - tai mechanizmas, suteikiantis velenui periodinį sukimosi judesį viena kryptimi. Klasikinis filosofinis mechaninio reketo - amžinojo variklio - pavyzdys yra Brauno (Brown) ar Feinmano-Smoluchovskio (Feynman-Smoluchowski) reketas - tai įtaisas galintis atsitiktinį šiluminį dalelių judėjimą panaudoti kryptiniam judesiui sukurti, t.y., šiluminę energiją paversti mechaniniu darbu. Elektroniniai reketai - tai įtaisai turintys periodinį asimetrinį elektrinio potencialo pasiskirstymą ir galintys atsitiktiniam elektringųjų dalelių judėjimui suteikti kryptinį pobūdį. Tokiu būdu, elektroniniai reketai gali lyginti atsitiktine tvarka, chaotiškai osciliuojančius elektrinius signalus, tokius kaip, pavyzdžiui, elektrinis šiluminis triukšmas, ir taip tiekti vienakryptę srovę ar įtampą.

[0009] Yra išskiriami dviejų rūšių elektroniniai reketai: 1) žybsintis (angl. flashing) reketas, kuriame asimetrinis potencialas yra pakartotinai sukuriamas ir panaikinamas išoriniu elektriniu signalu, ir 2) sukrečiantis (angl. rocking) reketas, kuriame visas asimetrinis periodinis potencialas yra pakreipiamas, ar "sukrečiamas", išoriniu poveikiu. Abiem atvejais išorinio poveikio vidurkis laike yra lygus nuliui.

[0010] Pagrindinė elektroninių reketų realizavimo problema kyla dėl sudėtingų, smulkios litografijos būdu gaminamų struktūrų, kvantiškai apribotų heterodarinių bei/ar jų panaudojimo kriogeninėse temperatūrose. Buvo pademonstruoti kambario temperatūroje funkcionuojantys elektroniniai reketai turintys periodinę eilę lauko tranzistoriaus tipo asimetrinių sklendžių (patentas US20180145271; E.M. Roeling ir kiti, Organic electronic ratchets doing work, Nat. Mater. 10, p. 51, 2011). Efektyvi tokių reketų veika yra ribojama poreikiu naudoti organinius puslaidininkius pasižyminčius mažu krūvio nešėjų tankiu bei judriu (paprastai mažesniu už 1 cm2/(V•s). Taipogi, buvo parodytas žybsinčio reketo, sukurto AlGaAs/GaAs puslaidininkių pagrindu, veikimas irgi kambario temperatūroje, tačiau jo gamyba reikalavo sudėtingos puslaidininkinių nanovielučių bei nanometrų matmenų asimetrinių metalinių sklendžių Šotkio (Schottky) kontakto pagrindu realizavimo (T. Tanaka, Y. Nakano, S. Kasai, GaAs-Based Nanowire Devices with Multiple Asymmetric Gates for Electrical Brownian Ratchets, Jpn. J Appl. Phys. 52, p. 06GE07, 2013).

[0011] Artimiausias analogas yra teorinis elektroninio reketinio jutiklio modelis, kuriame periodinis asimetrinis potencialas laidžiajame silicio sluoksnyje yra sukuriamas mechaninių tampriųjų deformacijų gradientais atsirandančiais dėl Si ir ant jo paviršiaus nusodinto Si1-xGex kristalinių gardelių konstantų skirtumo (B. Lau, O. Kedem, M. Kodaimati, M.A. Ratner, and E.A. Weiss, A Silicon Ratchet to Produce Power from Below-Bandgap Photons, Adv. Energy Mater. 7, p. 1701000, 2017). Fotovoltinis efektas pasiekiamas apšviečiant reketą tolimosios infraraudonosios srities spinduliuote. Analogas turi eilę trūkumų, kaip antai:

[0012] • kintamo germanio kiekio (x dalies) parinkimas Si1-xGex medžiagoje tinkamam asimetriniam potencialui gauti ir jos periodinis viendimensinis nusodinimas ant specialiai paruošto paviršiaus kelių šimtų nanometrų periodu išlaikant pastovų sudėties gradientą yra sudėtinga technologinė operacija;

[0013] • aktyviojo jutiklio Si sluoksnio storis yra tik apie 100 nm, nes jis yra ribojamas tampriosios deformacijos prasiskverbimu gilyn į silicį; tokiame ploname sluoksnyje

[0014] a) nėra efektyviai sugeriama krintanti spinduliuotė, b) jo homogeniškumas, reikalingas efektyviam krūvininkų transportui, gali būti neigiamai įtakojamas paviršinių defektų, c) tokio elektros srovės šaltinio vidinė varža yra didelė dėl mažo planarinio skerspjūvio ploto;

[0015] • asimetrinio periodinio elektrinio potencialo periodų skaičius yra ribojamas aktyviojo sluoksnio ilgiu;

[0016] • šis jutiklis yra numatytas dirbti apšviečiant jį spinduliuote, kurios fotono energija yra mažesnė už aktyviojo puslaidininkinio sluoksnio draudžiamosios energijos tarpą.

[0017] Sprendžiama techninė problema

[0018] Išradimu siekiama sukurti analogo trūkumų neturintį elektroninį reketinį spinduliuotės jutiklį, kuriam būdinga paprastesnė technologinė gamyba, neribojamas aktyviosios srities, kurioje sugeriama spinduliuotė, storis, neribojamas periodinio asimetrinio potencialo periodų skaičius, ir kuris detektuoja plataus spektro elektromagnetinę spinduliuotę.

[0019] IŠRADIMO ESMĖ

[0020] Uždavinio sprendimo esmė pagal pasiūlytą išradimą yra ta, kad reketinio spinduliuotės jutiklio aktyviajame sluoksnyje asimetrinis elektrinis potencialas yra sukuriamas heterosandūriniame varizoniniame, t.y., kintamo draudžiamosios energijos tarpo, darinyje tarp dviejų elektroninio laidumo (n-tipo) puslaidininkių 1 ir 2, pasižyminčių skirtingu draudžiamosios energijos tarpu, atitinkamai, siauru Eg1 ir platesniu Eg2, o potencialo gradientas formuojamas platesniojo draudžiamosios energijos tarpo puslaidininkio 2 sluoksnyje jo auginimo metu palaipsniui mažinant Eg2 dydį nuo maksimalios jo vertės Eg2max iki minimalios Eg2min = Eg1 vertės (ar palaipsniui didinant Eg2 dydį nuo Eg2min = Eg1 vertės iki maksimalios Eg2max vertės - priklausomai nuo sluoksnio auginimo metodo), tokiu būdu gaunant puslaidininkinį darinį, kurio laidumo juostos dugno lygis vertikalioje energijų skalėje nuo žemiausios padėties, atitinkančios 1 puslaidininkį, staigiai pakyla iki maksimalios padėties, atitinkančios Eg2max vertę 2 puslaidininkyje, ir palaipsniui leidžiasi iki žemiausios padėties tol, kol Eg2 tampa lygus Eg1.

[0021] Skirtumas tarp laidumo juostos aukščiausios ir žemiausios padėčių, t.y., potencialinio barjero aukštis yra nuo 100 meV iki 500 meV priklausomai nuo jutiklio spektrinio jautrio poreikio bei nuo naudojamų puslaidininkinių medžiagų parametrų.

[0022] Atstumas, kuriame puslaidininkio 2 laidumo juostos dugnas palaipsniui leidžiasi nuo aukščiausios iki žemiausios padėties, atitinkamai jos Eg2 mažėjant nuo Eg2max iki Eg2min = Eg1 vertės, yra didesnis už elektronų difuzijos nuotolį.

[0023] Elektronų tankis aktyviajame sluoksnyje parenkamas toks, koks yra reikalingas pakankamai dideliam jutiklio jautriui gauti.

[0024] Reketinio jutiklio veikimo principas yra grindžiamas karštųjų krūvininkų reiškiniu. Nesant spinduliuotei, laisvieji elektronai yra sukoncentruoti laidumo juostos periodinio potencialo duobėse (Fig. 1, a). Veikiant spinduliuotei, vidutinė elektronų energija padidėja, jie tampa karštaisiais elektronais; vertikalioje energijų skalėje jie pakyla virš potencialinio barjero ir difunduoja į abi puses išilgai x-ašies (Fig. 1, b). Elektronams prarandant energiją, t.y., jiems atšąlant, jie nusileidžia ant laidumo juostos dugno ir, veikiami elektrinio potencialo gradiento, nudreifuoja į potencialinės duobės dugną (Fig. 1, c). Dalis elektronų, perėjusių per potencialo viršūnę, pasiekia gretimą potencialo duobę; kita dalis elektronų, difundavusių į priešingą pusę, sugrįžta į potencialo duobę, kurioje ir buvo iki pakaitimo. Tokiu būdu jutiklio galuose yra indukuojama elektrovara, o uždaros grandinės atveju teka elektros srovė.

[0025] Šios srities specialistas supranta, kad pagal išradimą pasiūlytas reketinis jutiklis veikia ir karštųjų skylių reiškinio pagrindu. Šiuo atveju heterosandūrinis darinys yra sudaromas tarp dviejų skylinio laidumo (p-tipo) puslaidininkių 1 ir 2, o periodinis asimetrinis potencialas yra formuojamas atitinkamai keičiant darinio valentinės juostos viršaus padėtį vertikaliojoje energijų skalėje.

[0026] Išradimo naudingumas

[0027] Pagal išradimą pasiūlytas reketinis spinduliuotės jutiklis nuo analogo skiriasi tuo, kad periodinis elektrinis potencialas yra suformuojamas darinio tūryje jo auginimo metu (skystafazės, molekulinės, dujinės epitaksijos ar kitu būdu), ir todėl jutiklio aktyviajam sluoksniui nedaro įtakos darinio paviršiaus kokybė, o jo storis ribojamas tik elektronų difuzijos nuotolio ilgiu.

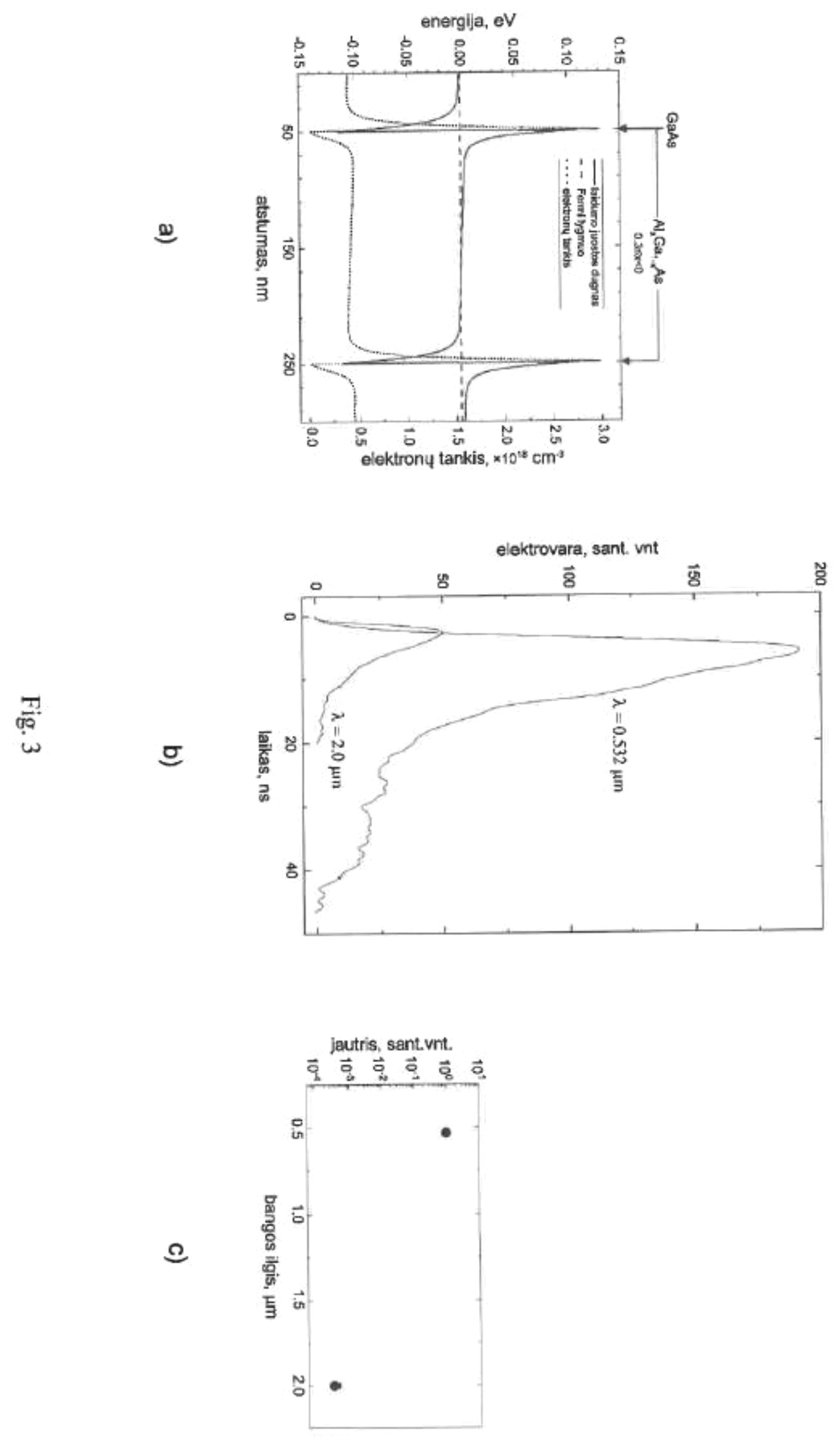
[0028] Tokio jutiklio, kaip srovės šaltinio, vidinė varža yra ženkliai mažesnė už analogo, o epitaksinis auginimas sudaro sąlygas suformuoti didelį skaičių periodiškai išsidėsčiusių asimetrinių potencialinių duobių, kas padidina spinduliuotės sugerties efektyvumą ir susidarančios elektrovaros didumą.

[0029] Pagal išradimą pasiūlytas reketinis spinduliuotės jutiklis detektuoja spinduliuotę, kurios fotono energija hv (čia h yra Planko konstanta, o v yra spinduliuotės dažnis) yra mažesnė už mažiausiąjį aktyviojo sluoksnio draudžiamosios energijos tarpą Eg1; šiuo atveju visa fotono energija yra panaudojama elektronams kaitinti. Taip pat jis detektuoja ir spinduliuotę, kurios fotono energija yra didesnė už Eg1 vertę; šiuo atveju fotono energijos dalis likusi po elektronas­ skylė poros generacijos, t.y., energijos kiekis hv - Eg, yra panaudojama elektronams, kurių efektinė masė puslaidininkiuose yra mažesnė už skylių efektinę masę, kaitinimui. Tokių karštųjų elektronų sukuriamos elektrovaros poliškumas sutampa su hv < Eg1 atvejo elektrovaros poliškumu, o jutiklio jautris yra didesnis, nes tarpjuostinė sugertis puslaidininkiuose yra keliomis eilėmis stipresnė už spinduliuotės sugertį laisvaisiais krūvininkais.

[0030] BRĖŽINIŲ APRAŠYMAS

[0031] Išradimąs detaliau paaiškinamas brėžiniais, kur

[0032] Fig. 1 pavaizduotas reketinio jutiklio periodinis potencialas ir laidumo juostos elektronų scheminis pasiskirstymas: a) nesant spinduliuotės; b) karštųjų elektronų difuzija abiem kryptimis; c) elektronų relaksacija ir persiskirstymas tarp potencilo duobių. Ec žymi laidumo juostos dugną, pliusas ir minusas skrituliukuose rodo susidarančios elektrovaros poliškumą. Sritis 1 žymi puslaidininkį, kurio draudžiamosios energijos tarpas yra Eg1, o sritis 2 - puslaidininkį, kurio draudžiamosios energijos tarpas kinta nuo Eg2max iki Eg2min = Eg1.

[0033] Fig. 2 pavaizduoti trys scheminiai galimi valentinės juostos viršaus Ev profiliai gauti varizoniniame puslaidininkyje (puslaidininkyje su kintamu draudžiamosios energijos tarpu) formuojant periodinį laidumos juostos potencialą. Ev padėtis vertikalios energijų ašies atžvilgiu: a) kinta simetriškai Ec padėčiai; b) nekinta; c) kyla ir leidžiasi kartu su Ec. Elektronų (pilni skrituliukai) ir skylių (tušti skrituliukai) poros yra generuojamos spinduliuote, kurios fotono energija hv > Eg1, o horizontalios rodyklės rodo jų judėjimą formuojant elektrovarą. Visais trim atvejais indukuojamos elektrovaros poliškumas yra toks pats, o jutiklio jautris, t.y., elektrinio signalo didumas esant tai pačiai spinduliuotės galiai, yra didžiausias c atveju.

[0034] Fig. 3 pavaizduota reketinio GaAs/Al0.3Ga0.7As jutiklio:

[0035] a) energijos juostų diagrama (ištisinės linijos) ir elektronų tankio pasiskirstymas (taškinės linijos);

[0036] b) indukuotos elektrovaros impulsai jutiklį apšviečiant 2,0 µm bangos ilgio (hv < Eg1) 1 nanosekundės trukmės ir 0,532 µm (hv > Eg1) bangos ilgio 6 nanosekundžių trukmės lazerio spinduliuotės impulsais; impulsų galios nenormuotos;

[0037] c) reketinio jutiklio jautris (detektuojamos įtampos santykis su krintančia spinduliuotės galia) esant skirtingo bangos ilgio spinduliuotei.

[0038] VIENAS IŠ IŠRADIMO REALIZAVIMO PAVYZDŽIŲ

[0039] Reketinis spinduliuotės jutiklis sudarytas iš dešimties GaAs/Al0.3Ga0.7As varizoninių sluoksnių, kurių periodas, t.y. atstumas, kuriame puslaidininkio 2 srities laidumo juostos dugnas palaipsniui leidžiasi nuo aukščiausios padėties, atitinkančios puslaidininkio sudėtį Al0.3Ga0.7As, iki žemiausios padėties, atitinkančios GaAs puslaidininkį l, yra lygus 200 nm. Kelių varizoninių jutiklio sluoksnių laidumo juostos dugno energetinė diagrama ir elektronų pasiskirstymas yra pavaizduoti Fig. 3a atitinkamai ištisinėmis ir taškinėmis linijomis. Apšvietus raketinį jutiklį 2,0 µm bangos ilgio lazerio spinduliuotės impulsais, kurios fotonų energija hv = 0,62 eV yra mažesnė už GaAs draudžiamosios energijos tarpą EgGaAs = 1,42 eV, bei apšvietus jutiklį 0,532 µm bangos ilgio lazerio spinduliuotės impulsais, kurios fotonų energija hv = 2,33 eV yra didesnė už GaAs draudžiamosios energijos tarpą, abiem atvejais yra indukuojama to paties poliškumo elektrovara (Fig. 3b). 0,532 µm bangos ilgio šviesos sugerties koeficientas galio arsenide yra apie 3000 kartų didesnis už 2,0 µm bangos ilgio sugerties koeficientą, todėl ir jautris trumpesniajai bangai yra didesnis (Fig. 3c).

Apibrėžtis

1. Reketinis plataus spektro spinduliuotės jutiklis, kurio aktyviajame spinduliuotę sugeriančiame sluoksnyje yra suformuotas asimetrinis elektrinis potencialas, b e s i s k i r i a n t i s tuo, kad puslaidininkinio aktyviojo sluoksnio vienetinis elektrinio potencialo periodas yra kuriamas heterosandūriniame varizoniniame darinyje tarp dviejų elektroninio laidumo (n-tipo) puslaidininkių 1 ir 2, pasižyminčių skirtingu draudžiamosios energijos tarpu, atitinkamai, siauru Eg1 ir platesniu kintančiu Eg2, o potencialo gradientas formuojamas platesniojo draudžiamosios energijos tarpo puslaidininkio 2 sluoksnyje palaipsniui keičiant Eg2 dydį nuo maksimalios jo vertės Eg2max iki minimalios Eg2min = Eg1 vertės, tokiu būdu gaunant puslaidininkinį darinį, kurio laidumo juostos dugno lygis vertikalioje energijų skalėje nuo žemiausios padėties, atitinkančios 1 puslaidininkį, staigiai pakyla iki aukščiausios padėties, atitinkančios Eg2max vertę 2 puslaidininkyje, ir palaipsniui leidžiasi 2 puslaidininkyje iki žemiausios padėties tol, kol Eg2 tampa lygus Eg1, o periodo plotis yra didesnis už elektronų difuzijos nuotolį.

2. Jutiklis pagal 1 punktą, b e s i s k i r i a n t i s tuo, kad 1 punkte aprašytas vienetinis asimetrinis elektrinis potencialas yra nuosekliai periodiškai formuojamas numatytą skaičių kartų, reikalingą dideliam jutiklio jautriui gauti.

3. Jutiklis pagal 1 punktą, b e s i s k i r i a n t i s tuo, kad puslaidininkinio aktyviojo sluoksnio vienetinis elektrinio potencialo periodas yra kuriamas heterosandūriniame varizoniniame darinyje tarp dviejų skylinio laidumo (p-tipo) puslaidininkių 1 ir 2, pasižyminčių skirtingu draudžiamosios energijos tarpu, atitinkamai, siauru Eg1 ir platesniu kintančiu Eg2, o potencialo gradientas formuojamas platesniojo draudžiamosios energijos tarpo puslaidininkio 2 sluoksnyje palaipsniui keičiant Eg2 dydį nuo maksimalios jo vertės Eg2max iki minimalios Eg2min = Eg1 vertės, tokiu būdu gaunant puslaidininkinį darinį, kurio valentinės juostos viršaus lygis vertikalioje energijų skalėje nuo aukščiausios padėties, atitinkančios 1 puslaidininkį, staigiai leidžiasi iki žemiausios padėties, atitinkančios Eg2max vertę 2 puslaidininkyje, ir palaipsniui kyla 2 puslaidininkyje iki aukščiausios padėties tol, kol Eg2 tampa lygus Eg1, o periodo plotis yra didesnis už skylių difuzijos nuotolį.

4. Jutiklis pagal 3 punktą, b e s i s k i r i a n t i s tuo, kad 3 punkte aprašytas vienetinis asimetrinis elektrinis potencialas yra nuosekliai periodiškai formuojamas numatytą skaičių kartų, reikalingą dideliam jutiklio jautriui gauti.

5. Jutiklis pagal 1 ir 2 punktus, b e s i s k i r i a n t i s tuo, kad puslaidininkis 1 yra GaAs, puslaidininkis 2 yra AlxGa1-xAs, o elektrinio potencialo gradientas sukuriamas periodiškai 200 nm atstumu keičiant AlAs molinės dalies kiekį nuo x = 0,3 iki x = 0.

Brėžiniai