LT7056B

HIDRAULINIS SKIRSTYTUVAS SU SKLANDŽIO SRAIGTINE PAVARA

HYDRAULIC DISTRIBUTOR WITH SMOOTH SCREW DRIVE

Referatas

[LT] Išradimas skirtas sumažinti hidraulinio skirstytuvo su sklandžio sraigtine pavara vibracijas išilgine skirstytuvo kryptimi, skysčio srauto pulsacijas hidraulinėje sistemoje, elektros energijos sąnaudas, kai skirstytuvo korpusą veikia išorinės vibracijos. Pagrindiniai hidraulinio skirstytuvo su sklandžio sraigtine pavara sandaros elementai – sklandžio sraigtinė pavara ir elektros variklis. Skirstytuvas skirtas naudoti įvairių tipų hidraulinėse sistemose, ypač, kai įrenginiuose atsiranda išorinės vibracijos, pavyzdžiui, mobiliuosiuose įrenginiuose ir sunkiosiose darbo mašinose bei specialiose transporto priemonėse. Dėl didelio elektros variklio veleno sukimosi tikslumo ir tikslaus sraigtinio mechanizmo judėjimo pasiekiamas didelis skirstytuvo sklandžio judėjimo tikslumas skirstytuvo ašine kryptimi. Tuo pačiu hidraulinėje sistemoje, neatsiranda papildomos skysčio srauto pulsacijos, dėl to padidėja hidraulinės sistemos naudingumas, patikimumas ir efektyvumas.

[EN] The invention is intended to reduce the vibrations of the hydraulic distributor with a smooth screw drive in the longitudinal direction of the distributor, the pulsations of the fluid flow in the hydraulic system, the consumption of electricity when the distributor body is affected by external vibrations. The main structural elements of a hydraulic distributor with a smooth screw drive are a smooth screw drive and an electric motor. The distributor is designed for use in various types of hydraulic systems, especially when the equipment is exposed to external vibrations, such as mobile equipment and heavy-duty machinery and special vehicles. Due to the high rotation accuracy of the electric motor shaft and the precise movement of the screw mechanism, high accuracy of smooth movement of the distributor in the axial direction of the distributor is achieved. At the same time, no additional fluid flow pulsation occurs in the hydraulic system, which increases the utility, reliability, and efficiency of the hydraulic system.

Aprašymas

[0001] TECHNIKOS SRITIS

[0002] Išradimo objektas – hidraulinis skirstytuvas su sklandžio sraigtine pavara, skirtas įvairių tipų hidraulinėms sistemoms valdyti, ypač, kai įrenginiuose atsiranda išorinės vibracijos ir tuo pačiu hidraulinio skysčio pulsacijos, pavyzdžiui, mobiliosiose ir sunkiosiose darbo mašinose bei specialiose transporto priemonėse.

[0003] TECHNIKOS LYGIS

[0004] Lenkijos patente PL210528 aprašomas sraigtinis mechanizmo naudojimas hidraulinio skirstytuvo sklandžio judesiui užtikrinti. Sraigtinis mechanizmas naudojamas stūmoklio–vožtuvo jungčiai su sklandžiu užtikrinti. Tokia jungtis leidžia hidrauliniam skysčiui tekėti skirstytuvo siauromis ertmėmis (kanalais). Sraigtinis mechanizmas nenaudojamas sklandžio judesiui korpuse užtikrinti.

[0005] JAV patente US4493474 aprašomas elektros varikliu valdomas hidraulinio skirstytuvo sklandis. Tai yra dvipusio veikimo sklandis, skirtas vienai ertmei (kanalui) atverti arba užverti. Sklandis spaustuku, jungiančiu variklio korpusą su rotoriumi, sujungtas su elektros variklio velenu. Elektros variklio velenui besisukinat, jis juda ašine kryptimi elektros variklio rotoriaus atžvilgiu. Tuo pačiu, velenui sujungtam su sklandžiu judant, dvi ertmės (kanalai) hidrauliniam skysčiui tekėti yra užveriamos arba atveriamos.

[0006] IŠRADIMO ESMĖ

[0007] Išradimo tikslas – hidraulinis skirstytuvas su sklandžio sraigtine pavara sklandžio vibracijoms, atsirandančioms skirstytuvo ašine kryptimi, mažinti veikiant įvairiems išoriniams faktoriams. Taip pat mažinamos skysčio srauto pulsacijos hidraulinėje sistemoje, elektros energijos sąnaudos, kai skirstytuvo korpusą veikia išorinės vibracijos.

[0008] Žinomuose analoguose pasitaiko išorės mechaninių vibracijų poveikis skirstytuvo korpusui sklandžio ašine kryptimi. Tipiniame hidrauliniame skirstytuve, kuriame naudojama elektros magnetinė pavara ir grįžtamosios spyruoklės, dažnai atsiranda skirstytuvo ir, tuo pačiu, sklandžio vibracijos. Dėl vibracijų neužtikrinamas hidraulinio skysčio srauto pastovumas per tarpą tarp skirstytuvo korpuso ir sklandžio, tuomet pasireiškia sklandžio nestabili padėtis, hidraulinio skysčio kintantis (pulsuojantis) našumas ir slėgis.

[0009] Remiantis šiuo išradimu sukurtas hidraulinis skirstytuvas su sklandžio sraigtine pavara nepageidaujamiems reiškiniams mažinti jį eksploatuojant. Bendrieji energijos nuostoliai, skirstytuvui dirbant, mažėja 10 % dėka hidraulinio skysčio nuotekų mažinimo. Skysčio pralaidumas per skirstytuvą didėja 5 % dėka skysčio srauto didėjimo.

[0010] Hidraulinis skirstytuvas su sklandžio pavara skirtas naudoti įvairių tipų hidraulinėse sistemose, ypač, kai įrenginiuose atsiranda išorinės vibracijos, pavyzdžiui, mobiliuosiuose įrenginiuose ir sunkiosiose darbo mašinose bei specialiose transporto priemonėse. Dėl skirstytuvo sraigtinės pavaros elektros variklio veleno sukimosi tikslumo ir tikslaus sraigtinio mechanizmo elementų judėjimo pasiekiamas didelis skirstytuvo sklandžio linijinio judėjimo tikslumas, elektros variklis veikia kaip žingsninis variklis, toks skirstytuvas skirtas naudoti, kaip proporcinis skirstytuvas su labai dideliu valdymo tikslumu.

[0011] Pagrindinis hidraulinio skirstytuvo su sklandžio sraigtine pavara sraigtinio mechanizmo privalumas yra tai, kad jis yra savistabdis ir tai, kad nėra sklandžio ašinio klibėjimo, esant išorinėms vibracijoms, veikiančioms hidraulinio skirstytuvo korpusą. Tuo pasiekiamas hidraulinio skirstytuvo veikimo stabilumas, nesant sklandžio vibracijoms; sumažėja hidraulinio skysčio slėgio pulsacijos hidraulinėje sistemoje; didėja sistemos naudingumas, patikimumas ir efektyvumas.

[0012] Tradiciniame hidrauliniame skirstytuve elektros energiją aktyviai naudoja elektros magnetas, esant skirstytuvo bet kuriai padėčiai. Papildomas hidraulinio skirstytuvo su sklandžio sraigtine pavara konstrukcijos privalumas yra elektros energijos taupymas, nes elektros energija varikliui naudojama tik esant hidraulinio skirstytuvo darbinei padėčiai.

[0013] BRĖŽINIŲ PAVEIKSLŲ APRAŠYMAS

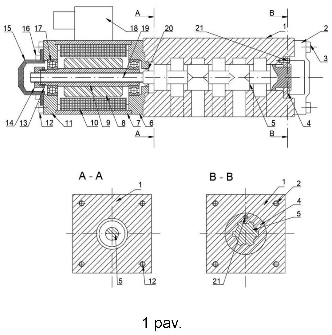
[0014] 1 pav. Hidraulinio skirstytuvo su sklandžio sraigtine pavara schema:

[0015] 1. Hidraulinio skirstytuvo korpusas.

[0016] 2. Galinis dangtelis.

[0017] 3. Dangtelio sraigtai.

[0018] 4. Išdrožtinė tarpinė.

[0019] 5. Sklandis.

[0020] 6. Priekinis dangtelis.

[0021] 7. Statoriaus korpusas.

[0022] 8. Variklio rotorius.

[0023] 9. Variklio rotoriaus tuščiaviduris velenas.

[0024] 10. Variklio statorius.

[0025] 11. Variklio galinis dangtelis.

[0026] 12. Dangtelio sraigtai.

[0027] 13. Fiksavimo veržlė.

[0028] 14. Tarpo reguliavimo veržlė.

[0029] 15. Variklio šoninis dangtelis.

[0030] 16. Sraigtai.

[0031] 17. Guoliai.

[0032] 18. Elektros jungtis.

[0033] 19. Jungiantis sraigtas.

[0034] 20. Tarpinė.

[0035] 21. Kaištis.

[0036] IŠRADIMO REALIZAVIMO APRAŠYMAS

[0037] Sandara ir veikimo principas

[0038] Hidraulinis skirstytuvas su sklandžio sraigtine pavara sudarytas iš korpuso (1) su sklandžiu (5), išdrožtinės tarpinės (4), galinio dangtelio (2), kuris prie korpuso (1) tvirtinamas dangtelio sraigtais (3) bei turi sraigtinę pavarą, susidedančią iš rotorinio elektros variklio (schemoje žymima, kaip 7–11) bei sraigtinio mechanizmo (schemoje žymima, kaip sklandžio 5 ir jungiamojo sraigto 19 neardoma jungtis). Sraigtinio mechanizmo pavara sudaryta iš variklio statoriaus (10) ir variklio rotoriaus (8), kuris sukasi guoliuose (17). Pagrindinis statoriaus elementas – jo korpusas (7), prie kurio dangtelio sraigtais (12) tvirtinasi variklio priekinis (6) ir galinis (11) dangteliai. Variklio statorius (10) yra statoriaus korpuse (7), o elektros jungtis (18) – išorėje. Prie elektros variklio galinio dangtelio (11) sraigtais (16) papildomai pritvirtintas šoninis dangtelis (15), o priekiniame dangtelyje (6) yra tarpinė (20). Variklio rotoriaus tuščiaviduris velenas (9) sujungtas su variklio rotoriumi (8), tarpo reguliavimo veržle (14) ir fiksavimo veržle (13). Pagrindinis hidraulinio skirstytuvo elementas – sklandis (5) – neardomai sujungtas su jungiamuoju sraigtu (19) bei variklio rotoriaus tuščiaviduriu velenu (9), atliekančiu veržlės funkcijas. Kaištis (21) reikalingas išdrožtinei tarpinei (4) apsaugoti nuo prasisukimo. Rotorinis elektros variklis maitinimas per elektros jungtį (18).

[0039] Elektros maitinimas hidrauliniam skirstytuvui su sklandžio sraigtine pavara tiekiamas per jungtį 18. Tuomet sukamasis judesys suteikiamas rotoriniam elektros varikliui (schemoje žymima, kaip 7–11), kuris per jungiamąjį sraigtą 19 suka sklandį 5. Sklandis 5, mažindamas hidraulinio skysčio pulsacijas, skirsto hidraulinį skystį hidraulinio skirstytuvo korpuse 1, kuris vėliau tiekiamas įvairių įrenginių hidraulinėms sistemoms.

Apibrėžtis

1. Hidraulinis skirstytuvas su sklandžio sraigtine pavara skirtas hidraulinėms sistemoms valdyti įvairių tipų hidraulinėse sistemose, ypač, kai įrenginiuose atsiranda išorinės vibracijos, t. y. mobiliuosiuose įrenginiuose, sunkiosiose darbo mašinose bei specialiose transporto priemonėse, b e s i s k i r i a n t i s tuo, kad apima hidraulinio skirstytuvo korpusą, sklandį, elektros variklį.

2. Hidraulinis skirstytuvas su sklandžio sraigtine pavara, pagal 1 punktą b e s i s k i r i a n t i s tuo, kad sklandžio sraigtinė pavara sudaryta iš 2-jų tiesiogiai sujungtų elementų fiksavimo ir tarpo reguliavimo veržlėmis neardomai hidraulinio skysčio pulsacijoms ir tuo pačiu hidraulinio skirstytuvo su sklandžio sraigtine pavara vibracijoms mažinti.

3. Hidraulinis skirstytuvas su sklandžio sraigtine pavara, pagal 1 punktą b e s i s k i r i a n t i s tuo, kad elektros variklis veikia kaip žingsninis variklis.

4. Hidraulinis skirstytuvas su sklandžio sraigtine pavara, pagal 1–3 punktus b e s i s k i r i a n t i s tuo, kad skirstytuvas naudojamas kaip proporcinis skirstytuvas.

Brėžiniai