LT7043B

VANTŲ SURIŠIMO ĮRENGINYS

DEVICE FOR TYING TREE TWINGS INTO A BUNDLE

Referatas

[LT] Išradimas yra medžio šakelių surišimo į ryšulį įrenginys apimantis segmentinį korpusą, šakelių ryšulio galo su smulkesnėmis šakelėmis ir lapais tvirtinimo prie surišimo įrenginio korpuso mazgą, šakelių laisvųjų galų talpinimo ir prilaikymo cilindrinį vamzdį, surišimo priemonės apsukimo aplink šakelių laisvųjų galų perimetrą ritę su surišimo priemone, elektros variklį, elektros variklio, prilaikymo cilindrinio vamzdžio ir apsukimo ritės platformą, platformos kreipiančiąsias, platformos išilginio judesio formavimo srieginį centrinį strypą.

[EN] The invention is a device for tying tree twigs into a bundle, comprising a segmental body, a unit for attaching the end of the bundle of twigs with smaller twigs and leaves to the body of the tying device, a cylindrical tube for housing and holding the free ends of the twigs, a coil with a tying toll for turning the tying tool around the perimeter of the ends of the twigs, an electric motor, electric motor, support cylinder tube and turning coil platform, platform guides, platform longitudinal movement forming threaded central rod.

Aprašymas

[0001] TECHNIKOS SRITIS

[0002] Išradimas yra susijęs su pailgų vientisų standžių elementų pluošto automatizuoto surišimo į ryšulį įrenginiais, o tiksliau, vytelių pluošto dalies tvirto surišimo į ryšulį įrenginiais.

[0003] TECHNIKOS LYGIS

[0004] Vantos - pirtyse naudojamos šluotelės formos priemonės, skirtos kūno masažui. Medžių šakelės, kurių vienas galas turi plonesnių šakelių su lapais, o kitas galas yra be tokių šakelių, yra naudojamos vantų gamyboje. Įprastai vantos yra surišamos rankomis. Šakelės yra sudedamos viena ant kitos, suformuojant rankenos galą iš šakelių storųjų galų ir masažuojantį galą iš šakelių plonųjų galų su smulkiomis šakelėmis ir lapais. Vantos įprastai yra formuojamos rankomis, šakelių storųjų galų pluoštą prilaikant viena ranka arba kojomis, o kita ranka juos tvirtai apsukant ir surišant virve arba panašia priemone. Toks surišimo būdas yra labai lėtas ir reikalaujantis fizinės jėgos, varginantis.

[0005] JAV patente Nr. US2372763 yra aprašytas įrenginys, skirtas surišti vieną arba daugiau pluoštų vytelių į ryšulį, rišant perimetru, išilgai vytelių pluoštų ilgio. Įrenginys apima rėmą, daugybę ant rėmo sumontuotų ritinių, vyniojimo priemonės talpinimo vyniojimo galvą su ranka, aprišimo medžiagos išvyniojimo nuo galvos ir aprišimo aplink pailgus elementus žiedą, kuris yra sukamas elektros varikliu per dantračių ir grandinių perdavimo mechanizmą. Surišamas pailgų elementų ryšulys yra prilaikomas dviejų ritinių, ryšulio viename ir kitame galuose ir perleidžiamas pro surišimo žiedą, kur jis yra surišamas į ryšulį. Pagrindinis šio įrenginio trūkumas yra tai, kad įrenginys tiek prilaikančiąja dalimi, tiek ir surišimo dalimi, yra pritaikytas aprišti ryšulį vienoje srityje, kurią surišus, ryšulį reikia perstumti. Kitas trūkumas yra tai, kad ryšulio prilaikymo elementai yra pritaikyti prilaikyti pailgus elementus, kurie abiejuose galuose yra iš esmės vienodi - pailgi, be atsikišimų, iš esmės vienodo skersmens.

[0006] TRUMPAS IŠRADIMO APRAŠYMAS

[0007] Išradimas yra medžio šakelių surišimo į ryšulį įrenginys, apimantis segmentinį korpusą, šakelių ryšulio galo su smulkesnėmis šakelėmis ir lapais tvirtinimo prie surišimo įrenginio korpuso mazgą, šakelių laisvųjų galų talpinimo ir prilaikymo cilindrinį vamzdį, surišimo priemonės apsukimo aplink šakelių laisvųjų galų perimetrą ritę su surišimo priemone, elektros variklį, elektros variklio, prilaikymo cilindrinio vamzdžio ir apsukimo ritės platformą, platformos kreipiančiąsias, platformos išilginio judesio formavimo srieginį centrinį strypą.

[0008] TRUMPAS BRĖŽINIŲ APRAŠYMAS

[0009] 1 paveiksle (1 pav.) yra pavaizduotas vantų surišimo įrenginys pradinėje padėtyje, prieš surišimo operaciją.

[0010] 2 paveiksle (2 pav.) yra pavaizduotas vantų surišimo įrenginys galinėje padėtyje, kurioje yra nustatyta vantos rankenos apvyniojimo galinė padėtis.

[0011] DETALUS IŠRADIMO APRAŠYMAS

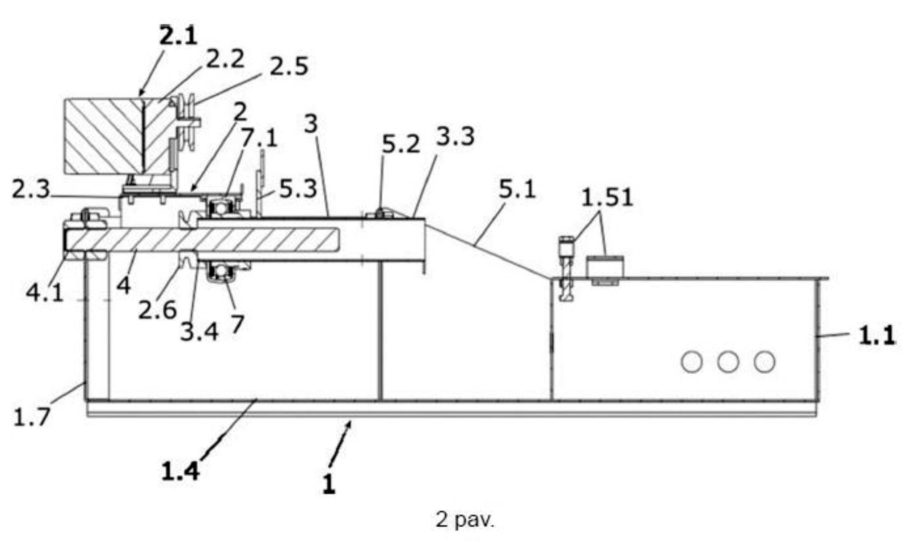
[0012] Vantų surišimo įrenginys apima segmentinį korpusą (1) apimantį priekinį segmentą (1.1), šoninius segmentus (1.2, 1.3), pagrindo segmentą (1.4), viršutinius segmentus (1.5, 1.6), galinį segmentą (1.7), grįžtamojo linijinio judesio platformą (2), kartu su platforma (2) judantį šakelių (6) laisvųjų galų (6.1) talpinimo ir prilaikymo cilindrinį vamzdį (3), šakelių tvirtinimo prie korpuso (1) viršutinio segmento (1.5) priemonę, prie šakelių (6) laisvųjų galų (6.1) talpinimo ir prilaikymo cilindrinio vamzdžio (3) pritvirtintą surišimo priemonės (5.1) apsukimo aplink šakelių (6) laisvųjų galų perimetrą ritę (5) su surišimo priemone ir surišimo priemonės (5.1) nukreipimo priemonę (5.2), pritvirtintą prie šakelių (6) laisvųjų galų (6.1) talpinimo ir prilaikymo cilindrinio vamzdžio (3) galo, į kurį talpinasi šakelių (6) laisvieji galai (6.1), ir skirtą nukreipti surišimo priemonę (5.1) šakelių (6) laisvųjų galų (6.1) surišimui, šakelių (6) laisvųjų galų (6.1) talpinimo ir prilaikymo cilindriniam vamzdžiui (3) sukantis aplink išilginę savo ašį, sukant ir surišimo priemonės (5.1) nukreipimo priemonę (5.2). Vantų surišimo įrenginys taip pat apima įprastines elektros srovės komutavimo priemones, tokias kaip laidai, jungikliai, relės ir pan., skirtas valdyti elektros varikliui (2.1).

[0013] Pagal vieną išradimo įgyvendinimo pavyzdį, šoniniai segmentai (1.2, 1.3), ties jų apatinėmis briaunomis (1.2', 1.3'), yra statmenai tvirtinami prie pagrindo segmento (1.4); šoniniai segmentai (1.2, 1.3) ties jų priekinėmis briaunomis (1.2'', 1.3'') yra statmenai tvirtinama prie priekinio segmento (1.1); šoniniai segmentai (1.2, 1.3) ties jų viršutinių briaunų pirma dalimi (1.21''', 1.31''') yra statmenai tvirtinamos prie viršutinių segmentų (1.5, 1.6). Kiekvienas šoninis segmentas (1.2, 1.3) apima po įžambią dalį (1.22''', 1.32''') kurios su pirmosiomis dalimis (1.21''', 1.31''') sudaro atitinkamus vientisus šoninius segmentus (1.2, 1.3). Įžambių dalių (1.22''', 1.32''') viršutinės briaunos kyla nuo atitinkamų šoninių segmentų (1.2, 1.3) pirmų dalių (1.21''', 1.31''') iki aukščio, kuriame juda platforma (2). Ties kiekvienos įžambios dalies (1.22''', 1.32''') iš esmės viršūne yra tvirtinami kiekvienos iš dviejų pusių platformos (2) kreipiančiųjų (3.1, 3.2) pirmagaliai (3.1', 3.2'). Platformos (2) kreipiančiosios (3.1, 3.2) tęsiasi išilgai ir lygiagrečiai pagrindo segmentui (1.4) ir antrame kreipiančiųjų gale (3.1'', 3.2'') yra tvirtinamos prie galinio segmento (1.7). Galinis segmentas (1.7) yra iš esmės tokio pat aukščio kaip šoninių segmentų įžambių dalių viršūnės (1.23''', 1.33'''). Platforma (2) apima elektros variklio (2.1), kur elektros variklis (2.1) pageidautinai apima reduktorių (2.2), tvirtinimo plokštę (2.3). Platformoje (2) priešais variklį (2.1) yra suformuota ertmė (2.4), per kurią judesio perdavimo priemonė, tokia kaip pavaros diržas (brėžinyje neparodyta), sujungia prie variklio (2.1) pritvirtintą pirmąjį skriemulį (2.5) su platformos (2) judesį generuojančiu skriemuliu (2.6), kuris yra antrasis skriemulys (2.6), kur judesys iš elektros variklio (2.1) per pirmą skriemulį (2.5), pavaros diržą, ar panašią priemonę, yra perduodamas į antrą skriemulį (2.6), kuris yra platformos (2) judesį generuojantis skriemulys (2.6). Minėtas antras skriemulys (2.6) yra sumontuotas šakelių laisvųjų galų (6.1) talpinimo ir prilaikymo cilindrinio vamzdžio (3) antrame gale (3.4), kuris yra priešingoje pusėje negu šakelių laisvųjų galų (6.1) talpinimo į šakelių laisvųjų galų talpinimo ir prilaikymo cilindrinio vamzdžio pirmagalis (3.3). Šakelių laisvųjų galų (6.1) talpinimo ir prilaikymo cilindrinis vamzdis (3) yra sujungtas su guoliu (7) ir antruoju skriemuliu (2.6) taip, kad antrasis skriemulys (2.6) būtų greta guolio arba guolis (7) būtų įtvirtintas antrame skriemulyje (2.6), o guolio laikiklis (7.1) būtų pritvirtintas prie platformos (2) variklio (2.1) tvirtinimo plokštės (2.3). Šakelių laisvųjų galų (6.1) talpinimo ir prilaikymo cilindrinis vamzdis (3) yra sujungtas su guoliu (7) taip, kad sukant antrąjį skriemulį (2.6) suktųsi ir šakelių laisvųjų galų talpinimo ir prilaikymo cilindrinis vamzdis (3) su prie jo pritvirtinta surišimo priemonės (5.1) apsukimo aplink šakelių (6) laisvųjų galų (6.1) perimetrą rite (5).

[0014] Vienu išradimo įgyvendinimo atveju, šakelių (6) laisvųjų galų (6.1) talpinimo ir prilaikymo cilindrinis vamzdis (3) ties antrojo skriemulio (2.6) galu yra aprūpintas srieginiu žiedu (brėžinyje neparodyta), kuris yra užmautas ant srieginės pavaros (4). Sukamas antrasis skriemulys (2.6) rotacinį judesį perduoda šakelių laisvųjų galų talpinimo ir prilaikymo cilindriniam vamzdžiui (3) ir tuo pačiu generuoja slenkamąjį išilginį šakelių laisvųjų galų talpinimo ir prilaikymo cilindrinio vamzdžio (3) judesį antrojo skriemulio (2.6) sukamam srieginiam žiedui sukantis ant srieginės pavaros (4). Srieginė pavara (4) pirmame jos gale (4.1) yra standžiai įtvirtinta galiniame segmente (1.7), o antras srieginės pavaros (4) galas (brėžinyje neparodyta) yra prilaikomas srieginiame žiede. Platformos (2) judesys išilgai srieginės pavaros (4), pirmyn ir atgal, yra valdomas elektros variklio (2.1) valdymo bloko (brėžinyje neparodyta).

[0015] Platformos (2) kreipiančiosios (3.1, 3.2) yra skirtos formuoti platformos (2) linijinį grįžtamąjį judėjimą.

[0016] Prie šakelių laisvųjų galų (6.1) talpinimo ir prilaikymo cilindrinio vamzdžio (3) yra pritvirtinta surišimo priemonės (5.1) apsukimo aplink šakelių laisvųjų galų (6.1) perimetrą ritė (5) su surišimo priemone (5.1). Minėta ritė (5) yra pritvirtinta prie šakelių laisvųjų galų talpinimo ir prilaikymo cilindrinio vamzdžio (3) per atstumą per laikiklį (5.3).

[0017] Šakelės (6), iš kurių yra gaminama vanta, yra tvirtinamos ant pirmo viršutinio segmento (1.5) naudojant tvirtinimo priemonę (1.51) apribojant šakelių (6) judesį bet kuria kryptimi taip, kad jos būtų įtvirtintos standžiai ir nepaslankiai, o šakelių laisvieji galai (6.1) būtų išdėstyti išilgai ant šakelių laisvųjų galų talpinimo ir prilaikymo cilindrinio vamzdžio (3) išilginės centro linijos (brėžinyje neparodyta).

[0018] Surišimo procesas vykdomas platformai (2) atliekant grįžtamuosius judesius tarp galinės padėties ir priekinės padėties taip apvyniojant šakeles (6) surišimo priemone. Pirmajam skriemuliui (2.5) per diržinę pavarą sukant antrąjį skriemulį (2.6) pirmąja kryptimi šakelių laisvųjų galų (6.1) talpinimo ir prilaikymo cilindrinis vamzdis (3) yra sukamas kartu su srieginiu žiedu, kuris suformuoja platformos (2) pirmos krypties judesį nuo jos galinės padėties prie galinio segmento (1.7) link ant pirmo viršutinio segmento (1.5) įtvirtintų šakelių (6). Šakelių laisvųjų galų (6.1) talpinimo ir prilaikymo cilindriniam vamzdžiui (3) judant nuo galinės padėties, šakelių (6) laisvasis galas (6.1) yra įvedamas į šakelių laisvųjų galų talpinimo ir prilaikymo cilindrinio vamzdžio (3) vidinę ertmę ir tuo pačiu apvyniojamas surišimo priemone, kurią aplink šakeles (6) apsuka ritė (5).

Apibrėžtis

1. Vantų surišimo įrenginys apimantis korpusą, šakelių ryšulio prilaikymo priemonę, šakelių ryšulio dalies surišimo aplink šakelių laisvųjų galų perimetrą priemonę

b e s i s k i r i a n t i s tuo, kad vantų surišimo įrenginys apima

segmentinį korpusą (1) apimantį priekinį segmentą (1.1), šoninius segmentus (1.2, 1.3), pagrindo segmentą (1.4), viršutinius segmentus (1.5, 1.6), galinį segmentą (1.7), grįžtamojo linijinio judesio platformą (2), kartu su platforma (2) judantį šakelių laisvųjų galų (6.1) talpinimo ir prilaikymo cilindrinį vamzdį (3), šakelių tvirtinimo prie korpuso (1) viršutinio segmento (1.5) priemonę (1.51), prie šakelių laisvųjų galų (6.1) talpinimo ir prilaikymo cilindrinio vamzdžio (3) pritvirtintą surišimo priemonės apsukimo aplink šakelių laisvųjų galų (6.1) perimetrą ritę (5) su surišimo priemone (5.1) ir surišimo priemonės nukreipimo priemone (5.2) skirtą nukreipti surišimo priemonę šakelių laisvųjų galų (6.1) surišimui, pritvirtintą prie šakelių laisvųjų galų (6.1) talpinimo ir prilaikymo cilindrinio vamzdžio (3) pirmagalio (3.3), į kurį talpinasi šakelių laisvieji galai (6.1), elektros srovės komutavimo priemones skirtas valdyti elektros varikliui (2.1) ir elektros variklį (2.1).

2. Vantų surišimo įrenginys pagal 1 punktą, kur

platforma (2) apima elektros variklio (2.1) tvirtinimo plokštę (2.3), judesio iš elektros variklio (2.1) perdavimo pirmąjį skriemulį (2.5), platformos judesį generuojantį skriemulį (2.6), kur judesys iš elektros variklio (2.1) per pirmą skriemulį (2.5) per pavaros diržą yra perduodamas į antrą skriemulį (2.6), kuris yra platformos judesį generuojantis skriemulys, kur minėtas antras skriemulys (2.6) yra sumontuotas ant šakelių laisvųjų galų (6.1) talpinimo ir prilaikymo cilindrinio vamzdžio (3) antro galo (3.2), kuris yra priešingoje pusėje negu šakelių laisvųjų galų (6.1) talpinimo į šakelių laisvųjų galų talpinimo ir prilaikymo cilindrinio vamzdžio pirmagalis (3.3), šakelių laisvųjų galų (6.1) talpinimo ir prilaikymo cilindrinis vamzdis (3) yra sujungtas su guoliu (7) ir antruoju skriemuliu (2.6), šakelių laisvųjų galų (6.1) talpinimo ir prilaikymo cilindrinis vamzdis (3) yra pritvirtintas prie guolio (7) taip, kad sukant antrąjį skriemulį (2.6), suktųsi ir šakelių laisvųjų galų talpinimo ir prilaikymo cilindrinis vamzdis (3) kartu su prie jo pritvirtinta surišimo priemonės (5.1) apsukimo aplink šakelių (6) laisvųjų galų (6.1) perimetrą rite (5), šakelių laisvųjų galų talpinimo ir prilaikymo cilindrinis vamzdis (3) ties antrojo skriemulio (2.6) galu yra aprūpintas srieginiu žiedu, kuris yra užmautas ant srieginės pavaros (4), kur srieginė pavara (4) pirmame jos gale (4.1) yra standžiai įtvirtinta galiniame segmente (1.7), o antras srieginės pavaros (4) galas yra prilaikomas srieginiame žiede.

3. Vantų surišimo įrenginys pagal 1 arba 2 punktą, kur

segmentinis korpusas (1), apima priekinį segmentą (1.1), šoninius segmentus (1.2, 1.3), pagrindo segmentą (1.4), viršutinius segmentus (1.5, 1.6) ir galinį segmentą (1.7), šoniniai segmentai (1.2, 1.3), ties jų apatinėmis briaunomis (1.2', 1.3') yra statmenai sujungti su pagrindo segmentu (1.4), šoniniai segmentai (1.2, 1.3) ties jų priekinėmis briaunomis yra statmenai sujungti su priekiniu segmento (1.1), šoniniai segmentai (1.2, 1.3) ties jų viršutinių briaunų pirma dalimi (1.21''', 1.31''') yra statmenai sujungti su viršutiniais segmentais (1.5, 1.6), kiekvienas šoninis segmentas (1.2, 1.3) apima po įžambią dalį (1.22''', 1.32'''), kurios su pirmosiomis dalimis (1.21''', 1.31''') sudaro atitinkamus vientisus šoninius segmentus (1.2, 1.3), įžambių dalių (1.22''', 1.32''') viršutinės briaunos kyla nuo atitinkamų šoninių segmentų (1.2, 1.3) pirmų dalių (1.21''', 1.31''') iki aukščio, kuriame juda platforma (2), ties kiekvienos įžambios dalies (1.22''', 1.32''') iš esmės viršūne (1.23''', 1.33''') yra pritvirtinti kiekvienos iš dviejų pusių platformos (2) kreipiančiųjų (3.1, 3.2) pirmagaliai (3.1', 3.2'); platformos (2) kreipiančiosios tęsiasi išilgai ir lygiagrečiai pagrindo segmentui (1.4) ir antrame gale (3.1'', 3.2'') yra pritvirtintos prie galinio segmento (1.7), galinis segmentas (1.7) yra iš esmės tokio pat aukščio kaip šoninių segmentų įžambių dalių viršūnės (1.23''', 1.33''').

Brėžiniai