LT7062B

UGNIAI ATSPARI PERTVARA

FIRE RESISTANT PARTITION

Referatas

[LT] Šis išradimas priklauso ugniai atsparių pertvarų sričiai. Dabartiniai rinkoje esantys sprendimai pasižymi medžiagų, iš kurių pagamintos konstrukcijos, nepatikimumu ir pavojingumu bei pernelyg dideliu svoriu ir matmenimis. Šiame dokumente aprašoma ugniai atspari pertvara, kuri yra patvari, nekenkia aplinkai ir pasižymi itin geromis atsparumo ugniai savybėmis. Dėka savo sudėties ir ypatybių, prisotinta vandens garų arba sudrėkus, ji yra lengvai išdžiovinama ir ekologiška, kas yra itin svarbu vykdant ugnies gesinimo procedūras. Ši pertvara sudaryta iš šoninių apvadų ir viršutinės sijos, suformuotos iš profilių ir apatinės sijos, suformuotos iš plieno profilio, prie kurio plokštės pritvirtintos kniedėmis, tarpusavyje sujungtos liežuvėlio ir griovelio principu. Plokštės (1, 2, 3) suformuotos iš vieno ar daugiau ugniai atsparios medžiagos, t. y. kalcio silikato, sluoksnių, prie kurių iš dviejų pusių tvirtai pritvirtintas išorinis sluoksnis (7), pagamintas iš cinkuoto arba lakuoto plieno lakšto.

[EN] This invention belongs to the field of fire-resistant partitions. The current solutions available in the market are characterized by the unreliability and hazardousness of the materials used for constructions, as well as excessive weight and dimensions. This document describes a fire-resistant partition that is durable, environmentally friendly, and exhibits excellent fire resistance properties. Thanks to its composition and characteristics, when saturated with steam or dampened, it is easily dried and ecofriendly, which is crucial during fire extinguishing procedures. This partition is composed of lateral frames and an upper beam formed from profiles, and a lower beam formed from a steel profile, to which plates are attached with rivets and interconnected by a tongue and groove joint. The plates (1, 2, 3) are formed from one or more layers of fire-resistant material, namely calcium silicate, to which an outer layer (7) made from galvanized or varnished steel sheet is firmly attached on both sides.

Aprašymas

[0001] Išradimo objektas – ugniai atspari pertvara, skirta pastatų sienose esančioms komunikacijų angoms uždaryti, patalpoms apsaugoti nuo gaisro plitimo ir patalpoms atskirti naudojant kaip ugniai atsparią pertvarą gamybos, sandėliavimo, prekybos ar aptarnavimo patalpose.

[0002] Yra žinoma dūmų uždanga, kuri yra sudaryta iš pailgų lanksčios medžiagos lakštų, išdėstytų vienas šalia kito ir persidengiančių vienas su kitu vertikaliais kraštais. Viršutiniai uždangos lakštų kraštai pritvirtinti prie besisukančio vyniojimo veleno, o kraštai apvadai - prie svarmens, kuris susideda iš dvejų laisvai persidengiančių juostų. Bent vienas uždangos lakštas yra pasuktas skersai jo paviršiaus ir veikia kaip evakuacinė anga, be to, šio lakšto apatinis kraštas pritvirtintas prie viršutinės svarmens juostos. Jei uždanga sumontuota patalpoje, kurioje priešgaisrinės signalizacijos suveikimo metu įsijungiamas didelio galingumo ventiliatorius, pavyzdžiui garaže, tokiu atveju pasukamas uždangos lakštas dėl oro slėgio gali nekontroliuojamai atsilenkti. Taip atsitikus, uždanga praranda sandarumą ir atsiranda nepageidaujamas dūmų srautas.

[0003] Iš vokiško patento DE102010005455 aprašymo yra žinoma lanksčioji priešgaisrinė užtvara, turinti lanksčią atramą, kuri yra įrengta su degimo nepalaikančia medžiaga, gaisro atveju naudojančia energiją. Priešgaisrinės užtvaros lanksčiosios atramos priešgaisrinė apsauginė medžiaga gaisro atveju priešgaisriniame korpuse išbrinksta, putoja arba išskiria drėgmę.

[0004] Lenkijos įmonės "Gańczarek-Rał" patentiniame dokumente Nr. P.380783 aprašoma susukama priešgaisrinė užtvara su lanksčiomis ugniai atspariomis užuolaidomis. Kad šis sprendimas užtikrintų 120 minučių atsparumą ugniai, buvo suprojektuota pertvara iš dviejų užuolaidų, kurias skiria maždaug 700 mm pločio oro tarpas. Tačiau tokio tipo užtvaros užima daug vietos ir reikalauja didelių patikros ir priežiūros išlaidų.

[0005] Taip pat yra žinomas JAV patentas US2016339279, kuriame pateiktas išradimas yra susijęs su dūmų ir (arba) ugnies uždanga, skirta angai užsandarinti, su apsauginiu elementu, neleidžiančiu dūmams ar ugniai plisti per angą. Apsauginį elementą sudaro praėjimo durys, kurias galima laikyti į stumdomoje padėtyje, suteikiančią galimybę praeiti per apsauginį elementą ir uždarytoje padėtyje, kurioje užkertamas kelias dūmų ar ugnies plitimui pro angą, o stumdomos durys sudaro tunelį.

[0006] Remiantis šiuo išradimu, yra numatytas tvirtinimo įtaisas, skirtas grįžtamai pritvirtinti apatinį praėjimo durų kraštą, kai praėjimo durys yra uždarytoje padėtyje, o tvirtinimo įtaisą sudaro bent viena magnetinė juostelė, skirta praėjimo durims sandarinti nuo dūmų.

[0007] Išradimo tikslas - sukurti patikimą ugniai atsparią pertvarą iš silikatinių kalkių plokščių, įvairių konfigūracijų su lakštiniu metalu, gipso kartono plokštėmis ir silikatinio cemento plokštėmis. Sukurti lengvą, lyginant su esamais sprendimais, konstrukciją, kuri būtų patvari, nekenktų aplinkai ir pasižymėtų itin geromis atsparumo ugniai savybėmis. Ugniai atsparios pertvaros, kurios šoniniai galai ir viršutinė sija yra suformuoti iš kanalų, o apatinė sija - iš plieninio profilio, prie kurio kniedėmis pritvirtintos plokštės, tarpusavyje sujungtos "liežuvėlio ir griovelio" principu, išradimo esmė yra ta, kad plokštės suformuotos iš vieno ar daugiau ugniai atsparios medžiagos, t. y. kalcio silikato, sluoksnių, prie kurių iš dviejų pusių nuolat pritvirtintas išorinis sluoksnis, pagamintas iš cinkuoto arba lakuoto plieno lakšto.

[0008] Privalumą teikia tai, kad vienas iš ugniai atsparios pertvaros variantų yra sudarytas iš ugniai atsparios medžiagos kalcio silikato sluoksnio, kuris iš abiejų pusių per visa paviršių tvirtai sujungtas su ugniai atsparios medžiagos sluoksniu, sudarytu iš ugniai atsparių gipso kartono plokščių, prie kurių pritvirtintos išorinį sluoksnį sudarančios plokštės, pagamintos iš cinkuoto arba lakuoto plieno lakšto.

[0009] Privalumą teikia tai, kad ugniai atspari pertvara yra sudaryta iš ugniai atsparios medžiagos kalcio silikato sluoksnio, kuris iš abiejų pusių per visą paviršių tvirtai sujungtas su ugniai atsparios medžiagos sluoksniu, sudarytu iš ugniai atsparių silikatinio cemento plokščių, prie kurių pritvirtintos išorinį sluoksnį sudarančios plokštės, pagamintos iš cinkuoto arba lakuoto plieno lakšto.

[0010] Privalumą teikia tai, kad ugniai atspari pertvara yra sudaryta iš ugniai atsparaus gipso kartono plokščių sluoksnio, iš abiejų pusių per visą paviršių sujungto su ugniai atsparios medžiagos kalcio silikato plokščių sluoksniu, prie kurio pritvirtintos išorinį sluoksnį sudarančios plokštės, pagamintos iš cinkuoto arba lakuoto plieno lakšto.

[0011] Privalumą teikia tai, kad paskutiniame variante ugniai atspari pertvara yra sudaryta iš ugniai atsparaus silikatinio cemento plokščių sluoksnio, iš abiejų pusių per visa paviršių sujungto su ugniai atsparios medžiagos kalcio silikato plokščių sluoksniu, prie kurio pritvirtintos išorinį sluoksnį sudarančios plokštės, pagamintos iš cinkuoto arba lakuoto plieno lakšto.

[0012] Pagal paraišką pateiktos ugniai atsparios pertvaros sprendimo pranašumas – didelis mechaninis atsparumas ir konstrukcijos lengvumas, leidžiantis sumažinti svorį ir matmenis, lyginant su rinkoje esamais sprendimais, o tai labai svarbu, nes tai ženkliai sumažina medžiagų, gamybos, transportavimo, surinkimo ir aptarnavimo kaštus. Dėl medžiagos, iš kurios ji pagaminta, taip pat dėl to, kad prisotinta vandens garų arba sudrėkusi ji užtikrina konstrukcijos saugumą ir patvarumą, yra lengvai išdžiovinama, medžiaga išlaiko visas savo savybes, o tai itin svarbu atliekant galimus gaisro gesinimo veiksmus gaisro atveju, be to, dėl naudojamų medžiagų ji yra ekologiška.

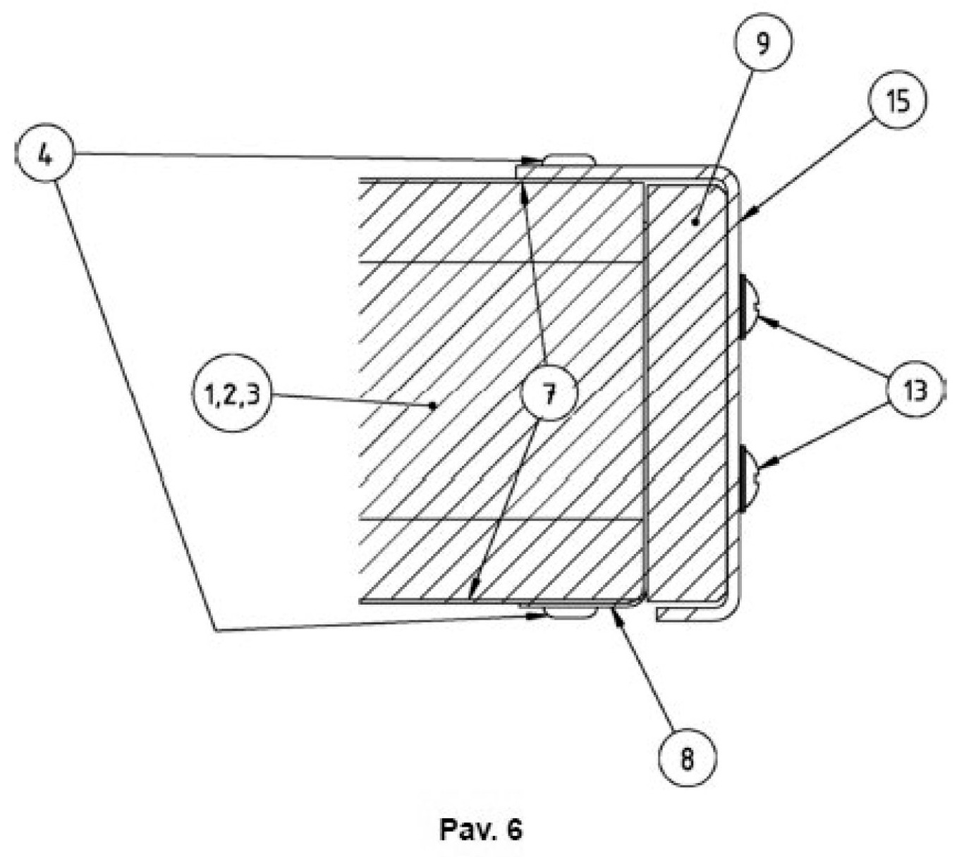
[0013] Sprendimo būdas pavaizduotas paveikslėliuose pateiktuose pavyzdžiuose, kuriuose:

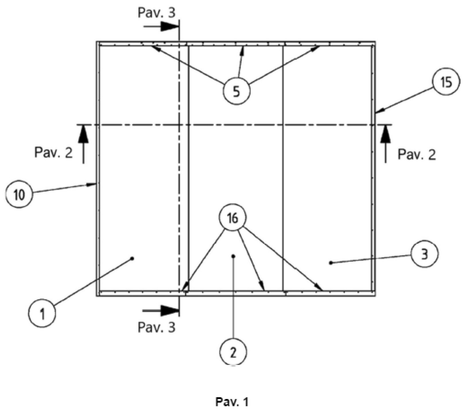
[0014] 1 pav. parodytas ugniai atsparios pertvaros vaizdas iš priekio.

[0015] 2 pav. parodytas ugniai atsparios pertvaros vaizdas iš viršaus.

[0016] 3 pav. parodytas ugniai atsparios pertvaros skersinis pjūvis iš šono.

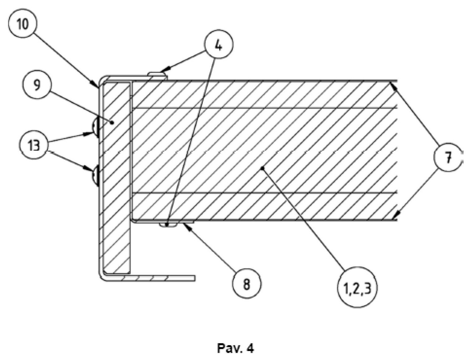
[0017] 4 pav. parodytas vieno ugniai atsparios pertvaros galo vaizdas iš viršaus.

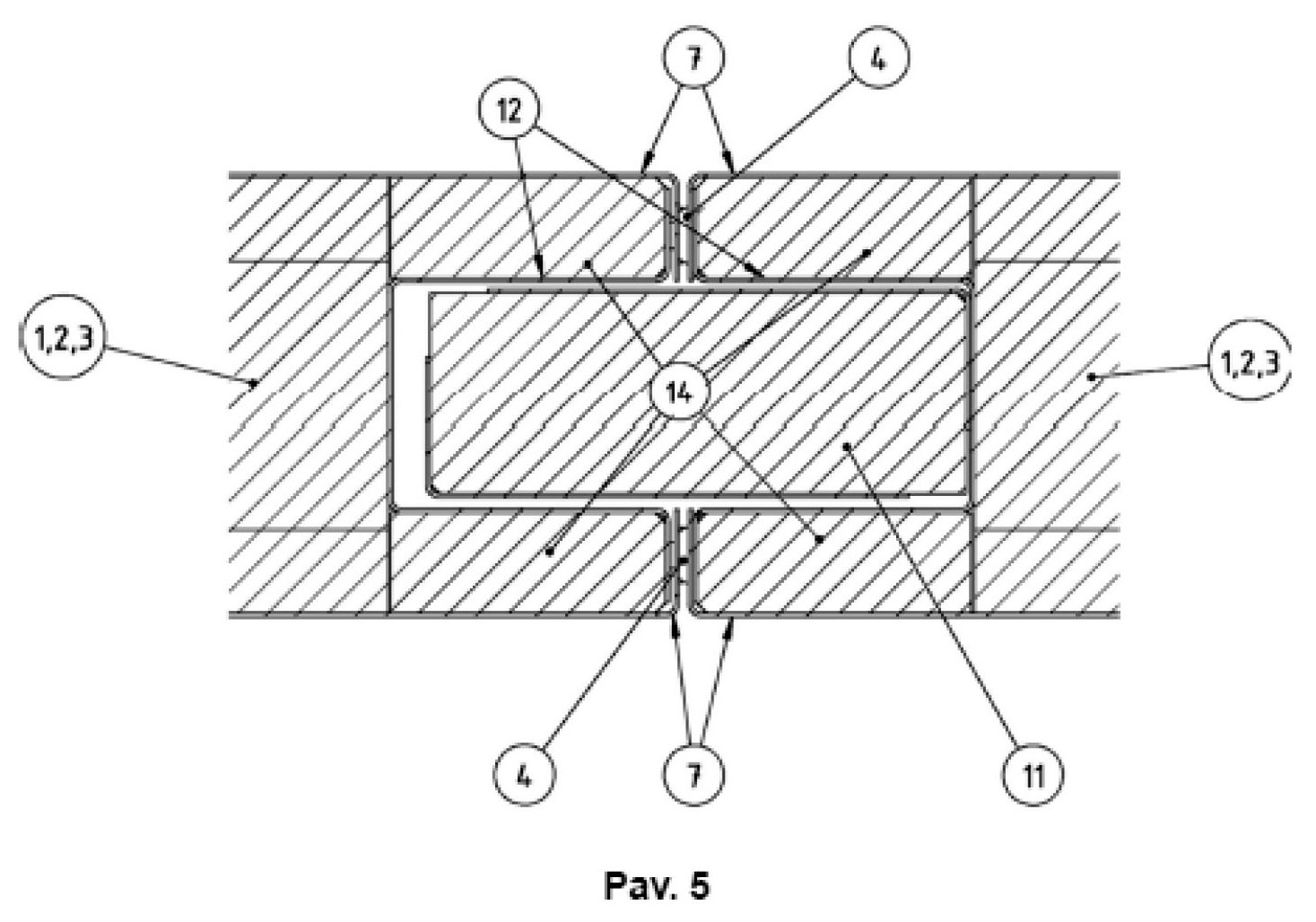
[0018] 5 pav. parodytas vienos iš ugniai atsparios pertvaros sekcijos jungčių vaizdas iš viršaus.

[0019] 6 pav. parodytas kito ugniai atsparios pertvaros galo vaizdas iš viršaus.

[0020] 7 pav. pavaizduotas vieno ugniai atsparios pertvaros varianto skersinis pjūvis.

[0021] 8 pav. parodytas kito ugniai atsparios pertvaros varianto skersinis pjūvis.

[0022] 9 pav. parodytas trečiojo ugniai atsparios pertvaros varianto skersinis pjūvis.

[0023] 10 pav. parodytas ketvirtojo ugniai atsparios pertvaros varianto skersinis pjūvis.

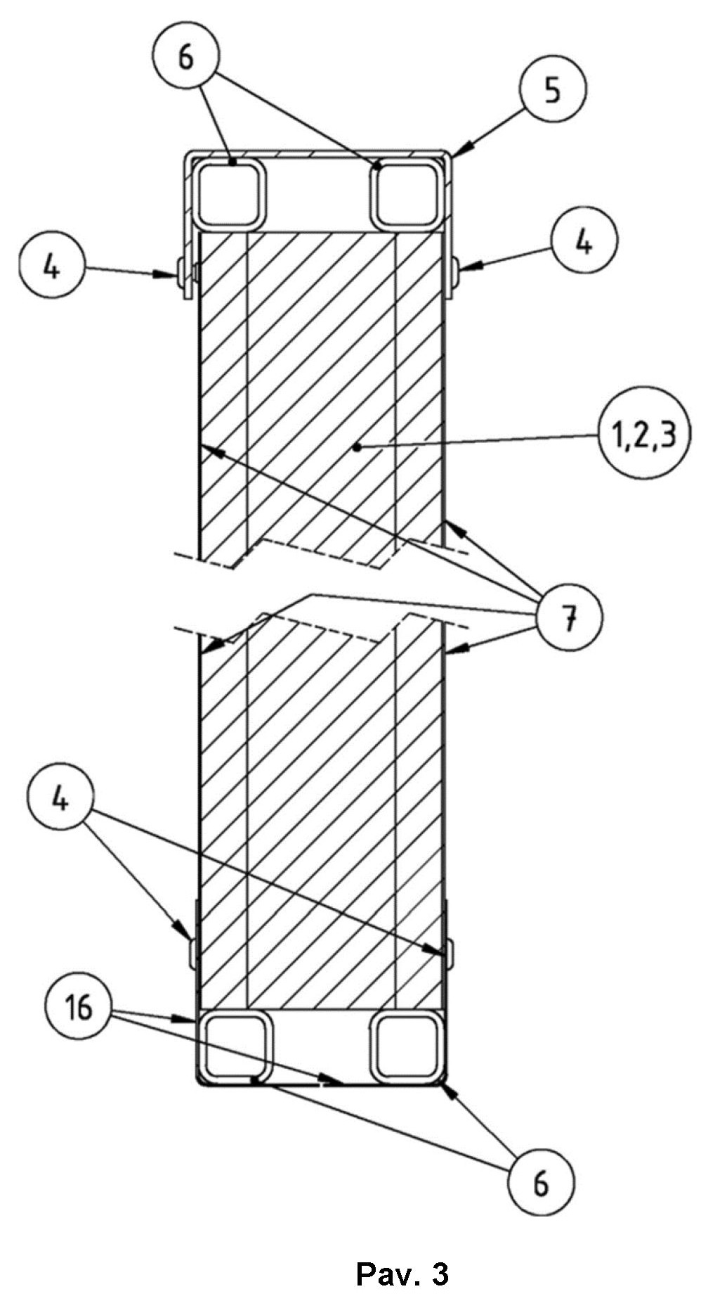
[0024] Ugniai atsparią pertvarą sudaro plokštės (1), (2), (3), kurių vienoje pusėje yra šoninis apvadas (10), kurį sudaro 2 mm plieninis profilis, sujungtas per 0,6 mm kampuotį (8) kniedėmis (4) su lakštinio metalo plokštėmis (7) ir per ugniai atsparią plokštę (9) sujungtas kniedėmis (13) su plokšte (1) arba (2) arba (3).

[0025] Kitoje pusėje užtvarą užbaigia sija (15), suformuota iš profilių, kniedėmis (13) sujungtų su ugniai atsparaus gipso kartono plokšte (9) ir plieniniu kampuočiu (8) kniedėmis (4) sujungtu su lakštinio metalo plokštėmis (7), sujungtomis su paeiliui einančiomis plokštėmis (1), (2) arba (3). Viršuje ir apačioje ugniai atsparią pertvarą užbaigia viršutinė sija (5), taip pat pagaminta iš 2 mm plieninio profilio, pritvirtinto prie 20 mm x 20 mm x 2 mm (6) plieninių profilių, ir apatinė sija (16), suformuota iš 6 mm cinkuoto plieno kampuočio, prie kurio plokštės (1), (2), (3), tvirtinamos kniedėmis (4). Galimi penki toliau išvardytų medžiagų variantai, tarpusavyje sujungti liežuvėliu (14), pagamintu iš ugniai atsparios gipso plokštės, sujungtu su lakštu (12), ir grioveliu (11), pagamintu iš kalcio silikato plokštės ir sujungtu su plieniniu kampuočiu. Plokštės (1), (2), (3) suformuotos iš vieno ir daugiau ugniai atsparios medžiagos sluoksnių, prie kurio iš dviejų pusių yra tvirtai pritvirtintas išorinis sluoksnis.

[0026] Viename iš variantų plokštės (1); (2), (3) turi bent vieną ugniai atsparios medžiagos (A) kalcio silikato sluoksnį, prie kurio iš dviejų pusių tvirtai pritvirtintas išorinis sluoksnis (7), pagamintas iš cinkuoto arba lakuoto plieno lakšto.

[0027] Antrajame variante kalcio silikato ugniai atsparios medžiagos sluoksnis (A) iš abiejų pusių per visą paviršių yra tvirtai sujungtas su ugniai atsparios medžiagos gipso kartono plokštės sluoksniu (B), prie kurio tvirtai pritvirtintos plokštės, sudarančios išorinį sluoksnį (7), pagamintą iš cinkuoto arba lakuoto plieno lakšto.

[0028] Trečiajame variante kalcio silikato ugniai atsparios medžiagos sluoksnis (A) iš abiejų pusių per visą paviršių sujungtas su silikatinio cemento plokščių ugniai atsparios medžiagos sluoksniu (B), prie kurio tvirtai pritvirtinti išoriniai sluoksniai (7) iš cinkuoto arba lakuoto plieno lakšto.

[0029] Ketvirtajame ugniai atsparios pertvaros variante ugniai atsparios medžiagos sluoksnis (B), sudarytas iš gipso kartono plokščių, dedamas tarp ugniai atsparios medžiagos sluoksnių (A), sudarytų iš kalcio silikato, ir sujungiamas su jais per visą paviršių, o išoriniai sluoksniai (7), pagaminti iš cinkuotos arba lakuotos plieninės skardos, yra tvirtai pritvirtinti prie sluoksnių (A).

[0030] Penktajame variante ugniai atsparią pertvarą sudaro ugniai atsparios medžiagos sluoksnis (B), sudarytas iš silikatinio cemento plokščių, dedamų tarp ugniai atsparios medžiagos sluoksnių (A), sudarytų iš kalcio silikato, kuris yra sujungtas su ja per visa jo paviršių, prie kurio iš abiejų pusių pritvirtintas išorinis sluoksnis (7), pagamintas iš cinkuoto arba lakuoto plieno lakšto.

Apibrėžtis

1. Ugniai atspari pertvara, sudaryta iš šoninių apvadų ir viršutinės sijos, suformuotos iš profilių, bei apatinės sijos, suformuotos iš plieninio profilio, prie kurio kniedėmis pritvirtintos plokštės, tarpusavyje sujungtos liežuvėlio ir griovelio principu, b e s i s k i r i a n t i tuo, kad plokštės (1); (2), (3) turi bent vieną ugniai atsparios medžiagos kalcio silikato sluoksnį (A), prie kurio iš abiejų pusių tvirtai pritvirtintas išorinis sluoksnis (7), pagamintas iš cinkuoto arba lakuoto plieno lakšto.

2. Ugniai atspari pertvara pagal 1 punktą, b e s i s k i r i a n t i tuo, kad kalcio silikato ugniai atsparios medžiagos sluoksnis (A) iš abiejų pusių per visą paviršių yra tvirtai sujungtas su ugniai atsparios gipso kartono plokštės sluoksniu (B), prie kurio yra tvirtai pritvirtintos plokštės, sudarančios išorinį sluoksnį (7), pagamintos iš cinkuotos arba lakuotos plieno skardos.

3. Ugniai atspari pertvara pagal 1 punktą, b e s i s k i r i a n t i tuo, kad ugniai atsparios medžiagos kalcio silikato sluoksnis (A) iš abiejų pusių per visą paviršių sujungtas su ugniai atsparios medžiagos sluoksniais iš silikatinio cemento plokščių, (B), prie kurių yra tvirtai pritvirtintos plokštės, sudarančios išorinį sluoksnį (7), pagamintos iš cinkuotos arba lakuotos plieno skardos.

4. Ugniai atspari pertvara pagal 1 punktą, b e s i s k i r i a n t i tuo, kad ugniai atsparios medžiagos, kurią sudaro gipso kartono plokštės, sluoksnis (B) yra įterptas tarp priešgaisrinės medžiagos, kurią sudaro kalcio silikatas, sluoksnių (A) ir sujungtas su jais per visą jų paviršių, prie kurio iš abiejų pusių tvirtai pritvirtintas išorinis sluoksnis (7), pagamintas iš cinkuoto arba lakuoto plieno lakšto.

5. Ugniai atspari pertvara pagal 1 punktą, b e s i s k i r i a n t i tuo, kad ugniai atsparios medžiagos sluoksnis (B), sudarytas iš silikatinio cemento plokščių, yra įterptas tarp ugniai atsparios medžiagos kalcio silikato sluoksnių (A) ir su jais sujungtas per visa paviršių, prie kurio iš abiejų pusių tvirtai pritvirtintas išorinis sluoksnis (7), pagamintas iš cinkuoto arba lakuoto plieno lakšto.

Brėžiniai