LT7061B

DIDELĖS GALIOS PJEZOELEKTRINIS VARIKLIS SU VALDYMO SISTEMA

HIGH POWER PIEZOELECTRIC MOTOR WITH CONTROL SYSTEM

Referatas

[LT] Atskleidžiama variklio su valdymo sistema konstrukcija, leidžianti pasiekti didelį sukimo momentą, jėgą, judesio greitį bei veikimo stabilumą su didelėmis apkrovomis. Variklis apima tampraus žiedo formos statorių (1), su abipus žiedo išdėstytais dvipusiais simetriškais dantimis (7), kurie tinkamiausi trapecinės formos. Dvipusių dantų simetrijos ir statoriaus (1) žiedo bendroje plokštumoje suformuotos įpjovos (9). Statoriaus (1) žiedo išilginių virpesių mazginėse zonose sumontuoti pjezoelektriniai Lanževeno tipo paketai (11). Ant statoriaus (1) dantų (7) viršutinių ir apatinių paviršių sumontuoti standūs atraminiai-frikciniai elementai (8), per kuriuos prie dantų (7) prispaudžiami diskiniai rotoriai (2). Šie rotoriai (2) sukami, žadinant Lanževeno tipo paketus (11) ar jų grupes (22, 23) elektriniais signalais, kurių dažnis priderintas prie statoriaus žiedo (6) išilginių virpesių rezonansinio dažnio. Žadinant variklį dviem harmoniniais signalais, jų fazių skirtumas nustatomas π/2. Žadinant vienu signalu, veikiama pjezoelektrinių paketų grupė (22, 23), kita grupė tuo metu neveikiama. Žadinant variklį dviem nesimetriniais signalais su fazių skirtumu π, variklis veikia inerciniu principu.

[EN] A construction of a piezoelectrically driven motor is disclosed. The piezoelectric motor allows to achieve high torque, force, speed of movement, and stability of operation with high loads. The motor comprises a stator (1) having shape of an elastic ring, with two-sided symmetrical teeth (7) located on both sides of said ring, those are preferably trapezoidal in shape. Notches (9) are formed in the common plane of the symmetry of said two-sided teeth and the stator (1) ring. Piezoelectric Langevin-type packages (11) are installed in the nodal zones of longitudinal vibrations of the stator (1) ring. On the upper and lower surfaces of the teeth (7), rigid support-friction elements are installed, through which the disk-shaped rotors (2) are pressed against the teeth (7). These disk rotors (2) are rotated by exciting the Langevin packages (11) or their groups (22, 23) with electrical signals with their frequency matching the resonant frequency of the longitudinal vibrations of the stator ring (6). When exciting the motor with two harmonic signals, the phase difference is determined by π/2. When driving by one signal, a group of piezoelectric packs (22, 23) is activated, while the other group is inactive at that time. When the motor is excited by two asymmetrical signals with a phase difference of π then the motor operates based on the inertial principle.

Aprašymas

[0001] TECHNIKOS SRITIS

[0002] Išradimas priskiriamas elektro-mechaninių, mechatroninių sistemų ir robototechnikos sritims. Konkrečiau, šiame išradime atskleidžiama pjezoelektrinio variklio ir jo pavaros konstrukcija bei įgyvendinimo variantai, kurie gali būti taikomi aukšto tikslumo ir didelės galios sukamojo judesio pavarose ir techninėse užduotyse.

[0003] TECHNIKOS LYGIS

[0004] Vystantis aeronautikos ir astronautikos technologijoms, intensyviai kuriami ir naudojami mikro ir nano žemės palydovai, kurie naudojami žemės stebėjimui, meteorologinių duomenų surinkimui, telekomunikacinėse sistemose. Todėl atsiranda poreikis ypač tiksliai valdyti derinti ir palaikyti šių objektų poziciją erdvėje. Tokiose pozicionavimo sistemose taikomoms pavaroms ir vykdikliams keliami aukšti patikimumo, tikslumo ir galios reikalavimai. Taip pat, atsižvelgiant į konkrečią specifinę taikymo sritį, gali būti apribota įrenginio leistina masė ir montavimo tūris.

[0005] Siekiant atitikti keliamus techninius taikomųjų užduočių reikalavimus, vis plačiau naudojamos pjezoelektrinės pavaros ir vykdikliai. Šiuo metu yra žinomi keli techniniai sprendimai ir patentai, kuriuose siūlomi šių techninių problemų sprendimai.

[0006] Taivanio patente TWI450489B aprašomas rotorinis nedidelių matmenų variklis, turintis didelį sukimo momentą bei aukštą posūkio kampo rezoliuciją. Variklį sudaro kvadratinio skerspjūvio strypo formos statorius, kurio abejuose galuose suformuoti flanšai, o viename iš galų kūgio formos ertmė. Kūgio formos rotorius patalpintas į statoriaus kūgio formos ertmę. Naudojant rotoriaus prispaudimo sistemą tarp rotoriaus ir statoriaus sukuriama trinties jėga, kurią galima keisti reguliuojant prispaudimo sistemos spyruoklę. Lygiagrečiai statoriaus kraštinėms sumontuoti keturi pjezoelektriniai daugiasluoksniai keitikliai, kurių galai atsiremia į flanšus suformuotus statoriaus galuose. Paduodant, du harmoninius signalus, su fazių skirtumu π/2, į daugiasluoksnius pjezoelektrinius keitiklius sukuriamos kvadratinio skerspjūvio statoriaus lenkimo deformacijos, kurios sukuria bėgančios bangos virpesius. Statoriaus virpesiai, per trinties jėgą, perduodami į kūgio formos rotorių taip sukuriant sukamąjį jo judesį. Variklio didelis sukimo momentas ir precizinė kampinė rezoliucija gaunami dėl didelio kontakto paviršiaus tarp statoriaus ir rotoriaus bei dėl daugiasluoksnių pjezoelektrinių keitiklių naudojimo variklio konstrukcijoje. Tačiau, siekiant gauti didesnį sukimo momentą, reikia padidinti trinties jėgą, ko pasėkoje mažinamas variklio patikimumas dėl padidėjusio paviršių dėvėjimosi kontakto zonoje.

[0007] Japonijos patentinėje paraiškoje JP2000152671A aprašomas pjezoelektrinis sukamojo judesio variklis, galintis pasiekti didelį sukimo momentą. Variklio konstrukcija pagrįsta trimis V-formos pjezoelektriniais vykdikliais, kurie tolygiai išdėstyti aplink cilindro formos rotorių. Kiekvienas vykdiklis turi individualią prispaudimo sistemą. V-formos vykdikliai sudaryti iš dviejų Lanževeno tipo pjezoelektrinių paketų, kurie sujungti tarpusavyje 90 laipsnių kampu. Paketų sujungimo vietoje suformuojamas kontakto taškas, kuris atremiamas į cilindro formos rotorių. V-formos vykdiklių veikimas pagrįstas išilginių Lanževeno tipo paketų virpesių superpozicija, kai paketai žadinami dviem harmoniniais elektriniais signalais, kurių fazių skirtumas yra π/2. Tokio tipo virpesiai sukuria elipsinę kontaktinio taško judesio trajektoriją. Išilginių Lanževeno tipo paketų virpesių taikymas variklyje užtikrina galimybę gauti didelį sukimo momentą ir aukštos skiriamosios gebos sukamąjį judesį. Kita vertus, pavaros konstrukcija, kurioje naudojami keli pjezoelektriniai vykdikliai, įtakoja sudėtingą variklio valdymą dėl nevienodų visų trijų keitiklių žadinimo dažnių. Taip pat individualus keitiklių prispaudimas neužtikrina vienodos trinties jėgos trijuose kontakto taškuose, o mažas kontaktinio paviršiaus plotas ir didelė prispaudimo jėga padidita kontakto zonos dėvėjimąsi ir mažina pavaros patikimumą.

[0008] JAV patente US6628045B2 aprašomas pjezoelektrinis žiedo formos sukamojo judesio variklis, kurį sudaro statorius, susidedantis iš tampraus dantyto žiedo formos statoriaus su standžiai pritvirtintu pjezoelektriniu žiedu, disko formos rotorius ir rotoriaus prispaudimo sistemos. Pjezoelektrinio žiedo elektrodas padalytas į lygias dalis. Paduodant į žiedo elektrodus du harmoninius elektrinius signalus su fazių skirtumu π/2, sužadinamos dantyto žiedo lenkimo deformacijos ir sukuriami bėgančios bangos virpesiai, kurie per trinties jėgą tarp rotoriaus ir statoriaus dantų sukuria sukamąjį rotoriaus judesį. Statoriaus danties aukštis ir forma įtakoja lenkimo virpesių amplitudės dydį kontakto zonoje tarp statoriaus ir rotoriaus bei leidžia padidinti maksimalų variklio sukimo momentą ir greitį. Tačiau, dantyto statoriaus panaudojimas siekiant išgauti didelį sukimo momentą turi trūkumą - maksimalus sukimo momentas yra apribotas danties aukščiu ir prispaudimo jėga. Pasiekus tam tikrą danties aukščio ir rotoriaus prispaudimo jėgos santykį, pradedami klupdyti statoriaus dantys, o tai riboja variklio sukimo momento didinimą.

[0009] Šis JAV patentas US6628045B2 yra artimiausias technikos lygio dokumentas, kurio atžvilgiu, panaudojant esminius patobulinimus, sukurtas esamasis išradimas.

[0010] IŠRADIMO ESMĖ

[0011] Techninė problema. Šio išradimo sprendžiama techninė problema yra padidinti pjezoelektrinio sukamojo judesio variklio sukimo momentą, jėgą, greitį, pagerinti variklio veikimo stabilumą, bei išplėsti funkcines galimybes.

[0012] Sprendimas. Išradimo tikslas pasiekiamas tuo, kad žiedo formos sukamojo judesio pjezoelektrinio variklio statoriuje suformuojami dvipusiai dantys, kurių vieta parenkama taip, kad sutaptų su žiedo nuosavų išilginių virpesių pūpsniais, o dvipusių dantų aukštis, įskaitant ir statoriaus aukštį, būtų lygus arba artimas žiede žadinamų virpesių pusės bangos ilgiui. Minėtų dvipusių dantų horizontaliose simetrijos ašyse suformuojamos įpjovos, kurių dėka sumažinamas bendras variklio aukštis ir pasiekiami didesni dantų viršūnių poslinkiai bei rotoriaus sukimosi greitis. Ant dantų viršutinių plokštumų sumontuojami standūs frikciniai elementai, prie kurių, spyruokliniu būdu prispausti du disko formos rotoriai. Frikciniai elementai ir su jais besiliečiantys rotorių paviršiai yra pagaminti iš standžios, dilimui atsparios medžiagos, pvz. aliuminio oksido Al2O3 arba titano oksido TiO2. Statorius tvirtinamas naudojant žiedo ar kitos formos tvirtinimo elementą, kuris sujungiamas su statoriumi neišardomai ir tokiu būdu, kad jo įtvirtinimo sujungimo su statoriumi vietos sutaptų su statoriuje žadinamų išilginių virpesių rezonanso mazginėmis zonomis.

[0013] Statoriaus išilginiai virpesiai sukuriami žadinant statoriaus žiedo nuosavų išilginių virpesių mazginėse zonose įtvirtintus pjezoelektrinius keitiklius, vienu arba dviem elektriniais harmoniniais signalais, kurių fazių skirtumas nustatomas π/2, arba dviem neharmoniniais periodiniais signalais, kurių fazių skirtumas yra nustatomas π, o dažnis suderinamas artimas arba sutampantis su žiedinio statoriaus nuosavų išilginių virpesių rezonansiniu dažniu.

[0014] Variklio sukimo momentas ir jėga gaunami didesni, kai minėti dantys yra suformuoti iš abiejų statoriaus pusių. Tai yra, statoriaus plokščio žiedo dvipusiai dantys, kurių bendras aukštis parenkamas artimas arba lygus statoriaus išilginių virpesių pusės bangos ilgiui.

[0015] Variklio sukamojo judesio greitį padidinti leidžia dvipusių dantų horizontalioje simetrijos ašyje (o tuo pačiu, ir statoriaus žiedo plokštumoje) suformuotos specialios įpjovos. Jos leidžia sumažinti statoriaus su dantimis, ir tuo pačiu, viso variklio aukštį. Tuo pačiu, jos padeda nesumažinti arba padidinti dvipusių dantų viršūnių poslinkio amplitudę, sumažinus statoriaus kartu su jo dvipusiais dantimis bendrą aukštį.

[0016] Variklio veikimo stabilumą leidžia padidinti statoriaus dvipusių dantų trapecinė arba analogiška forma, kurios ilgasis pagrindas projektuojamas ant statoriaus žiedo. Ši savybė sumažina arba eliminuoja statoriaus dantų klupdymą, esant didelėms ašinėms variklio apkrovoms.

[0017] Funkcinės variklio galimybės praplečiamos, taikant kelias skirtingas atskirų pjezoelektrinių vykdiklių (Lanževeno tipo paketų) ar jų grupių žadinimo schemas, pjezoelektrinių vykdiklių žadinimo eiliškumą, bei elektrinių žadinimo signalų parametrus.

[0018] BRĖŽINIŲ APRAŠYMAS

[0019] Brėžiniai pateikiami kaip nuoroda į galimą išradimo įgyvendinimą, bet neturi riboti išradimo apimties. Nei vienas pateiktų brėžinių ir grafikų nelaikomi ribojančiais, o tik kaip galimi išradimo įgyvendinimo pavyzdžiai.

[0020] 1 pav.Pjezoelektrinio sukamojo judesio variklio principinė schema: (a) – izometrinis pjezoelektrinės sukamojo judesio variklio vaizdas; (b) – išskleistinis pjezoelektrinės sukamojo judesio variklio vaizdas.

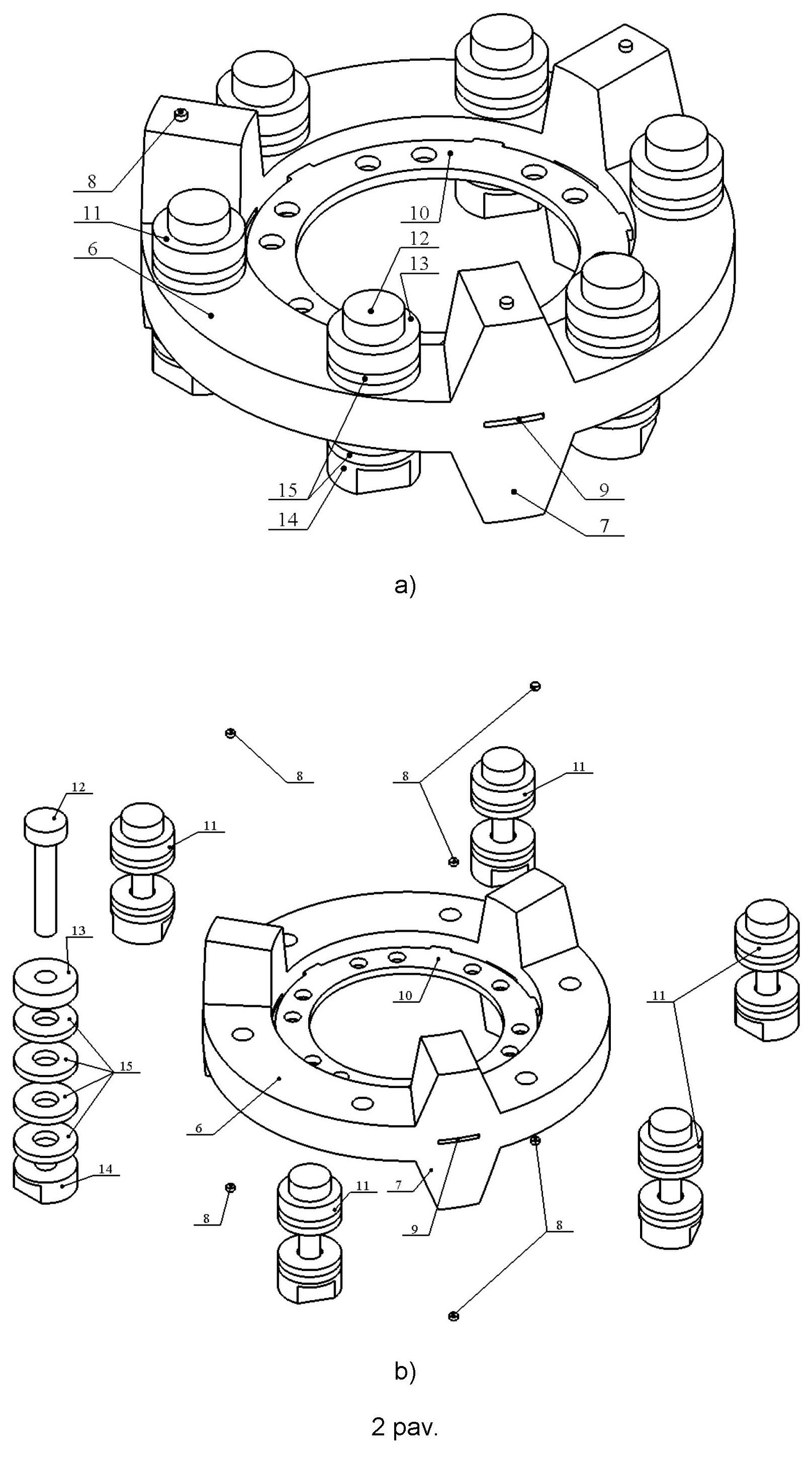
[0021] 2 pav.Pjezoelektrinio sukamojo judesio variklio statoriaus principinė schema: (a) – izometrinis pjezoelektrinės sukamojo judesio variklio statoriaus vaizdas; (b) – išskleistinis pjezoelektrinės sukamojo judesio variklio statoriaus vaizdas.

[0022] 3 pav.Pjezoelektrinio sukamojo judesio variklio danties ir pjezoelektrinio Lanževeno tipo paketo konstrukcijų detalizacija: (a) – danties konstrukcijos detalizacija; (b) – pjezoelektrinio Lanževeno tipo paketo konstrukcijos detalizacija.

[0023] 4 pav.Pjezoelektrinio slenkamojo judesio variklio principinė schema.

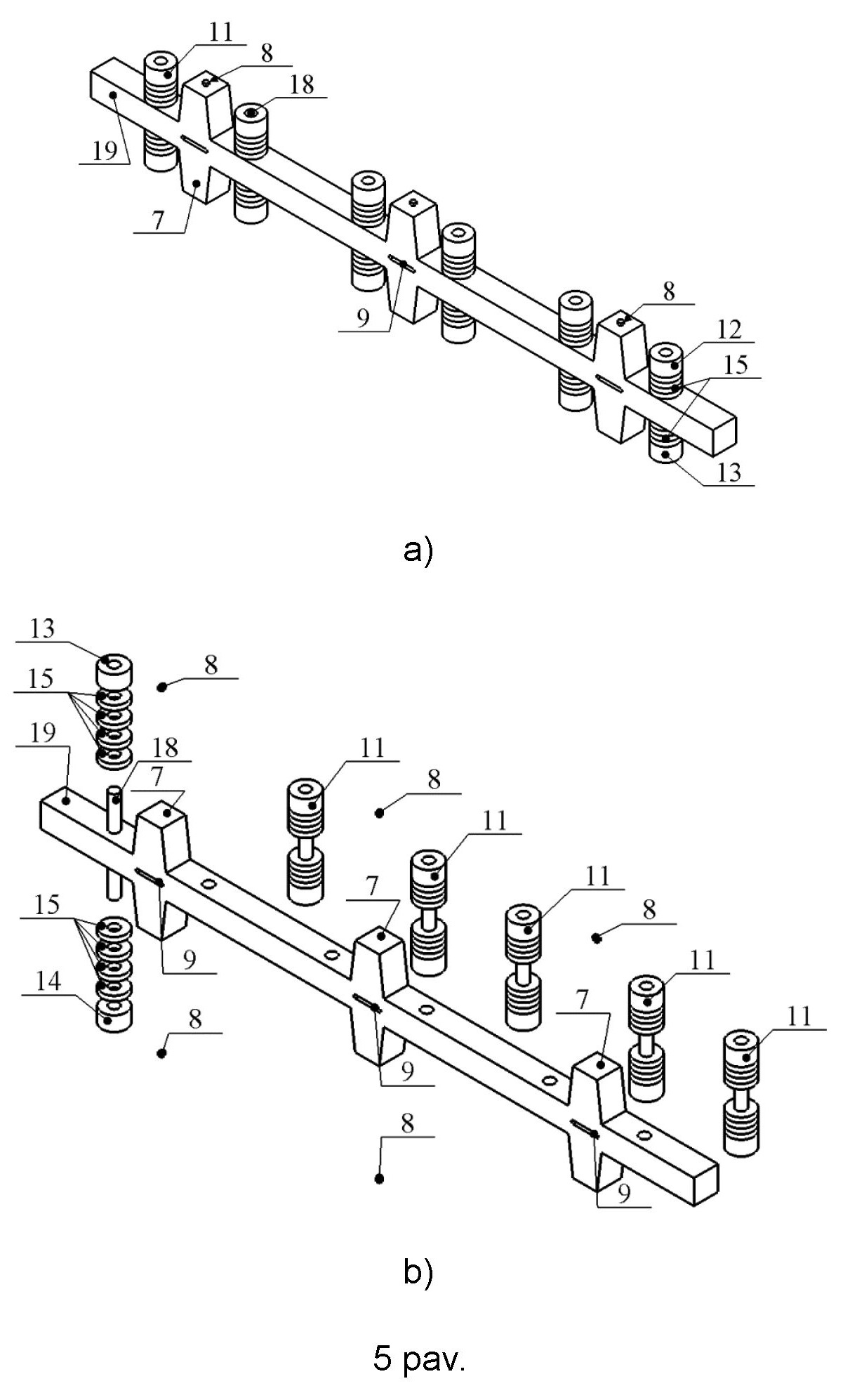
[0024] 5 pav.Pjezoelektrinio slenkamojo judesio variklio statoriaus principinė schema: (a) – izometrinis pjezoelektrinio slenkamojo judesio variklio statoriaus vaizdas; (b) – išskleistinis pjezoelektrinio slenkamojo judesio variklio statoriaus vaizdas.

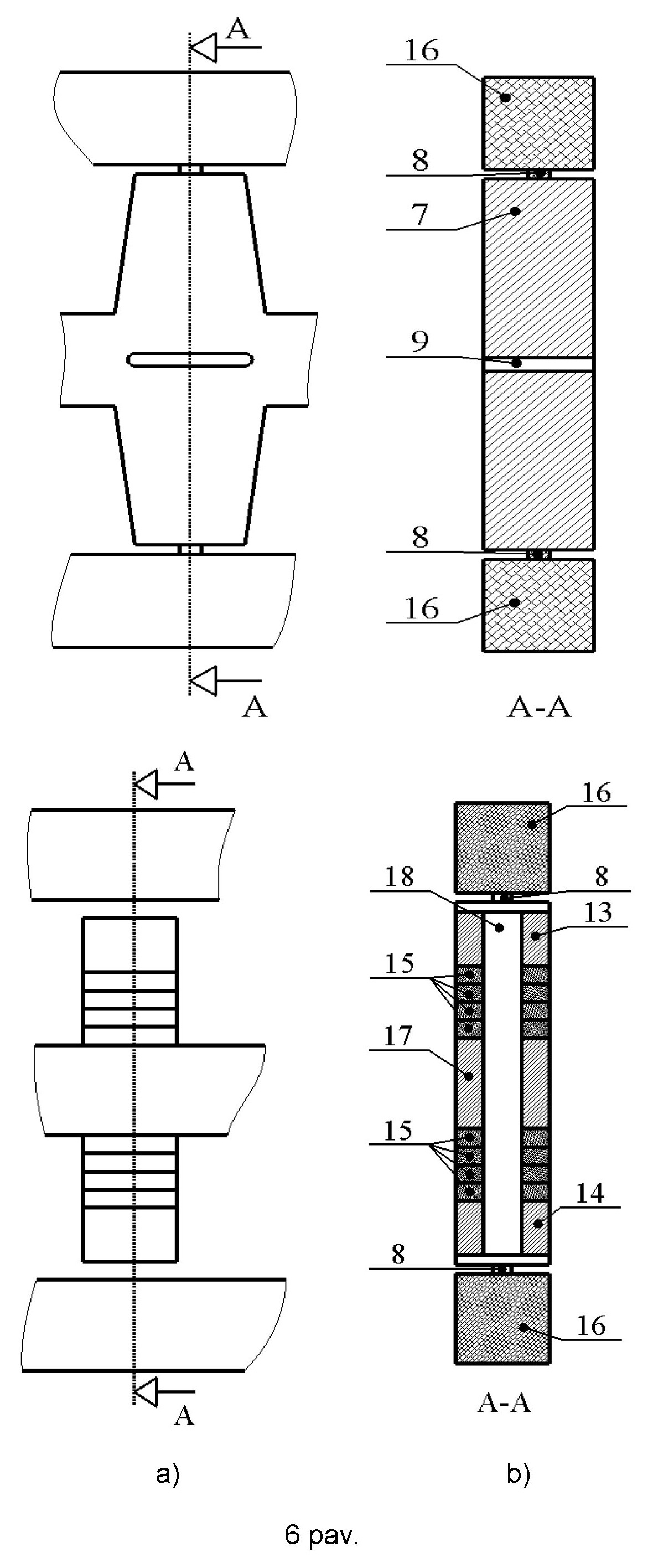
[0025] 6 pav.Pjezoelektrinio slenkamojo judesio variklio danties ir pjezoelektrinio paketo konstrukcijų detalizacija: (a) – danties konstrukcijos detalizacija; (b) – pjezoelektrinio Lanževeno tipo paketo konstrukcijos detalizacija.

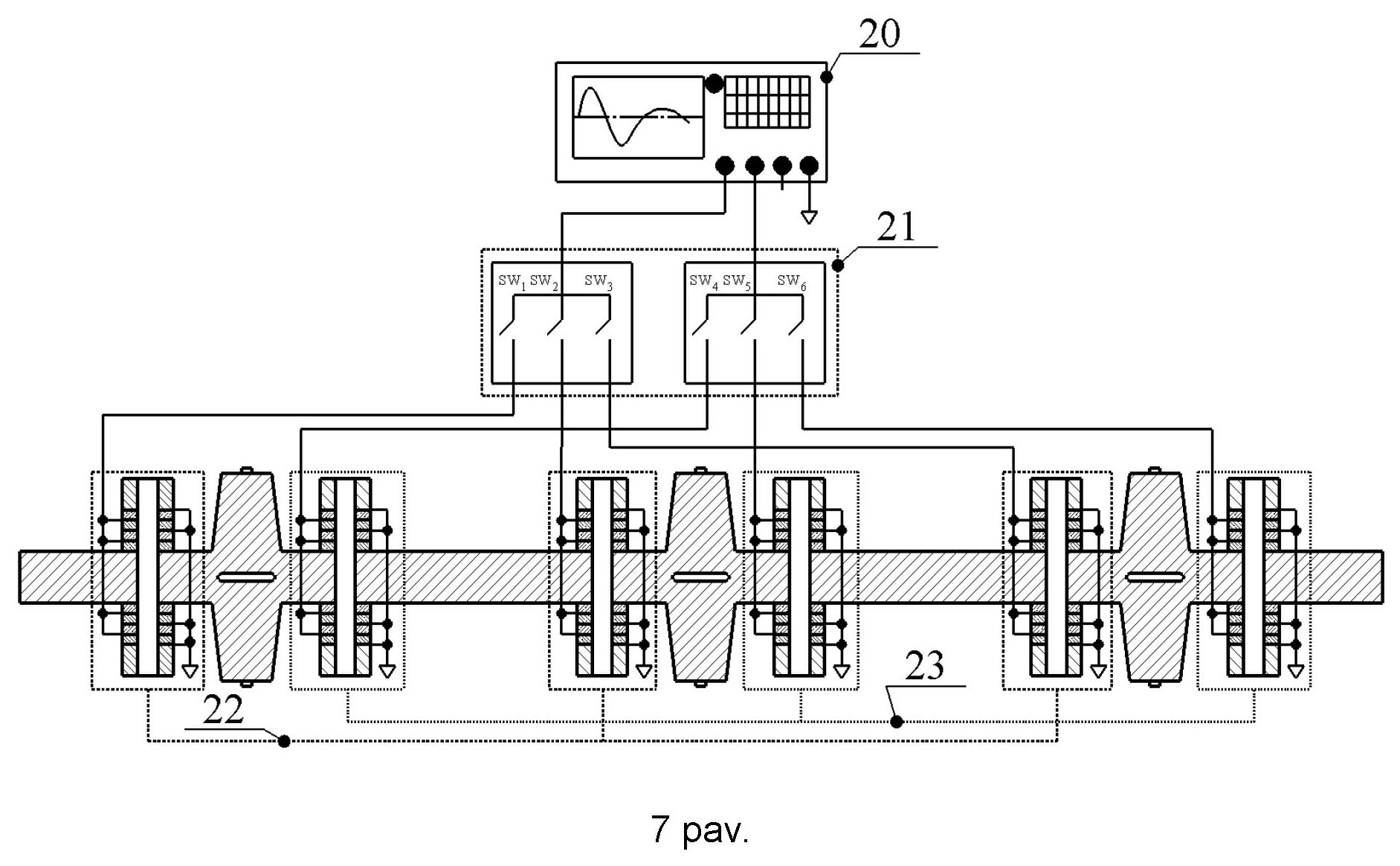
[0026] 7 pav.Pjezoelektrinio sukamojo ar slenkamojo judesio variklio žadinimo (valdymo sistemos) schema.

[0027] 8 pav.Trapecinių dvipusių dantų ir pjezoelektrinių paketų pasiskirstymo schema: (a) – sukamojo judesio pavaroje; (b) – slenkamojo judesio pavaroje.

[0028] 9 pav.Sukamojo ir slenkamojo judesio variklio statoriaus virpesių modos: (a) – sukamojo judesio variklis; (b) – slenkamojo judesio variklis.

[0029] Brėžiniuose pažymėtų elementų aprašymas:

[0030] 1 – plokščio žiedo formos statorius;

[0031] 2 – disko formos rotorius;

[0032] 3 – prispaudimo spyruoklė;

[0033] 4 – veržlė;

[0034] 5 – velenas;

[0035] 6 – tamprus žiedas;

[0036] 7 – dvipusis trapecinis dantis;

[0037] 8 – standus frikcinis elementas;

[0038] 9 – įpjova;

[0039] 10 – statoriaus įtvirtinimo žiedas;

[0040] 11 – pjezoelektrinis Lanževeno tipo paketas;

[0041] 12 – pjezoelektrinio Lanževeno tipo paketo tvirtinimo varžtas;

[0042] 13 – pjezoelektrinio Lanževeno tipo paketo viršutinė dalis;

[0043] 14 – pjezoelektrinio Lanževeno tipo paketo apatinė dalis;

[0044] 15 – pjezoelektriniai žiedai;

[0045] 16 – slankiklis;

[0046] 17 – tampraus strypo statorius;

[0047] 18 – smeigė;

[0048] 19 – tamprus strypas;

[0049] 20 – signalų generatorius;

[0050] 21 – žadinimo signalų komutacijos įrenginys;

[0051] 22 – pirma Landževeno tipo paketų grupė;

[0052] 23 – antra Landževeno tipo paketų grupė.

[0053] DETALUS IŠRADIMO APRAŠYMAS

[0054] Rotacinis variklis. Čia ir toliau pjezoelektrinis variklis aprašomas su nuorodomis į brėžinius. Pjezoelektrinis sukamojo judesio variklis apima: tamprų žiedo formos statorių (1) kurio vidutinis skersmuo parenkamas pagal formulę:

[0055] D = nC/πf,

[0056] kur D yra statoriaus žiedo (6) vidutinis skersmuo,

[0057] C – išilginių virpesių sklidimo statoriaus žiede greitis,

[0058] f – žadinimo signalo dažnis;

[0059] n – sveikas skaičius.

[0060] Žiedo formos statorius (1) su dviem plokščiais paviršiais, ant kurių radiališkai išdėstyti dvipusiai į statoriaus pagrindą platėjantys dantys (7), kurie turi bet kurią į pagrindą platėjančią formą: simetriškos trapecinės prizmės, kūgio, pusiau sferos, ar pusiau elipsoido. Minėti žiedas ir jo dvipusiai dantys sudaro vientisą statoriaus (1) konstrukciją. Ši statoriaus konstrukcija gaminama iš vientisos tamprios medžiagos, pavyzdžiui, plieno, aliuminio arba bronzos lydinių. Prie statoriaus (1), iš abiejų jo pusių, prie minėtų statoriaus dantų (7), spyruokliniu būdu prispaudžiami disko formos rotoriai (2). Kiekvieno dvipusio trapecinio danties (7) horizontalioje simetrijos ašyje ir tuo pačiu, statoriaus žiedo plokštumoje, yra suformuota išilginė įpjova (9) neviršijanti dvipusio danties 2/3 maksimalaus pločio. Naudojant įpjovą (9) sumažinamas statoriaus konstrukcinis standumas, kas leidžia pasiekti dvipusių trapecinių dantų (7) viršūnių poslinkių pakankamą amplitudę, esant sumažintam trapecinių dantų ir kartu viso variklio (pavaros) aukščiui.

[0061] Ant dvipusių dantų (7) viršutinių ir apatinių plokštumų patalpinami standūs kontaktiniai-frikciniai (atraminiai) elementai (8). Šie kontaktiniai-frikciniai elementai (8) tiesiogiai kontaktuoja su dviem disko formos rotoriais (2), sujungtais su pavaros velenu (5). Taip sujungti ir prispausti rotoriai sudaro tribologinę porą, kurios prispaudimo jėga prie statoriaus dantų frikcinių elementų (8) gali būti keičiama, suspaudžiant arba atleidžiant prispaudimo spyruoklę (3). Spyruoklės suspaudimą / atleidimą reguliuoja prispaudimo veržlės (4) vertikali pozicija ant pavaros veleno (5).

[0062] Variklio rotoriai (2) gaminami iš kietos medžiagos, analogiškos kaip ir kontaktiniai-frikciniai elementai (8).

[0063] Variklio statorius (1) pavaroje įtvirtinamas naudojant statoriaus įtvirtinimo žiedą (10). Šis žiedas su statoriumi (1) sujungiamas neišardomai ir taip, kad įtvirtinimo žiedo (10) ir statoriaus (1) sujungimo vietos sutaptų su statoriuje (1) žadinamų išilginių virpesių mazginėmis zonomis. Žiedo formos statoriuje (1) taip pat įmontuojami pjezoelektriniai vykdikliai, pavyzdžiui, Lanževeno tipo paketai (11). Pjezoelektrinių vykdiklių išdėstymo pasiskirstymas žiede parenkamas taip, kad sutaptų su žiedo formos statoriuje (1) žadinamų išilginių virpesių mazgais. Lanževeno paketą (11) sudaro jo viršutinė dalis (13), pjezoelektriniai žiedai (15), apatinė dalis (14), ir paketo įtvirtinimo varžtas (12), kuris naudojamas išardomai pritvirtinti pjezoelektrinį Lanževeno tipo paketą (11) prie žiedinės formos statoriaus (1).

[0064] Linijinis variklis. Kitas galimas šio išradimo realizacijos variantas yra linijinis variklis. Linijinio variklio variante statorius (17) yra tampraus strypo formos, o vietoje disko formos dviejų rotorių (2) naudojami tiesiniai slankikliai (16). Taip pat, varžtas (12) gali būti pakeičiamas smeige (18). Tuo tarpu, aukščiau aprašyti trapecinių dvipusių dantų (7) ir pjezoelektrinių Lanževeno paketų (11) konstrukcija ir montavimo principai išlaikomi tie patys, kaip ir rotacinio variklio konstrukcijoje. Šis linijinis variklis formuoja slenkamąjį judesį.

[0065] Variklio veikimo aprašymas. Disko formos rotorių (2) poros sukamasis judesys gaunamas, kai į pjezoelektrinius Lanževeno tipo paketus (11), naudojant žadinimo signalų komutacinį įrenginį (21) ir signalų generatorių (20), paduodami harmoniniai arba neharmoniniai periodiniai elektriniai signalai, kurių parametrai tokie kaip dažnis, amplitudė, fazė ir forma suderinti su pavaros elektromechaninėmis charakteristikomis. Žadinimo signalai į variklio Lanževeno paketus (11) gali būti formuojami pagal tris skirtingas žadinimo schemas.

[0066] Linijinio variklio variante žadinimo principas išlieka tas pats, skiriasi tik variklio kuriamo judesio pobūdis: šiuo atveju, žadinamas linijinis slenkamasis judesys.

[0067] 1 žadinimo schema. Pirmoje žadinimo schemoje, disko formos rotoriaus (2) sukamasis judesys žadinamas pirmąja Lanževeno paketų grupe (22). Ši grupė žadinama per elektrinių žadinimo signalų komutacinį įrenginį (21) harmoniniu elektriniu signalu, kurio dažnis f suderintas su žiedinio statoriaus (1) išilginių virpesių rezonanso dažniu. Tuo tarpu, antrajai Lanževeno paketų grupei (23) elektrinis signalas netiekiamas ir ji lieka pasyvi. Pirmosios grupės (22) Lanževeno paketai (11), paveikti žadinimo signalo, sinchroniškai išsitempdami ir susitraukdami išilgai savo vertikaliosios simetrijos ašies, deformuoja tamprų žiedinį statorių (1) skersine kryptimi bei, dėl Puasono koeficiento sukuriamos deformacijos, – ir išilgine kryptimi. Todėl dvipusiai trapecijos formos dantys (7), papildomai ir dėka įpjovų (9), yra lenkiami. Dvipusių trapecinių dantų (7) lenkimo virpesiai, per standžius frikcinius elementus (8), perduodami į disko formos rotorius (2), taip sukurdami rotorių sukamuosius judesius. O sukurti rotorių priešingos krypties sukamąjį judesį, per signalų komutacinį įrenginį (21) pradedama žadinti antroji Lanževeno paketų grupė (23), tuo tarpu, pirmosios grupės (22) žadinimas nebevykdomas. Pasikeitus variklio apkrovai, elektrinių signalų charakteristikos suderinamos pagal pasikeitusias variklio elektromechanines savybes.

[0068] 2 žadinimo schema. Antrojoje žadinimo schemoje, diskinio rotoriaus (2) sukamasis judesys žadinamas, pirmąja ir antrąja pjezoelektrinių paketų grupėmis (22, 23). Abi grupės, per elektrinių žadinimo signalų komutacinį įrenginį (21), yra veikiamos lygiagrečiai dviem harmoniniais signalais, kurių fazių skirtumas nustatytas π/2, o dažnis f suderintas su žiedinio statoriaus (1) išilginių virpesių rezonanso dažniu. Veikdami grupėse asinchroniškai, Lanževeno paketai (11) išsitempdami ir susitraukdami išilgai savo vertikalios simetrijos ašies, dėl statoriaus (1) medžiagos tamprumo, ir Puasono koeficiento, sužadina statoriaus (1) išilginius virpesius, taip sukurdami bėgančios bangos virpesius. Šie virpesiai formuoja lenkiamų dvipusių trapecinių dantų (7) viršūnių elipsines judesio trajektorijas, kurios per standžius frikcinius elementus (8) toliau perduodamos į disko formos rotorius (2). Taip sukuriamas rotorių (2) sukamasis judesys. Tuo tarpu, rotorių (2) sukimąsi priešinga kryptimi žadina tie patys harmoniniai žadinimo signalai iš elektrinių signalų komutacinio įrenginio (21), tačiau sukeitus juos tarp minėtų dviejų Lanževeno paketų grupių (22, 23). Pasikeitus variklio apkrovai, elektrinių signalų charakteristikos suderinamos pagal pasikeitusias variklio elektromechanines savybes.

[0069] 3 žadinimo schema. Trečioje žadinimo schemoje, disko formos rotorių (2) sukamasis judesys formuojamas pirmąja ir antrąja pjezoelektrinių paketų grupėmis (22, 23). Abi grupės, per elektrinių žadinimo signalų komutacinį įrenginį (21), yra veikiamos lygiagrečiai dviem nesimetriniais periodiniais signalais, kurių fazių skirtumas nustatomas π, o dažnis f priderinamas artimas arba lygus žiedinio statoriaus (1) išilginių virpesių rezonanso dažniui. Dėl nesimetrinės žadinimo signalo formos, Lanževeno paketai (11) išsitempia ir susitraukia skirtingais greičiais. Dėl skirtingų susitraukimo ir išsiplėtimo greičių bei išilginių virpesių, sužadinamų žiediniame statoriuje (1), dvipusių trapecinių dantų (7) lenkimo deformacijų greitis taip pat skiriasi. Tokiu būdu gaunamas inercinis sukamojo judesio variklio veikimas. Šie nesimetriniai dvipusių trapecinių dantų (7) virpesiai per standžius frikcinius elementus (8) perduodami į diskinius rotorius (2), taip sukurdami rotorių sukamąjį judesį. Tuo tarpu, rotorių sukimasis priešinga kryptimi sukuriamas, pakeitus žadinimo signalų fazes į priešingas. Pasikeitus variklio apkrovai, elektrinių signalų charakteristikos suderinamos pagal pasikeitusias variklio elektromechanines savybes.

[0070] Kiti realizacijos variantai. Techninis variklio įgyvendinimas nėra ribojamas aukščiau pateiktais pavyzdžiais. Galimos įvairios kitos įgyvendinimo būdų modifikacijos bei tobulinimai, išlaikant esmines aukščiau aprašytas šio išradimo (variklio ir jo konstrukcijos) savybes.

[0071] Taikymas. Šios konstrukcijos pjezoelektrinis variklis gali būti taikomas aukšto tikslumo giroskopinėse erdvinio ar kitokio tipo pozicionavimo sistemose, skirtose valdyti objektų, pavyzdžiui, Žemės mikro- ir nano- palydovų, poziciją erdvėje. Tai yra, atlikti objekto erdvinės orientacijos nustatymą, valdymą ir nuolatinį koregavimą nenutrūkstamame objekto (pavyzdžiui minėtų palydovų ar kosminių aparatų, savarankiškai besiorientuojančių erdvėje) eksploatacijos cikle.

Apibrėžtis

1. Pjezoelektrinis variklis, apimantis

• statorių, apimantį tamprų žiedą (6) su dantimis (7) ant žiedo plokščio paviršiaus, veikiantį kaip rezonatorius su nuosavų išilginių virpesių dažniu,

• prie statoriaus dantų prispaustą disko formos rotorių (2), ir

• bent vieną statoriuje įmontuotą pjezoelektrinį vykdiklį, žadinamą elektriniais signalais

b e s i s k i r i a n t i s tuo, kad variklio konstrukcijoje

• statoriaus dantys yra dvipusiai dantys (7) išdėstyti simetriškai radiališkai abipus statoriaus žiedo (6) su dviem plokščiais paviršiais, o dvipusių dantų bendras aukštis kartu su statoriaus žiedo (6) storiu yra artimas arba lygus statoriaus žiedo nuosavų išilginių virpesių pusės bangos ilgiui,

• variklio rotorius (2) yra dviejų diskinių rotorių tribologinė pora, turinti bendraašį veleną (5) su statoriumi (1), kurios diskiniai rotoriai (2) yra prispausti prie statoriaus dvipusių dantų (7) iš abiejų statoriaus (1) pusių.

2. Variklis pagal 1 punktą, b e s i s k i r i a n t i s tuo, kad atstumas tarp statoriaus dvipusių dantų (7) yra artimas arba lygus vienam ar keliems statoriaus tampraus žiedo (6) nuosavų išilginių virpesių bangos ilgiams.

3. Variklis pagal 1 arba 2 punktus, b e s i s k i r i a n t i s tuo, kad statoriaus dvipusių dantų (7) vienpusio danties forma yra platėjanti nuo danties viršaus į danties pagrindą, esantį ant statoriaus (1) plokščio žiedo (6).

4. Variklis pagal 3 punktą, b e s i s k i r i a n t i s tuo, kad į plokščio žiedo (6) pagrindą platėjantis vienpusis dantis yra bet kurios šių į statoriaus pagrindą platėjančių formų: simetriškos trapecinės prizmės, kūgio, pusiau sferos, ar pusiau elipsoido formų.

5. Variklis pagal bet kurį iš 1–4 punktų, b e s i s k i r i a n t i s tuo, kad kiekvieno dvipusio danties (7) viršūnėse yra standūs frikciniai elementai (8), kurie kartu su prispaustais diskiniais rotoriais (2) sudaro didelio standumo tribologinę porą.

6. Variklis pagal bet kurį iš 1–5 punktų, b e s i s k i r i a n t i s tuo, kad kiekvieno dvipusio trapecinio danties (7) horizontalioje simetrijos ašyje ir kartu statoriaus plokščio žiedo (6) plokštumoje yra suformuota įpjova (9), neviršijanti dvipusio danties 2/3 maksimalaus pločio.

7. Variklis pagal bet kurį iš 1–6 punktų, b e s i s k i r i a n t i s tuo, kad variklio rotoriai (2) per bendraašį veleną (5) prispausti prie statoriaus dantų (7) spyruokliniu būdu, kur prispaudimo spyruoklės (3) jėga reguliuojama veržle (4), užveržta ant bendraašio veleno (5).

8. Variklis pagal bet kurį iš 1–7 punktų, b e s i s k i r i a n t i s tuo, kad pjezoelektriniai vykdikliai yra Lanževeno tipo paketai (11), skirti generuoti statoriaus žiedo (6) išilginius virpesius, ir sumontuoti statoriaus žiedo (6) išilginių virpesių mazginėse zonose, o jų aukštis kartu su tampraus žiedo (6) storiu yra artimas arba lygus statoriaus žiedo (6) nuosavų išilginių virpesių pusės bangos ilgiui.

9. Variklis pagal bet kurį iš 1–8 punktų, b e s i s k i r i a n t i s tuo, kad variklio rotoriai (2) ir dvipusių dantų frikciniai elementai (8) pagaminti iš standžios ir dilimui atsparios medžiagos, tinkamiausiu atveju, aliuminio oksido Al2O3 arba titano oksido TiO2.

10. Variklis pagal bet kurį iš 1–9 punktų, b e s i s k i r i a n t i s tuo, kad variklio statorius (1) su jo dvipusiais dantimis (7) yra vientisa struktūra, pagamintą iš tamprios medžiagos, tinkamiausiu atveju, plieno, bronzos arba aliuminio lydinių.

11. Pjezolelektrinė sistema, apimanti mažiausiai

• pjezoelektrinį variklį pagal bet kurį iš 1–10 punktų, ir

• elektrinių virpesių generatorių, prijungtą prie minėto variklio pjezoelektrinių Lanževeno tipo paketinių vykdiklių (11),

b e s i s k i r i a n t i tuo, kad variklio rotorių (2) tribologinės poros sukamasis judesys kuriamas žadinant Lanževeno tipo paketus (11) harmoniniais arba periodiniais-nesimetriniais elektriniais signalais, kurių dažnis f yra suderintas su statoriaus žiedo (6) vienu iš išilginių virpesių rezonansiniu dažniu, pagal efektyvaus žadinimo atitikimo sąlygą:

D = nC/πf

kur D yra statoriaus žiedo (6) vidutinis skersmuo,

C – išilginių virpesių sklidimo statoriaus žiede greitis,

f – žadinimo signalo dažnis;

n – sveikas skaičius.

12. Sistema pagal 11 punktą, b e s i s k i r i a n t i tuo, kad variklio rotorių (2) tribologinės poros sukamasis judesys kuriamas žadinant Lanževeno tipo paketą ar jų grupę (22, 23) vienu harmoniniu signalu, kurio dažnis f suderintas artimas ar lygus su žiedinio statoriaus (1) išilginių virpesių rezonanso dažniui.

13. Sistema pagal 11 punktą, b e s i s k i r i a n t i tuo, kad variklio rotorių (2) tribologinės poros sukamasis judesys kuriamas vienu metu dviem Lanževeno tipo paketų grupėmis (22, 23), jas žadinant lygiagrečiai dviem harmoniniais signalais, kurių fazių skirtumas nustatytas π/2, o abiejų žadinimo signalų dažnis f suderintas su žiedinio statoriaus (1) išilginių virpesių rezonanso dažniui.

14. Sistema pagal 11 punktą, b e s i s k i r i a n t i tuo, kad variklio rotorių (2) tribologinės poros sukamasis judesys kuriamas dviem Lanževeno tipo paketų grupėmis (22, 23), jas žadinant lygiagrečiai dviem nesimetriniais-periodiniais signalais, kurių fazių skirtumas nustatytas π, o dažnis f suderintas su žiedinio statoriaus (1) išilginių virpesių rezonansiniu dažniu, kur dėl nesimetrinės signalo formos, Lanževeno tipo paketai (11) išsitempia ir susitraukia skirtingais greičiais, atitinkamai, dvipusių dantų (7) lenkimo deformacijų greitis skiriasi, taip gaunamas inercinis sukamojo judesio variklio veikimas.

15. Sistema pagal bet kurį iš 11–14 punktų, b e s i s k i r i a n t i tuo, kad papildomai apima variklio apkrovą, kurios pagrindu derinami elektrinių žadinamo signalų parametrai tokie kaip dažnis, amplitudė, fazė ir forma prisitaikant prie pasikeitusių pavaros elektromechaninių ir apkrovos charakteristikų.

Brėžiniai